|
|
(21), (22) Заявка: 2005120853/03, 04.07.2005
(24) Дата начала отсчета срока действия патента:
04.07.2005
(43) Дата публикации заявки: 20.01.2007
(46) Опубликовано: 27.06.2007
(56) Список документов, цитированных в отчете о поиске:
SU 1285147 A1, 23.01.1987. SU 121746 А, 1959. SU 247179 А, 04.08.1969. SU 314893 А, 15.02.1977. SU 682643 А, 30.08.1979. SU 817237 А, 30.03.1981. SU 840332 А, 23.06.1981. SU 840333 А, 23.06.1981. SU 1089249 А, 30.04.1984. SU 1129343 А, 15.12.1984.. SU 1460233 A1, 23.02.1989. SU 1469120 А2, 23.06.1981. RU 2003121330 А, 27.02.2006. US 2398992, 23.04.1946.
Адрес для переписки:
630008, г.Новосибирск, ул. Ленинградская, 113, НГАСУ, отдел ПЛР
|
(72) Автор(ы):
Абраменков Дмитрий Эдуардович (RU), Абраменков Эдуард Александрович (RU), Емельянов Владимир Алексеевич (RU), Ильюченко Вадим Юрьевич (RU), Ноздренко Максим Николаевич (RU), Малышева Юлия Эдуардовна (RU)
(73) Патентообладатель(и):
Государственное образовательное учреждение высшего профессионального образования Новосибирский государственный архитектурно-строительный университет (Сибстрин) (RU), Абраменков Дмитрий Эдуардович (RU)
|
(54) ПНЕВМАТИЧЕСКОЕ УСТРОЙСТВО УДАРНОГО ДЕЙСТВИЯ С ДРОССЕЛЬНЫМ ВОЗДУХОРАСПРЕДЕЛЕНИЕМ
(57) Реферат:
Изобретение относится к области строительных и горных машин ударного действия. Обеспечивает повышение ударного воздействия на обрабатываемую среду. Устройство включает камеру сетевого воздуха, устройство включения подачи сжатого воздуха в камеру сетевого воздуха, полый цилиндр, ударник, разделяющий полость цилиндра на камеры холостого и рабочего хода, аккумуляционную камеру, сообщенную постоянно каналом перепуска с камерой рабочего хода, установленную на торце цилиндра со стороны камеры рабочего хода крышку и постоянно открытый дроссельный канал впуска в камеру рабочего хода, постоянно открытый в камеру холостого хода дроссельный канал запуска, соединяющий камеру сетевого воздуха с камерой холостого хода, выпускной канал, выполненный в боковой стенке цилиндра, рабочий инструмент с хвостовиком. Устройство снабжено стаканом с кольцевым буртиком и размещенной в стенке цилиндра со стороны камеры холостого хода непроточной камерой форсажа, сообщенной постоянно с камерой сетевого воздуха посредством дроссельного канала в крышке, кольцевой проточки и продольного канала в цилиндре, и периодически с камерой холостого хода посредством радиального канала форсажа в стенке цилиндра. Расстояние от отсеченной кромки среза канала форсажа до выпускного канала выполнено меньшим длины ударника. Стакан обращен своим днищем к крышке и опирается кольцевым буртиком на выполненный в крышке буртик с образованием камеры сетевого воздуха. 1 ил.
Изобретение относится к области строительных и горных машин ударного действия и может быть использовано при создании ручных пневматических молотков для машиностроения, а также тяжелых пневмоударных машин для разрушения скальных пород и мерзлых грунтов.
Известен пневматический молоток (см., например, а.с. СССР №787632, М. кл. Е21С 3/24, 1980 г.), содержащий рабочий инструмент, ударник с каналом, вскрытым со стороны камеры рабочего хода, каналы впуска и выпуска с кольцевой выточкой-камерой в цилиндре и камеры холостого хода со стороны рабочего инструмента, сообщенные между собой каналом в цилиндре, причем кольцевая выточка-камера со стороны канала выпуска сообщена постоянно с сетью сжатого воздуха и перекрывается ударником периодически.
Указанное и подобные ему технические решения обладают недостатками: кольцевая выточка-камера и камера холостого хода сообщены постоянно между собой, что обусловливает значительное давление со стороны камеры холостого хода и тормозит ударник, снижая его предударную скорость, следовательно, и кинетическую энергию ударника, передаваемую инструменту; канал в ударнике посредством радиального выхода на его боковой поверхности перед ударом перепускает часть воздуха со значительным давлением из камеры рабочего хода в кольцевую выточку-камеру и посредством канала в цилиндре, в камеру холостого хода, что также способствует повышению противодавления в камере холостого хода перед соударением ударника с инструментом; канал в ударнике после соударения за счет радиального выхода перепускает часть воздуха из кольцевой выточки-камеры, а следовательно, и камеры холостого хода в камеру рабочего хода с более низким давлением воздуха в ней, что существенно снижает импульс давления со стороны камеры холостого хода и не обеспечивает рассчитываемую величину холостого хода, увеличивает время холостого хода, снижает частоту и энергию удара.
Известен также пневматический молоток с дроссельным воздухораспределением (см., например, а.с. СССР №1285147, М. кл. Е21С 3/24, 1987 г.), содержащий рукоятку, рабочий инструмент с хвостовиком, полый цилиндр с впускными и выпускными каналами, крышку между цилиндром и рукояткой, ударник, разделяющий цилиндр на камеры рабочего и холостого ходов, аккумуляционную камеру в пустотелом цилиндрическом элементе с глухой крышкой и днищем с перепускным каналом, проточную камеру сетевого воздуха, дроссельные каналы впуска в крышке в камеры рабочего и холостого ходов. Указанный пневматический молоток с дроссельным воздухораспределением принят в качестве прототипа, как содержащий наибольшее количество существенных признаков, используемых в предлагаемом техническом решении.
Прототип обладает недостатками: сообщение камеры сетевого воздуха с камерой холостого хода посредством сквозного продольного канала впуска в цилиндре определяет заполнение камеры холостого хода воздухом до величины расчетного давления из камеры сетевого воздуха, однако постоянство впуска создает значительное противодавление и торможение ударника перед ударом, что приводит к потере кинетической энергии ударника, а в начале холостого хода после соударения и увеличения объема камеры холостого хода, импульс давления воздуха со стороны камеры холостого хода оказывается недостаточным для обеспечения расчетной величины хода ударника, в результате чего увеличивается время холостого хода и снижается частота ударов при значительном нерациональном расходе воздуха из сети; сообщение камеры сетевого воздуха с камерой рабочего хода с дополнительным объемом пустотелого элемента посредством перепускного канала в днище, увеличивает аккумуляционный объем, который должен быть заполнен воздухом до величины расчетного давления из сети посредством камеры сетевого воздуха, однако это приводит к преждевременному торможению ударника в конце холостого хода за счет создания значительного противодавления в камере рабочего хода, что приводит к превышающему расчетное значение импульса силы отдачи, действующего на крышку и вызывающего значительные превышения допускаемых значений по амплитуде сил, действующих на крышку и рукоятку, что ухудшает санитарно-гигиенические условия эксплуатации для ручных машин, снижает надежность и долговечность деталей и в целом конструкции пневматического устройства ударного действия; увеличенный объем камеры рабочего хода с дополнительным аккумуляционным объемом пустотелого элемента при сниженном давлении воздуха в камере в начале рабочего хода не обеспечивает величину импульса для реализации расчетного среднего давления по пути ударника и приводит к снижению его кинетической энергии и частоты ударов.
Отмеченные недостатки прототипа в целом снижают эффективность взаимодействия с обрабатываемой средой.
Технической задачей, решаемой изобретением, является повышение эффекта ударного воздействия на обрабатываемую среду путем уменьшения объема собственно камеры рабочего хода и увеличения объема собственно камеры холостого хода; закрепления за сквозным каналом, соединяющим постоянно камеру сетевого воздуха и камеру холостого хода функции канала запуска; выполнения со стороны камеры холостого хода камеры в виде непроточной камеры форсажа, сообщив ее с камерой сетевого воздуха постоянно дроссельным каналом впуска и периодически с камерой холостого хода посредством канала форсажа; выполнения со стороны камеры рабочего хода кольцевой камеры с аккумуляционным объемом, сообщив ее с камерой рабочего хода постоянно каналом перепуска в стенке цилиндра.
При этом необходимо на некотором участке движения ударника перекрыть канал форсажа, сообщающий камеры холостого хода и камеру форсажа при рабочем ходе и открыть сообщение при холостом ходе. Отмеченное позволит не создавать значительного по величине противодавления воздуха в камере холостого хода перед и при ударе, а следовательно, увеличить скорость ударника при соударении. При разгоне ударника в начальный период холостого хода давление воздуха в камере, благодаря поступлению его из сетевой камеры понизится незначительно, а при открытии канала форсажа, давление в камере холостого хода повысится, и ударник, получив дополнительный импульс давления, увеличит скорость своего движения в сторону крышки. Отмеченное позволит сократить время движения ударника при холостом ходе и повысить частоту ударов.
Таким образом, для достижения эффекта необходимо изменить координату канала форсажа и камеру форсажа постоянно сообщить с сетью сжатого воздуха посредством камеры сетевого воздуха.
Поставленная задача решается тем, что пневматическое устройство ударного действия с дроссельным воздухораспределением включает камеру сетевого воздуха, устройство включения подачи сжатого воздуха в камеру сетевого воздуха, полый цилиндр, размещенный в нем ударник, разделяющий полость цилиндра на камеры холостого и рабочего ходов, аккумуляционную камеру, сообщенную постоянно каналом перепуска с камерой рабочего хода, установленную на торце цилиндра со стороны камеры рабочего хода крышку и постоянно открытый дроссельный канал впуска в камеру рабочего хода, и постоянно открытый в камеру холостого хода дроссельный канал запуска, соединяющий камеру сетевого воздуха с камерой холостого хода, выпускной канал, выполненный в боковой стенке цилиндра, рабочий инструмент с хвостовиком, причем устройство снабжено стаканом с кольцевым буртиком и размещенной в стенке цилиндра со стороны камеры холостого хода непроточной камерой форсажа, сообщенной соответственно постоянно с камерой сетевого воздуха посредством дроссельного канала в крышке, кольцевой проточки и продольного канала в цилиндре, и периодически с камерой холостого хода посредством радиального канала форсажа в стенке цилиндра, при этом расстояние от отсечной кромки среза канала форсажа до выпускного канала выполнено меньшим длины ударника, а стакан обращен своим днищем к крышке и опирается кольцевым буртиком на выполненный в крышке буртик с образованием камеры сетевого воздуха.
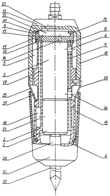
На чертеже показано пневматическое устройство ударного действия с частичным продольным разрезом с непроточной камерой форсажа.
Пневматическое устройство ударного действия с дроссельным воздухораспределением (чертеж) содержит полый цилиндр 1 с размещенным в нем ударником 2, разделяющим полость цилиндра 1 на камеры рабочего 3 и холостого 4 ходов, аккумуляционную камеру 5, сообщенную постоянно перепускным каналом 6 с камерой рабочего хода. Цилиндр 1 снабжен постоянно открытым дроссельным каналом 7 запуска в камеру 4 холостого хода. Крышка 8 снабжена фланцевым буртиком 9 и уплотнительным буртиком 10, посредством которых она опирается на торец 11 цилиндра 1 и стакан 12, который снабжен кольцевым буртиком 13, обращенным к буртику 10. Крышка 8 также снабжена впускным дроссельным каналом 14 в камеру 3 и дроссельным каналом 15 с переходом в кольцевую проточку 16 в цилиндре с продолжением продольным каналом 17 в кольцевую непроточную камеру форсажа 18, образованную со стороны камеры 4 холостого хода боковыми поверхностями цилиндра и муфты 19. Стакан 12 уплотненно и разъемно, например, посредством резьбового соединения, закреплен на цилиндре 1 и снабжен воздухоподводящим каналом 20 от пускового устройства 21 любого известного типа. Между стаканом 12 и буртиком 10 крышки 8 образована камера сетевого воздуха 22. Кольцевая непроточная камера форсажа 18 периодически сообщается посредством радиального канала форсажа 23 с камерой 4 и радиальным выпускным каналом 24, на уровне которого установлено воздухоотбойное кольцо 25 с выпускным щелевым каналом 26. Между кольцом 25 и цилиндром 1 образована выпускная камера 27. Хвостовик 28 рабочего инструмента 29 установлен в камере 4 и удерживается от выпадения устройством для его удержания, например в виде обрезиненного металлического колпака 30, закрепленного разъемно относительно цилиндра 1 посредством резьбового или другого известного соединения.
Пневматическое устройство ударного действия с дроссельным воздухораспределением работает следующим образом.
При включении пускового устройства 21 сжатый воздух поступает по каналу 20 в стакане 12 в сетевую камеру 22. Из камеры 22 сетевой воздух поступает в камеру 3 рабочего хода по дроссельному каналу 14 и посредством дроссельного канала 15, проточку 16 и канала 17 в камеру форсажа 18. Одновременно из камеры 22 сетевой воздух поступает по дроссельному каналу 15, проточке 16, каналу 7 запуска в камеру 4 холостого хода. Поскольку камера 3 сообщена с атмосферой посредством канала 24, камеры 27 и канала 26, имеющих проходные сечения, большие в сравнении с сечением впускного дроссельного канала 14 в крышке 8, давление в камере 3 будет поддерживаться на уровне атмосферного. Камера 4 с атмосферой разобщена и поступающий в нее воздух из камеры 22 по каналу 7 запуска предопределяет повышение давления в ней и перемещение ударника 2 в сторону камер 3 и 5, что обуславливает начало холостого хода.
При перемещении ударника 2 давление в камере 4 холостого хода будет незначительно уменьшаться. Это вызвано тем, что быстро увеличивающийся объем камеры 4 при холостом ходе не успевает заполниться сетевым воздухом, поступающим из камеры 22 через дроссельный канал 7 запуска.
При дальнейшем перемещении ударника 2 его боковая поверхность откроет канал форсажа 23 и накопленный в камере 18 воздух резко наполнит объем камеры 4 и существенно повысит импульс давления воздуха при холостом ходе и скорость перемещения ударника.
При последующем перемещении ударника 2 его боковая поверхность перекроет выпускной канал 24. Одновременно в камере 3 рабочего хода и камере 5 начнется процесс сжатия воздуха, отсеченного в них, и воздуха сетевого, вновь поступающего из камеры 22 посредством впускного дроссельного канала 14 в крышке 8.
После открытия боковой поверхностью ударника 2 выпускного канала 24 давление воздуха в камере 4 холостого хода и сообщенной с ней камере форсажа 18 понизится до величины атмосферного, так как посредством выпускного канала 24 камера 4, а камера 18 посредством канала форсажа 23, сообщаются с выпускной камерой 27 и через щель 26 в воздухоотбойном кольце 25 с атмосферой. Под действием разницы импульсов давлений воздуха в камерах 3 и 4 ударник 2 будет затормаживать свое перемещение и остановится в расчетной точке. Сразу же под действием импульса давления воздуха со стороны камеры 3 ударник начнет ускоренно перемещаться в сторону хвостовика 28 рабочего инструмента 29, совершая рабочий ход.
Давление в камерах 4 и 18 будет оставаться практически равным атмосферному, так как выпускные каналы 24 и 26, а так же канал форсажа 23, имеют площади проходных сечений, существенно превышающие площади впускного дроссельного канала 15, проточки 16, канала 17 и дроссельного канала 7 запуска.
При последующем перемещении ударник 2 перекроет своей боковой поверхностью последовательно выпускной канал 24, в результате чего начнется повышение давления воздуха, отсеченного в камерах 4 и 18, а так же воздуха, вновь натекаемого в эти камеры через впускной дроссельный канал 7 запуска и через дроссельный канал 15, проточку 16, канал 17 впуска. После открытия выпускного канала 24 давление в камерах 3 и 5 рабочего хода будет снижаться до значения атмосферного давления, несмотря на поступление сетевого воздуха через впускной дроссельный канал 14 из камеры 22, так как проходное сечение выпускного канала 24 существенно больше проходного сечения впускного дроссельного канала 14 в крышке 8. Таким образом, отработавший воздух из камер 3 и 5 выпускается через канал 24 в выпускную камеру 27 и через щелевой канал 26 в воздухоотбойном кольце 25 в атмосферу.
По мере совершения ударником рабочего хода давление воздуха в камере 4 и сообщенной с ней посредством канала форсажа 23 камере 18 будет увеличиваться. При последующем перекрытии ударником 2 канала форсажа 23 давление воздуха в камере 18 будет интенсивно повышаться до уровня сетевого, благодаря его непрерывному поступлению в камеру через впускной дроссельный канал 15, проточку 16, канал 17 из сетевой камеры 22. Повышенное давление воздуха в камере 18 не сказывается на повышении противодавления в камере 4, поскольку они разобщены и противодавление в камере 4 будет характеризоваться только давлением воздуха, поступившего в нее посредством канала 15, проточки 16 и канала 7 запуска. Под действием разницы импульсов давлений в камерах 3 и 4 ударник 2 наносит удар по хвостовику 28 инструмента 29 и описанный рабочий процесс будет повторяться с той разницей, что холостой ход ударника будет формироваться также при участии импульса отскока ударника от хвостовика инструмента.
Выполнение впускного дроссельного канала 15 в крышке 8 совместно с проточкой 16 и каналом 17 позволяет обеспечивать расчетное давление воздуха в непроточной камере форсажа 18 при перекрытом канале форсажа 23 ударником 2, а при сообщении камеры 4 с атмосферой посредством канала 24, расход воздуха каналом 15 не будет превышать расчетного. Указанное позволяет без увеличения общего расхода воздуха за счет реализации форсажа при холостом ходе со стороны камеры 4, в совокупности с размещением канала форсажа 23 в стенке цилиндра 1 на расстоянии от выпускного канала 24 не более посадочной длины ударника 2 снизить противодавление в камере 4 за счет использования проходного сечения канала 7 запуска существенно меньшим в сравнении с каналом 15, переадресовав уменьшенную часть воздуха камере форсажа 18 посредством впускного дроссельного канала 15 в крышке 8. Снижение противодавления в камере 4 при использовании импульса форсажа позволит также увеличить величину хода ударника без увеличения времени цикла, поскольку время холостого хода за счет увеличения скорости ударника 2 уменьшится. В конечном счете, это будет способствовать увеличению ударной мощности, а следовательно, повышению эффективности ударного воздействия на обрабатываемую среду.
Формула изобретения
Пневматическое устройство ударного действия с дроссельным воздухораспределением, включающее камеру сетевого воздуха, устройство включения подачи сжатого воздуха в камеру сетевого воздуха, полый цилиндр, размещенный в нем ударник, разделяющий полость цилиндра на камеры холостого и рабочего хода, аккумуляционную камеру, сообщенную постоянно каналом перепуска с камерой рабочего хода, установленную на торце цилиндра со стороны камеры рабочего хода крышку и постоянно открытый дроссельный канал впуска в камеру рабочего хода, и постоянно открытый в камеру холостого хода дроссельный канал запуска, соединяющий камеру сетевого воздуха с камерой холостого хода, выпускной канал, выполненный в боковой стенке цилиндра, рабочий инструмент с хвостовиком, отличающееся тем, что устройство снабжено стаканом с кольцевым буртиком и размещенной в стенке цилиндра со стороны камеры холостого хода непроточной камерой форсажа, сообщенной соответственно постоянно с камерой сетевого воздуха посредством дроссельного канала в крышке, кольцевой проточки и продольного канала в цилиндре, и периодически с камерой холостого хода посредством радиального канала форсажа в стенке цилиндра, при этом расстояние от отсеченной кромки среза канала форсажа до выпускного канала выполнено меньшим длины ударника, а стакан обращен своим днищем к крышке и опирается кольцевым буртиком на выполненный в крышке буртик с образованием камеры сетевого воздуха.
РИСУНКИ
MM4A – Досрочное прекращение действия патента СССР или патента Российской Федерации на изобретение из-за неуплаты в установленный срок пошлины за поддержание патента в силе
Дата прекращения действия патента: 05.07.2007
Извещение опубликовано: 20.02.2009 БИ: 05/2009
|
|