|
(21), (22) Заявка: 2005102268/03, 31.01.2005
(24) Дата начала отсчета срока действия патента:
31.01.2005
(43) Дата публикации заявки: 10.07.2006
(46) Опубликовано: 27.06.2007
(56) Список документов, цитированных в отчете о поиске:
ТОСКИ Э. и др. Эволюция измерений многофазных потоков и их влияние на управление эксплуатацией.- НТЖ; Технология ТЭК, 2003, № 6, с.50-57. SU 1649277 A1, 15.05.1991. RU 2008617 C1, 28.02.1994. RU 2063615 C1, 10.07.1997. RU 2079816 C1, 20.05.1997. RU 2156970 C1, 27.09.2000. RU 2122722 C1, 27.11.1998. RU 2164340 С2, 20.03.2001. RU 46091 U1,
Адрес для переписки:
630051, г.Новосибирск, ул. 2-я Юргинская, 34, ЗАО НППГА “ЛУЧ”
|
(72) Автор(ы):
Лукьянов Эдуард Евгеньевич (RU), Каюров Константин Николаевич (RU), Еремин Виктор Николаевич (RU)
(73) Патентообладатель(и):
Лукьянов Эдуард Евгеньевич (RU), Закрытое акционерное общество Научно-производственное предприятие геофизической аппаратуры “ЛУЧ” (RU)
|
(54) СПОСОБ ИЗМЕРЕНИЯ ПОКОМПОНЕНТНОГО РАСХОДА ТРЕХКОМПОНЕНТНОГО ГАЗОЖИДКОСТНОГО ПОТОКА И УСТРОЙСТВО ДЛЯ ЕГО ОСУЩЕСТВЛЕНИЯ
(57) Реферат:
Изобретение относится к измерительной технике и может использоваться для измерения расхода трехкомпонентного газожидкостного потока (ГЖП), в частности, в нефтегазодобывающей отрасли, при контроле работы нефтяных скважин без разделения на фракции (без сепарации) ГЖП продуктов добычи непосредственно на скважинах или на участках коллекторов промыслового сбора нефти. Техническим результатом изобретения является повышение точности измерения покомпонентного расхода трехкомпонентного ГЖП, состоящего из нефти, газа и воды, и расширение области применения за счет возможности проводить измерения в широких пределах относительного содержания компонентов ГЖП. Сущность изобретения заключается в том, что направляют ГЖП во встраиваемое в основной трубопровод устройство для измерения, в котором измеряют давление, температуру и плотность ГЖП соответственно датчиками давления, температуры и гамма-плотномером. Определяют полный расход ГЖП и долей нефти, газа и воды в нем и осуществляют расчет дебитов отдельных фаз ГЖП. Для направления ГЖП в устройство для измерения используют симметричную схему изменения направления ГЖП, состоящую из восходящей, горизонтальной и нисходящей ветвей. При этом перепад давления в восходящей и нисходящей ветвях задают за счет установки в начале, середине и конце горизонтальной ветви сменных сужающих устройств. На восходящей и нисходящей ветвях ГЖП устанавливают два двух-зондовых гамма-плотномера, каждый из которых содержит источник ионизирующего гамма-излучения и детекторы гамма-излучения малого зонда и большого зондов, и измеряют плотность ГЖП на восходящей и нисходящей ветвях при разных рабочих давлениях. Измеряют проводимость и диэлектрическую проницаемость ГЖП индуктивным методом бесконтактно через участки восходящих и нисходящих ветвей ГЖП, образованных вертикально расположенными трубами, выполненными из радиопрозрачного высокопрочного материала, двумя электромагнитными зондами, работающими на низких и высоких частотах, и по ним определяют объемное содержание воды в ГЖП. По перепаду давления на среднем сужающем устройстве дроссельным расходомером с учетом плотности потока, определяемой гамма-плотномером, измеряют объемный расход ГЖП в восходящей ветви. По разнице между объемным расходом ГЖП и объемным содержанием воды определяют содержание углеводородной части ГЖП, а по разнице между содержанием углеводородной части ГЖП и объемным газосодержанием определяют объемное содержание нефти в потоке. Приведено описание устройства для реализации данного способа. 2 н. и 23 з.п. ф-лы, 2 ил.
(56) (продолжение):
CLASS=”b560m”10.06.2005. RU 2002100228 А, 20.03.2004. US 5287752 A, 22.02.1994. EP 0669522 A2, 30.08.1995.
Изобретение относится к измерительной технике и может использоваться для измерения расхода трехкомпонентного газожидкостного потока, в частности, в нефтегазодобывающей отрасли, при контроле работы нефтяных скважин без разделения на фракции (без сепарации) газожидкостной смеси продуктов добычи непосредственно на скважинах или на участках коллекторов промыслового сбора нефти.
Известные способы измерения покомпонентного расхода трехкомпонентного газожидкостного потока основаны на определении скорости и плотности фракций косвенными методами путем измерения ряда промежуточных физических параметров потока: перепада давления, виброшумов и динамического давления, энергетического поглощения или отражения радиоволн и СВЧ-излучения, электрической проводимости, емкости и т.п. Устройства расходомеров на их основе часто содержат элементы конструкций, помещаемые в поток, например объемные и турбинные счетчики, кориолисовы измерители (патент US 5029482, G01F 1/74, опубл. 1991 г.), измерители с применением диафрагмы (патент US 4662219, G01F 1/76, G01F 1/36 опубл. 1987 г.). Известные способы включают принудительное накопление или частичную сепарацию компонентов смеси (например, патент US 5211842, Е21 В 49/08, опубл. 1993), либо предварительное формирование устойчивого потока определенного типа, например, см. патент US 5251488, G01F 15/08, опубл. 1993. Недостатком известных способов измерения покомпонентного расхода трехкомпонентного газожидкостного потока и устройств для их реализации является высокая погрешность определения содержания отдельных компонентов.
Известны способы измерения покомпонентного расхода трехкомпонентного газожидкостного потока и устройства для их реализации на основе применения источников гамма-излучения для измерения плотности компонентов газожидкостной смеси. Например способ измерения покомпонентного расхода трехкомпонентного газожидкостного потока, реализованный в устройстве по патенту US 4458524, G01N 33/22, опубл. 1984 г., согласно которому проводят измерения диэлектрической постоянной смеси, плотности потока и температуры при помощи анализатора потока и на основании полученных данных расчетным путем определяют покомпонентный состав газожидкостной смеси. Данное устройство-анализатор содержит участок трубы, выполненный из непроводящего материала, на котором закреплены приемные и передающие индуктивные катушки, источник гамма-излучения (Цезий 137) и датчики давления и температуры. Известны также способ и устройство по патенту US 5025160, G01F 1/00, опубл. 1991, основанные на использовании двойных энергетических характеристик гамма-излучения.
Наиболее близким к заявляемому является способ определения покомпонентного расхода трехкомпонентного газожидкостного потока, известный также под названием «радиоденситометрия», основанный на использовании двойных энергетических характеристик гамма-излучения и трубки Вентури (Э. Тоски, В.Хансен, Д.Смит, Б.Теувени. «Эволюция измерений многофазных потоков и их влияние на управление эксплуатацией», Научно-технический журнал «Технологии ТЭК», декабрь 2003, с.50-57). Устройство, реализующее данный способ, содержит измерительную секцию, которая состоит из следующих элементов: трубки Вентури с датчиками давления, температуры и дифференциального давления; детектора гамма-излучения, работающего по принципу двойной энергетической спектральной характеристики и расположенного в месте сужения трубки Вентури, а также радиоактивного химического источника. Перепад давления между входом в трубку Вентури и местом ее сужения используется для расчета полного расхода, замеры давления и температуры используются для оценки свойств флюида в условиях выкидной линии. С помощью измерителя гамма-излучения производится определение долей нефти, воды и газа, а также плотности газожидкостной смеси. Дебиты отдельных фаз рассчитываются путем перемножения общего расхода (дебита) на массовую долю фазы.
Приведенные способы и устройства на основе применения источников гамма-излучения имеют следующие недостатки. Используемый коллиматорный способ измерения плотности узким пучком гамма-излучения не гарантирует корректного измерения плотности газожидкостной смеси, т.к. большие флюктуации потока могут создать условия, когда большая часть газа (в виде пузырьков, «четок» и т.д.) будет проходить мимо узкого пучка гамма-излучения, не находя отклика на детекторе гамма-излучения. Расположение гамма-плотномера в месте наивысшей скорости потока в измерителе не способствует повышению его точностных характеристик, а наоборот, существенно снижает их, т.к. инерционность детектора гамма-излучения и малое время нахождения неоднородностей потока в сечении коллиматорного гамма-плотномера могут дать эффект, сравнимый с флуктуацией показаний детектора гамма-излучения. Использование высокоэнергетического химического источника гамма-излучения связано с необходимостью его регистрации в органах Санэпиднадзора, использованием хранилищ, специальных устройств для перевозки, подготовкой персонала для работы с ним и т.п. Недостатком данного способа и устройства является также отсутствие измерения фоновой гамма-активности жидкой фазы газожидкостной смеси, достигающей значительных величин.
Предлагаемое изобретение направлено на решение задачи повышения точности измерения покомпонентного расхода трехкомпонентного газожидкостного потока, состоящего из нефти, газа и воды и расширение области применения за счет возможности проводить измерения в широких пределах относительного содержания компонентов газожидкостной смеси. Техническим результатом предложенного изобретения также является возможность бесконтактного определения покомпонентного расхода трехкомпонентного газожидкостного потока практически при любых объемных долях газа и дебитах скважин в условиях течения реальных нестандартных потоков газожидкостной смеси. Дополнительным техническим результатом предлагаемого изобретения является расширение функциональных возможностей применения предлагаемого устройства за счет определения непосредственно в потоке продукции скважины фоновой гамма-активности, изменение которой связано с подходом к добывающей скважине фронта осолонения воды, закачиваемой в пласты для поддержания пластового давления, а также за счет измерения окислительно-восстановительного потенциала жидкости добываемой продукции, значения которого связаны с повышенным содержанием растворенного кислорода в составе закачиваемой в пласты воды из открытых водоемов.
Сущность изобретения заключается в том, что в способе измерения покомпонентного расхода трехкомпонентного газожидкостного потока, включающем направление газожидкостного потока во встраиваемое в основной трубопровод устройство для измерения, в котором измеряют давление, перепад давления, температуру и плотность газожидкостного потока соответственно датчиками давления, температуры и гамма-плотномером, определение полного расхода газожидкостного потока и долей нефти, газа и воды в нем и расчет дебитов отдельных фаз газожидкостного потока, согласно изобретению направляют газожидкостный поток в устройство для измерения, используя для этого симметричную схему изменения направления газожидкостного потока, состоящую из восходящей, горизонтальной и нисходящей ветвей. При этом перепад давления в восходящей и нисходящей ветвях задают за счет установки в начале, середине и конце горизонтальной ветви сменных сужающих устройств. На восходящей и нисходящей ветвях газожидкостных потоков устанавливают два двухзондовых гамма-плотномера, каждый из которых содержит источник ионизирующего гамма-излучения, детектор гамма-излучения малого зонда и детектор гамма-излучения большого зонда, измеряют плотность газожидкостного потока на восходящей и нисходящей ветвях при разных рабочих давлениях и по разности показаний детекторов малого и большого зондов определяют объемное газосодержание газожидкостного потока. Кроме того, измеряют проводимость и диэлектрическую проницаемость газожидкостного потока индуктивным методом бесконтактно через участки восходящих и нисходящих ветвей газожидкостного потока, образованных вертикально расположенными трубами, выполненными из радиопрозрачного высокопрочного материала двумя электромагнитными зондами, работающими на низких и высоких частотах, и по ним определяют объемное содержание воды в газожидкостном потоке. По перепаду давления на среднем сужающем устройстве дроссельным расходомером с учетом плотности потока, определяемой гамма-плотномером, измеряют объемный расход газожидкостного потока в восходящей ветви, по разнице между объемным расходом газожидкостного потока и объемным содержанием воды определяют содержание углеводородной части газожидкостного потока, а по разнице между содержанием углеводородной части газожидкостного потока и объемным газосодержанием определяют объемное содержание нефти в потоке.
В качестве источника ионизирующего гамма-излучения гамма-плотномеров может быть использован безопасный для обслуживающего персонала низкофоновый природный источник в виде сильвина, а в качестве детекторов гамма-излучения малого и большого зондов могут быть использованы сцинтиляционные детекторы.
Дополнительно измеряют фоновые значения гамма-активности жидкости газожидкостного потока компенсационным детектором гамма-активности, аналогичным детекторам гамма-излучения, используемым в малом и большом зондах гамма-плотномеров, но защищенным от источника ионизирующего гамма-излучения.
Из показаний детекторов гамма-излучения малого и большого зондов гамма-плотномеров, расположенных в восходящей и нисходящей ветвях газожидкостного потока, вычитают показания компенсационного детектора фоновой гамма-активности, а плотность газожидкостного потока в восходящей и нисходящей ветвях потоков определяют как логарифм отношения показаний детекторов гамма-излучения малого и большого зондов гамма-плотномера с учетом фоновой гамма-активности жидкости газожидкостного потока.
По повышению показаний компенсационного детектора фоновой гамма-активности фиксируют момент появления в продукции скважины фронта осолонения, имеющего повышенную радиоактивность.
Плотность газожидкостного потока в восходящей и нисходящей ветвях при разных рабочих давлениях дополнительно измеряют двумя гидростатическими плотномерами на основе дифференциальных преобразователей давления.
Дополнительно измеряют величину окислительно-восстановительного потенциала жидкости потока и по изменению значений окислительно-восстановительного потенциала фиксируют появление в продукции скважины воды, контактирующей перед закачкой с атмосферой и имеющей повышенное содержание растворенного кислорода.
Объемное содержание воды определяют с учетом ее минерализации, определяемой по периодическому анализу отбираемых проб жидкости.
Дополнительно производят определение содержания нефти и газа в углеводородной части газожидкостного потока с учетом объемного газосодержания, определенного по показаниям двух гидростатических плотномеров, находящихся под разными рабочими давлениями.
Определение содержания газа и жидкости в потоке, воды и нефти в жидкостной части газожидкостного потока и нефти и газа в углеводородной части газожидкостного потока дополнительно производят через исходные плотности компонентов с учетом рабочей температуры и давления по показаниям как гамма-плотномеров, так и гидростатических плотномеров.
Контрольное измерение объемного расхода трехкомпонентного газожидкостного потока производят дополнительно меточным методом по вариациям показаний перепада давления на трех сужающих устройствах через транспортное запаздывание газожидкостного потока.
Дополнительное контрольное измерение объемного расхода трехкомпонентного газожидкостного потока производят меточным методом по вариациям показаний индуктивных электромагнитных зондов проводимости и диэлектрической проницаемости, расположенных на восходящей и нисходящей ветвях газожидкостного потока через транспортное запаздывание.
Объемное содержание газа в трехкомпонентном газожидкостном потоке дополнительно определяют по разности температуры и давления до сужающих устройств и после них, возникающей за счет дросселирования газа и жидкости через сужающие устройства, путем измерения температуры и перепада давления в устройстве высокоточными датчиками давления и температуры.
Сущность изобретения заключается в том, что устройство для измерения покомпонентного расхода трехкомпонентного газожидкостного потока, встраиваемое в основной трубопровод для транспортировки газожидкостного потока, включающее источник и детектор гамма-излучения и датчики давления и температуры, согласно изобретению выполнено в виде симметричной конструкции, состоящей из двух вертикально и параллельно расположенных труб из высокопрочного радиопрозрачного материала-стеклопластика с металлическими законцовками, заканчивающимися фланцами, соединенных в верхней и нижней частях двумя горизонтальными металлическими трубами с вертикально расположенными фланцевыми соединительными отводами, во фланцевых соединительных отводах верхней горизонтальной трубы и в ее середине расположены три сменных сужающих устройства, представляющие собой шайбы, диаметр проходного отверстия которых в 2-4 раза меньше внутреннего диаметра вертикально расположенных стеклопластиковых труб, за счет чего создается необходимый перепад давления между восходящим и нисходящим потоками, на концах нижней горизонтальной трубы расположены фланцевые соединения, предназначенные для встраивания ее в основной трубопровод, в середине и на вертикальных отводах нижней горизонтальной металлической трубы расположены запорные шаровые краны, с помощью которых газожидкостный поток может быть направлен через нижнюю металлическую горизонтальную трубу, либо через байпасную линию устройства, образуя восходящую, горизонтальную и нисходящую ветви газожидкостного потока, на нижних металлических законцовках вертикально расположенных труб и на противоположных им частях верхней горизонтальной металлической трубы симметрично расположены четыре датчика давления и температуры, на вертикально расположенных трубах симметрично расположены два гамма-плотномера, каждый из которых содержит источник ионизирующего излучения, представляющий собой контейнер с засыпкой в них KCl, и два детектора гамма-излучения, образующие малые и большие зонды гамма-плотномеров, и два электромагнитных зонда проводимости и диэлектрической проницаемости, на верхней горизонтальной металлической трубе симметрично установлены в левом торце – компенсационный детектор фоновой гамма-активности, а в правом торце – зонд окислительно-восстановительного потенциала, при этом датчики давления и температуры, детекторы гамма-излучения малых и больших зондов гамма-плотномеров, электромагнитные зонды проводимости и диэлектрической проницаемости, компенсационный детектор фоновой гамма-активности и зонд окислительно-восстановительного потенциала соединены с введенными в устройство блоком электроники, вычислительным устройством и блоком энергонезависимой памяти с возможностью сбора и обработки информации от них, проведения вычислений по заранее заданным алгоритмам, хранения калибровочных данных, являющихся базой сравнения, и архивирования выходных данных за длительный срок измерения.
Зонд окислительно-восстановительного потенциала содержит платиновый электрод и электрод сравнения.
Электромагнитные зонды проводимости и диэлектрической проницаемости выполнены в виде индуктивных катушек, расположенных на внешней поверхности вертикально расположенных труб с возможностью бесконтактных измерений затухания и сдвига фаз.
Индуктивные катушки на восходящей и нисходящей ветвях газожидкостного потока разнесены на расстояния, обеспечивающие измерение скорости движения газожидкостной смеси за счет ее неоднородности по проводимости и диэлектрической проницаемости.
Детекторы гамма-излучения малого и большого зондов в гамма-плотномерах и детектор фоновой гамма-активности могут быть выполнены в виде сцинтиблоков, состоящих из кристалла NaJ или ZsJ и фотоэлектронного умножителя.
Для минимизации влияния космического фона детекторы гамма-излучения малого и большого зондов гамма-плотномеров защищены с внешней стороны защитными экранами, например, из освинцованной резины.
Датчики давления и температуры могут быть выполнены в виде высокоточных кварцевых преобразователей давления и температуры с частотным выходом, включаемых дифференциально с накоплением разностных сигналов за среднее время транспортного запаздывания движения газожидкостного потока между серединами баз измерений, образуя гидростатические плотномеры для дополнительного измерения плотности.
Устройство содержит систему аварийного аккумуляторного питания, обеспечивающего работоспособность при отключении питающей сети на срок не менее 24 часов.
Система аварийного аккумуляторного питания содержит блок автоматической подзарядки аккумуляторов при включении питающей сети.
Для предотвращения нарастания на внутренней поверхности устройства асфальто-смолистых и парафиновых отложений, стенки устройства имеют защитное покрытие.
Устройство закрыто теплоизолированным защитным кожухом.
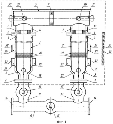
На фиг.1 представлена схема устройства для измерения покомпонентного расхода трехкомпонентного газожидкостного потока. На фиг.2 приведена схема направления потока газожидкостной смеси при подсоединении устройства в трубопровод.
Устройство для измерения покомпонентного расхода трехкомпонентного газожидкостного потока, представленное на фиг.1, выполнено в виде симметричной конструкции, состоящей из двух вертикально и параллельно расположенных труб 1 и 2, выполненных из высокопрочного радиопрозрачного материала (например, из стеклопластика) с металлическими законцовками 3, заканчивающимися фланцами 4. Верхние части вертикально расположенных труб 1 и 2 соединены верхней горизонтальной металлической трубой 5 с вертикально расположенными фланцевыми соединительными отводами 6 и 7. Во фланцевых соединительных отводах 6 и 7 и в середине горизонтальной металлической трубы 5 расположены три сменных сужающих устройства 8, 9, 10, представляющих собой шайбы, диаметр проходного отверстия которых в 2-4 раза меньше внутреннего диаметра вертикально расположенных стеклопластиковых труб 1, 2. Нижние части вертикально расположенных стеклопластиковых труб 1, 2 соединены с вертикально расположенными фланцевыми соединительными отводами 11, 12 нижней горизонтальной металлической трубы 13. На концах нижней горизонтальной металлической трубы 13 расположены фланцевые соединения 14, предназначенные для встраивания ее в основной трубопровод. В середине нижней горизонтальной металлической трубы 13 и на вертикально расположенных фланцевых соединительных отводах 11, 12 расположены запорные шаровые краны 15, 16, 17. На нижних металлических законцовках 3 вертикально расположенных стеклопластиковых труб 1, 2 и на противоположных им частях верхней горизонтальной металлической трубы 5 симметрично расположены четыре датчика 18, 19, 20, 21, предназначенные для измерения как давления, так и температуры в потоке газожидкостной смеси. Для осуществления указанных функций датчики 18, 19, 20, 21 могут быть выполнены в виде кварцевых преобразователей давления и температуры, например преобразователя ПДТК-4,0-МР производства ООО «СКТБ ЭлПА», г.Углич. Примерное расстояние между датчиками 18-19 и 20-21 по вертикали составляет около 1 м, между датчиками 19-20 по горизонтали – 0,6 м. На вертикально расположенных стеклопластиковых трубах 1 и 2 симметрично расположены два гамма-плотномера, каждый из которых содержит источник 22, 23 ионизирующего гамма-излучения и по два детектора 24, 26 и 25, 27 гамма-излучения соответственно, образующие малые и большие зонды гамма-плотномеров, и два электромагнитных зонда 28 и 29 проводимости и диэлектрической проницаемости. Электромагнитные зонды 28 и 29 проводимости и диэлектрической проницаемости выполнены в виде индуктивных катушек, размещенных на внешней поверхности вертикально расположенных труб 1 и 2.
На верхней горизонтальной металлической трубе 5 симметрично установлены в левом торце – компенсационный детектор 30 фоновой гамма-активности, а в правом торце – зонд 31 окислительно-восстановительного потенциала, содержащий платиновый электрод и электрод сравнения (не показано). Конструкция устройства симметрична геометрически и уравновешена гидравлически. Источники 22, 23 гамма-излучения выполнены в виде контейнеров объемом около 7,5 л с засыпкой в них KCl, безопасного для обслуживающего персонала. В качестве детекторов 24, 25, 26, 27 гамма-излучения и компенсационного детектора 30 фоновой гамма-активности использованы сцинтиляционные кристаллы NaJ(Tl) или ZsJ с фотоэлектронными умножителями (ФЭУ). С целью устранения влияния космического фона детекторы 24, 25, 26, 27 закрыты с внешней стороны защитными экранами 32 из освинцованной резины. Датчики 18, 19, 20, 21, детекторы 24, 25, 26, 27 гамма-излучения малых и больших зондов гамма-плотномеров, электромагнитные зонды 28 и 29 проводимости и диэлектрической проницаемости, компенсационный детектор 30 гамма-активности и зонд 31 окислительно-восстановительного потенциала соединены с введенными в устройство блоком электроники, вычислительным устройством, блоком энергонезависимой памяти и аккумуляторным блоком аварийного питания (не показано). Все измерительное устройство закрыто защитным кожухом 33 с теплоизоляцией 34, внутренние стенки устройства имеют защитное покрытие (не показано) для предотвращения нарастания на внутренней поверхности асфальто-смолистых и парафиновых отложений.
Предлагаемый способ измерения покомпонентного расхода трехкомпонентного газожидкостного потока, в частности, продукции добывающих нефтяных скважин осуществляется следующим образом.
Устройство для измерения покомпонентного расхода трехкомпонентного газожидкостного потока через фланцевые соединения 14 встраивают в трубопровод, по которому осуществляется транспортировка газожидкостной смеси. С помощью запорных шаровых кранов 15, 16, 17 газожидкостной поток направляют либо через нижнюю горизонтальную металлическую трубу 13 (кран 15 – открыт, краны 16 и 17 – закрыты), либо через байпасную линию устройства, состоящую из вертикально расположенной трубы 1, верхней горизонтальной металлической трубы 5 и вертикально расположенной трубы 2, образуя при этом восходящую, горизонтальную и нисходящую ветви газожидкостного потока (кран 15 – закрыт, краны 16 и 17 – открыты). При направлении газожидкостного потока через байпасную линию устройства (по схеме, приведенной на фиг.2) внутренняя полость устройства заполняется продукцией скважины. При этом создается перепад давления газожидкостного потока на каждом из сменных сужающих устройств 8, 9, 10, расположенных соответственно в начале, середине и в конце горизонтальной ветви. Измеряют плотность газожидкостного потока на восходящей и нисходящей ветвях при разных рабочих давлениях двумя гамма-плотномерами, установленными на вертикально расположенных трубах 1 и 2, и по разности показаний детекторов малого и большого зондов (детекторов гамма-излучения 24, 26 и 25, 27 соответственно на восходящей и нисходящей ветвях) определяют объемное газосодержание газожидкостного потока. Используемые в устройстве гамма-плотномеры отличаются следующими особенностями:
– источники (22, 23) гамма-излучения, содержащие сильвин (KCl), являются низкофоновыми, поэтому совершенно безопасны для обслуживающего персонала и не требуют их регистрации в органах Санэпиднадзора;
– в отличие от коллиматорных гамма-плотномеров, гамма-плотномеры, установленные в предлагаемом устройстве, являются объемными и двухзондовыми, охватывающими все сечение потока, при этом определяемая плотность является функцией отношения показаний малого и большого зондов, что существенным образом устраняет возможную временную нестабильность работы детекторов гамма-излучения и повышает точность определения плотности газожидкостного потока.
Симметричное расположение гамма-плотномеров на восходящей и нисходящей ветвях газожидкостного потока обеспечивает возможность непрерывного определения объемного газосодержания газожидкостной смеси как по данным калибровки по газу, нефти и воде, так и по разнице плотностей в восходящем и нисходящем потоках, находящихся под различными рабочими давлениями.
Наличие в устройстве компенсационного детектора 30 гамма-активности позволяет учесть влияние естественной радиоактивности жидкости, обусловленной подходом фронта нагнетаемых вод, а также определить значение фоновой радиоактивности жидкости, что является дополнительной важной информацией о состоянии добывающей скважины. Например, при длине малого зонда 20 см и большого зонда 70 см зависимость плотности газожидкостной смеси от показания детекторов гамма-излучения с погрешностью не более ±0,1% аппроксимируется уравнением:

где Jм – накопленное число импульсов детектором гамма-излучения малого зонда за время измерения ;
Jб – накопленное число импульсов детектором гамма-излучения большого зонда за время измерения ;
Jф – накопленное число импульсов компенсационным детектором фоновой гамма-активности за время измерения .
Время измерения (постоянная времени) регулируется в пределах 60÷600 с со сменой значений по правилу скользящего среднего через 10 с.
Фоновые значения естественной гамма-активности добываемой жидкости (в имп/мин) определяют также отдельным параметром с осреднением показаний за 60÷600 с и сменой значений через 10 с.
Регистрация параметра Jф компенсационным детектором 30 фоновой гамма-активности позволяет также фиксировать момент появления в продукции скважины фронта осолонения, имеющего повышенную радиоактивность за счет содержания в газожидкостной смеси солей бария, и спад гамма-активности во времени с ростом обводненности.
Гамма-плотномер позволяет проводить прямое инструментальное определение истинного газосодержания по результатам его калибровки при различных давлениях (от 1 до 40 кгс/см2) на жидкости (нефть или вода) и газе. При этом истинное газосодержание определяется по формуле:

где (Jсм), (Jж), (Jг) – отношения показаний малого и большого зондов гамма-плотномера, замеренных при прохождении гамма-излучения через газожидкостную смесь, жидкость и газ.
Параллельно с количественным высокоточным определением истинного газосодержания регистрация параметра гп позволяет четко определить структурные формы течения газожидкостной смеси, что дает возможность повышать точность измерения путем изменения постоянной времени осреднения и подключением дублирующих методов измерения.
Второй способ определения истинного газосодержания смеси заключается в использовании значений плотности, определенных гамма-плотномером в восходящей и нисходящей ветвях потока и рабочих давлений газожидкостного потока в каждой из ветвей по формуле:

где вос – плотность газожидкостной смеси в восходящей ветви,
нис – плотность газожидкостной смеси в нисходящей ветви,
P1, P4 -давление в восходящей и нисходящей ветвях.
Определяемая гамма-плотномерами плотность газожидкостной смеси является суммой произведений плотности газовой гр и жидкой фаз на их долевое содержание в смеси , :
,
плотность газа гр при рабочих условиях, вычисляется по формуле

где гст – плотность газа при стандартных условиях, кг/м3;
Тст – стандартная температура, 288,5 К
Рст – стандартное (атмосферное) давление, 1 кгс/см2;
Рр – рабочее давление, кгс/см2;
Тр – рабочая температура, К;
Z – коэффициент сжимаемости газа, определяемый через приведенную температуру Тпр и приведенное давление Рпр (в диапазоне рабочих давлений от 0,5 до 4 МПа меняется от 0.98 до 0,87).
Содержание жидкости в газожидкостной смеси ***** определяется как

плотность жидкости:

содержание воды:

а содержание нефти

Таким образом, применение двух двухзондовых объемных гамма-плотномеров позволяет с высокой точностью определить как плотность газожидкостной смеси в восходящей и нисходящей ветвях, так и долевое содержание воды, нефти и газа.
Симметричное расположение на восходящей и нисходящей ветвях четырех датчиков 18, 19, 20, 21, выполненных в виде высокоточных кварцевых преобразователей давления и температуры с частотным выходом, включенных дифференциально, образует гидростатические плотномеры для дополнительного измерения плотности.
При прохождении газожидкостного потока через устройство для измерения на каждом сужающем устройстве 8, 9, 10 создается перепад давления Рсу1, Рсу2, Рсу3 соответственно, при этом в силу неразрывности потока при равной плотности газожидкостной смеси по всему потоку

В то же время на вертикально расположенных стеклопластиковых трубах 1 и 2 на разницу давлений до сужающих устройств 8 и 10 и после них него будет влиять и составляющая гидростатического давления. Разность давления Ргс между точками измерения давления Р1 и Р2 (датчиками 18 и 19) и Р3 и Р4 (датчиками 20 и 21) (см. фиг.2):

где h – расстояние между датчиками по высоте,
– плотность газожидкостной смеси на участке между точками измерения.
Так как гидростатическое давление в восходящей ветви газожидкостного потока направлено против потока, а в нисходящей – по потоку, то перепад давления между точками измерения будет равняться:
– на восходящей ветви

– на горизонтальной ветви

– на нисходящей ветви

Пренебрегая потерями на трение, которые на горизонтальной ветви незначительны, а на восходящей и нисходящей ветвях скомпенсированы, и учитывая, что в силу неразрывности газожидкостного потока при его неизменной плотности, скорости потока в сужающих устройствах 8, 9, 10 равны между собой, в результате чего равны и перепады давления в сужающих устройствах Рсу. Оперируя значениями давлений P1, Р2, Р3, р4 в точках измерения и перепадами давлений между ними, получим ряд уравнений, которые выглядят следующим образом:






Из уравнений (18), (19), (20) следует, что



Таким образом, система из четырех датчиков 18, 19, 20, 21, симметрично размещенных в определенных точках устройства и позволяющих с высокой точностью измерить давление в этих точках позволяет определить в потоке газожидкостной смеси, проходящей через измерительное устройство, следующие параметры:
P1 – давление газожидкостного потока на входе в устройство;
Р4 – давление газожидкостного потока на выходе из устройства;
Р1-4 – перепад давления на устройстве для измерения в целом, равный трехкратному перепаду давления на каждом из сужающих устройств;
Р2-3 – перепад давления на единичном (среднем или втором по потоку) сужающем устройстве;
1-2 – плотность газожидкостного потока на участке между точками измерения давления Р1 и Р2;
3-4 – плотность газожидкостного потока на участке между точками измерения давления Р3 и Р4;
1-4 – средняя (интегральная) плотность в устройстве для измерения на участке между точками измерения давления Р1 и Р4.
Полученная информация позволяет определить следующие параметры газожидкостного потока:
Qо – объемный расход газожидкостного потока по выражению:

– массовый расход газожидкостного потока по выражению:

где Aо, Aм – коэффициенты объемного и массового расхода, определяемые на поверочном устройстве;
D – диаметр трубы;
Р – перепад на сужающем устройстве;
– плотность потока.
При подстановке определенных ранее значений в уравнения (24) и (25) получим:
– объемный расход через среднее сужающее устройство 9:

– массовый расход через среднее сужающее устройство 9:

– объемный интегральный расход через три сужающих устройства 8, 9, 10:

– массовый интегральный расход через три сужающих устройства 8, 9, 10:

При неизменной плотности газожидкостного потока уравнения (26) и (27) и (28) и (29) дадут одинаковые результаты по объемному и массовому расходам.
Контрольное измерение объемного расхода трехкомпонентного газожидкостного потока можно произвести дополнительно меточным методом по вариациям показаний перепада давления на трех сужающих устройствах через транспортное запаздывание газожидкостного потока. В реальных условиях транспортируемый газожидкостный поток не всегда является однородным по плотности (например, из-за появления газового «пузыря», плотность которого много меньше плотности жидкости в составе газожидкостного потока). Назовем отношение плотностей 1-2/ 3-4 коэффициентом неоднородности, газожидкостного потока. При равенстве 1-2 и 3-4:

Если в восходящей ветви газожидкостного потока появилась неоднородность по плотности, значение Кн изменится: при прохождении восходящей ветви оно будет меньше 1, а при прохождении нисходящей ветви – больше единицы.
Обработка зависимости в функции времени на вычислительном устройстве позволяет вычислить времена t1-2, t2-3, t3-4, t1-4, прохождения естественных «меток», определяющих время транспортного запаздывания, возникающего за счет неоднородности газожидкостного потока между измерительными базами, образованными датчиками 18, 19, 20, 21.
Зная расстояния между измерительными базами l1-2, l2-3, l3-4, l1-4, объемы измерительных баз V1-2, V2-3, V3-4, V1-4, можно определить скорости движения и объемные расходы Q’o «метки» на соответствующих участках измерительного устройства по одному из выражений:








Если «метка» сформирована газовым «пузырем», то скорости ее движения на восходящем, горизонтальном и нисходящем участках измерительного устройства будут различны, поэтому предпочтение следует отдавать интегральным значениям скорости движения (34) и объемного расхода (38).
При этом за счет увеличения длины l1-4 и объема V1-4 точность определения 1-4 и Q’o1-4 по отношению к более коротким измерительным базам повышается.
При «пробковом» или «четочном» режимах движения газожидкостного потока объем прошедшего газа может быть определен интегрированием объема газовых «пробок» по значению изменения плотности (t) за время движения по одной из измерительных баз с учетом рабочего давления и температуры.
Дополнительное определение содержания нефти и газа в углеводородной части газожидкостного потока с учетом объемного газосодержания, определенного по показаниям двух гидростатических плотномеров, находящихся под разными рабочими давлениями производят следующим образом. Так как плотности 1-2 и 3-4 определяются при разных давлениях P1 и Р4, объемное содержание газа Сг может быть определено также через их значения по выражению (в долях от единицы):

Определяемая гидростатическим плотномером плотность ( 1-2, 3-4, 1-4) газожидкостной смеси является суммой произведений плотности газовой и жидкой фаз на их долевое содержание в смеси:

гр плотность газа при рабочих условиях, определенная по формуле (5).
Содержание жидкости в газожидкостной смеси определяется аналогично формуле (6):

Плотность жидкости ж определяется по выражению аналогично формуле (7):

Определение содержания нефти и воды по данным гидростатических плотномеров определяется исходя из условия:

где в и н задаются по данным лабораторных анализов продукции скважин,
Сж определяется по выражению (41), ж – по выражению (42).
Тогда содержание воды определяют аналогично формуле (8)

содержание нефти аналогично формуле (9)

Объемные расходы газа, нефти, воды определяются из условия, что объемный расход газожидкостной смеси Qo2 через сужающее устройство 9 и объемный интегральный расход Qон через три сужающих устройства 8, 9, 10, определяемые по выражениям (26, 30), равен сумме расходов компонентов смеси по их доле в объеме смеси:


Тогда 





При измеряемой см и вычисляемых гр (31) и ж (34) дополнительно определяется расходное объемное газосодержание по выражению (в долях объема):

Таким образом, определение плотности газожидкостной смеси через гидростатические плотномеры и объемного расхода через сужающие устройства также позволяют определить содержание всех фаз в трехфазном потоке и их объемный расход. Объемные расходы газа, нефти и воды с использованием данных гамма-плотномеров определяют по формулам, аналогичным (51-53):



Объемное расходное газосодержание в этом случае определяется по выражению, аналогичному формуле (54):

Электромагнитные зонды 28 и 29 проводимости и диэлектрической проницаемости позволяют дополнительно непрерывно определять в восходящей и нисходящей ветвях объемное содержание воды в газожидкостной смеси (по крайней мере, до 40-45%-ной обводненности при раздельном и пузырьково-пробковом течении).
Содержание воды в смеси определяется в этом случае по выражению:

где см – диэлектрическая проницаемость газожидкостной смеси;
в – диэлектрическая проницаемость воды;
угл – диэлектрическая проницаемость углеводородов.
Принимая угл=1,6, выражение (60) приводится к виду:

Содержание углеводородов в смеси определяется как:

Из условия

определяется плотность углеводородов

а затем по известным значениям н и гр определяется содержание нефти и газа в углеводородной смеси:


Проверка осуществляется по выражению:

а также в сравнении с уравнениями (39, 44, 45).
Объемный расход фаз в этом случае определяется аналогично уравнениям (48-53).
Индуктивные катушки электромагнитных зондов 28, 29 на восходящей и нисходящей ветвях газожидкостного потока разнесены на расстояния, обеспечивающие измерение скорости движения газожидкостной смеси за счет ее неоднородности по проводимости и диэлектрической проницаемости. Дополнительное контрольное измерение объемного расхода трехкомпонентного газожидкостного потока производят меточным методом по вариациям показаний индуктивных электромагнитных зондов 28, 29 проводимости и диэлектрической проницаемости, расположенных на восходящей и нисходящей ветвях газожидкостного потока через транспортное запаздывание. При наличии неоднородностей в потоке газожидкостной смеси показания электромагнитных зондов 28, 29 меняются скачкообразно и по времени прохождения неоднородностей между точками измерения определяют общий объемный расход газожидкостного потока через устройство для измерения.
Зонд 31 окислительно-восстановительного потенциала, размещенный в верхней горизонтальной металлической трубе 5 устройства для измерения, позволяет получить дополнительную информацию, связанную с появлением в продукции скважины воды, закачиваемой в нагнетательные скважины из открытых водоемов и имеющей повышенное содержание растворенного кислорода. Измеряя значения окислительно-восстановительного потенциала, можно зафиксировать момент прорыва в скважину закачиваемых с дневной поверхности вод и своевременно принять меры по изоляции места их поступления в скважину.
Величину окислительно-восстановительного потенциала измеряют через потенциал Eh инертного электрода, погруженного в окислительно-восстановительную среду, относительно этой среды.
Имеет место соотношение (Pirson S.J. Redox log interprets reservoir potential. “Oil and Gas Journal”, 1968, 66, №31, с.69-75 (англ.).):

где Eh – потенциал инертного электрода, отнесенный к стандартному водородному электроду;
Ео – константа системы (электродный потенциал, измеренный при 50%ном окислении системы);
R=8,315 Дж и F=96,540 К – термодинамические константы;
Т – абсолютная температура;
n – число электронов, участвующих в реакции;
ОХ и Red – концентрации соответственно окислительного и восстановительного агентов.
В качестве инертного электрода в зонде окислительно-восстановительного потенциала может быть использован золотой или платиновый электрод, а в качестве сравнительного электрода – свинцовый электрод, откалиброванный относительно стандартного водородного электрода (каломелевого). Способ состоит в непрерывном измерении потенциала Eh с осреднением за время измерения , которое может быть изменено от 10 до 120 с. Пределы измерения Eh – от +500 до -500 мВ.
Объемное содержание газа в трехкомпонентном газожидкостном потоке дополнительно определяют по разности температуры и давления до сужающих устройств 8, 9, 10 и после них, возникающей за счет дросселирования газа и жидкости через сужающие устройства, путем измерения температуры и перепада давления в устройстве высокоточными датчиками давления и температуры 18, 19, 20, 21.
Способ основан на основе эффекта Джоуля-Томсона (Кулинг X. Справочник по физике. Пер. с нем. – М.: Мир, 1982 – 520 с. (с.174-175)), возникающего при дросселировании газожидкостного потока через сужающие устройства 8, 9, 10 (дроссели) в виде шайб. Интегральный коэффициент Джоуля-Томсона:

где Т – перепад температур на сужающем устройстве;
Р – перепад давления на сужающем устройстве.
Из справочных данных значение для воды – 0,235°С/МПа, для нефти – 0,4-0,6°С/МПа, и для газа – 3-6°С/МПа (для метана 4°С/МПа).
При температурах ниже критических температур прохождение жидкостей (нефть, вода) через дроссель вызывает их нагрев, а прохождение газа через дроссель – его охлаждение (знак (меняется).
Учитывая, что для газа на порядок больше, чем для жидкостей, а также то обстоятельство, что при дросселировании газа меняется и знак , этот параметр целесообразно дополнительно использовать для определения объемного содержания газа в потоке (особенно при его значительных количествах) по уравнению:

т.к. ,
где – коэффициент Джоуля-Томсона для смеси;
, , , – коэффициент Джоуля-Томсона для воды, нефти, газа и жидкости;
Св, Сн, Сг, и Сж – доли воды, нефти, газа и жидкости в смеси;
то можно записать
.
Принимая и , имеем .
Принимая Сж=(1-Сг), получаем 
Отсюда 

Например, при t°=-0,062°С и Р=0,041 МПа


Сж=1-0,4318=0,5652
Значения уточняются по составу газа, а – по долям нефти и воды, определенным по уравнениям (3-9), (47), (48), (59), (63).
Значение перепада давления Р1-4=P1-Р4 определяется по разнице показаний давлений датчиками 18 и 21, а значение перепада температур t – по разнице показания температур датчиками 18 и 21, выполняющих функцию измерения температуры в данном случае t1-4=t°1-t°4.
Таким образом, предлагаемое изобретение решает актуальную задачу нефтегазодобывающей отрасли – измерение расхода трехкомпонентных потоков продукции добывающих скважин без строительства дорогостоящих громоздких сепарационных устройств на отдельных скважинах и кустах скважин. Количественные измерения покомпонентного расхода продукции скважин могут быть проведены путем монтажа врезки устройства по предлагаемому изобретению в выкидную линию от скважины или группы скважин. При этом относительное содержание компонентов газожидкостных потоков могут изменяться в широких пределах – газовый фактор от 1 до 500 м3/м3, обводненность от 0 до 98%. Устройство для измерения может быть смонтировано также на подвижном транспортном средстве, например прицепе, и применяться для проведения исследовательских работ при освоении и вводе скважины в эксплуатацию, что расширяет сферу его применения.
Формула изобретения
1. Способ измерения покомпонентного расхода трехкомпонентного газожидкостного потока, включающий направление газожидкостного потока во встраиваемое в основной трубопровод устройство для измерения, в котором измеряют давление, температуру и плотность газожидкостного потока соответственно датчиками давления, температуры и гамма-плотномером, определение полного расхода газожидкостного потока и долей нефти, газа и воды в нем и расчет дебитов отдельных фаз газожидкостного потока, отличающийся тем, что газожидкостный поток направляют в устройство для измерения, используя для этого симметричную схему изменения направления газожидкостного потока, состоящую из восходящей, горизонтальной и нисходящей ветвей, при этом перепад давления в восходящей и нисходящей ветвях задают за счет установки в начале, середине и конце горизонтальной ветви сменных сужающих устройств, на восходящей и нисходящей ветвях газожидкостных потоков устанавливают два двухзондовых гамма-плотномера, каждый из которых содержит источник ионизирующего гамма-излучения, детектор гамма-излучения малого зонда и детектор гамма-излучения большого зонда, и измеряют плотность газожидкостного потока на восходящей и нисходящей ветвях при разных рабочих давлениях и по разности показаний детекторов малого и большого зондов определяют объемное газосодержание газожидкостного потока, измеряют проводимость и диэлектрическую проницаемость газожидкостного потока индуктивным методом бесконтактно через участки восходящих и нисходящих ветвей газожидкостного потока, образованных вертикально расположенными трубами, выполненными из радиопрозрачного высокопрочного материала, двумя электромагнитными зондами, работающими на низких и высоких частотах, и по ним определяют объемное содержание воды в газожидкостном потоке, по перепаду давления на среднем сужающем устройстве дроссельным расходомером с учетом плотности потока, определяемой гамма-плотномером, измеряют объемный расход газожидкостного потока в восходящей ветви, по разнице между объемным расходом газожидкостного потока и объемным содержанием воды определяют содержание углеводородной части газожидкостного потока, а по разнице между содержанием углеводородной части газожидкостного потока и объемным газосодержанием определяют объемное содержание нефти в потоке.
2. Способ по п.1, отличающийся тем, что в качестве источника ионизирующего гамма-излучения используют безопасный для обслуживающего персонала низкофоновый природный источник в виде сильвина (KCl), а в качестве детекторов гамма-излучения малого и большого зондов используют сцинтиляционные детекторы.
3. Способ по п.2, отличающийся тем, что дополнительно измеряют фоновые значения гамма-активности жидкости газожидкостного потока компенсационным детектором гамма-активности, аналогичным детекторам гамма-излучения, используемым в малом и большом зондах гамма-плотномеров, но защищенным от источника ионизирующего гамма-излучения.
4. Способ по п.3, отличающийся тем, что из показаний детекторов гамма-излучения малого и большого зондов гамма-плотномеров, расположенных в восходящей и нисходящей ветвях газожидкостного потока, вычитают показания компенсационного детектора фоновой гамма-активности жидкости газожидкостного потока, а плотность газожидкостного потока в восходящей и нисходящей ветвях потоков определяют как логарифм отношения показаний детекторов гамма-излучения малого и большого зондов гамма-плотномера с учетом фоновой гамма-активности жидкости газожидкостного потока.
5. Способ по п.3, отличающийся тем, что по повышению показаний компенсационного детектора фоновой гамма-активности фиксируют момент появления в продукции скважины фронта осолонения, имеющего повышенную радиоактивность.
6. Способ по п.1, отличающийся тем, что плотность газожидкостного потока в восходящей и нисходящей ветвях при разных рабочих давлениях дополнительно измеряют двумя гидростатическими плотномерами на основе дифференциальных преобразователей давления.
7. Способ по п.1, отличающийся тем, что дополнительно измеряют величину окислительно-восстановительного потенциала жидкости потока.
8. Способ по п.7, отличающийся тем, что по изменению значений окислительно-восстановительного потенциала фиксируют появление в продукции скважины воды, контактирующей перед закачкой с атмосферой и имеющей повышенное содержание растворенного кислорода.
9. Способ по п.1, отличающийся тем, что объемное содержание воды определяют с учетом ее минерализации, определяемой по периодическому анализу отбираемых проб жидкости.
10. Способ по п.6, отличающийся тем, что определение содержания нефти и газа в углеводородной части газожидкостного потока производят дополнительно с учетом объемного газосодержания, определенного по показаниям двух гидростатических плотномеров, находящихся под разными рабочими давлениями.
11. Способ по п.1, отличающийся тем, что определение содержания газа и жидкости в потоке воды и нефти в жидкостной части газожидкостного потока и нефти и газа в углеводородной части газожидкостного потока дополнительно производят через исходные плотности компонентов с учетом рабочей температуры и давления по показаниям как гамма-плотномеров, так и гидростатических плотномеров.
12. Способ по п.1, отличающийся тем, что контрольное измерение объемного расхода трехкомпонентного газожидкостного потока производят дополнительно меточным методом по вариациям показаний перепада давления на трех сужающих устройствах через транспортное запаздывание газожидкостного потока.
13. Способ по п.1, отличающийся тем, что дополнительное контрольное измерение объемного расхода трехкомпонентного газожидкостного потока производят меточным методом по вариациям показаний индуктивных электромагнитных зондов проводимости и диэлектрической проницаемости, расположенных на восходящей и нисходящей ветвях газожидкостного потока через транспортное запаздывание.
14. Способ по п.1, отличающийся тем, что объемное содержание газа в трехкомпонентном газожидкостном потоке дополнительно определяют по разности температуры и давления до сужающих устройств и после них, возникающей за счет дросселирования газа и жидкости через сужающие устройства, путем измерения температуры и перепада давления в устройстве высокоточными датчиками давления и температуры.
15. Устройство для измерения покомпонентного расхода трехкомпонентного газожидкостного потока, встраиваемое в основной трубопровод для транспортировки газожидкостного потока, включающее источник и детектор гамма-излучения и датчики давления и температуры, отличающееся тем, что оно выполнено в виде симметричной конструкции, состоящей из двух вертикально и параллельно расположенных труб из высокопрочного радиопрозрачного материала – стеклопластика с металлическими законцовками, заканчивающимися фланцами, соединенных в верхней и нижней частях двумя горизонтальными металлическими трубами с вертикально расположенными фланцевыми соединительными отводами, во фланцевых соединительных отводах верхней горизонтальной трубы и в ее середине расположены три сменных сужающих устройства, представляющие собой шайбы, диаметр проходного отверстия которых в 2-4 раза меньше внутреннего диаметра вертикально расположенных стеклопластиковых труб, за счет чего создается необходимый перепад давления между восходящим и нисходящим потоками, на концах нижней горизонтальной трубы расположены фланцевые соединения, предназначенные для встраивания ее в основной трубопровод, в середине и на вертикальных отводах нижней горизонтальной трубы расположены запорные шаровые краны, с помощью которых газожидкостный поток может быть направлен через нижнюю металлическую горизонтальную трубу, либо через байпасную линию устройства, образуя восходящую, горизонтальную и нисходящую ветви газожидкостного потока, на нижних металлических законцовках вертикально расположенных труб и на противоположных им частях верхней горизонтальной металлической трубы симметрично расположены четыре датчика давления и температуры; на вертикально расположенных трубах симметрично расположены два гамма-плотномера, каждый из которых содержит источник ионизирующего излучения, представляющий собой контейнер с засыпкой в них KCl и два детектора гамма-излучения, образующие малые и большие зонды гамма-плотномеров, и два электромагнитных зонда проводимости и диэлектрической проницаемости, на верхней горизонтальной металлической трубе симметрично установлены в левом торце – компенсационный детектор фоновой гамма-активности, а в правом торце – зонд окислительно-восстановительного потенциала, при этом датчики давления и температуры, детекторы гамма-излучения малых и больших зондов гамма-плотномеров, электромагнитные зонды проводимости и диэлектрической проницаемости, компенсационный детектор фоновой гамма-активности и зонд окислительно-восстановительного потенциала соединены с введенными в устройство блоком электроники, вычислительным устройством и блоком энергонезависимой памяти с возможностью сбора и обработки информации от них, проведения вычислений по заранее заданным алгоритмам, хранения калибровочных данных, являющихся базой сравнения, и архивирования выходных данных за длительный срок измерения.
16. Устройство по п.15, отличающееся тем, что зонд окислительно-восстановительного потенциала содержит платиновый электрод и электрод сравнения.
17. Устройство по п.15, отличающееся тем, что электромагнитные зонды проводимости и диэлектрической проницаемости выполнены в виде индуктивных катушек, расположенных на внешней поверхности вертикально расположенных труб с возможностью бесконтактных измерений затухания и сдвига фаз.
18. Устройство по п.17, отличающееся тем, что индуктивные катушки на восходящей и нисходящей ветвях газожидкостного потока разнесены на расстояния, обеспечивающие измерение скорости движения газожидкостной смеси за счет ее неоднородности по проводимости и диэлектрической проницаемости.
19. Устройство по п.15, отличающееся тем, что детекторы гамма-излучения малого и большого зондов в гамма-плотномерах и детектор фоновой гамма-активности выполнены в виде сцинтиблоков, состоящих из кристалла NaJ(Tl) или ZsJ и фотоэлектронного умножителя.
20. Устройство по п.15 или 19, отличающееся тем, что для минимизации влияния космического фона детекторы гамма-излучения малого и большого зондов гамма-плотномеров защищены с внешней стороны защитными экранами, например, из освинцованной резины.
21. Устройство по п.15, отличающееся тем, что датчики давления и температуры выполнены в виде высокоточных кварцевых преобразователей давления и температуры с частотным выходом, включаемых дифференциально с накоплением разностных сигналов за среднее время транспортного запаздывания движения газожидкостного потока между серединами баз измерений, образуя гидростатические плотномеры для дополнительного измерения плотности.
22. Устройство по п.15, отличающееся тем, что содержит систему аварийного аккумуляторного питания, обеспечивающего работоспособность при отключении питающей сети на срок не менее 24 ч.
23. Устройство по п.15, отличающееся тем, что система аварийного аккумуляторного питания содержит блок автоматической подзарядки аккумуляторов при включении питающей сети.
24. Устройство по п.15, отличающееся тем, что для предотвращения нарастания на внутренней поверхности устройства асфальто-смолистых и парафиновых отложений, стенки устройства имеют защитное покрытие.
25. Устройство по п.15, отличающееся тем, что оно закрыто теплоизолированным защитным кожухом.
РИСУНКИ
MM4A – Досрочное прекращение действия патента СССР или патента Российской Федерации на изобретение из-за неуплаты в установленный срок пошлины за поддержание патента в силе
Дата прекращения действия патента: 01.02.2009
Извещение опубликовано: 10.02.2010 БИ: 04/2010
|