|
|
(21), (22) Заявка: 2005134800/03, 10.11.2005
(24) Дата начала отсчета срока действия патента:
10.11.2005
(46) Опубликовано: 27.06.2007
(56) Список документов, цитированных в отчете о поиске:
RU 2209943 C1, 10.08.2003. SU 848601 A1, 23.07.1981. SU 1729299 A3, 23.04.1992. SU 883348 A1, 23.11.1981. SU 947311 A1, 30.07.1982. SU 377557 A1, 01.01.1973. SU 1035188 A1, 15.08.1983. CA 2041788 A, 05.11.1991.
Адрес для переписки:
390048, г.Рязань, ул. Новоселов, 54/2, кв.292, В.А. Керимову
|
(72) Автор(ы):
Башкатов Алексей Дмитриевич (RU), Керимов Ваид Амирджанович (RU), Петросов Дмитрий Аркадьевич (RU)
(73) Патентообладатель(и):
Башкатов Алексей Дмитриевич (RU), Керимов Ваид Амирджанович (RU), Петросов Дмитрий Аркадьевич (RU)
|
(54) ИНСТРУМЕНТ ДЛЯ СООРУЖЕНИЯ ФИЛЬТРОВОЙ СКВАЖИНЫ
(57) Реферат:
Изобретение относится к области горного дела, в частности к устройствам для сооружения скважин для добычи воды и другой текучей среды, и может быть использовано при закачивании скважин в процессе бурения или ремонта для борьбы с выносом песка. Обеспечивает оптимизацию процесса формирования естественного фильтра. Сущность изобретения – инструмент включает эксплуатационную, фильтровую колонны, двойную промывочную трубу, снабжен дополнительной двойной промывочной трубой, установленной нижней частью в кольцевой полости между эксплуатационной и фильтровой колоннами с возможностью перемещения относительно торца фильтровой колонны в пределах 4-6 м, а фильтровая колонна снабжена кожуховым фильтром. 1 ил.
Настоящее изобретение относится к области горного дела, в частности к устройствам для сооружения скважин для добычи воды и другой текучей среды, и может быть использовано при закачивании скважин в процессе бурения или ремонта для борьбы с выносом песка.
Известен инструмент для сооружения скважин, включающий эксплуатационную и фильтровую колонны с кожуховым фильтром [1].
Недостатком известного инструмента является промывка фильтровой зоны скважины через эксплуатационную колонну, что не обеспечивает надежного формирования естественного фильтра и приводит к загрязнению кожухового фильтра.
Известен также инструмент для сооружения фильтровой скважины, включающий эксплуатационную, фильтровую колонны, воздуховод для эрлифтной промывки затрубной полости [2].
Недостатком известного инструмента является низкая эффективность затрубной эрлифтной промывки.
Наиболее близким к заявленному изобретению является инструмент для сооружения фильтровой скважины, включающий эксплуатационную, фильтровую колонны и двойную промывочную трубу [3].
Недостатком известного инструмента является промывка фильтровой зоны скважины через колонну, что не позволяет использовать кожуховый фильтр.
В задачу настоящего изобретения ставится обеспечение оптимального формирования естественного фильтра.
Поставленная задача решается тем, что инструмент, включающий эксплуатационную, фильтровую колонны, двойную промывочную трубу, снабжен дополнительной двойной промывочной трубой, установленной нижней частью в кольцевой полости между эксплуатационной и фильтровой колоннами с возможностью перемещения относительно торца фильтровой колонны в пределах 4-6 м, а фильтровая колонна снабжена кожуховым фильтром.
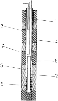
Сущность изобретения пояснена чертежом. Инструмент включает эксплуатационную 1, фильтровую 2 колонны, двойную промывочную трубу 3, дополнительную двойную промывочную трубу 4. Фильтровая колонна 2 снабжена фильтром 5 и глухой частью 6, соединенной с двойной промывочной трубой 3 левым переводником 7.
Работа инструмента заключается в том, что после спуска фильтровой колонны 2 в скважину на двойной промывочной трубе 3 спускают дополнительно двойную промывочную трубу 4 и устанавливают ее нижнюю часть в кольцевую полость между эксплуатационной и фильтровой колоннами 2 на 4-6 м, включают подачу промывочной жидкости в двойную трубу 3 и воздуха в дополнительную двойную промывочную трубу 4.
Промытые глинистые и пылеватые частицы откачиваются из межтрубной полости эрлифтом, а средние и крупнозернистые породные частицы 8 при этом оседают на забой, где формируется естественный фильтр.
Процесс заполнения межтрубной полости частицами 8 сопровождают расхаживанием нижней части дополнительной двойной промывочной трубы.
После заполнения межтрубной полости выключается подача промывочной жидкости и воздуха, и дополнительная двойная промывочная труба 4 извлекается из скважины.
После этого включается подача воздуха во вторую промывочную трубу 3 для эрлифтной откачки, по окончании которой вторая промывочная труба 3 извлекается из скважины.
Источники информации
1. Авторское свидетельство СССР №1191562, МКИ4 Е21В 43/08, 15.11.1985.
2. Авторское свидетельство СССР №914754, МКИ2 Е21В 43/08, 23.03.1982.
3. Патент РФ №2209943, МПК7 Е21В 43/04, 10.08.2003.
Формула изобретения
Инструмент для сооружения фильтровой скважины, включающий эксплуатационную, фильтровую колонны, двойную промывочную трубу, отличающийся тем, что снабжен дополнительной двойной промывочной трубой, установленной нижней частью в кольцевой полости между эксплуатационной и фильтровой колоннами с возможностью перемещения относительно торца фильтровой колонны в пределах 4-6 м, а фильтровая колонна снабжена кожуховым фильтром.
РИСУНКИ
MM4A – Досрочное прекращение действия патента СССР или патента Российской Федерации на изобретение из-за неуплаты в установленный срок пошлины за поддержание патента в силе
Дата прекращения действия патента: 11.11.2007
Извещение опубликовано: 10.07.2009 БИ: 19/2009
|
|