|
|
(21), (22) Заявка: 2005101379/03, 24.01.2005
(24) Дата начала отсчета срока действия патента:
24.01.2005
(43) Дата публикации заявки: 10.07.2006
(46) Опубликовано: 27.06.2007
(56) Список документов, цитированных в отчете о поиске:
US 4593503 А, 10.06.1986. RU 12699 А, 27.01.2000. DE 10035007 A1, 31.01.2002. US 4959935 А, 02.10.1990. SU 810536 А, 07.03.1978.
Адрес для переписки:
123308, Москва, а/я 58, С.А. Андрюшкину
|
(72) Автор(ы):
Андрюшкин Сергей Анатольевич (RU)
(73) Патентообладатель(и):
Андрюшкин Сергей Анатольевич (RU)
|
(54) НЕСУЩИЙ УЗЕЛ ЛЕСТНИЦЫ И ЛЕСТНИЦА
(57) Реферат:
Изобретение относится к строительству и предназначено для создания различных по форме и параметрам лестниц, содержащих несколько сборных модульных элементов. Технический результат: создание несущего узла пространственной конструкции, обеспечивающего расширение функциональных возможностей при формировании поверхностей пространственных конструкций по отношению к уровню техники, а именно позволяющего в зависимости от решаемой задачи и без применения дополнительных устройств просто и удобно варьировать форму и параметры создаваемой лестницы, согласно существующей задаче, с использованием ограниченного набора простых модульных элементов, что позволит расширить область применения заявленного узла и лестницы на его основе. Несущий узел лестницы содержит уголковый элемент и линейно-протяженный элемент, прикрепленный к одной из граней уголкового элемента с помощью шарнирного соединения с двумя степенями свободы в плоскости грани уголкового элемента, на свободном конце линейно-протяженного элемента выполнено отверстие под элемент разъемного шарнирного соединения, при этом линейно-протяженные элементы прикреплены с внутренней или внешней стороны к обеим граням уголкового элемента с помощью шарнирных соединений с двумя степенями свободы в плоскости каждой из граней, каждый из линейно-протяженных элементов выполнен по крайней мере с одним отверстием под крепежный элемент для крепления проступи или подступенки. Также описана лестница, содержащая два или более несущих узлов. 2 з.п. ф-лы, 3 ил.
Настоящее изобретение относится к строительству и предназначено для использования в сборно-разборных лестницах, содержащих несколько сборных модульных элементов.
Известно использование шарнирного соединения в конструкции сборно-разборной лестницы (Свидет. РФ №12699 на полезную модель, 2000.01.27, Е06С 1/08), где используются два шарнирно связанных лестничных звена, причем шарнирной связью служит третье звено, и шарнирное соединение элементов лестницы, где шарнир имеет, по меньшей мере, две степени свободы (Свидет. РФ №19696 на полезную модель, 2001.09.27. Е06С 7/50).
Наиболее близким к заявленному решению является несущий узел регулируемой лестницы, содержащий уголковый элемент и линейно-протяженный элемент, прикрепленный к одной из граней уголкового элемента с помощью шарнирного соединения с двумя степенями свободы в плоскости грани уголкового элемента, на свободном конце линейно-протяженного элемента выполнено отверстие под элемент разъемного шарнирного соединения (Патент США US 4593503 А, Е045F 11/025 от 10.06.1986 г.).
Технической задачей, на решение которой направлено данное техническое решение, является создание несущего узла пространственной конструкции, обеспечивающего расширение функциональных возможностей при формировании поверхностей пространственных конструкций по отношению к уровню техники, а именно позволяющего в зависимости от решаемой задачи и без применения дополнительных устройств просто и удобно варьировать форму и параметры создаваемой лестницы, согласно существующей задаче, с использованием ограниченного набора простых модульных элементов, что позволит расширить область применения заявленного узла и лестницы на его основе.
Поставленная задача решается тем, что несущий узел лестницы содержит уголковый элемент и линейно-протяженный элемент, прикрепленный к одной из граней уголкового элемента с помощью шарнирного соединения с двумя степенями свободы в плоскости грани уголкового элемента, на свободном конце линейно-протяженного элемента выполнено отверстие под элемент разъемного шарнирного соединения, при этом линейно-протяженные элементы прикреплены с внутренней или внешней стороны к обеим граням уголкового элемента с помощью шарнирных соединений с двумя степенями свободы в плоскости каждой из граней, каждый из линейно-протяженных элементов выполнен по крайней мере с одним отверстием под крепежный элемент для крепления проступи или подступенки. Под шарнирным соединением с двумя степенями свободы в плоскости грани уголкового элемента понимается цилиндрический шарнир, позволяющий любой точке линейно-протяженного элемента изменять координаты Х и Y в любой прямоугольной системе координат, расположенной в плоскости, совпадающей с плоскостью грани уголкового элемента.
Угол между гранями уголкового элемента может варьироваться в диапазоне величин, превышающих 0° и меньших 180°, в зависимости от требуемой формы и конфигурации лестницы.
При этом лестница, содержащая два или более ряда несущих узлов по п.1, образуется при соединении несущих узлов в каждом ряду между собой через отверстия элементов разъемных шарнирных соединений свободных концов линейно-протяженных элементов в одноименных (вертикальных или горизонтальных) плоскостях граней уголковых элементов несущих узлов, а через отверстия с помощью крепежных элементов к линейно-протяженным элементам жестко присоединены проступи и подступенки.
В качестве элементов, обеспечивающих жесткое присоединение формообразующих элементов, могут использоваться любые крепежные элементы, обеспечивающие необходимый уровень надежности соединения конструкции: болты, гвозди, заклепки, шурупы и т.д.
Сущность изобретения поясняется графическими материалами.
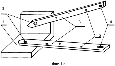
На фиг.1(а) и (б) изображены варианты конструкции несущего узла лестницы с линейно протяженными элементами, расположенными на внутренних или внешних сторонах граней уголкового элемента.
Несущий узел лестницы содержит уголковый элемент (1), причем к граням уголкового элемента (1) с внутренней (Фиг.1(а)) или внешней (Фиг.1(б)) стороны уголкового элемента (1) прикреплены с помощью шарнирных соединений (2) с двумя степенями свободы в плоскости каждой из граней линейно-протяженные элементы (3), на свободных концах линейно-протяженных элементов выполнено отверстие (4) под элемент разъемного шарнирного соединения, а сами линейно-протяженные элементы (3) выполнены с по крайней мере одним отверстием (5) под крепежный элемент для крепления проступи или подступенки.
На фиг.2 показан пример выполнения фрагмента лестницы, при создании которой использованы несущие узлы согласно настоящему изобретению.
Согласно фиг.2 данная конструкция содержит два или более ряда несущих узлов с уголковыми элементами (1), причем закрепленные на гранях уголкового элемента с помощью шарнирных соединений (2) линейно-протяженные элементы (3) несущих узлов соединены между собой с помощью шарнирных соединений через отверстия (4), а через отверстия (5) крепежными элементами жестко присоединены проступь (6) и подступенка (7), выполняющие функции формообразующих элементов, задающих форму и параметры лестницы в целом.
На фиг.3 показан пример выполнения винтовой лестницы, при создании которой использованы несущие узлы согласно настоящему изобретению.
Согласно фиг.3 данная конструкция содержит два или более ряда несущих узлов с уголковыми элементами (1), причем закрепленные на гранях уголкового элемента с помощью шарнирных соединений (2) линейно-протяженные элементы (3) одноименных граней уголковых элементов несущих узлов в каждом ряду соединены между собой с помощью шарнирных соединений через отверстия (4), а крепежными элементами через отверстия (5) к линейно-протяженным элементам жестко присоединены проступь (6) и подступенка (7). Для винтовой лестницы проступи выполняются трапециевидными или треугольными. Являясь, таким образом, формообразующими элементами.
Данная лестница обладает простотой изготовления и широким спектром применения в строительстве благодаря малому количеству используемых элементов, предоставляет возможность варьирования размеров и форма лестницы в зависимости от поставленной задачи и обеспечивает высокий уровень надежности при сборке благодаря жесткой фиксации ее элементов относительно друг друга. В качестве фиксирующих элементов данной конструкции могут использоваться любые крепежные строительные элементы, обеспечивающие необходимый уровень надежности соединения конструкции. Например, благодаря предлагаемой конструкции можно выбирать и менять высоту, ширину и форму ступеней лестницы, что позволяет использовать конструкцию, как для прямых, так и для изогнутых и винтовых лестниц со ступенями различной высоты и формы. Варьирование угла уголковых элементов позволяет получить пандусы с различными наклонами.
На базе предлагаемых несущих узлов могут быть созданы также различные пространственные конструкции – короба, опалубки, подсобные здания и сооружения, башенные сооружения с легко изменяемым количеством граней и т.п.
Формула изобретения
1. Несущий узел лестницы, содержащий уголковый элемент и линейно-протяженный элемент, прикрепленный к одной из граней уголкового элемента с помощью шарнирного соединения с двумя степенями свободы в плоскости грани уголкового элемента, на свободном конце линейно-протяженного элемента выполнено отверстие под элемент разъемного шарнирного соединения, отличающийся тем, что линейно-протяженные элементы прикреплены с внутренней или внешней стороны к обеим граням уголкового элемента с помощью шарнирных соединений с двумя степенями свободы в плоскости каждой из граней, каждый из линейно-протяженных элементов выполнен по крайней мере с одним отверстием под крепежный элемент для крепления проступи или подступенки.
2. Несущий элемент пространственной конструкции по п.1, отличающийся тем, что угол между гранями уголкового элемента выбирается в диапазоне от величины, превышающей 0° и меньшей 180°.
3. Лестница, содержащая два или более несущих узлов по п.1, отличающаяся тем, что несущие узлы в каждом ряду соединены между собой через отверстия элементов разъемных шарнирных соединений свободных концов линейно-протяженных элементов в одноименных плоскостях граней уголковых элементов несущих узлов, а через отверстия с помощью крепежных элементов к линейно-протяженным элементам жестко присоединены проступи и подступенки.
РИСУНКИ
MM4A – Досрочное прекращение действия патента СССР или патента Российской Федерации на изобретение из-за неуплаты в установленный срок пошлины за поддержание патента в силе
Дата прекращения действия патента: 25.01.2008
Извещение опубликовано: 10.12.2009 БИ: 34/2009
|
|