|
|
(21), (22) Заявка: 2005132446/03, 20.10.2005
(24) Дата начала отсчета срока действия патента:
20.10.2005
(30) Конвенционный приоритет:
21.10.2004 (пп.1-4) DE 102004051407.0
(46) Опубликовано: 27.06.2007
(56) Список документов, цитированных в отчете о поиске:
AT 410463 В, 26.05.2003. WO 02/081854 A1, 17.10.2002. ЕР 1004740 А, 31.05.2000. DE 8534651 U, 03.03.1988. RU 2230870 С2, 20.06.2004.
Адрес для переписки:
129010, Москва, ул. Б.Спасская, 25, стр.3, ООО “Юридическая фирма Городисский и Партнеры”, пат.пов. С.А.Дорофееву
|
(72) Автор(ы):
ФИШЕР Кристиан (DE), КНЕППЕР Эльмар (DE)
(73) Патентообладатель(и):
ТИССЕН ПОЛИМЕР ГМБХ (DE)
|
(54) ОКНО ИЛИ ДВЕРЬ
(57) Реферат:
Изобретение относится к области строительства, а именно к конструкциям остекления. Изобретение позволит предотвратить проникновение влажности, окно, дверь, элементы фасадов или зимних садов содержат изолирующие стекла, склеенные с профилем створной рамы, на дне которого предусмотрена проходящая по периметру уплотнительная закраина. Закраина выступает до торцевой стороны стекла. 3 з.п. ф-лы, 1 ил.
Окна или двери с изолирующим стеклом, которое в профиле створного переплета связано с ним посредством лежащего по торцевым сторонам клеевого слоя.
Сами изолирующие стекла, склеенные с рамой створного переплета окна, известны. При этом проклеивание производится в фальце для стекла.
Находящие при этом применение, так называемые, ступенчатые изолирующие стекла должны для этого сначала окрашиваться посредством метода матового эмалирования с дорогостоящими этапами производства. Рентабельное производство при этом невозможно.
Другой подход показывает, например, документ AT 410463 B – с вертикально стоящей в фальце створки, стабильной, отформованной из материала рамы ограничительной перегородкой для клеевой массы, которая выступает почти до середины щели между торцевой стороной изолирующего стекла и фальцем створки. При этом соединения между этой перегородкой и торцевой стороной изолирующего стекла не возникает. Однако такая оконная створка имеет различные недостатки.
Ограничительная перегородка создает сильно ограниченное поле допусков для изолирующего стекла. Изолирующие стекла поставляются именно с разными допусками, а именно, как в диагоналях, так и в ширинах и по длине. Вследствие этого, при установке оконного стекла может доходить до его контактов с фальцем для стекла, что в результате может вызвать повреждения. Кроме того, при оконной створке такого рода может проводиться только полноплоскостное проклеивание по периметру, так как иначе – через уплотнение при откидывании створки – возможно, проникающая вода, как т.н. влага просачивания могла бы над этой ограничительной перегородкой вдуваться в фальц для стекла, там в области фальца для стекла собираться и сбегать в фальц штапика для крепления стекла, откуда она имеет беспрепятственный доступ во внутреннее помещение оконной рамы. Это влечет за собой, в любом случае, выход окна из строя. В случае, если оконное стекло не приклеивается, а обычным способом ставится на колодки, например, в отдельном строительном элементе, тогда требуются особо выполняемые мостики колодок, так как ограничительная перегородка не допускает установку нормальных мостиков колодок, без особых выемок для этой перегородки.
Здесь находит применение изобретение, которое ставит своей задачей создать окно или т.п. с приклеиванием изолирующего стекла к фальцу для стекла в профиле рамы, что надежно устраняет недостатки известных окон этого вида, и уплотнение действует как против проникающей влажности, так и воды, и ограничивается высота уровня наносимой массы клеящего вещества, и возможна классическая установка изолирующего стекла на колодки, без каких-либо дополнительных издержек, при помощи стандартных мостиков колодок.
Решения этой задачи достигают согласно изобретению за счет окна, двери, элемента фасада, зимнего сада или т.п., с отличительными признаками пункта 1 формулы изобретения, в сочетании с ограничительными признаками.
Достигнутые с помощью изобретения преимущества состоят, кроме устранения недостатков, присущих уровню техники, в том, что посредством размещенной в стеклянном фальце по периметру уплотнительной закраины торцевая сторона изолирующего стекла и внесенное в приемную щель клеящее вещество защищены от проникающей сырости и влажности, и далее, – в том, что уплотнительная закраина при слишком большом давлении, вызванном слишком большим количеством клеящего вещества, путем определенного откидывания ограничивает высоту уровня клеящего вещества в щели между торцевой стороной изолирующего стекла и дном фальца для стекла и делает возможным, таким образом, стекание клеящего вещества в область отвода воды рамного профиля. Таким образом, также никакая просачивающаяся влага, вызванная ливнями или неблагоприятными перепадами давления, не может попадать в область фальца штапика для крепления стекла и во внутреннее пространство рамы, далее является преимуществом, что из-за уплотняющего действия уплотнительной закраины могут использоваться также более простые, восприимчивые к сырости клеящие вещества. Следующее преимущество изобретения следует видеть в том, что увеличиваются возможные допуски изолирующих стекол из-за одинакового расстояния между торцевой стороной изолирующего стекла и фальцем для стекла по всему периметру. Благодаря хорошему уплотняющему действию уплотнительной закраины, вследствие чего никакая влага не может проникать к массе клеящего вещества, обеспечено, чтобы также через много лет употребления не могло происходить никакого разложения массы клеящего вещества, и эксплуатация окна или т.п. гарантирована.
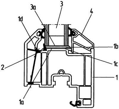
Изобретение подробнее разъясняется ниже посредством представленного на чертеже примера выполнения.
Чертеж показывает рамный профиль 1 с фальцем 1a для стекла и приемным объемом 1b для массы клеящего вещества 1c и дренажным каналом 1d для возможно проникающей влаги. Как представлено на чертеже, в левом конце фальца 1a для стекла находится уплотнительная закраина 2, которая может иметь разную твердость по Шору и имеет место заданного опрокидывания, которое, при слишком высоком давлении, вызванном слишком большой массой внесенного клеящего вещества, отворачивается наружу и освобождает путь в водоотливную область дренажного канала 1d. Однако уплотнительная закраина 2 служит, прежде всего, для того, чтобы предотвращать возможное проникновение через уплотнение стекла воды или влаги к массе клеящего вещества 1c. Это особенно важно при ливне, сильном ветре и неблагоприятных перепадах давления. Уплотнительная закраина 2 выступает от левого конца фальца 1a для стекла, по меньшей мере, до торцевой стороны 3a изолирующего стекла 3. Таким образом, производственные допуски изолирующего стекла 3 также не имеют значения, так как расстояние между фальцем для стекла и торцевой стороной изолирующего стекла 3 составляет, примерно, 3 мм. Позицией 4 обозначен штапик для крепления стекла.
Предложенное согласно изобретению решение может с успехом применяться для оконных створок, также при фиксированных окнах, а также в дверях и зимних садах, а также элементах фасадов, причем безразлично, из каких материалов состоят створки, или, соответственно, рамы, и, вместе с тем, возможны даже безрамные конструкции.
Перечень основных обозначений
1 – профиль рамы,
1a – фальц для стекла,
1b – приемный объем для клеящего вещества,
1c – клеящее вещество,
1d – дренажный канал,
2 – уплотнительная закраина,
3 – изолирующее стекло,
3a – торцевая сторона изолирующего стекла,
4 – штапик для крепления стекла.
Формула изобретения
1. Окно или дверь, или элементы фасадов или зимних садов с изолирующим стеклом, которое в профиле створной рамы связано с ним посредством проходящего по периферии со стороны торца слоя клеящего вещества, отличающиеся тем, что на дне (1а) поперечного сечения фальца профиля створного профиля (1) рамы предусмотрена уплотнительная закраина (2), которая выступает, по меньшей мере, до торцевой стороны (3а) изолирующего стекла (3) и ограничивает приемный объем (1b) между дном (1а) и изолирующим стеклом (3), и уплотнительная закраина (2), выполненная одновременной или последующей экструзией сбоку, на дне (1а) профиля (1) рамы связана с ним, причем уплотнительная закраина (2) вложена в проходящий по периферии паз в дне (1а) профиля (1) рамы.
2. Окна или т.п. по п.1, отличающиеся тем, что уплотнительная закраина (2) имеет различные степени жесткости по Шору.
3. Окна или т.п. по п.1 или 2, отличающиеся тем, что уплотнительная закраина (2) снабжена местом заданного опрокидывания.
4. Окна или т.п. по одному из пп.1-3, отличающиеся тем, что профиль рамы изготовлен из жесткого поливинилхлорида.
РИСУНКИ
PD4A – Изменение наименования обладателя патента СССР или патента Российской Федерации на изобретение
(73) Новое наименование патентообладателя:
Иноутик/Децойнинк ГмбХ (DE)
Адрес для переписки:
129010, Москва, ул. Б.Спасская, 25, стр.3, ООО “Юридическая фирма Городисский и Партнеры”
Извещение опубликовано: 20.09.2007 БИ: 26/2007
|
|