|
|
(21), (22) Заявка: 2006130880/03, 29.08.2006
(24) Дата начала отсчета срока действия патента:
29.08.2006
(46) Опубликовано: 27.06.2007
(56) Список документов, цитированных в отчете о поиске:
RU 2095533 C1, 10.11.1997. RU 2048648 С1, 20.11.1995. SU 2185485 С1, 20.07.2002. US 3736709 А, 05.06.1973. FR 1586432 A, 20.02.1970. RU 2260659 С1, 20.09.2005.
Адрес для переписки:
115088, Москва, Симоновский вал, 26, корп.2, кв.30, В.С.Чайкову
|
(72) Автор(ы):
Николаев Станислав Васильевич (RU), Острецов Валерий Митрофанович (RU), Граник Юрий Григорьевич (RU), Гендельман Леонид Борисович (RU), Кузнецов Дмитрий Григорьевич (RU)
(73) Патентообладатель(и):
ОТКРЫТОЕ АКЦИОНЕРНОЕ ОБЩЕСТВО “ЦЕНТРАЛЬНЫЙ НАУЧНО-ИССЛЕДОВАТЕЛЬСКИЙ И ПРОЕКТНЫЙ ИНСТИТУТ ЖИЛЫХ И ОБЩЕСТВЕННЫХ ЗДАНИЙ” (RU)
|
(54) МНОГОЭТАЖНОЕ ЗДАНИЕ
(57) Реферат:
Изобретение относится к области строительства и может быть использовано при возведении сборных и монолитных многоэтажных зданий. Многоэтажное здание включает по меньшей мере одну блок-секцию с внутренними несущими стенами. Внутренние несущие стены поэтажно соединены друг с другом и примыкают к наружным продольных и торцевым стенам из мелкоштучных элементов. В торцах внутренних стен, примыкающих к наружным стенам, выполнены верхние угловые вырезы, в которых размещены опертые на них железобетонные элементы, выполненные в виде секций, образующих продольные балки. Секции состыкованы друг с другом торцами в замок, при этом закладные детали каждой пары смежных секций соединены друг с другом посредством сварных соединений. Поперечные торцы каждой секций наклонены в вертикальной плоскости. Кладка мелкоштучной облицовки наружных стен выполнена с перевязкой ложковых рядов тычковыми рядами, входящими частично во внутренний слой наружных стен. Технической задачей изобретения является повышение продольной жесткости здания. 2 з.п. ф-лы, 6 ил.
Изобретение относится к области строительства и может быть использовано при возведении многоэтажных зданий с использованием элементов сборного бетона и железобетона.
Известно из патента Российской Федерации №2048648, кл.6 Е04Н 1/00, 1995 г., многоэтажное здание, содержащее по крайней мере одну секцию, включающую лестничный и/или лестнично-лифтовый узел, фундаменты, наружные слоистые и внутренние несущие продольные и поперечные стены, сборные или монолитные межэтажные перекрытия, опертые по меньшей мере по двум сторонам, и крышу.
Недостатками упомянутого многоэтажного здания является большая теплопроводность наружных стен, отсутствие конструктивных элементов, обеспечивающих продольную жесткость здания, длительность сроков строительства и, как следствие этого, увеличение стоимости возведения здания.
Наиболее близким по своей технической сути предложенному многоэтажному зданию является известное из патента Российской Федерации №2095533, кл.7 Е04Н 9/02, 1995, многоэтажное здание, содержащее железобетонные элементы, на которых смонтированы имеющие оконные и/или балконные проемы слоистые продольные и торцевые наружные стены с внешним слоем в виде кладки из мелкоштучной облицовки, расположенные последовательно по высоте межэтажные плиты перекрытий, опертые на поэтажно соединенные друг с другом продольные и поперечные внутренние несущие стены, примыкающие торцами к наружным стенам.
Недостатками вышеуказанного наиболее близкого технического решения является то, что конструкция наружных стен из мелкоштучных элементов с облицованным слоем не обладает необходимой жесткостью в продольном направлении, так как в ней не предусмотрены конструктивные элементы, обеспечивающие необходимую продольную жесткость многоэтажных зданий.
Задачами изобретения является повышение продольной жесткости многоэтажных зданий при одновременном снижение трудоемкости и стоимости их возведения.
Поставленные задачи достигаются тем, что в многоэтажном здании, содержащем железобетонные элементы, на которых смонтированы имеющие оконные и/или балконные проемы, продольные и торцевые наружные стены из мелкоштучных элементов с облицовочным слоем, расположенные последовательно по высоте межэтажные плиты перекрытий, опертые на поэтажно соединенные друг с другом продольные и поперечные внутренние несущие стены, в торцах внутренних несущих стен, примыкающих к наружным стенам, выполнены верхние угловые вырезы, в которых размещены опертые на внутренние несущие стены средние части железобетонных элементов, выполненных в виде состыкованных друг с другом торцами в замок секций составных продольных балок, при этом закладные элементы каждой пары состыкованных секций соединены друг с другом посредством сварных соединений, мелкоштучная облицовка наружных стен выполнена с перевязкой ложковых рядов тычковыми рядами через 3-10 рядов с заделкой во внутреннем слое, образованном кладкой на плите перекрытия из легкобетонных или ячеистобетонных блоков, высота которых кратна 3-10 рядам кирпичной облицовки, причем поперечные торцы каждой секции продольной составной балки наклонены в вертикальной плоскости под углом 45-90°, а каждый из концов каждой секции имеется вертикальный вырез вдоль продольной оси составной балки, длина l которого составляет 0,25-0,5 длины L перекрываемого пролета между соседними параллельными внутренними поперечными стенами.
Кроме того, в многоэтажном здании на наклонных торцевых поверхностях секций составной продольной балки могут быть выполнены клинообразные пазы, образующие заполненный бетоном или строительным раствором стык, а внутренние несущие стены могут быть снабжены закладными деталями, размещенными в верхних угловых вырезах торцов внутренних несущих стен, соединенными с закладными деталями составной продольные балки посредством сварных соединений.
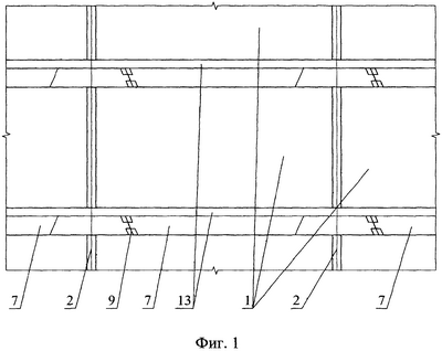
Сущность изобретения поясняется чертежами, где на фиг.1 схематично изображен фрагмент общего вида многоэтажного здания со снятой наружной продольной стеной; на фиг.2 – вид в плане на фиг.1; на фиг.3 – разрез по А-А на 2; на фиг.4 – разрез по Б-Б на фиг.3; на фиг.5 – по стрелке В на фиг.4 и на фиг.6 – концевая часть секции составной продольной балки в аксонометрии.
Многоэтажное здание включает по меньшей мере одну блок-секцию 1 с внутренними несущими поперечными 2 и продольными 3 стенами. Внутренние несущие поперечные 2 и продольные 3 стены блок-секции 1 поэтажно соединены друг с другом и имеют переменный шаг соответственно от 2,7 до 7,5 м. Они могут быть выполнены монолитными или из крупноразмерных панелей. Внутренние несущие поперечные 2 и продольные 3 стены примыкают поэтажно соответственно к наружным многослойным продольным 4 и торцевым 5 стенам, причем в торцах внутренних поперечных 2 стен, примыкающих к многослойных наружным продольным 4 стенам, выполнены верхние угловые вырезы 6, в которых размещены опертые на них центральные части железобетонных элементов, которые выполнены из расположенных последовательно секций 7, образующих составные продольные балки. Секции 7 состыкованы друг с другом торцами в замок, при этом закладные детали 8 каждой пары состыкованных секций 7 соединены друг с другом посредством сварных соединений 9. Поперечные торцы каждой секций 7 составной продольной балки наклонены в вертикальной плоскости под углом 45-90°, что обеспечивает совместность работы на изгиб смежных секций 7, образующих составную продольную балку. Концы каждой секции 7 имеет вертикальный вырез 10 вдоль продольной оси составной продольной балки. Длина t каждого выреза составляет 0,25-0,5 длины Т перекрываемого пролета между соседними параллельными внутренними несущими поперечными 2 стенами, что обеспечивает размещение стыка между смежными секциями 7 в зоне минимальных изгибающих моментов.
Кладка мелкоштучной кирпичной облицовки 11 многослойных продольных 4 и торцевых 5 многослойных наружных стен выполнена с перевязкой ложковых рядов тычковыми рядами через 3-10 рядов, что обеспечивает надежную связь фасадной облицовки с внутренним слоем наружных стен 4 и 5, образованным кладкой 12 из легкобетонных, керамических или ячеистобетонных блоков на плите перекрытия 13. Мелкоштучная кирпичная облицовка 11 выполняется преимущественно из лицевых керамических пустотелых камней или облицовочных кирпичей.
Высота легкобетонных или ячеистобетонных блоков в кладке 12 принимается кратной 3-10 рядам кирпичной облицовки 11, что обеспечивает ее перевязку тычковыми рядами с кладкой 12.
Межэтажные плиты перекрытий 13 выполнены монолитными или из крупноразмерных панелей, расположены последовательно по высоте и оперты на составные продольные балки, образованные секциями 7, и внутренние несущие поперечные 2 и продольные 3 стены.
На наклонных поверхностях поперечных торцов секций 7 каждой составной продольной балки могут быть выполнены клинообразные пазы 14, образующие заполненный бетоном или строительным раствором стык.
Закладные детали 15, размещенные в верхних угловых вырезах 6 торцов внутренних несущих стен 2 и 3 секции 7 составной продольной балки, для повышения продольной жесткости здания могут быть соединены друг с другом посредством сварных соединений.
Формула изобретения
1. Многоэтажное здание, содержащее железобетонные элементы, на которых смонтированы имеющие оконные и/или балконные проемы продольные и торцевые наружные стены из мелкоштучных элементов с облицовочным слоем, расположенные последовательно по высоте межэтажные плиты перекрытий, опертые на поэтажно соединенные друг с другом продольные и поперечные внутренние несущие стены, примыкающие торцами к наружным стенам, отличающееся тем, что в торцах внутренних несущих стен, примыкающих к наружным стенам, выполнены верхние угловые вырезы, в которых размещены опертые на внутренние несущие стены средние части железобетонных элементов, выполненных в виде состыкованных друг с другом торцами в замок секций составных продольных балок, при этом закладные элементы каждой пары состыкованных секций соединены друг с другом посредством сварных соединений, мелкоштучная облицовка наружных стен выполнена с перевязкой ложковых рядов тычковыми рядами через 3-10 рядов с заделкой во внутреннем слое, образованном кладкой на плите перекрытия из легкобетонных или ячеистобетонных блоков, высота которых кратна 3-10 рядам кирпичной облицовки, причем торцы каждой секции продольной составной балки наклонены в вертикальной плоскости под углом 45-90°, а в каждом конце каждой секции имеется вертикальный вырез вдоль продольной оси составной балки, длина которого составляет 0,25-0,5 длины перекрываемого пролета между соседними внутренними поперечными стенами.
2. Здание по п.1, отличающееся тем, что на наклонных торцевых поверхностях секций составной продольной балки выполнены клинообразные пазы, образующие заполненный бетоном или строительным раствором стык.
3. Здание по п.1, отличающееся тем, что внутренние несущие стены снабжены закладными деталями, размещенными в верхних угловых вырезах торцов внутренних несущих стен и соединенными с закладными деталями составной продольной балки посредством сварных соединений.
РИСУНКИ
MM4A – Досрочное прекращение действия патента СССР или патента Российской Федерации на изобретение из-за неуплаты в установленный срок пошлины за поддержание патента в силе
Дата прекращения действия патента: 30.08.2008
Извещение опубликовано: 20.08.2009 БИ: 23/2009
NF4A – Восстановление действия патента СССР или патента Российской Федерации на изобретение
Дата, с которой действие патента восстановлено: 20.08.2009
Извещение опубликовано: 20.08.2009 БИ: 23/2009
|
|