|
|
(21), (22) Заявка: 2002135622/03, 26.03.2002
(24) Дата начала отсчета срока действия патента:
26.03.2002
(30) Конвенционный приоритет:
26.03.2001 (пп.1-11) DE 10115639.1
(43) Дата публикации заявки: 27.02.2005
(46) Опубликовано: 27.06.2007
(56) Список документов, цитированных в отчете о поиске:
DE 19852411 A1, 18.05.2000. US 3664589 А, 23.05.1972. FR 2392182 A, 22.12.1978.
(85) Дата перевода заявки PCT на национальную фазу:
27.10.2003
(86) Заявка PCT:
EP 02/03359 (26.03.2002)
(87) Публикация PCT:
WO 02/077374 (03.10.2002)
Адрес для переписки:
103064, Москва, ул. Казакова,16, НИИР Канцелярия “Патентные поверенные Квашнин, Сапельников и партнеры”, В.П.Квашнину
|
(72) Автор(ы):
ДИТЕРЛЕ Йоахим (DE), ШОРН Франц (DE)
(73) Патентообладатель(и):
ХАНСГРОЭ АГ (DE)
|
(54) ВОДОСТРУЙНЫЙ АЭРАТОР
(57) Реферат:
Изобретение относится к водоструйному аэратору для выпуска воды в санитарно-технической арматуре. Аэратор содержит корпус из полимерного материала, выполненный горшкообразным, и смеситель для смешивания воды с воздухом, размещенный в корпусе и выполненный из термопласта. При этом дно корпуса приформовано к обечайке корпуса монолитно и выполнено с выпускными отверстиями для воды, которые образованы расположенными параллельно направлению потока стенками для ограничения струй, по меньшей мере, в зоне выпуска воды выполненными из эластичного синтетического полимерного материала. Для облегчения удаления известковых отложений остальная часть корпуса выполнена из недеформируемого термопласта и обоим полимерным материалам придана форма посредством двухкомпонентного литья с образованием поверхностей раздела между недеформируемым термопластом и эластичным синтетическим полимерным материалом, при этом смеситель также выполнен из недеформируемого термопласта. Технический результат: упрощение изготовления и повышение качества удаления известковых отложений. 10 з.п. ф-лы, 3 ил.
Водоструйный аэратор для выпуска воды в санитарно-технической арматуре, содержащий корпус из полимерного материала, выполненный горшкообразным, и смеситель для смешивания воды с воздухом, размещенный в корпусе и выполненный из термопласта, при этом дно корпуса приформовано к обечайке корпуса монолитно и выполнено с выпускными отверстиями для воды, которые образованы расположенными параллельно направлению потока стенками для ограничения струй, по меньшей мере, в зоне выпуска воды выполненными из эластичного синтетического полимерного материала.
Такого типа водоструйные аэраторы известны из патента Германии №19852411, Е03С 1/084, 18.05.2000. У этих аэраторов окончания стенок в направлении потока покрыты поверхностным слоем из упругого синтетического полимерного материала. Благодаря этому покрытию в значительной степени создается препятствие для известковых отложений. Если же известковые отложения наращиваются, то они могут быть удалены трением. Изготовление таких водоструйных аэраторов сравнительно сложное, потому что при их изготовлении формирование тонкого поверхностного слоя предъявляет высокие требования к точности посадки инструментов, так как в противном случае переход поверхностного слоя в зону границы раздела к термопластичному синтетическому полимерному материалу остальной части корпуса будет неравномерным. Кроме того, еще желательно, чтобы возможные известковые отложения лучше удалялись.
Изобретение заключается в том, что остальная часть корпуса выполнена из недеформируемого термопласта и обоим полимерным материалам придана форма посредством двухкомпонентного литья с образованием поверхностей раздела между недеформируемым термопластом и эластичным синтетическим полимерным материалом, при этом смеситель также выполнен из недеформируемого термопласта.
Согласно дальнейшему выполнению ограничивающие струи стенки выполнены из эластичного синтетического полимерного материала на участке их длины, по меньшей мере, свыше 1,0 мм, в частности 1,5-4 мм.
При еще одной предпочтительной форме выполнения ограничивающие струи стенки выполнены из эластичного синтетического полимерного материала на участке длины, составляющем 1,5-3 мм.
При этом смеситель выполнен в виде отдельного от корпуса узла.
Приспособление для перемешивания струй установлено в корпусе с фиксацией в аксиальном и радиальном направлениях.
Поверхности раздела между недеформируемым термопластом и эластичным синтетическим полимерным материалом лежат в одной перпендикулярной направлению потока плоскости поперечного сечения корпуса.
Согласно еще одной форме выполнения изобретения поверхность раздела между недеформируемым термоплпастом и эластичным синтетическим полимерным материалом в зоне обечайки больше поверхностей поперечного сечения стенки для ограничения струи.
При этом стенка для ограничения струи в зоне поверхности раздела между недеформируемым термопластом и эластичным синтетическим полимерным материалом имеет ступенчатую форму, по меньшей мере, одну ступень.
Стенка для ограничения струи в зоне поверхности раздела имеет ступенчатую форму на обеих сторонах поверхности раздела.
Поверхности раздела между недеформируемым термопластом и эластичным синтетическим полимерным материалом в зоне дна корпуса расположены, по существу, перпендикулярно направлению потока.
Изобретение представлено на нижеследующих чертежах, которые показывают
фиг.1 – вид устройства согласно изобретению в сечении;
фиг.2 – другой пример выполнения устройства по изобретению в сечении;
фиг.3 – корпус и смеситель третьей формы выполнения устройства по изобретению в сечении.
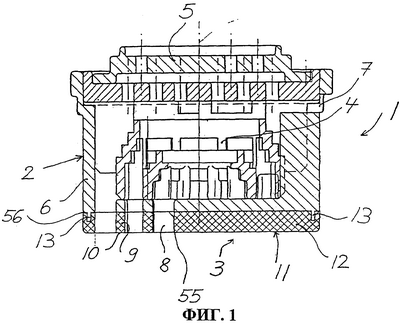
Показанная на фиг.1 форма выполнения представляет собой струйный аэратор 1 в поперечном сечении. Такие водоструйные аэраторы называются также струйными регуляторами. Они имеют цилиндрический корпус 2 с дном 3, выполненный горшкообразным, и смеситель 4 для смешивания воды с воздухом, размещенный в корпусе 2 и выполненный из термопласта. Смеситель взаимодействует с блоком 5 разделения струй в форме двух перфорированных пластин. Дно 3 корпуса 2 приформовано монолитно к обечайке 6 корпуса 2. Корпус имеет входные отверстия 7 для воздуха. Через эти отверстия воздух засасывается под создаваемым отдельными струями разрежением и смешивается с водой в смесителе.
Дно 3 имеет выходные отверстия 8 для выхода аэрационной смеси из воды и воздуха, причем отдельные отверстия окружены тонкими ограничивающими струи стенками 9, которые по существу соосны монолитным частям смесителя. В представленном примере выполнения эти стенки ограничения струи имеют форму колец 10, соединенных друг с другом радиальными перемычками 11. Толщина этих ограничительных стенок составляет, как правило, максимально 1 мм.
Направленная к выходу для выпуска воды часть 12 дна 3, соответственно ограничительных стенок 9, состоит из эластичного синтетического полимерного материала. Его твердость А по Шору составляет прибл. 60-70. Другая часть корпуса 2, обращенная к потоку, и обечайка 6 состоят из недеформируемого термопласта с твердостью А по Шору >90. Длина участков, ограничивающих струи стенок 9, состоящих из эластичного синтетического полимерного материала, составляет 1,5-3 мм, причем поверхности раздела между эластичным синтетическим полимерным материалом и недеформируемым термопластом лежат в одной перпендикулярной направлению потока плоскости поперечного сечения (55) корпуса 2.
Поверхность раздела (56) между недеформируемым термопластом и эластичным синтетическим полимерным материалом в зоне обечайки (6) больше поверхностей поперечного сечения стенки для ограничения струи (9).
Вследствие того, что смеситель 4 выполнен из недеформируемого термопласта в виде отдельного от корпуса 2 узла, обеспечивается простое изготовление корпуса способом двухкомпонентного литья.
В показанной на фиг.2 форме выполнения водоструйный аэратор 21 имеет корпус 22, состоящий полностью, т.е. включая дно 23 с ограничивающими струи стенками 29, из эластичного синтетического полимерного материала. Таким образом, в этой конструкции нет никаких поверхностей раздела между недеформируемым термопластом и эластичным синтетическим полимерным материалом. Здесь также предусмотрено выполнение смесителя 24 в виде отдельного узла из недеформируемого термопласта. По своему наружному краю смеситель снабжен плоским фланцем 33, который опирается на верхний заплечик 34 обечайки 26 и расположен между заплечиком 34 и пластиной блока 25 разделения струй. Благодаря плоскому фланцу 23 создается опора для смесителя 24 в зоне держателя водоструйного аэратора 21, так что корпус 22 не испытывает никаких механических или гидравлических нагрузок.
На фиг.3 изображен корпус 42 в другой форме выполнения, при которой корпус выполнен монолитно со смесителем 44. Верхняя часть корпуса и смеситель состоят из недеформируемого термопласта. Находящаяся в зоне выхода воды часть дна 43 состоит из эластичного синтетического полимерного материала, который изготовляется способом двухкомпонентного литья. Так как смеситель 44 и дно 43 выполнены монолитно, ограничивающие струи стенки 49 выполнены как удлинения соответствующих частей стенок смесителя 44, причем переход осуществлен без изменения поперечного сечения. Поверхность раздела 55 между недеформируемым термопластом и эластичным синтетическим полимерным материалом находится в плоскости поперечного сечения корпуса 42. Это означает то, что полное поперечное сечение ограничивающих струи стенок 49 внезапно переходит от одного полимерного материала в другой и поверхностное расширение поверхности раздела 55 мало.
Корпус 42 в монолитном выполнении с смесителем 44 является более сложным в изготовлении по сравнению с формами по фиг.1 и 2, однако он имеет то преимущество, что элемент 4 согласно фиг.1 больше не изготавливается как отдельная деталь и не монтируется. Существенно то, что смеситель выполнен из недеформируемого термопласта и тем самым обеспечивается то, что падающие на него струи эффективно разделяются и смешиваются с воздухом, что не имеет места в случае применения мягкого материала. С другой стороны, эта форма выполнения позволяет изготавливать концевые детали ограничивающих струи стенок 49 из мягкого эластомерного материала, так что становится возможным отгибание части стенок для удаления известковых отложений на угол до и более 90°.
Формула изобретения
1. Водоструйный аэратор (1, 21) для выпуска воды в санитарно-технической арматуре, содержащий корпус (2, 42) из полимерного материала, выполненный горшкообразным, и смеситель (4, 44) для смешивания воды с воздухом, размещенный в корпусе (2, 42) и выполненный из термопласта, при этом дно (3, 43) корпуса (2, 42) приформовано к обечайке (6, 46) корпуса (2, 42) монолитно и выполнено с выпускными отверстиями (8, 48) для воды, которые образованы расположенными параллельно направлению потока стенками для ограничения струй (9, 49), по меньшей мере, в зоне выпуска воды, выполненными из эластичного синтетического полимерного материала, отличающийся тем, что остальная часть корпуса (2, 42) выполнена из недеформируемого термопласта и обоим полимерным материалам придана форма посредством двухкомпонентного литья с образованием поверхностей раздела (55, 56) между недеформируемым термопластом и эластичным синтетическим полимерным материалом, при этом смеситель (4, 44) также выполнен из недеформируемого термопласта.
2. Водоструйный аэратор по п.1, отличающийся тем, что эластичный синтетический полимерный материал выполнен на основе эластомера, в частности, в качестве эластичного синтетического полимерного материала использован термоэластопласт.
3. Водоструйный аэратор по п.1, отличающийся тем, что ограничивающие струи стенки (9, 49) выполнены из эластичного синтетического полимерного материала на участке их длины, по меньшей мере, свыше 1,0 мм, в частности 1,5-4 мм.
4. Водоструйный аэратор по п.1, отличающийся тем, что ограничивающие струи стенки (9, 49) выполнены из эластичного синтетического полимерного материала на участке их длины, составляющем 1,5-3 мм.
5. Водоструйный аэратор по п.1, отличающийся тем, что смеситель (4) выполнен в виде отдельного от корпуса (2) узла.
6. Водоструйный аэратор по п.1, отличающийся тем, что приспособление (5) для перемешивания струй установлено в корпусе (2, 42) с фиксацией в аксиальном и радиальном направлениях.
7. Водоструйный аэратор по п.1, отличающийся тем, что поверхности раздела (55) между недеформируемым термопластом и эластичным синтетическим полимерным материалом лежат в одной перпендикулярной направлению потока плоскости поперечного сечения корпуса (2, 42).
8. Водоструйный аэратор по п.1, отличающийся тем, что поверхность раздела (56) между недеформируемым термопластом и эластичным синтетическим полимерным материалом в зоне обечайки (6) больше поверхностей поперечного сечения стенки для ограничения струи (9).
9. Водоструйный аэратор по п.8, отличающийся тем, что стенка для ограничения струи (9) в зоне поверхности раздела (56) между недеформируемым термопластом и эластичным синтетическим полимерным материалом имеет ступенчатую форму, по меньшей мере, одну ступень (13).
10. Водоструйный аэратор по п.8, отличающийся тем, что стенка для ограничения струи (9) в зоне поверхности раздела (56) имеет ступенчатую форму на обеих сторонах поверхности раздела.
11. Водоструйный аэратор по п.8, отличающийся тем, что поверхности раздела (55) между недеформируемым термопластом и эластичным синтетическим полимерным материалом в зоне дна (3) корпуса расположены, по существу, перпендикулярно направлению потока.
РИСУНКИ
|
|