|
|
(21), (22) Заявка: 2005132685/03, 24.10.2005
(24) Дата начала отсчета срока действия патента:
24.10.2005
(46) Опубликовано: 27.06.2007
(56) Список документов, цитированных в отчете о поиске:
RU 2208096 С2, 10.07.2003. RU 2148692 C1, 10.05.2000. SU 1765310 A1, 30.09.1992. SU 351973 A, 27.09.1972. SU 351973 А, 27.09.1972. RU 2024742 C1, 15.12.1994. RU 2246593 C1, 20.02.2005.
Адрес для переписки:
680035, г.Хабаровск, ул. Тихоокеанская, 136, Тихоокеанский государственный университет, отдел интеллектуальной собственности
|
(72) Автор(ы):
Пуляевский Анатолий Михайлович (RU), Пуляевский Алексей Анатольевич (RU), Пуляевский Андрей Анатольевич (RU)
(73) Патентообладатель(и):
Государственное образовательное учреждение высшего профессионального образования “Тихоокеанский государственный университет” ГОУ ВПО “ТОГУ” (RU)
|
(54) РАЗРЫХЛЯЮЩЕ-ВСАСЫВАЮЩЕЕ УСТРОЙСТВО ЗЕМСНАРЯДА
(57) Реферат:
Изобретение относится к гидромеханизации и может быть использовано при разработке россыпных месторождений полезных ископаемых большой плотности в подводных забоях. Техническая задача – повышение эффективности разработки песков россыпи и снижение потерь ценных компонентов большой плотности. Разрыхляюще-всасывающее устройство земснаряда включает трубопровод, всасывающий наконечник с экраном, содержащим жесткий диск с радиальными щелями и центральным непроницаемым кругом. Каждая радиальная щель соединена со всасывающим наконечником герметичным каналом переменной формы поперечного сечения. Общая площадь радиальных щелей не превышает площади поперечного сечения всасывающего наконечника. Всасывающий наконечник снабжен приводом вращения, включающим последовательно связанные электропривод, предохранительную муфту, редуктор, карданный вал и цепную передачу для вращения экрана. Всасывающий наконечник соединен с трубопроводом поворотной вставки с регулируемой по высоте опорой для регулировки натяжения цепи цепной передачи. На жестком диске между радиальными щелями помещены радиальные ребра жесткости, а под ними – разрыхляющие лопасти с режущей кромкой. 3 ил.
Изобретение относится к области гидромеханизации и может быть использовано при разработке россыпных месторождений полезных ископаемых большой плотности в подводных забоях.
Известно поворотное всасывающее устройство земснаряда, включающее трубопровод, всасывающий наконечник с кольцевым экраном, содержащий диск, расположенный на уровне устья, бурт, связывающий диск с секторами, образующими радиальные пазы, ребра жесткости и привод вращения всасывающего наконечника, состоящий из последовательно связанных электродвигателя, предохранительной муфты, редуктора, карданного вала и цепной передачи для вращения кольцевого экрана. Всасывающий наконечник соединен с трубопроводом посредством поворотной вставки с установленной на ней регулируемой по высоте опорой для регулирования натяжения цепи цепной передачи [1].
Поворотное всасывающее устройство земснаряда способно обеспечить наиболее эффективную разработку несвязных песков россыпи и снизить потенциальные потери ценных компонентов большой плотности вследствие того, что при вращении экрана всасывающего устройства области забоя, в некоторые моменты времени попадающие в зону гидродинамической тени, в которой восходящие струи воды имеют пониженные значения, будут последовательно чередоваться с областями интенсивного размыва, находящимися непосредственно под радиальными пазами.
Однако известно, что присутствие в песках россыпи глинистых и илистых частиц даже при небольшом их содержании резко увеличивает связность горной массы и снижает способность ее к размыву. В этих условиях эффективность применения имеющихся всасывающих устройств со стандартным земснарядным оборудованием может оказаться пониженной.
Цель предлагаемого изобретения состоит в повышении эффективности разработки глинистых песков россыпи и снижении потерь ценных компонентов большой плотности.
Поставленная цель достигается тем, что в разрыхляюще-всасывающем устройстве земснаряда, включающем трубопровод, всасывающий наконечник с экраном, содержащим жесткий диск с радиальными щелями и центральным непроницаемым кругом, каждая радиальная щель соединена со всасывающим наконечником герметичным каналом переменной формы поперечного сечения, общая площадь радиальных щелей не превышает площади поперечного сечения всасывающего наконечника, всасывающий наконечник снабжен приводом вращения, включающим последовательно связанные электродвигатели, предохранительную муфту, редуктор, карданный вал и цепную передачу для вращения экрана, всасывающий наконечник соединен с трубопроводом посредством поворотной вставки с регулируемой по высоте опорой для регулировки натяжения цепи цепной передачи, на жестком диске между радиальными щелями помещены радиальные ребра жесткости, а под ними – разрыхляющие лопасти с режущей кромкой.
Использование предлагаемого разрыхляюще-всасывающего устройства земснаряда позволяет повысить эффективность разработки песков россыпи и снизить потери ценных компонентов большой плотности.
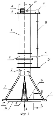
Сущность изобретения поясняется чертежами, где на фиг.1 показан общий вид разрыхляюще-всасывающего устройства земснаряда; на фиг.2 – вид А на фиг.1; на фиг.3 – увеличенный разрез В-В фиг.1.
Разрыхляюще-всасывающее устройство земснаряда включает трубопровод 1, всасывающий наконечник 2, который снабжен экраном 3, содержащим жесткий диск 4 с радиальными щелями 5 и центральным непроницаемым кругом 6. Каждая радиальная щель 5 соединяется со всасывающим наконечником 2 герметичным каналом переменной формы поперечного сечения 7, а общая площадь радиальных щелей 5 не превышает площади поперечного сечения всасывающего наконечника 2. Разрыхляюще-всасывающее устройство земснаряда снабжено приводом вращения 8 всасывающего наконечника 2, включающем последовательно связанные электродвигатель 9, предохранительную муфту 10, редуктор 11, карданный вал 12 и цепную передачу 13 для вращения экрана 3; всасывающий наконечник 2 соединен с трубопроводом 1 посредством поворотной вставки 14 с размещенной на ней регулируемой по высоте опорой 15 для регулировки натяжения цепи цепной передачи 13. (На жестком диске 4 между радиальными щелями 5 расположены радиальные ребра жесткости 16, а под ними – разрыхляющие лопасти 17 с режущей кромкой 18).
Устройство работает следующим образом.
При опущенном в воду всасывающем наконечнике 2 включают землесос (на чертеже не показан) и привод вращения 8. Вращающий момент электродвигателя 9 через редуктор 11 посредством предохранительной муфты 10 через карданный вал 12 передается на цепную передачу 13, приводящую во вращение экран 3. Для регулировки натяжения цепи в цепной передаче 13 на поворотной вставке 14 установлена регулируемая по высоте опора 15. В случае большого сопротивления вращению, предохранительная муфта 10 отключается, прекращая передачу крутящего момента.
При вращении экрана 3 режущая кромка 18 разрыхляющих лопастей 17 снимает стружку с поверхности забоя (не показано), которая под действием вертикальных восходящих струй воды, формирующихся под радиальными щелями 5 жесткого диска 4, устремляется вверх, и, проходя через герметичные каналы переменной формы поперечного сечения 7, дальше в виде пульпы подается во всасывающий наконечник 2 и трубопровод 1. Жесткость конструкции обеспечивается центральным кругом 6 и радиальными ребрами жесткости 16.
Разрыхляюще-всасывающее устройство земснаряда позволяет повысить эффективность разработки глинистых песков россыпи и снизить потери ценных компонентов большой плотности.
Источники информации
1. Патент РФ №2208096, приоритет от 30.03 2001 С2, 7 E02F 3/92, «Поворотное всасывающее устройство земснаряда», опубл. 10.07.2003. Бюл. №19.
Формула изобретения
Разрыхляюще-всасывающее устройство земснаряда, включающее трубопровод, всасывающий наконечник с экраном, содержащий жесткий диск с радиальными щелями и центральным непроницаемым кругом, каждая радиальная щель соединена со всасывающим наконечником герметичным каналом переменной формы поперечного сечения, общая площадь радиальных щелей не превышает площади поперечного сечения всасывающего наконечника, всасывающий наконечник снабжен приводом вращения, включающим последовательно связанные электропривод, предохранительную муфту, редуктор, карданный вал и цепную передачу для вращения экрана, всасывающий наконечник соединен с трубопроводом посредством поворотной вставки с регулируемой по высоте опорой для регулировки натяжения цепи цепной передачи, отличающееся тем, что на жестком диске между радиальными щелями помещены радиальные ребра жесткости, а под ними – разрыхляющие лопасти с режущей кромкой.
РИСУНКИ
MM4A – Досрочное прекращение действия патента СССР или патента Российской Федерации на изобретение из-за неуплаты в установленный срок пошлины за поддержание патента в силе
Дата прекращения действия патента: 25.10.2007
Извещение опубликовано: 10.07.2009 БИ: 19/2009
|
|