|
|
(21), (22) Заявка: 2005110470/03, 11.04.2005
(24) Дата начала отсчета срока действия патента:
11.04.2005
(43) Дата публикации заявки: 20.10.2006
(46) Опубликовано: 27.06.2007
(56) Список документов, цитированных в отчете о поиске:
ОСАДЧУК В.А. Опыт устройства противофильтрационных траншейных завес из различных материалов. – Гидротехническое строительство, 2004, № 1, с.30-34. SU 489841 А, 30.10.1975. SU 1708994 A1, 30.01.1992. SU 1247542 A1, 30.07.1986. SU 1813838 A1, 07.05.1993. SU 1731896 A1, 07.05.1992.
Адрес для переписки:
346428, Ростовская обл., г. Новочеркасск, ул. Пушкинская, 111, НГМА
|
(72) Автор(ы):
Ищенко Александр Васильевич (RU), Косиченко Юрий Михайлович (RU), Скляренко Елена Олеговна (RU), Пилипенко Валентина Дмитриевна (RU)
(73) Патентообладатель(и):
ФГОУ ВПО Новочеркасская государственная мелиоративная академия (НГМА) (RU)
|
(54) СПОСОБ СОЗДАНИЯ ПРОТИВОФИЛЬТРАЦИОННЫХ ЗАВЕС С ФИЛЬТРУЮЩИМИ ОКНАМИ
(57) Реферат:
Изобретение относится к охране грунтовых вод и открытых водотоков и предназначено для перехвата загрязненных грунтовых потоков из прудов-накопителей отходов производства, стоков животноводческих комплексов, утечек нефти и нефтепродуктов из нефтехранилищ, бензоколонок, выноса с полей орошения ядохимикатов, таких как пестициды, аммонийный и нитратный азот, фосфор, калий и др. Способ создания противофильтрационных завес с фильтрующими окнами включает разработку и заполнение траншеи твердеющим противофильтрационным материалом, причем в разработанную траншею перед ее заполнением твердеющим противофильтрационным материалом вставляют вкладыши, например, из дерева, металла, пластика и после затвердения противофильтрационного материала вкладыши удаляют. Образовавшиеся окна заполняют сорбирующе-фильтрующим или дезактивирующе-фильтрующим материалом, что может быть осуществлено путем встраивания съемных кассет в виде каркаса коробчатой формы, обтянутого сетчатым полотном и заполненного названым материалом. Изобретение обеспечивает повышение эффективности очистки загрязненного грунтового потока. 1 з.п. ф-лы, 2 ил.
Изобретение относится к области охраны грунтовых вод и открытых водотоков. Оно предназначено для перехвата загрязненных грунтовых потоков из прудов-накопителей отходов производства, стоков животноводческих комплексов, утечек нефти и нефтепродуктов из нефтехранилищ, бензоколонок, выноса ядохимикатов с полей орошения, таких как пестициды, аммонийный и нитратный азот, фосфор, калий и др.
Загрязнение подземных вод не ограничивается площадью промпредприятий, хранилищ отходов и т.д., а распространяется вниз по течению потока на расстояние до 20-30 км и более от источника загрязнения. Загрязняющие вещества выносятся грунтовым фильтрационным потоком к открытым водотокам (реке, пруду, водоему и т.д.).
Весьма опасно содержание в воде радиоактивных веществ, вызывающих радиоактивное загрязнение. В подземные воды также попадают радиоактивные элементы, обладающие повышенной способностью передвигаться в воде, как стронций-90, уран, радий-226, цезий и др.
Известен способ создания противофильтрационных завес (ПФЗ) в грунте из твердеющих заполнителей, выполненных непрерывным способом, т.е. разработкой и заполнением траншеи противофильтрационным материалом (ПФМ) без разделения на секции [1. Подземные сооружения, возводимые способом «стена в грунте». /Под ред. канд. техн. наук В.М.Зубкова. Л., Стройиздат, Ленинградское отделение, 1977, С.93-101.
2. Методические рекомендации по проектированию и строительству монолитных заглубленных частей гидротехнических сооружений и противофильтрационных завес способом «стена в грунте». [Мин. мелиорац. и вод. хоз. СССР «Союзоргнводстрой», НИИ основ. и подз. coop. Госстроя СССР им. Н.М.Герсеванова. М., 1981 г. С.48-55].
3. Осадчук В.А. Опыт устройства противофильтрационных траншейных завес из различных материалов. [Гидротехническое строительство №1. 2004 г. С.30-34].
Недостатком данного способа является то, что при создании непроницаемой противофильтрационной завесы на пути движения загрязненного потока создается подпор воды, который вызывает подъем уровня грунтовых вод, заболачивание и т.д.
Кроме того, перед ПФЗ возникают высокие напорные градиенты, которые превышают критические, вследствие чего требуется при устройстве ПФЗ использовать ПФМ с более высокими противофильтрационными свойствами.
Техническим результатам, достигаемым настоящим изобретением, является то, что фильтрующие окна не создают подпора грунтовых вод, а пропускают и одновременно очищают от вредных примесей, осветляют и дезактивируют загрязненный грунтовый поток.
Способ создания противофильтрационных завес с фильтрующими окнами поясняется чертежами, где на фиг.1а – фиг.1д приведены варианты противофильтрационных завес с фильтрующими окнами.
На фиг.1а представлена ПФЗ в грунте, устроенная до водоупора, а в нижней части завесы размещено фильтрующее окно, заполненное сорбирующе-фильтрующим (СФ) материалом, где: 1 – ПФЗ; 2 – фильтрующее окно в завесе.
При таком размещении фильтрующих окон загрязненный поток, например нефть, концентрируется перед ПФЗ-1.
Чтобы не происходил подпор и подъем уровня грунтовых вод, незагрязненная (чистая) вода отводится через фильтрующие окна 2 в нижней части ПФЗ-1. Если загрязненный поток воды образован за счет загрязнения веществами, растворимыми в воде, то необходимо заполнение ПФЗ соответствующим СФ материалом.
На фиг.1б фильтрующие окна устроены в верхней части ПФЗ и заполнены СФ материалом. При пропуске загрязненного потока воды через фильтрующие окна происходит ее очистка. После отработки СФ материал может быть удален и использован в строительстве, а фильтрующие окна заполнены новым СФ материалом.
При такой схеме размещения в фильтрующих окнах могут быть использованы съемные кассеты в виде каркаса коробчатой формы, обтянутого сетчатым полотном и заполненного СФ или дезактивирующе-фильтрующим (ДФ) материалом.
На фиг.1в ПФЗ полностью заполнена СФ материалом и предназначена для очистки загрязненного потока по всей глубине. В зависимости от материала СФ материала может применяться для очистки любых загрязнителей.
На фиг.1г ПФЗ выполняется с фильтрующими окнами в верхней и нижней частях. В этом случае происходит очистка воды от загрязнителей в верхней части и пропуск осветленной воды в нижней части.
На фиг.1д фильтрующее окно с СФ материалом устраивается в середине ПФЗ; это дает возможность поддерживать уровень грунтовых вод на глубине 15-20 м, не создавая заболачивания, пропускать воду с заглубленных слоев в случае возникновения загрязненного грунтового потока, концентрируемого в верхних слоях (например, нефтяной поток).
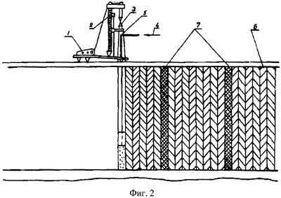
На фиг.2 представлен разрез ПФЗ с фильтрующими окнами: 1 – ПФЗ; 2 – фильтрующие окна; 3 – лебедка; 4 – копер; 5 – вибропогружатель; 6 – подача раствора; 7 – погружаемый элемент.
Способ создания противофильтрационных завес с фильтрующими окнами осуществляется следующим образом.
После разработки траншеи экскаваторами-драглайнами, скребковыми траншеекопателями, экскаваторами с обратной лопатой, грейферной установкой (фиг.2) и др. устраивают ПФЗ из твердеющих или нетвердеющих заполнителей. Отсыпку в траншею комовой глины, заглинизированного грунта производят грейфером.
Перед внесением в траншею заполнителя через расчетные расстояния в противофильтрационной завесе 1 (фиг.2) вставляют вкладыши из дерева, пластика, металла и т.д. После внесения и затвердения заполнителя вкладыши вынимают и в образовавшихся пустотах устраивают фильтрующие окна 2, которые заполняют СФМ, например золой-унос, глауконитовым песком и др., а также при необходимости дезактивирующе-фильтрующим (ДФ) материалом, составом и т.д.
В отдельных случаях, для повышения эффективности работы, в фильтрующие окна 2 встраивают съемные кассеты в виде каркаса коробчатой формы, обтянутого сетчатым полотном и заполненного сорбирующе-фильтрующим (СФ) или дезактивирующе-фильтрующим (ДФ) материалом, составом и т.д.
Для съемных кассет может использоваться, например, уже существующий BENTOMAT – геосинтетический бентонитовый материал на основе натриевого бентонита. Применяется при сооружении противофильтрационных экранов (ПФЭ) для защиты почвы и грунтовых вод от различных загрязняющих веществ, при строительстве полигонов твердых бытовых отходов (ТБО) или твердых промышленных отходов (ТПО), резервуаров-хранилищ нефти и горюче-смазочных материалов (ГСМ), автозаправочных станций (АЗС), промышленных и декоративных водоемов, при рекультивации свалок, при захоронении отходов, содержащих ионы тяжелых металлов и др.
Конструкция – каркас из двух полипрофиленовых полотен, содержащий в себе гранулы бентонита натрия и прошитый иглопробивным способом. Размеры матов 5,0×40,0 м, толщина 5,6 или 6,4 мм. Масса одного мата 950-1300 кг (ООО «ПСМ – Днепр» Украина, 03151, г.Киев).
Отработанный сорбент (например, зола-унос), пропитанный, например, нефтью, вынимают из кассеты и используют в дорожном строительстве в качестве одного из компонентов асфальтовой смеси для покрытия дорог.
Для того чтобы перед завесой поддерживать уровень грунтовых вод Нзав на глубине 1,0-1,5 м, тем самым не создавая условий для заболачивания и засоления, требуется регулировать расход Qокн загрязненного потока через окна, подбирая размеры окон.
Параметры фильтрующих окон в зависимости от вариантов рассчитывают по следующим формулам.
Для варианта противофильтрационной завесы фиг.1а расход загрязненного грунтового потока через фильтрующее окно с СФ материалом определяется по формуле Дарси:

где КФСМ – коэффициент фильтрации СФ материала заполнителя окон;
J – градиент напора при фильтрации через фильтрующее окно;
а – высота окон, м;
в – ширина окон, м;
t – толщина завесы, м.
Расход загрязненного фильтрационного потока фиг.1б через фильтрующие окна в противофильтрационной завесе определяется по формуле Дюпюи:

где h1 – УГВ перед противофильтрационной завесой;
h2 – УГВ за завесой.
Расход загрязненного грунтового потока через фильтрующие окна в непроницаемой зоне противофильтрационной завесы для фиг.1в определяется аналогично по формуле (1).
Расход загрязненного грунтового потока через фильтрующие окна в противофильтрационной завесе для фиг.1г определяется по формуле

Расход загрязненного грунтового потока через фильтрующие окна в противофильтрационной завесе для фиг.1д определяется аналогично по формуле (1).
Преимущество предложенного способа перед известными заключается в том, что предлагаемый способ создания противофильтрационных завес с фильтрующими окнами является более эффективным по сравнению с известными, позволяет перехватывать загрязненный грунтовый поток, очищать его от вредных примесей, осветлять и дезактивировать воду, не создавая перед противофильтрационной завесой подпор воды, а также снижать градиент напора на ПФЗ, предупреждая разрушение материала тела траншейной завесы.
Формула изобретения
1. Способ создания противофильтрационных завес с фильтрующими окнами, включающий разработку и заполнение траншеи твердеющим противофильтрационным материалом, отличающийся тем, что в разработанную траншею перед ее заполнением твердеющим противофильтрационным материалом вставляют вкладыши, например из дерева, металла, пластика, и после затвердения противофильтрационного материала вкладыши удаляют, а образовавшиеся окна заполняют сорбирующе-фильтрующим или дезактивирующе-фильтрующим материалом.
2. Способ по п.1, отличающийся тем, что заполнение окон сорбирующе-фильтрующим или дезактивирующе-фильтрующим материалом осуществляют путем встраивания съемных кассет в виде каркаса коробчатой формы, обтянутого сетчатым полотном и заполненного сорбирующе-фильтрующим или дезактивирующе-фильтрующим материалом.
РИСУНКИ
MM4A – Досрочное прекращение действия патента СССР или патента Российской Федерации на изобретение из-за неуплаты в установленный срок пошлины за поддержание патента в силе
Дата прекращения действия патента: 12.04.2008
Извещение опубликовано: 20.04.2010 БИ: 11/2010
|
|