|
|
(21), (22) Заявка: 2005133559/03, 31.10.2005
(24) Дата начала отсчета срока действия патента:
31.10.2005
(46) Опубликовано: 27.06.2007
(56) Список документов, цитированных в отчете о поиске:
SU 1178825 А, 15.09.1985. SU 1189926 A, 07.11.1985. US 2199649 A, 07.05.1937. US 3249027 A, 03.05.1966. SU 1645334 A1, 30.04.1991. SU 1796801 A1, 23.02.1993. ЕР 0754802 A1, 22.01.1997. RU 2215085 С1, 27.10.2003. ЕР 0089386 А1, 28.09.1983.
Адрес для переписки:
644080, г.Омск, пр. Мира, 5, СибАДИ, патентно-информационный отдел
|
(72) Автор(ы):
Тарасов Владимир Никитич (RU)
(73) Патентообладатель(и):
Тарасов Владимир Никитич (RU)
|
(54) СПОСОБ УПЛОТНЕНИЯ ГРУНТОВ И МАТЕРИАЛОВ КАТКАМИ (ВАРИАНТЫ) И УСТРОЙСТВО ДЛЯ ЕГО ОСУЩЕСТВЛЕНИЯ (ВАРИАНТЫ)
(57) Реферат:
Группа изобретений относится к строительству, в частности к дорожным каткам для уплотнения грунтов и материалов при строительстве дорог и аэродромов. Способ по первому варианту выполнения содержит операции: перекатывание вальцов по уплотняемой поверхности, создание контактных напряжений в опорной поверхности вальцов, преобразование статического воздействия грузов на опорную поверхность в динамическое воздействие путем вращения на кривошипе среднего вальца относительно боковых вальцов, при этом длина среднего вальца равна суммарной длине боковых вальцов. Способ по второму варианту выполнения содержит операции: перекатывание вальцов по уплотняемой поверхности, создание контактных напряжений в опорной поверхности вальцов грузами, преобразование статического воздействия грузов вальцов на опорную поверхность в динамическое воздействие путем одновременного вращения на кривошипах среднего и боковых вальцов относительно опорных подшипников кривошипного вала, закрепленных на раме вальцов с фазовым сдвигом кривошипов 180°. Устройство по первому варианту выполнения содержит механизм привода перекатывания вальцов, в котором средний валец установлен с возможностью вращения на подшипниках кривошипа, который опирается на подшипники, установленные в боковых вальцах. Опоры боковых вальцов выполнены в виде подшипников, закрепленных на раме вальцов; механизм привода кривошипного вала выполнен в виде гидромотора и механических передач; механизм привода перекатывания вальцов выполнен в виде гидромотора и механических зубчатых передач. Устройство по второму варианту выполнения содержит механизм привода кривошипного вала, в котором средний валец с пневмоколесами установлен на кривошипе с возможностью свободного вращения на подшипниках; кривошипный вал установлен в подшипниковых опорах на раме вальцов, боковые вальцы с пневмоколесами установлены с возможностью свободного вращения в подшипниках, закрепленных на раме вальцов; механизм привода кривошипного вала выполнен в виде гидромотора с передаточными механизмами. Технический результат – упрощение конструкции устройства и повышение эффективности уплотнения. 4 н.п. ф-лы, 7 ил.
Группа изобретений относится к строительству, в частности к дорожным каткам для уплотнения грунтов и материалов при строительстве дорог и аэродромов.
Известен способ уплотнения грунтов и материалов катками, реализуемый в устройстве [Дорожные машины. Отраслевой каталог. – М.: ЦНИИТЭстроймаш, 1987. – 508 с.], по которому производят перекатывание вальца по уплотняемой поверхности материала, нагружение опорной поверхности вальца статическими грузами, указанные операции повторяют многократно (5…10 раз) для получения требуемой плотности поверхности.
Устройство для осуществления данного способа представляет собой каток статического действия [Дорожные машины. Отраслевой каталог. – М.: ЦНИИТЭстроймаш, 1987. – 508 с.], содержащий цилиндрический валец, тягач, грузы в виде балласта.
Недостатком данного способа и устройства является малая производительность катка, обусловленная необходимостью многократных повторных проходов катка по одному месту уплотняемой поверхности. Известен способ уплотнения грунтов и материалов катками, реализуемый в устройстве [см., например, а.с. №1178825, кл. Е01С 19/28, опубл. 1985], по которому производят перекатывание вальцов по уплотняемой поверхности материала, одновременно секциям вальцов придают маятниковые колебания с помощью приводного кривошипного вала и шатунов, обеспечивающих многократные динамические воздействия секций вальцов по одному месту уплотняемой поверхности. Устройство, реализующее способ [см., например, а.с. №1178825, кл. Е01С 19/28, опубл. 1985], содержит вальцы, соединенные с шатунами, которые подвешены на кривошипном валу на раме катка, систему управления амплитудой колебания вальцов, выполненную в виде гидроцилиндров.
Недостатком способа является несовершенство маятниковой схемы колебаний вальцов, а недостатком устройства является сложная конструкция, обусловленная использованием длинных шатунов, обеспечивающих маятниковые колебания вальцов. Известен также виброкаток для уплотнения грунтов и материалов, содержащий тягач, цилиндрический валец, раму, вал вибратора, приводной механизм вибратора и механизм перекатывания вальца [см., например, а.с. №1189926, кл. Е01С 19/28, опубл. 1985]. Недостатком этого устройства является малая эффективность высокочастотного возмущающего воздействия, создаваемого дебалансами, сложность конструкции.
Задачей группы способов и группы изобретений является преобразование статического воздействия грузов катка на опорную поверхность в динамическое воздействие, создание более простой и технологичной конструкции катка.
Поставленная задача в части первого варианта выполнения способа решена за счет того, что в известном способе, включающем операции перекатывания вальцов по уплотняемой поверхности, создание контактных уплотняющих напряжений в опорной поверхности вальцов грузами, согласно способу по первому варианту выполнения осуществляют преобразование статического воздействия грузов на опорную поверхность вальцов в динамическое воздействие путем вращения на кривошипе оси центрального вальца относительно оси боковых вальцов, при этом длина среднего вальца равна суммарной длине боковых вальцов.
Поставленная задача в части второго варианта выполнения способа решена за счет того, что в известном способе, включающем операции перекатывания вальцов по уплотняемой поверхности, создание контактных уплотняющих напряжений в опорной поверхности вальцов грузами, согласно способу по второму варианту выполнения осуществляют преобразование статического воздействия грузов на опорную поверхность вальцов в динамическое воздействие путем одновременного вращения на кривошипах осей центральной и боковых секций вальцов относительно подшипников кривошипного вала на раме вальцов с фазовым сдвигом кривошипов 180°. Поставленная задача в части первого варианта устройства решена за счет того, что в известном устройстве, содержащем тягач, цилиндрические вальцы, раму, грузы, кривошипный вал, механизм привода кривошипного вала, механизм перекатывания вальцов, согласно изобретению средний валец установлен с возможностью свободного вращения на кривошипе, который опирается на подшипники, установленные в боковых вальцах, при этом опоры левого и правого вальцов выполнены в виде подшипников, закрепленных на раме вальцов, механизм привода кривошипного вала выполнен в виде гидромотора и механических передач, механизм привода перекатывания вальцов выполнен в виде гидромотора и механических зубчатых передач. Поставленная задача в части второго варианта устройства решена за счет того, что в известном устройстве, содержащем тягач, цилиндрические вальцы с пневматическими колесами, раму вальцов, грузы, кривошипный вал, механизм привода кривошипного вала, согласно изобретению кривошипный вал установлен на подшипниковых опорах на раме вальцов, средний валец с пневмоколесами установлен на кривошипе с возможностью свободного вращения на подшипниках; боковые вальцы с пневмоколесами установлены с возможностью свободного вращения в подшипниках, закрепленных на раме вальцов, механизм привода кривошипного вала выполнен в виде гидромотора с передаточными механизмами.
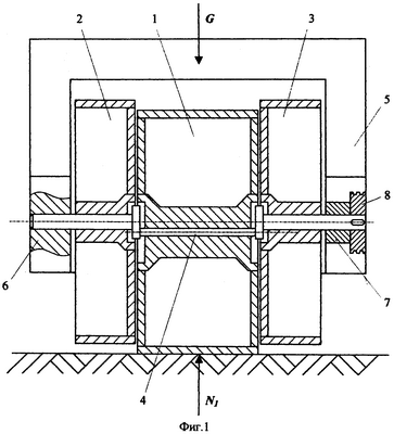
Сущность группы изобретений поясняется чертежами, где на фиг.1 показана схема первого варианта выполнения способа; на фиг.2 – схема передачи статического воздействия на боковые вальцы; на фиг.3 показана схема кинематики вращения среднего вальца относительно боковых вальцов для первого варианта выполнения способа. На фиг.4 показана кинематическая схема второго варианта выполнения способа уплотнения; на фиг.5 изображен общий вид катка, реализующий два варианта выполнения способа и два варианта выполнения устройства; на фиг. 6 представлен первый вариант выполнения устройства по первому варианту выполнения способа; на фиг.7 приведена конструкция второго варианта выполнения устройства по первому варианту выполнения способа.
Группа изобретений для уплотнения грунтов и материалов содержит (фиг.1, 2) средний валец 1, боковые вальцы 2, 3, кривошипный вал 4, раму 5 вальцов, на которой закреплены коренные подшипники 6, 7 кривошипного вала 4, привод 8 кривошипного вала, дополнительные кривошипы 9, 10 (фиг.4), установленные в боковых вальцах 2, 3, тягач 11, соединенный с рамой 5 (фиг.5), ведущий мост 12 тягача, шарнир 13 рамы катка, грузы 14, гидромотор 15 (фиг.6) привода кривошипного вала, опорные подшипники 16, 17 кривошипного вала, подшипники 18, 19 среднего вальца на кривошипе, зубчатый венец 20 закреплен жестко в вальце 2 и соединен с зубчатым колесом 21 и гидромотором 22, средний валец 23 с пневмоколесами (фиг.7), боковые вальцы 24, 25 с пневмоколесами.
Сущность работы способа по первому варианту выполнения (фиг.1, 2, 3) состоит в том, что уплотнение грунтов и материалов осуществляют перекатыванием вальцов по уплотняемой поверхности, контактную поверхность вальцов нагружают вертикальной силой G, которую преобразуют в динамические воздействия N1(t), N2(t) опорной поверхности вальцов вращением среднего вальца 1 на кривошипе 4 относительно боковых вальцов 2, 3. На фиг.1, 2 показано как нормальная реакция опорной поверхности N1 среднего вальца при повороте кривошипа на угол 180° преобразуется в реакцию N2 боковых вальцов. Суммарная площадь опорной поверхности боковых вальцов равна опорной поверхности среднего вальца. Благодаря этому в поверхностях контакта под средним вальцом и под боковыми вальцами возникают одинаковые средние контактные напряжения

где A1=A2 – соответственно опорные поверхности средних и боковых вальцов.
Для катка с одним сплошным цилиндрическим вальцом средние контактные напряжения равны

где G – нагрузка на валец.
Формулы (1), (2) показывают, что предлагаемый способ позволяет повысить средние контактные напряжения в 2 раза, причем в пределах длины контактной поверхности в направлении качения вальца динамические воздействия на опорную поверхность являются частотными (многократными) и могут составлять 5…10 воздействий в каждой точке опорной поверхности. По сравнению с вибрационными катками предлагаемый способ воздействия является динамическим низкочастотным. Именно это свойство определяет высокую эффективность предлагаемого способа. На фиг.3 показана траектория вращения оси среднего вальца относительно боковых секций. В положениях кривошипа B1, В3 все вальцы катка расположены на одной горизонтальной поверхности. Контактные напряжения в этот момент соответствуют формуле 2. В положении кривошипа В2 средний валец опущен (фиг.1), в положении В4 кривошипа средний валец поднят (фиг.2), а боковые вальцы опущены. В обоих рассмотренных предельных случаях средние контактные напряжения в опорных поверхностях вальцов увеличиваются в два раза по сравнению с известными способами. Сущность работы способа по второму варианту выполнения (фиг.4) состоит в том, что вальцы катка перекатывают по опорной поверхности, нагружают опорные поверхности вальцов грузами и осуществляют преобразование статической нагрузки G в динамические воздействия N1(t), N2(t) путем одновременного вращения центров среднего и боковых вальцов на кривошипах относительно коренных подшипников кривошипного вала. Такая схема в отличие от первого варианта выполнения способа является динамически уравновешенной, так как силы инерции среднего и боковых вальцов полностью уравновешены. При прочих равных условиях второй вариант выполнения способа является практически равноценным первому, однако отличается более сложной конструкцией кривошипного вала.
Устройство уплотнения грунтов и материалов по первому варианту выполнения работает следующим образом (фиг.5). При поступательном перемещении тягача 11 вальцы катка перекатываются по опорной поверхности и одновременно осуществляют преобразование вертикальной нагрузки G вальцами 1, 2, 3 в динамическое воздействие N1(t), N2(t) (фиг.6). Средний валец 1 катка вращается на кривошипном валу 4 и опирается на подшипники 18, 19 кривошипа с возможностью свободного вращения. В свою очередь кривошипный вал опирается на подшипники 16, 17, установленные в опорах 6, 7 боковых вальцов 2, 3. Боковые вальцы 2, 3 снабжены подшипниками и закреплены на раме 5 вальцов. Работа устройства уплотнения грунтов и материалов по второму варианту выполнения (фиг, 7) отличается от устройства по первому варианту выполнения тем, что средний 23 и боковые вальцы 24, 25 снабжены пневматическими колесами и сплошным кривошипным валом 4, который имеет опоры 6, 7 на раме 5 вальцов катка. Вальцы катка на кривошипном валу установлены на подшипниках с возможностью свободного вращения. Предложенные способы и конструкции катков являются более эффективными по сравнению с известными способами и конструкциями катков.
Формула изобретения
1. Способ уплотнения грунтов и материалов катками, включающий операции перекатывания вальцов по уплотняемой поверхности, создание контактных уплотняющих напряжений в опорной поверхности вальцов грузами, отличающийся тем, что осуществляют преобразование статического воздействия грузов вальцов на контактную поверхность в динамическое воздействие путем вращения на кривошипе среднего вальца относительно боковых вальцов, при этом длина среднего вальца равна суммарной длине боковых вальцов.
2. Способ уплотнения грунтов и материалов катками, включающий операции перекатывания вальцов по уплотняемой поверхности, создание контактных уплотняющих напряжений в опорной поверхности вальцов грузами, отличающийся тем, что осуществляют преобразование статического воздействия грузов вальцов на контактную поверхность в динамическое воздействие путем одновременного вращения на кривошипах среднего и боковых вальцов относительно подшипников кривошипного вала, закрепленных на раме вальцов с фазовым сдвигом кривошипов 180°.
3. Устройство уплотнения грунтов и материалов, содержащее тягач, вальцы, раму, грузы, кривошипный вал, механизм привода кривошипного вала, механизм привода перекатывания вальцов, отличающееся тем, что средний валец установлен с возможностью вращения на подшипниках кривошипа, который опирается на подшипники, установленные в боковых вальцах, при этом опоры боковых вальцов выполнены в виде подшипников, закрепленных на раме вальцов; механизм привода кривошипного вала выполнен в виде гидромотора и механических передач; механизм привода перекатывания вальцов выполнен в виде гидромотора и механических зубчатых передач.
4. Устройство уплотнения грунтов и материалов, содержащее тягач, вальцы с пневмоколесами, раму, грузы, кривошипный вал, механизм привода кривошипного вала, отличающееся тем, что средний валец с пневмоколесами установлен на кривошипе с возможностью свободного вращения на подшипниках; кривошипный вал установлен на подшипниковых опорах рамы вальцов, боковые вальцы с пневмоколесами установлены с возможностью свободного вращения в подшипниках, закрепленных на раме вальцов; механизм привода кривошипного вала выполнен в виде гидромотора с передаточными механизмами.
РИСУНКИ
|
|