|
|
(21), (22) Заявка: 2005102834/12, 28.05.2003
(24) Дата начала отсчета срока действия патента:
28.05.2003
(30) Конвенционный приоритет:
05.07.2002 (пп.1-24) AT A 1010/2002
(43) Дата публикации заявки: 10.11.2005
(46) Опубликовано: 27.06.2007
(56) Список документов, цитированных в отчете о поиске:
AT 402516 В, 25.06.1997. US 5601120 А, 11.02.1997. FR 2286235 A1, 23.04.1976. GB 1149678 A, 23.04.1969. DE 2731754 A1, 18.01.1979. SU 61011 A1, 01.01.1942. SU 1461782 A1, 28.02.1989.
(85) Дата перевода заявки PCT на национальную фазу:
07.02.2005
(86) Заявка PCT:
AT 03/00159 (28.05.2003)
(87) Публикация PCT:
WO 2004/005612 (15.01.2004)
Адрес для переписки:
129010, Москва, ул. Б.Спасская, 25, стр.3, ООО “Юридическая фирма Городисский и Партнеры”, пат.пов. С.А.Дорофееву
|
(72) Автор(ы):
ЭКХАРДТ Герхард (AT)
(73) Патентообладатель(и):
ХУИК АУСТРИА ГЕЗ.М.Б.Х. (AT)
|
(54) ТКАНОЕ ЛЕНТОЧНОЕ УСТРОЙСТВО
(57) Реферат:
Изобретение относится к тканому ленточному устройству, например бесконечной ситовой ленте для бумагоделательных машин и пресспатов, у которого, по меньшей мере, на одном конце тканой ленты (20 , 20 ) предусмотрено присоединительное устройство (7а ; 7b ), соединяемое с помощью отделяемого соединительного средства (9) с другим присоединительным устройством (7b ; 7а ) этой же или другой тканой ленты. Некоторое число определенных продольных нитей (2 , 2 ) извлечено из ткани (20 ) вдоль соответствующего концу тканой ленты отрезка (4 , 4 ). Извлеченные отрезки (4 , 4 ) продольных нитей (2 , 2 ), по меньшей мере, с одной стороны тканой ленты (20 , 20 ) расположены прилегающими в зоне перед присоединительным устройством (7а ; 7b ), так что они образуют опору (10 ; 10 ) для защиты присоединительных устройств (7а ; 7b ) при движении тканой ленты по рабочей поверхности. Извлеченные отрезки (4 ) продольных нитей (2 ) вплетены вокруг поперечных нитей (11 , 12 ) и обратно заработаны в ленту. Обеспечивается прочность ленты за счет защиты присоединительного устройства. 23 з.п. ф-лы, 3 ил.
Изобретение относится к тканому ленточному устройству, например бесконечной ситовой ленте для бумагоделательных машин и пресспатов, у которого, по меньшей мере, на одном конце тканой ленты предусмотрено присоединительное устройство, соединяемое с помощью отделяемого соединительного средства с другим присоединительным устройством этой же или другой тканой ленты, причем некоторое число определенных продольных нитей извлечено из ткани вдоль соответствующего концу тканой ленты отрезка и причем извлеченные отрезки продольных нитей, по меньшей мере, с одной стороны тканой ленты расположены прилегающими в зоне перед присоединительным устройством, так что они образуют опору для защиты присоединительных устройств при движении тканой ленты по рабочей поверхности.
Разъемные соединения между двумя торцевыми концами тканой ленты или между концами двух различных тканых лент, например транспортерных лент, бесконечных ситовых лент и т.п., известны и описаны, например, в DE 28 10 72 C, DE 2 059 021 А, DE 2 338 263 А, FR 2 145 365 А и ЕР 564 436 А. Присоединительные устройства для этих разъемных соединений выполнены либо в виде отдельных соединительных проушин, винтовых спиралей или шовных петель. Соединительные проушины или винтовые спирали могут быть пришиты к концу ткани или затканы в ткань, а шовные петли могут быть изготовлены либо за счет самой структуры ткани, либо за счет обратного вплетения в ткань таких же по переплетению отдельных продольных нитей. В качестве соединительных средств пригодна проволочная вставка, которую после соединения между собой присоединительных устройств продевают через проушины, винтовые спирали или шовные петли этих присоединительных устройств. Проволочная вставка может быть выполнена прямой или спиралеобразной и иметь круглое или овальное сечение.
У многих из известных тканых соединений присоединительные устройства подвержены, однако, износу, который может уменьшить срок службы ленты, в частности, если тканое соединение подвержено сильным механическим нагрузкам или повышенному загрязнению. Для защиты разъемного соединения описанного выше рода в FR 2 145 365 А предложено снабдить присоединительные устройства плоским покрытием, закрепленным на одном конце ткани. Такое покрытие хотя и защищает соединение, однако имеет, в том числе, тот недостаток, что, с одной стороны, из-за этого возникают дополнительные производственные затраты, а, с другой стороны, тканая лента в месте соединения толще и потому для определенных целей применения в определенных обстоятельствах непригодна или, по меньшей мере, подвержена повышенному износу, который опять-таки уменьшает срок службы тканой ленты.
В АТ 402 516 описано упомянутое вначале тканое ленточное устройство, которое устраняет названные недостатки. Для этого некоторое число определенных продольных нитей удалено из ткани вдоль соответствующего концу тканой ленты отрезка, и извлеченные отрезки этих продольных нитей, по меньшей мере, на отдельных участках расположены прилегающими над и/или под присоединительным устройством тканой ленты, образуя, тем самым, защитную опору для этого присоединительного устройства.
Недостаток этого устройства в том, что при его применении в определенных условиях возникает ситуация, когда одна или несколько продольных нитей приподнимаются от тканой ленты и сгибаются. При этом нити могут попадать в присоединительное устройство и повреждать его за счет этого.
Шовная защита для сит бумагоделательных машин известна из DE 536 605. У этой шовной защиты сито имеет на своей нижней стороне рампообразное возвышение, образованное, например, изогнутыми оснувными нитями.
Недостаток этого выполнения сита бумагоделательной машины, однако, в том, что эта шовная защита может быть относительно легко повреждена, когда, например, нити приподнимаются или вытягиваются из ткани.
Задачей изобретения является создание тканого ленточного устройства, у которого не возникали бы названные проблемы, но которое, тем не менее, обеспечивало бы хорошую защиту для присоединительного устройства и которое, в частности, создавало бы стабильную защиту присоединительного устройства.
Эта задача решается посредством упомянутого выше тканого ленточного устройства за счет того, что согласно изобретению извлеченные отрезки продольных нитей вплетены вокруг поперечных нитей и переплетены с ними.
Такими образом, достигается подобие «утолщения» в зоне перед, по меньшей мере, одним присоединительным устройством, которое препятствует соприкосновению присоединительного устройства с рабочей поверхностью при движении по ней тканой ленты и, тем самым, его повреждению.
Извлеченные нити образуют при этом опору – нити ограничивают при этом, как правило, фиктивную «опорную поверхность», так что в последующем описании «опорная поверхность» является также синонимом опоры – в «зоне» перед, по меньшей мере, одним присоединительным устройством, причем оно может образовать утолщение, конечно, и в обеих зонах. Особенно целесообразно при этом, если извлеченные отрезки продольных нитей не наложены на присоединительное устройство, т.е. не заходят в зону присоединительного устройства. За счет того, что нити не выступают за присоединительное устройство, они не могут быть также согнуты внутрь присоединительного устройства и повредить его.
Особенно стабильной опорная поверхность может быть выполнена за счет того, что согласно изобретению извлеченные отрезки продольных нитей вплетены вокруг поперечных нитей и переплетены с ними.
Может быть предусмотрено, чтобы зона опорной поверхности доходила непосредственно до присоединительного устройства, однако она может также заканчиваться на расстоянии от присоединительного устройства. Протяженность зоны зависит при этом от ожидаемой нагрузки при применении, от назначения, от рабочей поверхности и т.д., а также от толщины опорной поверхности. Как правило, однако, благоприятно довести опорную поверхность как можно ближе до присоединительного устройства, чтобы обеспечить, тем самым, оптимальную защиту, не ухудшая, однако, ходовых свойств тканой ленты по рабочей поверхности.
Далее, стабильность тканого ленточного устройства и, тем самым, также его срок службы можно повысить за счет того, что вплотную к зоне с поперечными нитями продольные нити заработаны обратно в тканную ленту.
Простым изготовление является тогда, когда поперечные нити с обращенной к рабочей поверхности стороны тканой ленты расположены в зоне перед опорной поверхностью. Таким образом, в частности, когда поперечные нити расположены в два или более слоев, можно увеличить также толщину опорной поверхности.
Особенно хорошо опорная поверхность соединена с тканой лентой, если, по меньшей мере, ближайшая к присоединительному устройству поперечная нить заработана в тканую ленту.
У одной конкретной формы выполнения изобретения продольные нити имеют в отношении их извлеченной длины разные размеры. Это достигается, например, за счет того, что продольные нити извлечены из тканой ленты в разных по отношению к ее продольному направлению местах. Этим достигается то, что «переход» от тканой ленты к опорной поверхности происходит не резко, а по ширине тканого ленточного устройства, так что устройство может перемещаться по рабочей поверхности существенно более равномерно.
Кроме того, может быть предусмотрено, что число извлеченных продольных нитей приходится только на боковую краевую зону тканой ленты. Благодаря этой мере можно дополнительно достичь эффективной защиты, как правило, особенно подверженной износу краевой зоны соединения.
Особенно хорошая защита достигается тогда, когда число извлеченных продольных нитей равномерно распределено по всей ширине тканой ленты.
У ткани, изготовленной из синтетических нитей, оказалось предпочтительным, если извлеченные отрезки продольных нитей ткани термически сглажены путем нагрева с продольным натяжением, поскольку продольные нити обычно изогнуты в соответствии со структурой ткани.
Одна особенно предпочтительная форма выполнения возникает тогда, когда присоединительное устройство представляет собой проходящий на одном конце тканой ленты ряд шовных петель или закрепленную на этом конце шовную спираль вставного шва и когда соединительное средство представляет собой соединяющую две шовные петли или шовную спираль шовную соединительную проволочную вставку вставного шва. У этой формы выполнения ряды шовных петель или крепеж шовной спирали на конце тканой ленты образованы определенными, извлеченными на отдельных участках продольными нитями и обратно вплетенными в ткань, такими же по переплетению на отдельных участках соседними продольными нитями, причем, согласно изобретению продольные нити извлечены из ткани только в тех местах, где соседние продольные нити вплетены обратно в ткань, а отрезки извлеченных продольных нитей образуют защитную опору. У этой формы выполнения используется особая соединительная техника для изготовления опорной поверхности. В случае, если присоединительными устройствами являются ряды шовных петель или шовные спирали, закрепленные шовными петлями на ткани, изготовление шовных петель происходит обычно так, что определенные продольные нити вдоль одного отрезка извлекают из ткани с тем, чтобы соседние продольные нити с образованием соответствующей шовной петли можно было с таким же переплетением заработать обратно в ткань, причем извлеченные продольные нити обрезают обычно в том месте, где они покидают ткань. У тканого ленточного устройства согласно изобретению извлеченные нити образуют, напротив, опорную поверхность перед присоединительным устройством, и их не требуется обрезать в том месте, где они извлечены из ткани.
Другие преимущества и признаки такого ленточного устройства согласно изобретению приведены в нижеследующем описании примера выполнения со ссылкой на прилагаемые чертежи, на которых
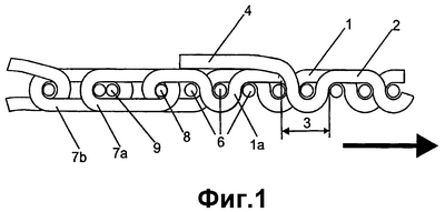
– фиг.1: схематичный вид сбоку тканого ленточного устройства в зоне разъемного соединения на примере бесконечной ситовой ленты для бумагоделательных машин или пресспатов в соответствии с уровнем техники;
– фиг.2: тканое ленточное устройство с опорами согласно изобретению;
– фиг.3: тканое ленточное устройство согласно изобретению, в перспективе, при виде сверху на сторону с опорами.
Из фиг.1 видно, что ткань известной бесконечной ситовой ленты изготовлена из продольных нитей 2 и поперечных нитей 6. На одном конце ткани для закрепления шовной спирали 7а предусмотрены шовные петли, изготовленные за счет такого же по переплетению обратного зарабатывания отрезка 1а продольной нити 1 в ткань. Для обеспечения или облегчения этого обратного зарабатывания соседняя продольная нить 2 вдоль отрезка 4 извлечена из ткани. На другом конце тканой ленты аналогичным или таким же образом закреплена дополнительная шовная спираль 7b. Выполненные овальными спирали 7а,7b могут быть вставлены сбоку друг в друга и удерживаются друг на друге посредством вдвигаемых параллельно концу ткани одинарных или многожильных (фиг.2) проволочных вставок 9.
Конец обратно заработанного отрезка 1а продольной нити 1 в изображенном примере выполнения заходит вокруг поперечной нити 6 дальше в ткань, чем отрезок 4 продольной нити 2 извлечен из ткани, так что в зоне 3 их пересечения образуется так называемая кладка, которая вызывает улучшенное удержание заработанного обратно отрезка 1а в структуре ткани. В зоне соединения шовных петель и шовных спиралей 7а,7b у изображенного примера выполнения дополнительно предусмотрено по одной удерживающей проволоке 8, проходящей параллельно одинарной или многожильной проволочной вставке 9.
Отрезок 4 продольной нити не обрезают в изображенном уровне техники в том месте, где она покидает ткань, а накладывают на шовные спирали 7а,7b в качестве шовной защиты, причем конец отрезка 4 направлен против обозначенного стрелкой направления движения бесконечной ситовой ленты, так что дополнительного закрепления отрезков 4 не требуется.
Как уже сказано, это устройство имеет, однако, тот недостаток, что в определенных условиях продольные нити 4 приподнимутся от тканой ленты, запутаются в присоединительных устройствах 7а,7b и смогут повредить или разрушить их.
Этого можно избежать благодаря изображенному на фиг.2 и 3 тканому ленточному устройству согласно изобретению. Изображенная на фиг.2 тканая лента 20′,20” содержит при этом на нижней стороне (это, как правило, сторона, обращенная к рабочей поверхности) опоры 10′,10”, согласно изобретению, поясняемые ниже, тогда как тканая лента на фиг.3 содержит их для наглядности на верхней на чертеже стороне.
Как видно из фиг.2 и 3, извлеченные отрезки 4′,4” нитей 2′,2” образуют опору 10′,10” только в зоне перед присоединительным устройством 7a’,7b’. За счет того, что опора 10′,10”, называемая ниже также опорная поверхность или опорная зона, заканчивается непосредственно или на определенном расстоянии перед присоединительным устройством 7a’,7b’, предотвращена также опасность того, что одна из образующих опорную поверхность 10′,10” нитей запутается в присоединительном устройстве 7a’,7b’.
На фиг.2 тканое ленточное устройство 100 движется по рабочей поверхности AF, например крышке вакуумной зоны у машины типа «Chemi Washer», крышке стола цедильной зоны, и т.д. За счет выполнения согласно изобретению опор 10′,10” возникает свободное положение FR присоединительных устройств 7a’,7b’ относительно рабочей поверхности AF, т.е. присоединительные устройства 7a’,7b’ не прилегают к рабочей поверхности AF и, следовательно, не могут быть повреждены ею.
В принципе, извлеченные продольные нити 2”, образующие опорную поверхность 10”, могут быть обрезаны только перед соответствующим, примыкающим к тканой ленте 20” присоединительным устройством 7b’. Тем самым, опора 10” может быть получена легко. Правда, тогда направление движения тканой ленты следует выбрать так, чтобы открытые концы опоры были обращены от направления движения с тем, чтобы нити не сгибались, а опора не была повреждена. Соответственно правильно выбранное направление движения обозначено на фиг.2 и 3 стрелкой.
Существенно более стабильной и дополнительно независимой от направления движения тканого ленточного устройства опора 10′ является тогда, когда, как видно далее на фиг.2 и 3, извлеченные отрезки 4′ продольных нитей 2′ вплетены вокруг поперечных нитей 11′ и обратно переплетены с ними. За счет этого возникает стабильная и относительно толстая опорная поверхность 10′. Кроме того, до зоны с поперечными нитями 11′ продольные нити 2′ обратно заработаны в тканую ленту. При этом поперечные нити 11′ у предусмотренной на нижней стороне тканого ленточного устройства опорной поверхности 10′ расположены предпочтительно также на нижней стороне тканой ленты в зоне перед присоединительным устройством 7a’, так что возникает сравнительно высокая опорная поверхность 10′.
В отношении стабильности, далее, предпочтительно, если, по меньшей мере, ближайшая к присоединительному устройству 7a’ поперечная нить 12′, как правило, однако, несколько поперечных нитей 11′, заработаны в тканую ленту.
Также благоприятно, если продольные нити 2′ имеют в отношении своей извлеченной длины разные размеры, например за счет того, что продольные нити извлечены из тканой ленты в разных по отношению к ее продольному направлению местах, так что возникает не слишком резкий «переход» от тканой ленты к опорной поверхности 10′.
Служащие шовной защитой, образованные извлеченными продольными нитями опорные поверхности 10′ могут быть расположены также над тканью или с обеих ее сторон. Также возможно, чтобы извлеченные продольные нити не были равномерно распределены по ширине тканой ленты, а приходились только на ее боковую краевую зону, образуя защиту от износа этой боковой краевой зоны.
В случае, если тканая лента, например за счет особой формы валков, нагружается по-разному, защита от износа может быть предусмотрена также лишь в сильно нагруженных местах тканого соединения.
На другом соответствующем шовной спирали 7b’ конце бесконечной ситовой ленты извлеченные из ткани отрезки 4” продольных нитей 2” обрезаны перед присоединительным устройством 7b’ так, что они, с одной стороны, также образуют опорную поверхность 10” для защиты присоединительного устройства, а, с другой стороны, однако, благодаря длине извлеченных отрезков нитей также невозможно, чтобы они запутались в присоединительном устройстве. Благодаря направлению движения (см. стрелку) обратное вплетение нитей 4” не является обязательным.
В принципе, может быть также, конечно, предусмотрено, чтобы и на соответствующем шовной спирали 7b’ конце бесконечной ситовой ленты была образована соответствующая опорная поверхность, как на конце шовной спирали 7а’, в результате чего возникают еще лучшая опора и еще лучшая защита присоединительных устройств 7а’,7b’, однако может быть предусмотрено также, чтобы, как это включено в заявленный объем охраны, опора имелась только в зоне перед присоединительным устройством 7а’,7b’, т.е. только одна из опор 10′,10”, если она выполнена таким образом, что обеспечивает достаточную защиту присоединительных устройств 7а’,7b’.
Как ткань 20′, так и шовные спирали 7а’,7b’ и проволочная вставка 8′,9, поперечные нити 11′,12′ и извлеченные продольные нити 2′,2” изготовлены в изображенном примере выполнения из синтетики. Поскольку отрезки 4′,4” продольных нитей 2′,2” после их извлечения имеют так называемые завитки, т.е. змеевидно изогнуты в соответствии со структурой ткани, их при термофиксации шовных спиралей разглаживают путем нагрева с продольным натяжением.
Длина зоны опорной поверхности 10′ может быть разной в зависимости от назначения, обычные значения составляют приблизительно 20 см. Особенно хорошая защита возникает тогда, когда опорная поверхность 10′ доведена непосредственно до присоединительного устройства 7а’, однако, в принципе, она может заканчиваться также на расстоянии перед присоединительным устройством 7а’.
Формула изобретения
1. Тканое ленточное устройство, например бесконечная ситовая лента для бумагоделательных машин и пресспатов, у которого, по меньшей мере, на одном конце тканой ленты (20 , 20 ) предусмотрено присоединительное устройство (7а; 7b), соединяемое с помощью отделяемого соединительного средства (9) с другим присоединительным устройством (7b; 7а ) этой же или другой тканой ленты, причем некоторое число определенных продольных нитей (2 , 2 ) извлечено из ткани (20 ) вдоль соответствующего концу тканой ленты отрезка (4 , 4 ), причем извлеченные отрезки (4 , 4 ) продольных нитей (2 , 2 ), по меньшей мере, с одной стороны тканой ленты (20 , 20 ) расположены прилегающими в зоне перед присоединительным устройством (7а; 7b ), так что они образуют опору (10 ; 10 ) для защиты присоединительных устройств (7а; 7b ) при движении тканой ленты по рабочей поверхности (AF), отличающееся тем, что извлеченные отрезки (4 ) продольных нитей (2 ) вплетены вокруг поперечных нитей (11 , 12 ) и обратно переплетены с ними.
2. Устройство по п.1, отличающееся тем, что извлеченные отрезки (4 , 4 ) продольных нитей (2 ; 2 ) не накрывают присоединительное устройство (7а, 7b).
3. Устройство по п.1 или 2, отличающееся тем, что зона опоры (10 , 10 ) доходит непосредственно до присоединительного устройства (7а; 7b).
4. Устройство по п.1 или 2, отличающееся тем, что зона опоры (10 , 10 ) заканчивается на расстоянии перед присоединительным устройством (7а; 7b).
5. Устройство по п.1 или 2, отличающееся тем, что продольные нити (2 ) обратно заработаны в тканую ленту до зоны с поперечными нитями (11 , 12 ).
6. Устройство по п.3, отличающееся тем, что продольные нити (2 ) обратно заработаны в тканую ленту до зоны с поперечными нитями (11 , 12 ).
7. Устройство по п.4, отличающееся тем, что продольные нити (2 ) обратно заработаны в тканую ленту до зоны с поперечными нитями (11 , 12 ).
8. Устройство по п.1 или 2, отличающееся тем, что поперечные нити (11 , 12 ) с обращенной к рабочей поверхности (AF) стороны тканой ленты расположены, если смотреть в направлении движения, в зоне перед опорной поверхностью (7а ).
9. Устройство по п.3, отличающееся тем, что поперечные нити (11 , 12 ) с обращенной к рабочей поверхности (AF) стороны тканой ленты расположены, если смотреть в направлении движения, в зоне перед опорной поверхностью (7а ).
10. Устройство по п.4, отличающееся тем, что поперечные нити (11 , 12 ) с обращенной к рабочей поверхности (AF) стороны тканой ленты расположены, если смотреть в направлении движения, в зоне перед опорной поверхностью (7а ).
11. Устройство по п.5, отличающееся тем, что поперечные нити (11 , 12 ) с обращенной к рабочей поверхности (AF) стороны тканой ленты расположены, если смотреть в направлении движения, в зоне перед опорной поверхностью (7а ).
12. Устройство по п.6, отличающееся тем, что поперечные нити (11 , 12 ) с обращенной к рабочей поверхности (AF) стороны тканой ленты расположены, если смотреть в направлении движения, в зоне перед опорной поверхностью (7а ).
13. Устройство по п.7, отличающееся тем, что поперечные нити (11 , 12 ) с обращенной к рабочей поверхности (AF) стороны тканой ленты расположены, если смотреть в направлении движения, в зоне перед опорной поверхностью (7а ).
14. Устройство по п.1 или 2, отличающееся тем, что поперечные нити (11 , 12 ) расположены в два или более слоев.
15. Устройство по п.1 или 2, отличающееся тем, что, по меньшей мере, ближайшая к присоединительному устройству (7а) поперечная нить (12 ) заработана в тканую ленту (20 ).
16. Устройство по п.1 или 2, отличающееся тем, что продольные нити (2 , 2 ) имеют в отношении своей извлеченной длины (4 , 4 ) разные размеры.
17. Устройство по п.16, отличающееся тем, что продольные нити (2 , 2 ) извлечены из тканой ленты (20 , 20 ) в разных по отношению к ее продольному направлению местах.
18. Устройство по п.1 или 2, отличающееся тем, что извлеченные продольные нити (2 , 2 ) приходятся только на боковую краевую зону тканой ленты (20 , 20 ).
19. Устройство по п.1 или 2, отличающееся тем, что извлеченные продольные нити (2 , 2 ) равномерно распределены по всей ширине тканой ленты (20 , 20 ).
20. Устройство по п.1 или 2, отличающееся тем, что тканая лента (20 , 20 ) изготовлена из синтетических нитей, причем извлеченные отрезки (4 , 4 ) продольных нитей (2 , 2 ) ткани термически разглажены путем нагрева с продольным натяжением.
21. Устройство по п.1 или 2, отличающееся тем, что присоединительное устройство представляет собой проходящий на одном конце тканой ленты ряд шовных петель или закрепленную на этом конце шовную спираль (7а, 7b ) вставного шва.
22. Устройство по п.21, отличающееся тем, что соединительное средство представляет собой соединяющую две шовные петли или шовную спираль (7а, 7b ) шовную соединительную проволочную вставку (9 ).
23. Устройство по п.21, отличающееся тем, что ряд шовных петель или крепеж шовной спирали (7а, 7b ) образован на одном конце тканой ленты определенными, извлеченными на отдельных участках продольными нитями (2 , 2 ) и обратно заработанными в ткань (20 , 20 ), такими же по переплетению на отдельных участках соседними продольными нитями, причем продольные нити (2 , 2 ) извлечены из ткани только в тех местах, где соседние продольные нити заработаны обратно в ткань.
24. Устройство по п.22, отличающееся тем, что ряд шовных петель или крепеж шовной спирали (7а, 7b ) образован на одном конце тканой ленты определенными, извлеченными на отдельных участках продольными нитями (2 , 2 ) и обратно заработанными в ткань (20 , 20 ), такими же по переплетению на отдельных участках соседними продольными нитями, причем продольные нити (2 , 2 ) извлечены из ткани только в тех местах, где соседние продольные нити заработаны обратно в ткань.
РИСУНКИ
|
|