|
|
(21), (22) Заявка: 2005116529/12, 30.05.2005
(24) Дата начала отсчета срока действия патента:
30.05.2005
(30) Конвенционный приоритет:
06.09.2004 JP 2004-257921
(43) Дата публикации заявки: 20.11.2006
(46) Опубликовано: 27.06.2007
(56) Список документов, цитированных в отчете о поиске:
FR 2581091 A1, 31.10.1986. DE 1235629 A, 02.03.1967. JP 54105861 A, 20.08.1979. JP 3264088 A, 25.11.1991. SU 953040 A1, 23.08.1982.
Адрес для переписки:
129010, Москва, ул. Б.Спасская, 25, стр.3, ООО “Юридическая фирма Городисский и Партнеры”, пат.пов. С.А.Дорофееву
|
(72) Автор(ы):
МАЦУКУРА Тойоцугу (JP), КОМАЦУ Такаси (JP), МАЦУО Сигеру (JP)
(73) Патентообладатель(и):
МАЦУСИТА ЭЛЕКТРИК ИНДАСТРИАЛ КО., ЛТД. (JP)
|
(54) СТИРАЛЬНАЯ МАШИНА
(57) Реферат:
Стиральная машина содержит барабан, размещенный в баке для воды, двигатель для вращения барабана, контроллер для управления двигателем и устройство обнаружения вибрации, расположенное между опорной металлической частью и основанием стиральной машины. Устройство обнаружения вибрации включает в себя входную первичную катушку, две выходные вторичные катушки, расположенные соосно с первичной катушкой, и тело магнита, имеющее форму вала и установленное с возможностью смещения таким образом, чтобы проходить через три катушки. Две вторичные катушки генерируют соответствующие выходные напряжения в ответ на постоянное входное напряжение первичной катушки и перемещение тела магнита. Градиенты соответствующих выходных напряжений двух вторичных катушек на единицу смещения отличаются друг от друга. Одна вторичная катушка, имеющая большую разность между максимальным и минимальным выходным напряжением, используется для определения веса белья. Другая вторичная катушка, имеющая меньшую разность между максимальным и минимальным выходным напряжением, используется для обнаружения вибрации бака для воды. Технический результат заключается в значительном уменьшении вибрации и шума во время процесса отжима. 4 з.п. ф-лы, 5 ил.
Настоящее изобретение относится к стиральной машине и, более конкретно, к стиральной машине для выполнения стирки, полоскания и отжима при стирке белья во вращающемся барабане, имеющем по существу горизонтальную или наклонную ось вращения.
Традиционная стиральная машина включает вращающийся барабан, имеющий по существу горизонтальную или наклонную ось вращения, для размещения в нем белья; бак для воды, который содержит в себе вращательный барабан и поддерживается в основном корпусе стиральной машины; опорную металлическую часть для опоры бака для воды; основание стиральной машины для опоры основного корпуса стиральной машины; двигатель для вращения вращательного барабана; входное задающее устройство для установки режимов стиральной машины и контроллер для управления работой стиральной машины, регулируемой входным задающим устройством, и для управления двигателем. При управлении контроллером процессы стирки, полоскания и отжима в стиральной машине регулируются точно.
После завершения процессов стирки и полоскания белье во вращательном барабане содержит в себе воду, поэтому выполняется процесс отжима, чтобы удалить воду из белья, вращая вращательный барабан. Однако в это время белье может быть неравномерно размещено во вращательном барабане при вращательном движении в ходе отжима воды в зависимости от типов, материалов и формы предметов белья. В таком случае вращательный барабан значительно вибрирует, тем самым создавая шум.
Таким образом, чтобы обнаружить ненормальную вибрацию при отжиме, было предложено размещать белье и моющее средство во вращательном барабане, поддерживаемом при вращении во внутренней раме, которая, в свою очередь, поддерживается во внешней раме демпфирующей конструкцией, такой как пружина, и выявлять механическую вибрацию внутренней рамы при помощи устройства обнаружения вибрации, расположенного во внешней раме (см., например, выложенную патентную заявку Японии № S61-98286 (ссылка 1)).
При таком способе процесс отжима выполняется исполнением сначала процесса балансировки вращения вращательного барабана при небольшой скорости двигателя, с тем чтобы белье во вращательном барабане равномерно было прижато к внутренней стенке вращательного барабана центробежной силой, и затем вращением вращательного барабана при большей скорости вращения. Если на этих этапах имеет место ненормальная вибрация, вращательный барабан немедленно останавливается.
Дополнительно были предложены другие способы для обнаружения ненормальной вибрации из-за неравномерного распределения белья во вращательном барабане до вращения вращательного барабана с высокой скоростью вращения, чтобы таким образом сделать возможным осуществление безопасного и высокоэффективного процесса отжима. Например, выложенная патентная заявка Японии № Н6-170080 (ссылка 2) раскрывает способ для обнаружения ненормальной вибрации стиральной машины, который включает асинхронный электродвигатель для вращения вращательного барабана и схему инвертора для запуска асинхронного электродвигателя. При этом способе процесс стирки, когда вращательный барабан вращается в прямом и обратном направлениях, процесс балансировки, когда вращательный барабан вращается с небольшой скоростью вращения, и процесс отжима, когда вращательный барабан вращается с большой скоростью вращения, успешно выполняются надлежащим образом. После начала процесса действующее значение тока определяется на выходе схемы инвертора и вычисляется разность между максимальным и минимальным действующими значениями тока. Затем вычисленная разность значений тока сравнивается с заданным значением порогового тока, представляющим избыточную вибрацию. Если разность токов превышает заданное пороговое значение, определяется на основании тока избыточная вибрация и выдается предупредительный сигнал о появлении избыточной вибрации.
Однако в случае конфигурации, раскрытой в ссылке 1, при процессе балансировки, при котором вращательный барабан вращается с небольшой скоростью вращения, ненормальная вибрация все еще может быть не обнаружена вследствие небольшой амплитуды механической вибрации, даже если во вращательном барабане присутствует неравномерное распределение предметов белья. Так как амплитуда вибрации не становится настолько большой, чтобы быть обнаруженной до того, как скорость вращения вращательного барабана возрастет до высокой скорости вращения, может быть трудно обнаружить появление ненормальной вибрации до вращения вращательного барабана с высокой скоростью вращения. Следовательно, вращательный барабан может быть остановлен только после того, как уже появилась ненормальная вибрация. Следовательно, существует большой риск того, что белье или стиральная машина могут быть повреждены и излишне много времени может потребоваться для того, чтобы остановить вращательный барабан.
Кроме того, способ согласно ссылке 2, который определяет ненормальную вибрацию косвенно по действующим значениям тока асинхронного электродвигателя, основывается на предположении, что неравномерное распределение белья отражается на действующем значении тока асинхронного электродвигателя и что неуравновешенное положение приводит к ненормальной вибрации. Однако изменение действующего значения тока асинхронного электродвигателя может быть вызвано не только неравномерным распределением белья во вращательном барабане, но также и механическими факторами, например, из-за опоры двигателя или тому подобного. Кроме того, так как появление избыточной вибрации определяется сравнением изменения действующего значения тока с заданным значением порогового тока, предупреждения об избыточной вибрации могут выдаваться чаще, чем необходимо, таким образом слишком часто останавливая вращательный барабан.
Следовательно, технической задачей настоящего изобретения явилось создание стиральной машины, способной предотвратить появление ненормальной вибрации или шума из-за неравномерного распределения белья во вращательном барабане при отжиме.
Согласно настоящему изобретению создана стиральная машина, включающая: вращательный барабан, имеющий по существу горизонтальную или наклонную ось вращения, для размещения в нем белья; бак для воды, поддерживаемый подвижным в основном корпусе стиральной машины, для размещения в нем с возможностью вращения вращательного барабана; опорную металлическую часть для опоры бака для воды; основание стиральной машины для опоры основного корпуса стиральной машины; двигатель для вращения вращательного барабана; контроллер для управления двигателем и устройство обнаружения вибрации, расположенное между опорной металлической частью и основанием стиральной машины, для обнаружения вибрации в баке для воды, причем устройство обнаружения вибрации включает дифференциальный трансформатор, имеющий множество катушек и тело магнита.
Упомянутая и другие задачи и признаки настоящего изобретения станут понятны из следующего описания предпочтительных вариантов воплощения изобретения, данного со ссылкой на прилагаемые чертежи, на которых:
фиг.1 – вид сечения стиральной машины согласно первому предпочтительному варианту воплощения настоящего изобретения;
фиг.2 – перспектива устройства обнаружения вибрации стиральной машины согласно первому предпочтительному варианту воплощения;
фиг.3 – вид сечения устройства обнаружения вибрации стиральной машины согласно второму предпочтительному варианту воплощения настоящего изобретения;
фиг.4 – график, описывающий отличительные признаки устройства обнаружения вибрации согласно второму предпочтительному варианту воплощения, и
фиг.5 – принципиальная схема устройства обнаружения вибрации для использования в стиральной машине согласно третьему предпочтительному варианту воплощения настоящего изобретения.
Ниже предпочтительные варианты воплощения настоящего изобретения будут описаны со ссылкой на прилагаемые чертежи, так что описание подразумевает дополнительную иллюстрацию, не ограничивающую настоящее изобретение.
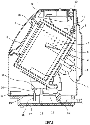
Фиг.1 является видом сбоку сечения стиральной машины согласно первому предпочтительному варианту воплощения настоящего изобретения, а фиг.2 представляет перспективу устройства обнаружения вибрации, используемого в изобретении.
Как показано на фиг.1, цилиндрический вращательный барабан 1, имеющий донную поверхность и снабженный множеством отверстий 2 на его цилиндрической поверхности, с возможностью вращения установлен в бак 3 для воды. Вращательный барабан 1 также имеет вращающийся вал (центральную ось вращения) 4 и расположен так, что направление его оси вращения отклоняется к задней части стиральной машины. Дополнительно двигатель 5, установленный на задней части бака 3 для воды, соединен с вращающимся валом 4, и вращательный барабан 1 приводится в движение двигателем 5, чтобы вращаться в прямом и обратном направлениях.
Перемешивающие лопасти 6 расположены на внутренней цилиндрической поверхности вращательного барабана 1. Кроме того, бак 3 для воды снабжен отверстием 3а на наклонной поверхности его передней части, которое обращено наверх, и отверстие 3а может быть открыто или закрыто дверцей 7. При помощи дверцы 7 отверстия белье может быть загружено во вращательный барабан 1 или выгружено из него через отверстие 8 загрузки/выгрузки белья. Так как дверца 7 установлена на наклонной поверхности, обращенной наверх, загрузка и выгрузка белья могут быть осуществлены без необходимости для пользователя неудобно наклоняться.
Входное задающее устройство 9 для установки режимов, например программы действий основного корпуса 10 стиральной машины, выполнено над дверцей 7. И на переднем нижнем участке основного корпуса 10 стиральной машины расположен контроллер 11 для приема входной информации от входного задающего устройства 9 и для управления действием двигателя 5 на основе входной информации. Контроллер 11 включает в себя микрокомпьютер для управления последовательностью операций, включающих стирку, полоскание и отжим.
Дополнительно бак 3 для воды опирается с возможностью смещения на основной корпус 10 стиральной машины через пружину 12 и амортизатор 13 и один конец сливного шланга 14 соединен с нижним участком бака 3 для воды. Другой конец сливного шланга 14 объединен со сливным клапаном 15, чтобы сливать моющую воду из бака 3 для воды. Дополнительно опорная металлическая часть 16 для опоры бака 3 для воды установлена на донном участке бака 3 для воды, и устройство 18 обнаружения вибрации для обнаружения вибрации бака 3 для воды установлено между опорной металлической частью 16 и плитой 17 основания стиральной машины, которая является одним из нижних элементов стиральной машины. Устройство 18 обнаружения вибрации является дифференциальным трансформатором, включающим множество катушек 19 и тело 20 магнита, как показано на фиг.2.
Сейчас будут описаны действие и функция стиральной машины с описанной выше конфигурацией. Когда завершены процессы стирки и полоскания, вращательный барабан 1 остается еще мокрым, поэтому выполняется процесс отжима, чтобы удалить воду из белья путем вращения вращательного барабана 1. При отжиме, однако, белье может быть неравномерно распределено во вращательном барабане 1 в зависимости от типа, материала и формы белья. В таком случае вращательный барабан 1 может значительно вибрировать, что, в свою очередь, может заставить вибрировать также бак 3 для воды, вмещающий в себя вращательный барабан.
Как описано ранее, между опорной металлической частью 16, которая поддерживает бак 3 для воды, и плитой 17 основания стиральной машины установлено устройство 18 обнаружения вибрации для обнаружения вибрации. Кроме того, устройство 18 обнаружения вибрации образовано из дифференциального трансформатора, включающего катушки 19 и тело 20 магнита. Катушки 19 прикреплены к плите 17 основания стиральной машины, тогда как тело 20 магнита закреплено на опорной металлической части 16, установленной в баке 3 для воды. Так как тело 20 магнита сконфигурировано так, чтобы двигаться вертикально в ответ на вибрацию вращательного барабана 1, в катушках 19 генерируются напряжения как функции перемещения тела 20 магнита. Таким образом, возможно обнаружение вибрации. Кроме того, также возможно определить вес белья во вращательном барабане 1, используя измерение перемещения, полученное от устройства 18 обнаружения вибрации, когда белье загружается во вращательный барабан 1 до начала стирки белья.
При выполнении последовательности действий стирки, программируемых входным задающим устройством 9, контроллер 11 может регулировать действия на основании уровня вибрации, определенного устройством 18 обнаружения вибрации. Более конкретно, контроллер 11 может уменьшать скорость вращения двигателя 5, если уровень вибрации попадает в заданный интервал, то есть если уровень вибрации не больше, чем первое заданное значение, но превышает второе заданное значение. Дополнительно, если уровень вибрации ненормально высок, то есть если уровень вибрации превышает первое заданное значение, контроллер может остановить вращение двигателя 5 или может остановить вращение двигателя временно, а затем возобновить его вращение при небольшой скорости вращения, чтобы таким образом перераспределить неуравновешенное белье. Как следствие, могут быть предотвращены ненормальная вибрация или шум вращательного барабана 1 и тому подобное. Кроме того, так как вес белья во вращательном баране 1 может быть определен по уровню, определенному устройством 18 обнаружения вибрации, основываясь на установленном уровне, может быть определено количество воды, которое должно подаваться при стирке или полоскании.
Фиг.3 является видом сечения устройства обнаружения вибрации стиральной машины согласно второму предпочтительному варианту воплощения настоящего изобретения, а фиг.4 показывает график, описывающий характеристики устройства обнаружения вибрации. Элементы, идентичные тем, что были описаны в первом предпочтительном варианте воплощения, будут обозначены теми же ссылочными позициями, и их описание будет пропущено.
Во втором предпочтительном варианте воплощения устройство 18 обнаружения вибрации образовано, например, тремя коаксиальными катушками и телом магнита, как показано на фиг.3. Конкретно, одна из трех катушек является входной первичной катушкой 21, а другие две катушки являются выходными вторичными катушками 22 и 23, соответственно. Дополнительно тело 20 магнита в форме вала введено в вал 24, выполненный из немагнитного материала, такого как синтетическая пластмасса, чтобы проходить через три коаксиальные катушки. Вал 24, имеющий в себе тело 20 магнита, двигается вертикально в аксиальном направлении.
Что касается взаимного расположения трех катушек и тела 20 магнита, вторичная катушка 22 расположена со стороны, где вставлен вертикально двигающийся вал 24, а первичная катушка 21 примыкает к вторичной катушке 22. Дополнительно другая вторичная катушка 23 установлена вокруг первичной катушки 21 и примыкает к вторичной катушке 22. Положение, в котором нижний конец тела 20 магнита расположен в вале 24 в пределах первичной катушки 21, определяется как эталонное положение для вертикальной вибрации вала 24. Число витков вторичной катушки 22 устанавливается приблизительно в 10 раз большим, чем у первичной катушки 21, тогда как число витков вторичной катушки 23 устанавливается приблизительно в 7 раз большим, чем у первичной катушки 21. Длина тела 20 магнита устанавливается большей, чем ширина витков вторичной катушки 23.
На фиг.4 показан график, описывающий характеристики устройства 18 обнаружения вибрации. График показывает связь между вертикальным перемещением вала 24 из эталонного положения и вторичным напряжением для каждой вторичной катушки, причем входное напряжение первичной катушки является устанавливаемой постоянной, и вал 24, включающий тело 20 магнита, двигается вверх (направление удлинения) и вниз (направление сжатия).
Теперь будут описаны действие и функция устройства 18 обнаружения вибрации с описанной выше конфигурацией.
Из графика на фиг.4 видно, что связь между перемещением, инициированным движением вала 24, имеющего в себе тело 20 магнита, и выходным напряжением вторичной катушки 22 образует в сущности прямую линию с большим наклоном в интервале от приблизительно 10 мм со стороны удлинения до приблизительно 10 мм со стороны сжатия, когда входное напряжение первичной катушки 21 остается постоянным, тогда как максимальное значение выходного напряжения достигается приблизительно при 15 мм со стороны сжатия. Данный интервал от 10 мм со стороны удлинения до 10 мм со стороны сжатия является интервалом перемещений, в котором двигается вал 24, когда белье загружается во вращательный барабан 1, вторичная катушка 22 может считаться пригодной для использования при определении веса белья. То есть вторичной катушкой 22 может быть осуществлено более точное определение веса белья, потому что изменение напряжения на единицу перемещения является большим, несмотря на узкий интервал определения.
Дополнительно связь между перемещением вследствие движения вала 24, имеющего в себе тело 20 магнита, и выходным напряжением вторичной катушки 23 образует в сущности прямую линию в интервале от приблизительно 10 мм со стороны удлинения до приблизительно 40 мм со стороны сжатия, когда входное напряжение первичной катушки 21 остается постоянным. Данный интервал от 10 мм со стороны удлинения до 40 мм со стороны сжатия является интервалом перемещений, в котором двигается вал 24, когда белье загружается во вращательный барабан 1 и в него подается вода вплоть до максимального уровня при стирке, вторичная катушка 23 может считаться пригодной для использования при определении вибрации. То есть вторичной катушкой 23 может быть достигнуто более точное определение вибрации при работе, потому что она имеет широкий интервал обнаружения, и малое изменение напряжения на единицу перемещения в этом случае не важно.
Согласно второму предпочтительному варианту воплощения настоящего изобретения, описанному выше, при изменении числа витков двух вторичных катушек 22 и 23 связи между перемещениями вала 24, включающего тело магнита, и соответствующими выходными напряжениями вторичных катушек 22 и 23 меняются. Таким образом, возможно использовать только одну вторичную катушку 22 для определения веса белья, применяя в это время другую вторичную катушку 23, чтобы обнаружить вибрацию.
На фиг.5 представлена принципиальная схема устройства обнаружения вибрации для использования в стиральной машине согласно третьему предпочтительному варианту воплощения настоящего изобретения.
На фиг.5 первичная схема 26 входного сигнала генерирует волну треугольной формы с напряжением, подаваемым на микрокомпьютер 25 контроллера 11, который управляет действиями стиральной машины, устанавливаемыми входным задающим устройством 9, и управляет двигателем 5 и затем подает сгенерированную таким образом волну треугольной формы на первичную катушку 21. Выходные сигналы двух вторичных катушек 22 и 23 в зависимости от положения тела 20 магнита выпрямляются и сглаживаются в схеме 27 обнаружения выходного сигнала. Затем напряжения выпрямленных и сглаженных таким образом выходных сигналов устанавливаются так, чтобы не превышать напряжение, поданное на микрокомпьютер 25, и вводятся в порты 28 преобразования переменный ток/постоянный ток микрокомпьютера 25. Другие конструкции идентичны описанным в первом и втором предпочтительных вариантах воплощения и их подробное описание опущено.
В вышеупомянутой конфигурации предпочтительно, чтобы входная волна катушки 21 устройства 18 обнаружения вибрации являлась синусоидальной волной. Тем не менее, многим элементам нужно генерировать синусоидальную волну с напряжением, подаваемым на микрокомпьютер 25, и, следовательно, это может требовать средств и времени. Как вариант, следовательно, один способ предлагает делить прямоугольную волну микрокомпьютера 25 и затем подавать ее на первичную катушку 21. При таком способе, тем не менее, индуктивность первичной катушки 21 может влиять на вторичные катушки 22 и 23, которые могут вызвать генерацию резонансных волн в этих катушках и таким образом не создать точные волны.
Следовательно, при создании в первичной схеме 26 входного сигнала волны треугольной формы и подачи ее на первичную катушку 21 во вторичных катушках 22 и 23 могут быть сгенерированы напряжения в зависимости от перемещения тела магнита без влияния индуктивности первичной катушки 21. Затем выходные напряжения, полученные от вторичных катушек 22 и 23, выпрямляются и сглаживаются в схеме 27 обнаружения выходного сигнала, и напряжения устанавливаются так, чтобы не превышать напряжение, подаваемое на микрокомпьютер 25. После этого напряжения вводятся в порты 28 преобразования переменный ток/постоянный ток микрокомпьютера 25 и затем микрокомпьютер 25 определяет вибрацию, основываясь на результате преобразования с заданным пороговым значением вибрации. Затем контроллер управляет двигателем 5, основываясь на результате определения. Дополнительно с результатом преобразования также возможно определить вес белья во вращательном барабане 1.
Согласно настоящему изобретению, описанному выше, при обнаружении вибрации в баке для воды в стиральной машине непосредственно через устройство обнаружения вибрации появление ненормальной вибрации или шума вследствие неравномерного распределения белья во вращательном барабане может быть предотвращено при отжиме. Кроме того, из результата определения устройством обнаружения вибрации также может быть определен вес белья во вращательном барабане. С этими преимуществами настоящее изобретение может быть применено к различным стиральным машинам, используемым в домашних условиях и коммерческой среде, чтобы стирать и очищать белье.
Несмотря на то, что изобретение было показано и описано на предпочтительных вариантах воплощения, специалисты в данной технике поймут, что могут быть сделаны различные изменения и модификации без отклонения от сущности и объема изобретения, определенного в следующей формуле изобретения.
Формула изобретения
1. Стиральная машина, содержащая вращательный барабан, имеющий по существу горизонтальную или наклонную ось вращения, для размещения в нем белья, бак для воды, поддерживаемый с возможностью движения в основном корпусе стиральной машины, для размещения в нем с возможностью вращения вращательного барабана, опорную металлическую часть для опоры бака для воды, основание стиральной машины для опоры основного корпуса стиральной машины, двигатель для вращения вращательного барабана, контроллер для управления двигателем и устройство обнаружения вибрации, расположенное между опорной металлической частью и основанием стиральной машины, для обнаружения вибрации бака для воды, причем устройство обнаружения вибрации включает в себя входную первичную катушку, две выходные вторичные катушки, расположенные соосно с первичной катушкой, и тело магнита, имеющее форму вала и установленное с возможностью смещения таким образом, чтобы проходить через три катушки, при этом две вторичные катушки генерируют соответствующие выходные напряжения в ответ на постоянное входное напряжение первичной катушки и перемещение тела магнита вследствие его смещения, а градиенты соответствующих выходных напряжений двух вторичных катушек на единицу смещения отличаются друг от друга, причем одна вторичная катушка используется для определения веса белья, а другая вторичная катушка используется для обнаружения вибрации бака для воды.
2. Стиральная машина по п.1, которая дополнительно содержит входное задающее устройство для установки режимов операций стиральной машины, причем контроллер управляет операциями, задаваемыми задающим устройством ввода, и управляет двигателем, первичную схему входного сигнала, причем волна треугольной формы, генерируемая на основании напряжения, подаваемого на микрокомпьютер контроллера, подается на первичную катушку первичной схемой входного сигнала, схему обнаружения выходного сигнала, причем выходные напряжения двух вторичных катушек выпрямляются и сглаживаются и устанавливаются меньшими или равными напряжению, подаваемому на микрокомпьютер, схемой обнаружения выходного сигнала, при этом выходные напряжения схемы обнаружения выходного сигнала вводятся в порты микрокомпьютера преобразования переменного тока в постоянный ток.
3. Стиральная машина по п.1, в которой две вторичные катушки имеют различное местоположение относительно первичной катушки.
4. Стиральная машина по п.1, в которой вторичная катушка, используемая для определения веса белья, имеет большую разность между максимальным и минимальным выходным напряжением, а вторичная катушка, используемая для обнаружения вибрации бака для воды, имеет меньшую разность между максимальным и минимальным выходным напряжением.
5. Стиральная машина по п.1, в которой одна из вторичных катушек с большей разностью между максимальным и минимальным выходным напряжением имеет меньший интервал определения, а другая вторичная катушка с меньшей разностью между максимальным и минимальным выходным напряжением имеет больший интервал определения.
РИСУНКИ
PD4A – Изменение наименования обладателя патента СССР или патента Российской Федерации на изобретение
(73) Новое наименование патентообладателя:
ПАНАСОНИК КОРПОРЭЙШН (JP)
Адрес для переписки:
129090, Москва, ул. Б. Спасская, 25, стр. 3, ООО “Юридическая фирма Городисский и Партнеры”
Извещение опубликовано: 27.03.2010 БИ: 09/2010
QA4A – Сведения о заявлении обладателя патента Российской Федерации или патента СССР на изобретение о предоставлении любому лицу права на использование изобретения (открытая лицензия) в соответствии с пунктом 2 статьи 13 Патентного закона РФ
(73) Патентообладатель:
ПАНАСОНИК КОРПОРЭЙШН (JP)
(54) СТИРАЛЬНАЯ МАШИНА
Номер и год публикации бюллетеня: 18-2007
Адрес для переписки:
129090, Москва, ул. Б.Спасская, 25, стр. 3, ООО «Юридическая фирма Городисский и Партнеры»
Извещение опубликовано: 27.04.2010 БИ: 12/2010
|
|