|
(21), (22) Заявка: 2005129328/12, 18.02.2004
(24) Дата начала отсчета срока действия патента:
18.02.2004
(30) Конвенционный приоритет:
21.02.2003 DE 10307489.9 25.07.2003 DE 10334359.8
(43) Дата публикации заявки: 10.02.2006
(46) Опубликовано: 27.06.2007
(56) Список документов, цитированных в отчете о поиске:
US 3463199 A, 26.08.1969. US 648573 A, 01.05.1900. RU 12570 U1, 20.01.2000. US 2547170 A, 03.04.1951. US 386477 A, 24.07.1888. US 613392 A, 01.11.1898. US 228580 A, 08.06.1880. US 613615 A, 01.11.1898. US 1037151 A, 27.08.1912.
(85) Дата перевода заявки PCT на национальную фазу:
21.09.2005
(86) Заявка PCT:
DE 2004/000293 (18.02.2004)
(87) Публикация PCT:
WO 2004/076729 (10.09.2004)
Адрес для переписки:
129010, Москва, ул. Б.Спасская, 25, стр.3, ООО “Юридическая фирма Городисский и Партнеры”, пат.пов. Е.И.Емельянову
|
(72) Автор(ы):
ВАХОУД Аднан (DE), КЦУРА Петер (DE)
(73) Патентообладатель(и):
ЛИНДАУЕР ДОРНИР ГЕЗЕЛЛЬШАФТ МБХ (DE)
|
(54) ТКАЦКИЙ СТАНОК ДЛЯ ИЗГОТОВЛЕНИЯ ТКАНИ В ПОЛОТНЯНОМ И ПЕРЕВИВОЧНОМ ПЕРЕПЛЕТЕНИИ (ВАРИАНТЫ)
(57) Реферат:
В ткани в пределах одного ткацкого цикла одновременно образуются полотняные и перевивочные переплетения. Для образования полотняного переплетения смежные друг с другом, предназначенные для образования нижнего и верхнего зева, основные нити взаимно поднимаются одной и той же ламельно-игольчатой ремизкой из положения нижнего зева в положение верхнего зева и обратно опускаются из верхнего зева в положение нижнего зева, в то время как для образования перевивочного переплетения в известной манере только образующие верхний зев основные нити поднимаются ламельно-игольчатой ремизкой из положения нижнего зева в положение верхнего зева и обратно опускаются из положения верхнего зева в положение нижнего зева. Изобретение позволяет в пределах одного ткацкого цикла в изготавливаемой ткани одновременно образовывать полотняные и перевивочные переплетения без использования дорогостоящих зевообразующих средств. 2 н. и 2 з.п. ф-лы, 14 ил.
Изобретение касается ткацкого станка для изготовления ткани, которая имеет как образованное уточными нитями и основными нитями полотняное переплетение, так и образованное уточными нитями и основными нитями перевивочное переплетение, согласно признакам ограничительной части пункта 1 и 3 формулы изобретения.
Из DE-PS 360112 известно устройство игольчатой ремизки для изготовления типов ткани с чередующимся полотняным и перевивочным переплетением.
Ремизки здесь регулируемо поднимаются, а именно при обратном ходе батана посредством соединенного с ножкой батана захвата. За счет попеременного приподнимания ремизок может производиться полотняное переплетение, а за счет следующих друг за другом приподниманий тех же самых ремизок при их боковом смещении может производиться перевивочное переплетение.
Для образования зева перевивочного переплетения при закрытом зеве смещают вбок обычную ремизку, так что основные нити этой ремизки могут проводиться над игольчатыми остриями и основными нитями другой ремизки, которая представляет собой игольчатую ремизку.
Если теперь игольчатая ремизка, над игольчатыми остриями которой проведены основные нити второй ремизки, т.е. обычной ремизки, поднимается, то образуется зев перевивочного переплетения.
При образовании зева полотняного переплетения боковой сдвиг основных нитей прекращается; подъем ремизок осуществляется регулярно попеременно.
Из описанного процесса образования перевивочного и полотняного переплетения понятно, что имеется возможность изготовления ткани с чередующимся полотняным и перевивочным переплетением, т.е. сначала в ткани может образовываться полотняное, а затем перевивочное переплетение.
Однако не раскрывается, как внутри ткацкого цикла, т.е. от прибоя до прибоя батана, может производиться как ткань полотняного переплетения, так и ткань перевивочного переплетения.
Следовательно, не раскрывается, какие средства для одновременного изготовления подобного рода переплетений в ткани должны бы были предусмотрены.
Для изготовления ткани с перевивочными переплетениями и полотняными переплетениями из DE-PS 646462 известно устройство, которое имеет два расположенных друг над другом в одной плоскости игольчатых ложных бердо (игольчатых гребней).
Игольчатые ложные бердо управляются независимо друг от друга, вследствие чего имеется возможность во время работы ткацкого станка так изменять переплетение, что за одним или несколькими перевивочными переплетениями могут быть образованы также полотняные переплетения.
При этом в документе не раскрыто, как в ткани могут одновременно образовываться полотняные и перевивочные переплетения и какие средства для этого образования привлекаются.
Ткацкий станок для изготовления состоящей из стоевых, перевивочных и основных нитей ткани известен из DE 10128538.
В этом документе также не раскрыто, как при изготовлении ткани могут одновременно реализовываться полотняные и перевивочные переплетения.
Задачей изобретения является реализация в пределах одного ткацкого цикла полотняных и перевивочных переплетений в ткани без использования связанных с большими расходами зевообразующих средств.
Эта задача решается ткацким станком согласно пункту 1 или 3.
Посредством соответствующего изобретения ткацкого станка в пределах одного ткацкого цикла в изготавливаемой ткани могут одновременно образовываться полотняные переплетения и перевивочные переплетения.
При этом в варианте осуществления изобретения предусмотрено, что для образования полотняных переплетений служащие для образования нижнего зева и верхнего зева смежные друг с другом основные нити поочередно или попеременно поднимают одной и той же ламельно-игольчатой ремизкой из положения нижнего зева в положение верхнего зева и возвращают обратно в положение нижнего зева.
Одновременно с образованием зева полотняного переплетения той же самой ремизкой способствуют образованию перевивочного переплетения, а именно так, что известным образом поднимаются только основные нити, служащие для образования верхнего зева перевивочного переплетения.
При по существу поднятом зеве полотняного и перевивочного переплетения осуществляют, как само по себе известно, прокладку по меньшей мере одной уточной нити в зев. После этого проложенная уточная нить прибивается к кромке (опушке) ткани.
При прибое по меньшей мере одной уточной нити поднявшая основные нити для образования верхнего зева вторая ремизка проходит над концом зева в положение нижнего зева. Одновременно первая ремизка смещается поперек хода основных нитей, так что проходящие в первой ремизке основные нити осуществляют боковое возвратно-поступательное смещение относительно проходящих во второй ремизке основных нитей.
При боковом смещении основных нитей прежде образовавшие верхний зев полотняного переплетения основные нити теперь образуют нижней зев полотняного переплетения, в то время как основные нити первоначального нижнего зева полотняного переплетения привлекаются для образования нового верхнего зева полотняного переплетения, и одновременно первоначально служащие для образования верхнего зева перевивочного переплетения основные нити вновь привлекаются для образования верхнего зева перевивочного переплетения.
Этим раскрытым выше способом эксплуатации первой и второй ремизки в пределах одного ткацкого цикла одновременно реализуется полотняное переплетение и перевивочное переплетение.
В случае легких медицинских перевязочных материалов, например, которые сотканы в виде полосы в полотняном переплетении, для образования прочных опушек ткани можно отказаться от отдельных устройств для перевивочного переплетения, так как согласно соответствующему изобретению способу полотняное переплетение может осуществляться вместе по меньшей мере с одним перевивочным переплетением на опушках ткани полосы посредством лишь двух ремизок.
Для осуществления описанного выше процесса изготовления ткани предусмотрен ткацкий станок, который имеет средства для образования зева, средства для прокидки уточных нитей в образованном зеве и средства для прибоя прокинутых в зев уточных нитей к опушке изготавливаемой ткани.
Средства для образования зева состоят, как известно, из первой ламельно-игольчатой ремизки, которая соединена с приводом, который позволяет колебательное возвратно-поступательное поперечное основным нитям и вместе с тем поперечное плоскости ткани движение первой ремизки.
Далее средства для образования зева состоят из смежной с первой ремизкой второй ламельно-игольчатой ремизки, которая соединена с подходящим средством, которое соединено без возможности проворота с расположенным на удалении от вала батана ткацкого станка валом, и при этом привод этого вала производится от вала батана.
Для одновременного изготовления полотняных и перевивочных переплетений в ткани теперь в соответствии с изобретением предусмотрено, что на предназначенном для образования перевивочных переплетений участке рабочей ширины первой и второй ремизки между соответствующими двумя зафиксированными в верхнем и нижнем поясе первой и второй ремизки простыми ламелями предусмотрен соответствующий игольчатый ламель с ориентированными на расстоянии друг от друга нитенаправляющими глазками, и при этом на предназначенном для образования полотняных переплетений другом участке рабочей ширины первой и второй ремизок в первой ремизке, которая ближе всего находится к батану ткацкого станка, рядом друг с другом расположено множество дистанцированных друг от друга простых ламелей, причем во второй ремизке каждому четному или каждому нечетному стрежневому ламелю первой ремизки соответствует так называемый плечевой ламель с одно- или двухсторонним плечом.
В другом варианте осуществления изобретения плечевые ламели состоят из продольно-протяженных плоских, предпочтительно металлических тел, которые в соответствии с изобретением в области своей продольной протяженности имеют выступающее вбок первое и второе плечо, на котором для образования полотняного переплетения основная нить направляется из нижнего зева ткацкой основы в верхний зев и обратно из положения верхнего зева в положение нижнего зева.
При этом плечо может иметь специальную форму, так плечо может иметь желобообразную выемку, чтобы обеспечивать возможность надежного поднятия и опускания основной нити; несущая основную нить поверхность плеча может быть ровной и ориентированной под углом  90° к продольной протяженности (продольной оси плечевого ламеля).
Выступающие плечи могут быть соединены с продольно-протяженным телом посредством неразъемного соединения и образовывать угол  180°.
Также каждый плечевой ламель может состоять из первого продольно-протяженного плоского тела с отогнутым наружу из плоской стороны тела плечом и из образованного зеркально относительно первого тела второго тела. В таком случае оба тела соединены в верхнем и нижнем поясе ремизки так, что эти тела образуют плечевой ламель с направленными друг от друга плечами.
В другом варианте осуществления изобретения для образования ткани полотняного переплетения также каждый из четных или каждый из нечетных простых ламелей первой ремизки, а именно перемещающейся поперек, т.е. горизонтально, плоскости ткани ремизки, представляет собой плечевой ламель, который имеет по меньшей мере одно одностороннее плечо для поддерживания принимающих участие в образовании верхнего зева основных нитей полотняного переплетения. При этом поддерживающее основные нити полотняного переплетения плечо плечевого ламеля выполнено приблизительно в плоскости нитенаправляющего глазка игольчатого ламеля первой ремизки.
В предпочтительном варианте осуществления плечо выполнено в виде открытой вниз желобообразной выемки. В противоположность этому плечо плечевого ламеля второй ремизки выполнено в виде открытой вверх желобообразной выемки.
В другом варианте осуществления изобретения плечевой ламель выполнен в виде продольно-протяженного плоского, предпочтительно металлического тела, которое с одной стороны в области своей продольной протяженности имеет ориентированное против направления подачи ткацкой основы плечо.
Вместо плеча в соответствующем простом ламеле в соответствующей области его продольной протяженности может быть предусмотрена желобообразная выемка. При этом желобообразная выемка переходит в форму крюка.
Далее выемка может быть различной геометрической формы; существенно то, что соответствующая основная нить может захватываться посредством соответствующей выемки в простом ламеле первой ремизки и при образовании зева удерживаться в своей предварительно заданной позиции.
С помощью соответствующего изобретению решения впервые стало возможным на ткацком станке без дополнительных зевообразующего устройства, включая ремизки с галевами и подхватом, в пределах одного ткацкого цикла изготавливать ткань в полотняном и перевивочном переплетениях.
За счет исключения дополнительных ремизок в подобного рода ткацком станке может образовываться более короткий передний зев. При этом основные нити нижнего зева находятся в относительном покое, так что, например, на воздушно-сопловых ткацких станках не происходит перемещение нижнего зева далее под нижний носик проходящего в бердо прокладочного канала.
С помощью соответствующего изобретению решения предпочтительным образом также отказываются от поддерживателя для основных нитей в области заднего зева; зажимание основных нитей в области зевообразующего устройства полностью устранено и исключается образование ткани с дефектным полотняным переплетением.
Другие предпочтительные результаты изобретения следуют из формулы изобретения и из нижеследующих вариантов осуществления.
Далее изобретение поясняется более подробно посредством вариантов осуществления.
На прилагаемых чертежах показано:
Фиг.1 – ткацкий станок согласно изобретению в поперечном сечении и в схематичном виде;
Фиг.2 – ламельно-игольчатая ремизка в виде вертикально подвижного гребня в перспективе;
Фиг.3 – ламельно-игольчатая ремизка в виде поворотного гребня в перспективе;
Фиг.4 – фрагмент “Х” на фиг.3 в перспективе;
Фиг.5 – плечевой ламель с двусторонним плечом по фиг.3 на виде спереди;
Фиг.6 – разрез плечевого ламеля по линии А-А на фиг.5;
Фиг.7 – конструкция плечей плечевого ламеля по фиг.5;
Фиг.8 – плечевой ламель с плечом на виде сбоку по фиг.5;
Фиг.9 – процесс движения первой и второй ремизки при образовании первого зева перевивочного и полотняного переплетения;
Фиг.10 – процесс движения первой и второй ремизок при образовании второго зева перевивочного и полотняного переплетения;
Фиг.11 – существенные для соответствующего изобретению решения средства ткацкого станка на виде сбоку при подъеме основных нитей полотняного переплетения и перевивочного переплетения в положении верхнего зева;
Фиг.12 – существенные для соответствующего изобретению решения средства ткацкого станка по фиг.11 при опускании основных нитей полотняного переплетения и перевивочного переплетения из положения верхнего зева в положение нижнего зева;
Фиг.13 – схематический вид первой и второй ремизки по линии А-А на фиг.12, причем первая ремизка занимает левое реверсивное положение поперек плоскости ткани;
Фиг.14 – схематический вид по фиг.13, причем первая ремизка занимает правое реверсивное положение поперек плоскости ткани.
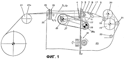
Схематично представленный на фиг.1 ткацкий станок осуществляет процесс движения, посредством которого основные нити 1L и 1D первого свода основных нитей находятся в нижнем зеве и побуждаются к горизонтальному перемещению поперек направления подачи первого и второго свода нитей основы, в то время как основные нити 2D второго свода основных нитей перемещаются только вертикально в верхний и нижний зев. Согласно этому ламельно-игольчатая ремизка 3 перемещается лишь поперек свода основных нитей, в то время как ламельно-игольчатая 4 с основными нитями 1L и 1D попеременно выполняет по существу вертикальное восходящее и нисходящее, т.е. вертикальное возвратно-поступательное, перемещение.
Прокладка уточной нити в прокладочном канале установленного на батане 6 бердо 5 происходит во временном интервале, в котором соответственно образован зев 7, т.е. ремизка 4 находится в своей показанной на фиг.1 позиции.
Прибой не представленной здесь уточной нити осуществляется в месте 8 переплетения ткани 9, например, в момент времени, в котором основные нити 1D изменяют свое положение поперек направления подачи сводов основных нитей или соответственно в горизонтальном направлении.
Таким процессом перемещения получают ткань в перевивочном переплетении 15 (см. фиг.9 и 10).
Согласно изобретению в пределах одного ткацкого цикла, т.е. от прибоя до прибоя батана, наряду с упомянутым выше перевивочным переплетением получают ткань 9 в полотняном переплетении 16 (см. фиг.9 и 10) с помощью тех же ремизок, как они требуются для перевивочного переплетения.
Для этого ремизки 4 наряду с обычными простыми ламелями 10 и так называемыми игольчатыми ламелями 11 с нитенаправляющими глазками 11а (см. фиг.3 и 4) имеют соответствующие изобретению плечевые ламели 12 с двусторонними или односторонними плечами 13а, 14а, как в частности показано на фиг.5-8.
Изготовленная ткань 9 согласно фиг.1 подводится через тканевый стол 17 и поворотный валик 18 к принимающему валику 19, от которого ткань за счет места зажима между принимающим валиком 19 и прижимным валиком 20 через два поворотных валика 21, 22 подается к не представленному товарному валику, на который она наматывается.
Упомянутые валики установлены с возможностью вращения в представленной в разрезе станине 23 станка, которая также несет тканевый стол 17.
Согласованные с валиками приводы сами по себе известны и дополнительно не представлены.
В области между точкой 24а скало 24 и ремизками 3, 4 основные нити 1L, 1D или соответственно 2L, 2D проходят через основонаблюдатель 25, расположенные на основных нитях 1L, 1D; 2L, 2D ламели 26 которого, так же как и основные нити 1L, 1D; 2L, 2D, беспрепятственно легко доступны сверху при обрыве основных нитей.
Батан 6 с бердо 5 через стойки 27 жестко соединен с установленным с возможностью поворота в станине 23 станка совершающим колебательное поворотное движение валом, так называемый валом 28 батана, вокруг оси поворота которого батан совершает обеспечивающее прибой уточной нити возвратно-поступательное движение.
Привод вала батана широко известен, так что дополнительные пояснения для него не требуются.
Принципиальная конструкция ремизок 3, 4 представлена на фиг.2 и 3.
Ремизки 3, 4 имеют нижний пояс 29 и верхний пояс 30. Оба пояса ремизок окружены рамкой, так называемой рамкой 31 ремизки.
Обе ремизки 3, 4 имеют множество расположенных дистанцировано друг от друга простых ламелей 10, соответствующие концы которых закреплены в верхнем и нижнем поясах 30, 29 ремизок.
Чтобы согласно соответствующему изобретению способу в ткани 9 могли одновременно образовываться полотняное переплетение 16 и перевивочное переплетение 15, как показано на фиг.9 и 10, на первом предусмотренном продольном участке рабочей ширины ремизок 4 между соответствующими двумя соседними простыми ламелями 10 в соответствии с изобретением предусмотрены так называемые плечевые ламели 12, а на втором предусмотренном продольном участке той же самой ремизки 4 между простыми ламелями 10 предусмотрены так называемые игольчатые ламели 11 с нитенаправляющими глазками 11а, которые лучше всего видны на фиг.3 и 4.
Кроме того, на идентичном первому продольному участку втором продольном участке рабочей ширины ремизки 3 между соответствующими двумя простыми ламелями 10 расположен игольчатый ламель 11 с нитенаправляющим глазком 11а.
При этом нитенаправляющие глазки 11а игольчатых ламелей 11 обеих ремизок 3, 4 ориентированы удаленно друг от друга.
Соответствующий изобретению плечевой ламель 12 представлен на фиг.5.
Плечевой ламель 12 выполнен из первого элементарного простого ламеля 13 с так называемым полуплечом 13а и второго элементарного простого ламеля 14 с полуплечом 14а.
Оба полуплеча 13а, 14а имеют в качестве временного носителя основных нитей желобообразную выемку.
На фиг.9 и 10 временное несущее основные нити 1L, 2L плечо выполнено в виде плоской грани. На фиг.7 плечи ориентированы под углом  90° к продольной протяженности ламеля 13, 14 так, что соответствующие основные нити 1L, 2L можно безопасно извлечь для зевообразования и в нижнем зеве можно надежно отвести от плеча.
Согласно разрезу А-А на фиг.6 оба плеча 13а, 14а могут образовывать угол <180° и при этом имеют такую длину L стороны угла, что с одной стороны исключается прилегающий контакт со смежными простыми ламелями 10, а с другой стороны имеется достаточно большой боковой зазор между плечом 13а, 14а и смежным простым ламелем 10 для взаимного поднятия и снятия нитей основы 1L, 2L.
Фиг.8 показывает вид сбоку плечевого ламеля 12 с желобообразной выемкой в плече 13а, 14а для основных нитей 1L или 2L.
Способ изготовления ткани с одновременным образованием из полотняного переплетения и перевивочного переплетения поясняется посредством фиг.9 и 10.
Схематично представленные на фиг.9 ремизки 3, 4 имеют, как пояснено выше, простые ламели 10 и игольчатые ламели 11 с нитенаправляющими глазками 11а.
Только ремизка 4 имеет дополнительные плечевые ламели 12.
Ремизка 3 осуществляет поперек направления подачи основных нитей 1L, 1D; 2L, 2D возвратно-поступательное движение. Возвратно-поступательное движение обозначено стрелкой 32.
Ремизка 4 осуществляет по существу вертикальное колебательное возвратно-поступательное движение, как обозначено стрелкой 33.
В свободные пространства между плечевыми ламелями 12 и простыми ламелями 10 ремизки 4, с одной стороны, и в свободные пространства между простыми ламелями ремизки 3, с другой стороны, пробираются основные нити 1L, 2L для образования полотняного переплетения 16. Соответствующая основная нить 1D пробирается в нитенаправляющий глазок 11а каждого игольчатого ламеля 11 ремизки 4, а соответствующая основная нить 2D пробирается в нитенаправляющий глазок 11а каждого игольчатого ламеля 11 ремизки 3, чтобы реализовать перевивочное переплетение.
При опускании ремизки 4 в нижний зев, согласно направлению направленной вниз двойной стрелки 33, которая соответствует на фиг.9 положению основных нитей 1L, 1D, и при одновременном поперечном перемещении ремизки 3 вправо в направлении двойной стрелки 32 соответствующие основные нити 2L посредством ламелей 10 укладываются на левое плечо 14а или соответственно правое плечо 13а плечевого ламеля 12. После этого ремизка 4 перемещается из положения нижнего зева в положение верхнего зева, вследствие чего основные нити 1L и 2L образуют зев полотняного переплетения.
Аналогичным образом все направляемые посредством нитенаправляющих глазков 11а основные нити 2D ремизки 4 перемещаются из положения нижнего зева в положение верхнего зева, вследствие чего основные нити 1D и 2D образуют зев перевивочного переплетения.
Затем в образованный зев 7 полотняного и перевивочного переплетения прокидывается уточная нить 34, прибивается посредством бердо 5 согласно фиг.1 к месту 8 переплетения и скрепляется при смене зева ремизки 4 из верхнего зева в нижний зев посредством основных нитей 2L и 2D.
Согласно фиг.10, когда ремизка находится в положении нижнего зева, посредством повторного поперечного перемещения ремизки 3 основные нити 1L полотняного переплетения укладываются на плечи 13а или соответственно 14а соответствующих плечевых ламелей 12, чтобы вновь обеспечить возможность образования полотняного переплетения и перевивочного переплетения.
В другом варианте осуществления изобретения средства для изготовления ткани с полотняным и перевивочным переплетениями согласно фиг.11 состоят из сматываемой с не представленного здесь навоя ткацкой основы, которая состоит из основных нитей 1L и 2L полотняного переплетения, а также из основных нитей 1D и 2D перевивочного переплетения.
Названные основные нити, исходя от места 8 переплетения ткани 9, по очереди пробираются в поворотно-перемещаемое вокруг центральной оси 28а вала 28 батана приводное бердо 5, в возвратно-поступательно перемещаемую поперек плоскости 35 ткани приводную первую ремизку 3 и в поворотно-перемещаемую вокруг центральной оси 36а расположенного на удалении от вала батана вала 36 поворотного рычага приводную вторую ремизку 4.
Как уже описано выше, первая ремизка 3 имеет множество простых ламелей 10, а на предусмотренных местах между соответствующими двумя простыми ламелями 10 игольчатый ламель 11 с нитенаправляющим глазком 11а (см. фиг.9 и 10).
Между простыми ламелями 10 первой ремизки 3 попеременно подняты основные нити 1L и 2L для образования ткани 9 полотняного переплетения, в то время как в каждом нитенаправляющем глазке 11а игольчатого ламеля 11 проходит основная нить 1D для образования ткани 9 перевивочного переплетения или для образования кромки, выполненной перевивочным переплетением, в качестве окончания участка ткани полотняного переплетения.
Соответственно этому вторая ремизка 4 также имеет множество простых ламелей 10, причем для образования полотняного переплетения между соответствующими двумя простыми ламелями 10 расположен так называемый плечевой ламель 12, который имеет плечо 13а, 14а для попеременного поднимания основной нити 1L или 2L. Также в ремизке 4 в предусмотренных местах между соответствующими двумя простыми ламелями 10 предусмотрен игольчатый ламель 11 с нитенаправляющим глазком 11а, причем эти игольчатые ламели 11 вместе с игольчатыми ламелями 11 с нитенаправляющим глазком 11а первой ремизки 3 формируют ткань 9 перевивочного переплетения или отдельные перевивочные переплетения.
В другом варианте осуществления изобретения теперь с целью предотвращения образования дефектной ткани 9 полотняного переплетения, причина которого заключается в зацепляющихся основных нитях в области задней части 7а зева, попеременно между каждым четным или каждым нечетным простым ламелем 10 первой ремизки 3 также расположен плечевой ламель 12, или соответственно соответствующий простой ламель образован в качестве плечевого ламеля 12, а именно с переходящей приблизительно в крюк желобообразной открытой вертикально вниз выемкой 13а, чтобы попеременно поддерживать основные нити 1L или 2L, если они не перемещаются в верхний зев при зевообразовании посредством второй ремизки 4 (см. фиг.11-14).
Средства для образования зева 7, сформированного из верхнего и нижнего зева, состоят здесь из второй ремизки 4 с уже упомянутыми простыми плечевыми и игольчатыми ламелями.
Ремизка 4 связана своим нижним пояском 4а на свободном конце по меньшей мере с одним поворотным рычагом 37, установленным без возможности проворота на валу 36 поворотного рычага.
Вал 36 поворотного рычага имеет соединительную накладку 38. Вал 28 батана также выполнен с соединительной накладкой 39. Обе соединительные накладки 38, 39 связаны через штангу 40.
На фиг.12 основные нити 2L и 2D проходят через вторую ремизку 4 в положение нижнего зева, т.е. располагаются под плоскостью 35 ткани. При этом положении за счет не представленного здесь привода первая ремизка 3, соответственно фиг.13 и 14, перемещается поперек плоскости 35 ткани согласно двойной стрелке 32 из своего крайне правого положения (см. фиг.14) в свое крайне левое положение (см. фиг.13). Соответственно этому первая ремизка 3 обуславливает то, что для образования нового зева полотняного переплетения проходящие в нижний зев основные нити 2L выводятся из выемки 13а плечевых ламелей 12 второй ремизки 4 и вводятся в выемку 13а плечевых ламелей 12 первой ремизки 3, в то время как удерживаемые в выемках 13а плечевых ламелей 12 первой ремизки 3 основные нити 1L выводятся наружу и направляются в выемку 13а плечевых ламелей 12 второй ремизки 4.
Ввиду того, что соответствующие простые ламели первой ремизки 3 выполнены в виде плечевых ламелей 12, а соответствующая основная нить 1L или 2L удерживается во время зевообразования, дефекты в полотняной ткани исключены.
Формула изобретения
1. Ткацкий станок для изготовления ткани, которая имеет как выполненные из уточных нитей (34) и основных нитей (1L, 2L) полотняные переплетения (16), так и выполненные из уточных нитей (34) и основных нитей (ID, 2D) перевивочные переплетения (15), причем ткацкий станок включает в себя
несущий бердо (5) батан (6), который осуществляет колебательно-поворотное движение вокруг продольной центральной оси (28а) вала (28) батана,
первую ламельно-игольчатую ремизку (3), которая связана с приводом (41), который обеспечивает колебательное возвратно-поступательное линейное перемещение ремизки поперек плоскости (35) ткани,
смежную с первой ремизкой (3) вторую ламельно-игольчатую ремизку (4), которая через подходящие средства (37) соединена без возможности проворота с расположенным на удалении от вала (28) батана ткацкого станка валом (36), который осуществляет колебательное поворотное движение вперед-назад вокруг своей центральной оси (36а),
отличающийся тем, что для изготовления перевивочного переплетения (15) между соответствующими двумя зафиксированными в верхнем поясе (30) и в нижнем поясе (29) первой и второй ремизки (3; 4) простыми ламелями (10) предусмотрен игольчатый ламель (11) с нитенаправляющим глазком (11а), и при этом для образования полотняного переплетения (16) в первой ремизке (3) простые ламели (10) расположены рядом друг с другом, причем во второй ремизке (4) каждому четному или каждому нечетному простому ламелю (10) первой ремизки (3) соответствует плечевой ламель (12) с односторонним или двухсторонним плечом (13а, 14а) для наложения по меньшей мере одной основной нити (1L, 2L).
2. Ткацкий станок по п.1, отличающийся тем, что несущая основные нити (1L, 2L) опорная поверхность плечей (13а, 14а) образована приблизительно в плоскости нитенаправляющих глазков (11а) второй ремизки (4).
3. Ткацкий станок для изготовления ткани, которая имеет как выполненные из уточных нитей (34) и основных нитей (1L, 2L) полотняные переплетения (16), так и выполненные из уточных нитей (34) и основных нитей (ID, 2D) перевивочные переплетения (15), причем ткацкий станок включает в себя
несущий бердо (5) батан (6), который осуществляет колебательно-поворотное движение вокруг продольной центральной оси (28а) вала (28) батана,
первую ламельно-игольчатую ремизку (3), которая связана с приводом (41), который обеспечивает колебательное возвратно-поступательное линейное перемещение ремизки поперек плоскости (35) ткани,
смежную с первой ремизкой (3) вторую ламельно-игольчатую ремизку (4), которая через подходящие средства (37) соединена без возможности проворота с расположенным на удалении от вала (28) батана ткацкого станка валом (36), который осуществляет колебательное поворотное движение вперед-назад вокруг своей центральной оси (36а), отличающийся тем, что для изготовления перевивочного переплетения (15) между соответствующими двумя фиксированными в верхнем поясе (30) и в нижнем поясе (29) первой и второй ремизки (3; 4) простыми ламелями (10) предусмотрен игольчатый ламель (11) с нитенаправляющим глазком (11а), и при этом для образования полотняного переплетения (16) в первой ремизке (3) простые ламели (10) расположены рядом друг с другом, причем во второй ремизке (4) каждому четному или каждому нечетному простому ламелю (10) первой ремизки (3) соответствует плечевой ламель (12) с односторонним или двусторонним плечом (13а, 14а) для наложения по меньшей мере одной основной нити (1L, 2L), причем для образования полотняного переплетения (16) также каждый из четных или также каждый из нечетных простых ламелей (10) ремизки (3) представляет собой плечевой ламель (12), который имеет по меньшей мере одно одностороннее противоположное направлению (42) подачи основных нитей (1L, 2L; ID, 2D) плечо с открытой вниз желобообразной выемкой в плече (13а; 14а) для поддержания основных нитей (1L) или основных нитей (2L).
4. Ткацкий станок по п.3, отличающийся тем, что поддерживающее основные нити (1L, 2L) плечо (13а; 14а) плечевого ламеля (12) выполнено приблизительно в плоскости нитенаправляющего глазка (11а) игольчатого ламеля (11) первой ремизки (3).
Приоритеты по пунктам:
по пп.1 и 2;
пп.3 и 4.
РИСУНКИ
|