|
|
(21), (22) Заявка: 2005128747/02, 16.09.2005
(24) Дата начала отсчета срока действия патента:
16.09.2005
(43) Дата публикации заявки: 27.03.2007
(46) Опубликовано: 27.06.2007
(56) Список документов, цитированных в отчете о поиске:
RU 2245381 С1, 27.01.2005. SU 929726 А, 26.05.1982. SU 984483 А, 04.01.1983. ЕР 0699625 А1, 06.03.1996. WO 89/02415 А1, 23.03.1989. JP 4037602 А, 07.02.1992. FR 2556333 А, 14.06.1985.
Адрес для переписки:
390023, г.Рязань, а/я 23, ООО “МАКНиТ”
|
(72) Автор(ы):
Карабанов Сергей Михайлович (RU), Трунин Евгений Борисович (RU), Трунина Ольга Евгеньевна (RU)
(73) Патентообладатель(и):
Общество с ограниченной ответственностью “Международная академическая корпорация науки и техники” (ООО “МАКНиТ”) (RU)
|
(54) УСТРОЙСТВО ДЛЯ ОЧИСТКИ ЖИДКОГО КРЕМНИЯ
(57) Реферат:
Изобретение относится к металлургии, химической технологии, получению металлов высокой чистоты, преимущественно кремния, устройствам для очистки жидких металлов электропереносом в поперечном магнитном поле. Техническим результатом изобретения является упрощение конструкции устройства очистки, повышение надежности и снижение энергозатрат. Устройство для очистки жидких металлов, преимущественно кремния, содержит нагреваемый объем с емкостями для исходного металла и очищенного металла, соединенными между собой каналом, электроды, расположенные в емкостях для исходного и очищенного металла. Канал выполнен в виде спирали, создающей магнитное поле в канале при пропускании тока. Канал может быть выполнен из проводящего материала (углерод, карбид кремния) и являться одновременно электродом, что упрощает конструкцию. 1 з.п. ф-лы, 1 ил.
Изобретение относится к металлургии, химической технологии, получению металлов высокой чистоты, преимущественно кремния, в частности к устройствам для очистки жидких металлов электропереносом в поперечном магнитном поле.
Известны устройства [1, 2], в которых имеется канал с электродами, помещенный в поперечное магнитное поле. По каналу протекает постоянный электрический ток. В магнитном поле ток создает поперечные движущие силы, которые приводят к поперечному переносу примесей и удалению их из объема металла. При увеличении длины канала возрастает производительность очистки. Производительность устройств очистки в поперечном магнитном поле в сотни – тысячи раз выше, чем обычный электроперенос. Указанные устройства очистки электропереносом в магнитном поле успешно применяются для получения высокочистых 99,99999% индия и галлия. Однако эти устройства не предназначены для проведения очистки жидких металлов с высокой температурой плавления, в том числе кремния (кремний в жидком состоянии является металлом).
Известно устройство [3] для очистки жидких металлов, преимущественно кремния, которое содержит нагреваемый объем с емкостями для исходного металла и для очищенного металла, соединенные между собой каналом, магнит для создания магнитного поля в канале. Недостатком данного устройства является наличие специального магнита с системой охлаждения и блоком питания.
Наиболее близким к заявляемому изобретению является устройство [4] очистки кремния электропереносом в магнитном поле, которое представляет собой нагреваемый объем с емкостями: для исходного металла, в которую осуществляется подзагрузка, и для очищенного металла, соединенными между собой каналом, помещенным в магнитное поле. Металл прокачивается через канал и вытекает из емкости для очищенного металла в кристаллизатор, где затвердевает. При прокачке металл проходит через область скрещенных электрического и магнитного полей. Электрический ток подводится электродами, расположенными в емкостях. Электроды погружены в жидкий кремний. Очищенный металл попадает в кристаллизатор через выпускное отверстие. Электрические и магнитные поля позволяют удалять примеси из объема кремния.
Однако при высоких температурах имеются трудности в подведении магнитного поля. Чем ближе расположены полюса магнита к каналу, через который пропускают электрический ток и жидкий металл, тем сильнее величина магнитной индукции в зазоре и действующие на примеси силы. С другой стороны, магнитные свойства сердечника из ферромагнитного металла, который нельзя нагревать выше температуры точки Кюри, при этом все ферромагнитные свойства теряются и магнитное поле уменьшается в сотни раз. Поэтому магниты приходится охлаждать водой. Охлаждение магнитов водой приводит к необходимости повышения мощности нагревателя, чтобы металл не закристаллизовался при температуре ниже 1420°С. При работе с жидким кремнием для разогревания канала применяют токи 1500-5000 А и напряжения до 100 В. А охлаждение вызывает необходимость увеличивать ток, то есть мощность трансформатора, величину подводящих медных шин, что увеличивает эксплуатационные расходы на электроэнергию.
Задача предлагаемого изобретения заключается в обеспечении работоспособности устройства очистки жидких металлов электропереносом в поперечном магнитном поле без наличия специального магнита и блока питания, что делает устройство более экономичным и удобным в работе.
Предлагается:
1. Устройство для очистки жидкого кремния от примесей электропереносом в магнитном поле, содержащее нагреваемые емкости для исходного металла и очищенного металла с расположенными в них электродами и соединенные между собой нагреваемом каналом, отличающееся тем, что канал выполнен в виде спирали для создания магнитного поля в нем при пропускании тока.
2. Устройство по п.1, отличающееся тем, что стенки канала выполнены из проводящего материала.
Спиральный канала в устройстве для очистки жидких металлов выполняет несколько функций:
– ограничивает очищаемый жидкий металл в определенной геометрии и обеспечивает протекание жидкого металла;
– создает возможность получения магнитного поля достаточной величины в соленоиде, которым является канал, выполненный в виде спирали, и одновременно обеспечивает возможность существования скрещенных перпендикулярных электрического и магнитного полей.
Поэтому такое устройство:
– является эффективным устройством очистки жидких металлов;
– является нагревательным элементом нагреваемого объема, в котором расположены емкости для исходного и очищенного металла;
– канал может быть выполнен из проводящего материала (углерод, карбид кремния) и являться одновременно электродом, что упрощает конструкцию.
Заявляемое устройство имеет параметры, обеспечивающие плавление и поступление кремния в емкость для исходного металла. Уровень кремния в режиме работы обеспечивает контакт электродов в сообщающихся емкостях с жидким кремнием и протекание тока по каналу с жидким кремнием. Высота расположения выпускного отверстия обеспечивает дальнейшее прохождение очищенного металла после накопления его до некоторого уровня. В системе должно быть некоторое количество металла, обеспечивающего нормальную работу устройства. Магнитное поле в канале создается самим каналом, который является соленоидом. Критерием эффективной работы устройства по очистке жидких металлов (кремния) является наличие достаточной поперечной силы, действующей как на примеси, так и на жидкий металл. Величина поперечной силы [1, 2] на эффективный объем v зависит от произведения плотности тока J на величину магнитного поля В

При величине магнитного поля 0,1 Тл и при плотности тока 25 А/см сила магнитного поля равна по величине силе тяжести, а при больших плотностях тока она может значительно превосходить силу тяжести. Магнитное поле, создаваемое электрическим током I (5000 А), например, в n (20) витках устройства очистки примерно составляет [5]

где в данном случае  о=4 /10000000 Гн/м – магнитная постоянная.
Тогда величина магнитной индукции В составит примерно 0,1 Тл. А для создания эффективного силового воздействия на жидкий металл при больших токах бывает достаточно и 0,01 Тл, то есть достижение результата не вызовет технических сложностей.
Электроды, обеспечивающие прохождение тока, изготовлены из материалов не загрязняющих расплавленный металл. Кристаллизаторы для приема очищенного металла не загрязняют очищенный металл. Кристаллизаторы могут быть охлаждаемыми, иметь специальные покрытия. Кристаллизаторы могут заменяться по мере их наполнения.
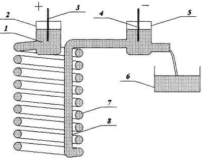
Заявляемое устройство для очистки жидких металлов, преимущественно кремния, представлено на чертеже.
Устройство для очистки жидких металлов, преимущественно кремния, содержит: 1 – очищаемый металл, 2 – емкость для исходного металла, 3, 4 – электроды, 5 – емкость для очищенного металла, 6 – кристаллизатор для очищенного металла, 7 – канал, выполненный в виде спирали, 8 – нагреваемая соединительная трубка.
Устройство работает следующим образом.
Очищаемый кремний 1 поступает в емкость 2 и проходит через канал 7 и соединительную трубку 8 в емкость 5 для очищенного металла. В канале через расплавленный металл проходит электрический ток и создает в нем векторное магнитное поле, направленное вдоль оси соленоида (спирального канала) по правилу буравчика в соответствии с законом Био-Савара-Лапласа. Электрический ток в витках соленоида направлен по направлению спирального канала в направлении перпендикулярном магнитному полю. Векторное произведение электрического тока и магнитного поля создают в жидком металле силу, действующую в перпендикулярном к векторам тока и магнитного поля направлениям по правилу левой руки в соответсвтвии законом Ампера. В это время на примеси действуют силы [1, 2], направленные поперек канала. Примеси выводятся из объема металла и оседают на стенках канала. Таким методом эффективно удаляются микровключения посторонних частиц и примеси металлов.
Источники информации
1. Трунин Е.Б. Перенос примесей в жидких металлах при протекании тока в поперечном магнитном поле. Высокочистые вещества, 1988, №1, с.77-80.
2. Трунин Е.Б., Трунина О.Е. Получение индия и галлия высокой чистоты методом электропереноса в магнитном поле. Неорганические материалы, 2003, Т.39, №8, с.798-802.
3. Патент №2245381. Устройство для очистки жидких металлов преимущественно кремния. Карабанов СМ., Трунин Е.Б., Трунина О.Е.
4. Karabanov S.M., Trunin E.В., Prikhodko V.V. Study of solar-grade silicon production technology by the method of carbothermic reduction. Proceeding of the Seventinth European Photovoltaic Solar Energy Conference. s.77-79. Munich, Germany, 22-26 October 2001.
5. Яворский Б.М., Детлаф А.А. Справочник по физике. М.: Наука, 1968 г.
Формула изобретения
1. Устройство для очистки жидкого кремния от примесей электропереносом в магнитном поле, содержащее нагреваемые емкости для исходного металла и очищенного металла с расположенными в них электродами и соединенные между собой нагреваемым каналом, отличающееся тем, что канал выполнен в виде спирали, создающей магнитное поле в нем при пропускании тока.
2. Устройство по п.1, отличающееся тем, что стенки канала выполнены из проводящего материала.
РИСУНКИ
MM4A – Досрочное прекращение действия патента СССР или патента Российской Федерации на изобретение из-за неуплаты в установленный срок пошлины за поддержание патента в силе
Дата прекращения действия патента: 17.09.2007
Извещение опубликовано: 27.01.2009 БИ: 03/2009
|
|