|
|
(21), (22) Заявка: 2005132303/02, 24.02.2004
(24) Дата начала отсчета срока действия патента:
24.02.2004
(30) Конвенционный приоритет:
20.03.2003 JP 2003-078225
(43) Дата публикации заявки: 10.02.2006
(46) Опубликовано: 27.06.2007
(56) Список документов, цитированных в отчете о поиске:
JP 2002-339009 А, 27.11.2002. JP 2003-073722 А, 12.03.2003. WO 01/73137 A3, 04.10.2001. JP 10-036148 А, 10.02.1998.
(85) Дата перевода заявки PCT на национальную фазу:
20.10.2005
(86) Заявка PCT:
JP 2004/002139 (24.02.2004)
(87) Публикация PCT:
WO 2004/083463 (30.09.2004)
Адрес для переписки:
129010, Москва, ул. Б.Спасская, 25, стр.3, ООО “Юридическая фирма Городисский и Партнеры”, пат.пов. Г.Б. Егоровой, рег.№ 513
|
(72) Автор(ы):
ИТО Сузо (JP), ЦУГЕ Осаму (JP)
(73) Патентообладатель(и):
КАБУСИКИ КАЙСЯ КОБЕ СЕЙКО СЕ (JP)
|
(54) СПОСОБ ПОЛУЧЕНИЯ ГРАНУЛИРОВАННОГО МЕТАЛЛИЧЕСКОГО ЖЕЛЕЗА
(57) Реферат:
Изобретение относится к получению металлического железа в виде гранул в результате восстановления в печи с подвижным подом сырьевой смеси, включающей содержащее оксид железа вещество, например железную руду, и углеродсодержащий восстановитель. Количества СаО-, MgO- и SiO2-содержащих веществ, содержащихся в подаваемой смеси, регулируют таким образом, что образуется шлак основностью в виде (CaO+MgO)/SiO2, равной от 1,3 до 2,3. Содержание MgO в шлаке находится в диапазоне от 5 до 13 мас.% в зависимости от состава шлака. Полученные гранулы металлического железа имеют пониженное содержание серы. 8 з.п. ф-лы, 6 ил., 4 табл.
Область техники
Изобретение относится к способу получения гранулированного металлического железа, в частности к усовершенствованному способу эффективного получения высококачественного гранулированного металлического железа с высокой производительностью с одновременным снижением концентрации серы до возможно более низкого уровня благодаря применению углеродного материала, такого как уголь, в соответствии со способом, согласно которому смесь сырья или его прессовку, включающую содержащее оксид железа вещество, такое как железная руда или т.п., и углеродсодержащий восстановитель, такой как углеродный материал или т.п., подвергают твердофазному восстановлению путем нагревания в печи с подвижным подом с восстановительной атмосферой, при этом отделяют получаемое металлическое железо от образующегося шлака таким образом, что полученное металлическое железо концентрируется в виде частиц и затвердевает при охлаждении, после чего получение гранулированного металлического железа считается завершенным.
Описание области техники, к которой относится изобретение
В последнее время большое внимание уделяется способу получения гранулированного металлического железа, разрабатываемого как относительно мелкомасштабный способ получения железа, согласно которому смесь, включающую содержащее оксид железа вещество (источник железа), такое как железная руда или т.п., и углеродсодержащий восстановитель, такой как уголь или т.п., монометаллическую неспеченную прессовку, полученную путем прессования вышеупомянутой смеси, или углеродсодержащую многослойную прессовку в виде окатышей, брикетов или т.п., подвергают твердофазному восстановлению в печи с подвижным подом с восстановительной атмосферой, при этом отделяют получаемое металлическое железо от образующегося шлака и обеспечивают концентрирование полученного металлического железа, а затем отверждают полученное металлическое железо охлаждением, после чего получение гранулированного металлического железа считается завершенным.
Авторы настоящего изобретения продолжили поиск усовершенствованного способа снижения количества серы, содержащейся в гранулированном металлическом железе, полученном согласно вышеупомянутому способу, в результате которого установили, что существенная десульфурация может быть обеспечена способом, в соответствии с которым подходящее количество содержащего Са вещества, оказывающего десульфурирующее действие благодаря высокому сродству к сере, например СаСО3, дополнительно добавляют к сырьевой смеси, включающей уголь, служащий в качестве углеродсодержащего восстановителя, а также содержащей оксид железа, и вышеупомянутую сырьевую смесь подвергают восстановлению и плавлению путем нагревания, при этом соответствующим образом контролируя температуру нагревания, состав атмосферного газа и т.п. Однако потребность в дальнейшей десульфурации возрастает.
СУЩНОСТЬ ИЗОБРЕТЕНИЯ
Соответственно, целью настоящего изобретения является создание способа получения высококачественного гранулированного металлического железа с высокой производительностью и при этом снижения концентрации серы до возможно более низкого уровня, что является результатом получения гранулированного металлического железа с применением способа, согласно которому сырьевую смесь или прессовку, включающую содержащее оксид железа вещество и углеродсодержащий восстановитель, нагревают в печи с подвижным подом с восстановительной атмосферой или т.п. таким образом, что содержащее оксид железа вещество подвергается твердофазному восстановлению углеродсодержащим восстановителем, особенно при использовании угля или т.п. в качестве углеродного материала.
Для достижения вышеописанной цели с помощью способа получения гранулированного металлического железа согласно настоящему изобретению, в соответствии с которым смесь сырья, включающую содержащее оксид железа вещество и углеродсодержащий восстановитель, подают на под печи с подвижным подом с восстановительной атмосферой для нагревания, оксид железа, содержащийся в сырьевой смеси, восстанавливают углеродсодержащим восстановителем, а полученное металлическое железо концентрируют в виде частиц во время их отделения от образовавшегося шлака, затем полученное металлическое железо охлаждают с целью отверждения, после чего получение гранулированного металлического железа считается завершенным; количество CaO-содержащего вещества, MgO-содержащего вещества и SiO2-содержащего вещества, содержащегося в сырьевой смеси, регулируют таким образом, что основность образующегося шлака (СаО+MgO)/SiO2 во время процесса составляет от 1,3 до 2,3, а концентрация MgO – от 5 до 13 мас.% в составе шлака и зависит от концентрации каждого из компонентов СаО, MgO и SiO2 в сырьевой смеси.
В соответствии с вышеупомянутым способом получения согласно настоящему изобретению MgO-содержащее вещество предпочтительно дополнительно смешивают с сырьевой смесью таким образом, чтобы обеспечить нужную основность шлака и концентрацию MgO. В большинстве случаев в качестве MgO-содержащего вещества используют сырой доломит. Более того, в некоторых случаях сырьевая смесь предпочтительно дополнительно содержит подходящее количество CaF2-содержащего вещества, что дает преимущества при регулировании текучести образующегося шлака. В таком случае концентрация CaF2-содержащего вещества в сырьевой смеси предпочтительно составляет от 0,2 до 2 мас.%.
В соответствии с вышеупомянутым способом согласно настоящему изобретению углеродсодержащий порошок предпочтительно подают таким образом, чтобы он был распределен по поду слоем толщиной от 2 мм до 7,5 мм до подачи сырьевой смеси в печь с подвижным подом с восстановительной атмосферой, обеспечивая поддержание высокого восстановительного потенциала в печи, благодаря действию вышеупомянутого углеродсодержащего порошка тем самым улучшая десульфурацию и получая в результате гранулированное металлическое железо с низкой концентрацией серы, а также повышая выход металлического железа. Следует отметить, что процесс получения предпочтительно осуществляют в печи с подвижным подом с восстановительной атмосферой при рабочей температуре от 1250 до 1550°С.
Таким образом, согласно вышеописанному способу получения, в соответствии с которым сырьевую смесь, включающую содержащее оксид железа вещество и углеродсодержащий восстановитель, подвергают нагреванию и восстановлению в печи с подвижным подом с восстановительной атмосферой, такой как вращающаяся нагревательная подовая печь с восстановительной атмосферой, таким образом, чтобы получить гранулированное металлическое железо, подходящее количество Mg-содержащего вещества, в качестве шлакообразующего, энергично вводят в упомянутую сырьевую смесь таким образом, что как основность (СаО+MgO)/SiO2 полученного шлака, так и содержание MgO относительно состава шлака имели подходящие диапазоны значений, подавляя повышение концентрации серы в полученном гранулированном металлическом железе, неизбежно происходящего из-за использования угля, кокса или т.п., используемого в качестве углеродного материала, тем самым обеспечивая получение высококачественного гранулированного металлического железа, содержащего небольшое количество серы, с высокой производительностью.
КРАТКОЕ ОПИСАНИЕ ЧЕРТЕЖЕЙ
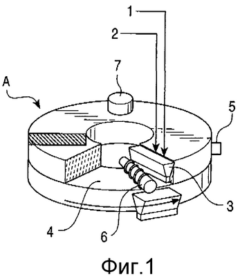
Фиг.1 представляет схематичное изображение, показывающее пример печи с подвижным подом с восстановительной атмосферой, используемой в способе согласно настоящему изобретению;
Фиг.2 представляет диаграмму, показывающую связь между основностью шлака (СаО+MgO)/SiO2 и температурой плавления шлака, полученными в результате испытаний, на которой кривая (i) представляет способ с использованием только известняка для регулирования основности шлака в смеси, а кривая (ii) представляет способ с использованием как известняка, так и доломита;
Фиг.3 представляет диаграмму, показывающую связи между основностью шлака (С+M)/S и температурой плавления шлака, полученными в результате других испытаний, на которой кривая (i) представляет способ с использованием только известняка для регулирования основности шлака в смеси, а кривая (ii) представляет способ с использованием как известняка, так и доломита;
Фиг.4 представляет диаграмму, показывающую связи между концентрацией MgO в шлаке и коэффициентом распределения серы (S)/[S] при использовании доломита для регулирования основности шлака, на которой белые кружочки представляют результаты испытаний при использовании железной руды А, а сплошные кружочки представляют результаты испытаний при использовании железной руды В;
Фиг.5 представляет диаграмму, показывающую связь между основностью шлака (С+M)/S и коэффициентом распределения серы (S)/[S], полученным в результате испытания;
Фиг.6 представляет диаграмму, показывающую связь между основностью шлака (С+M)/S и коэффициентом распределения серы (S)/[S], полученными в результате другого испытания.
ОПИСАНИЕ ПРЕДПОЧТИТЕЛЬНЫХ ВАРИАНТОВ ОСУЩЕСТВЛЕНИЯ ИЗОБРЕТЕНИЯ
Фиг.1 представляет схематическое изображение, показывающее пример печи с подвижным подом с восстановительной атмосферой, при этом в соответствии со способом согласно настоящему изобретению используют печь с вращающимся подом.
В печь А с вращающимся подом с восстановительной атмосферой загружают смесь материалов (в виде уплотненной монометаллической неспеченной прессовки или такой прессовки, как окатыш, брикет или т.п.) 1, полученную из содержащего оксид железа вещества, углеродсодержащего агента и, при необходимости, содержащую CaO, MgO, SiO2 или т.п., содержащихся в виде матричного компонента или зольного компонента, кроме того загружают связующее и гранулированное углеродсодержащее вещество 2, при этом загрузку на вращающийся под 4 осуществляют непрерывно через бункер 3 для подачи материала таким образом, чтобы добиться распределения по поду.
Более конкретно, перед загрузкой смеси материалов 1 через бункер 3 для загрузки материалов подают порошкообразный углеродсодержащий материал 2 таким образом, чтобы он оказался распределенным по вращающемуся поду 4, после чего подают смесь материалов 1 таким образом, чтобы она покрывала вышеупомянутый порошкообразный углеродсодержащий материал 2. Несмотря на то что описание включает ссылку на чертеж примера, согласно которому смесь материалов 1 и углеродсодержащее вещество 2 подают через общий бункер 3 для загрузки материалов, нет необходимости говорить о том, что может быть использовано устройство, в котором смесь материалов 1 и углеродсодержащее вещество 2 подают через два или более бункеров 3. С другой стороны, подача углеродсодержащего вещества 2 таким образом, чтобы оно было распределено по поду, что заметно повышает уровень десульфурации, а также уровень восстановления, как описано ниже, в некоторых случаях может отсутствовать.
Вращающийся под 4 печи А с восстановительной атмосферой обычно вращается против часовой стрелки, а продолжительность цикла составляет от 8 до 16 минут в зависимости от рабочих условий, при этом на протяжении цикла оксид железа, содержащийся в смеси материалов 1, восстанавливается в твердом виде и концентрируется в виде частиц благодаря снижению температуры плавления, вызванному науглероживанием, а также отделением полученного металлического железа от образовавшегося шлака, после чего получение гранулированного металлического железа завершено. Следует отметить, что печь А с восстановительной атмосферой содержит большое количество горелок 5, размещенных на верхней боковой стенке и/или потолочной части по отношению к вращающемуся поду 4 таким образом, чтобы обеспечивать под теплотой сгорания или теплотой лучеиспускания от упомянутых горелок 5.
Смесь материалов 1, подаваемую на вращающийся под 4, изготовленный из огнеупорного материала, нагревают при помощи теплоты сгорания или теплоты лучеиспускания от горелок 5 во время ее ротационного движения в восстановительной печи А на вращающемся поде 4, при этом оксид железа, содержащийся в смеси материалов 1, восстанавливается в твердом состоянии, проходя через полосу нагревания в восстановительной печи А, после чего образующееся металлическое железо концентрируется в виде частиц, размягчаясь благодаря науглероживанию под действием оставшегося углеродсодержащего восстановителя, а также отделения полученного металлического железа от образовавшегося расплавленного шлака, затем полученное металлическое железо отверждают путем охлаждения в следующей зоне вращающегося пода 4, после чего полученное металлическое железо сгружают с пода при помощи разгрузочного устройства 6, такого как шнек. Следует отметить, что цифрой 7 обозначен канал для отработанного газа.
С другой стороны, печь с вращающимся подом с восстановительной атмосферой, имеющая большой размер, обычно применяемая на практике, имеет такую конструкцию, при которой газообразное топливо, например природный газ, сжигают в большом количестве горелок, расположенных над вращающимся подом таким образом, чтобы обеспечивать теплоту сгорания, необходимую для восстановления и плавления смеси материалов, подаваемых на под. Однако окислительный газ, такой как СО2, Н2О и т.п., содержащийся в отработанном газе, образовавшемся в результате вышеописанного сгорания, влияет на состав атмосферного газа, окружающего смесь материалов, что приводит к существенным затруднениям при поддержании высокого восстановительного потенциала атмосферного газа, представляющего собой (СО+Н2)/(СО+СО2+Н2+Н2О), во многих случаях также сокращаемого до СО/(СО+СО2).
В результате восстановления оксида железа, содержащегося в смеси материалов, в целом завершенного на вращающемся поде на стадии нагревания и восстановления, получают восстановленное железо, соответствующее чистому железу. Более того, частицы восстановленного железа, полученные на стадии нагревания и восстановления, быстро науглероживаются благодаря оставшемуся углеродсодержащему восстановителю, содержащемуся в смеси материалов. В результате температура их плавления сильно снижается благодаря повышенному содержанию углерода в восстановленном железе, что обеспечивает плавление при заранее заданной температуре атмосферы (например, от 1350 до 1500°С), а также концентрацию мелких частиц восстановленного железа, при этом металлическое железо получают в виде крупных гранул. На стадии плавления и концентрации компоненты шлака, содержащиеся в смеси материалов, также подвергают плавлению и концентрации в процессе их отделения от металлического железа.
В таком случае, если смесь материалов или окружающий ее атмосферный газ имеет достаточный восстановительный потенциал, серный компонент, содержащийся в угле, коксе или т.п.и выполняющий роль углеродсодержащего восстановителя, добавляемого к смеси материалов, связывается в виде CaS благодаря компоненту СаО, содержащемуся в шлаке, при этом серный компонент отделяют вместе со шлаком.
Однако авторы настоящего изобретения установили, что если атмосферный газ имеет недостаточный восстановительный потенциал во время восстановления и плавления, то происходит взаимодействие CaS и FeO, каждый из которых находится в равновесном состоянии, что вызывает затруднение, заключающееся в том, что серный компонент легко абсорбируется расплавленным гранулированным металлическим железом с образованием FeS. Соответственно, авторы настоящего изобретения провели интенсивные исследования по разработке способа поддержания высокого уровня восстановительного потенциала атмосферного газа, окружающего такую смесь материалов.
В результате был разработан следующий способ. Вначале на под печи с восстановительной атмосферой предварительно загружают слой углеродсодержащего порошка, а затем смесь материалов таким образом, чтобы покрыть вышеупомянутый слой углеродсодержащего порошка (в дальнейшем называемый «слоем углеродсодержащего порошка, распределенного по поду»), после чего осуществляют нагревание и восстановление. Вышеописанный способ позволяет поддерживать высокий восстановительный потенциал атмосферного газа, окружающего такую смесь материалов, а также эффективно осуществлять реакцию восстановления и плавления в течение короткого периода времени, составляющего от 10 до 16 минут, который является периодом цикла вращения пода печи с восстановительной атмосферой, тем самым относительно улучшая десульфурацию.
Однако, как указано выше, вышеописанные действия, осуществляемые в печи с вращающимся подом с восстановительной атмосферой практического масштаба, обеспечивают недостаточную десульфурацию, необходимую для устойчивого получения гранулированного металлического железа с содержанием серы 0,05% или менее, и, соответственно, существует потребность в разработке способа дальнейшего уверенного снижения содержания серы в гранулированном металлическом железе. Соответственно, в результате интенсивных исследований авторы настоящего изобретения разработали способ согласно данному изобретению, в соответствии с которым в шлаке содержится подходящее количество MgO, а его основность (СаО+MgO)/SiO2 на основе концентрации СаО, MgO и SiO2, содержащихся в смеси материалов, контролируют соответствующим образом, обеспечивая более эффективную десульфурацию на стадии восстановления и плавления, тем самым заметно улучшая качество получаемого гранулированного металлического железа.
Конкретно, согласно данному варианту загружаемые количества вышеупомянутых СаО и MgO регулируют таким образом, что основность (СаО+MgO)/SiO2 шлака соответствует диапазону от 1,3 до 2,3, а концентрация MgO составляет от 5 до 13% в зависимости от вида и количества матричного компонента, содержащегося в оксиде железа (железная руда или т.п.), а также от вида и количества зольного компонента, содержащегося в углеродсодержащем восстановителе (уголь, порошок кокса или т.п.), содержащегося в смеси материалов, и, более того, в некоторых случаях, от вида и количества пустой породы, содержащегося в СаО-содержащем веществе или MgO-содержащем веществе, которое может быть добавлено дополнительно, и от вида и количества зольного компонента, содержащегося в углеродсодержащем порошке, который может быть загружен таким образом, чтобы быть распределенным по поду. Это приводит к устойчивой и высокой десульфурации, тем самым обеспечивая получение гранулированного металлического железа с пониженным содержанием серы.
Следует отметить, что для поддержания основности (СаО+MgO)/SiO2 шлакового компонента шихты в диапазоне от 1,3 до 2,3, количество загружаемого СаО-содержащего вещества или MgO-содержащего вещества, добавляемых отдельно от смеси материалов, устанавливают исходя из матричного компонента, содержащегося в железной руде или т.п., загружаемой в качестве содержащего оксид железа вещества, состава и содержания зольного компонента, содержащегося в угле, коксе или т.п., загружаемого в качестве углеродсодержащего восстановителя, и, более того, в некоторых случаях, из состава и содержания зольного компонента, содержащегося в углеродсодержащем порошке, который может быть загружен таким образом, чтобы быть распределенным по поду.
Несмотря на то что виды СаО-содержащего вещества и MgO-содержащего вещества конкретно не ограничены, в наиболее общих случаях используют оксид кальция или СаСО3 в качестве Са-содержащего вещества, а в качестве MgO-содержащего вещества предпочтительно используют вещество, полученное из природной руды, в том числе доломита или морской воды. Более того, способ добавления, используемый в данном варианте, не ограничен конкретным способом, при этом дополнительные вещества могут быть добавлены к смеси материалов на стадии ее предварительной подготовки, либо дополнительные вещества подают на вращающийся под предварительно вместе или отдельно от вышеупомянутого углеродсодержащего порошка, подаваемого таким образом, чтобы быть распределенным по вращающемуся поду, либо дополнительные вещества добавляют отдельно от смеси материалов из верхней части одновременно или после загрузки смеси материалов и т.д.
С другой стороны, было подтверждено, что отношение содержания серы в расплавленном шлаке к содержанию серы в расплавленном железе (восстановленном железе), в дальнейшем называемого «коэффициентом распределения серы (S)/[S]», в большой степени также зависит от основности шлака, образующегося при получении металлического железа известными способами. Однако несмотря на то, что удаление серы в способе получения гранулированного металлического железа с применением вращающейся подовой печи с восстановительной атмосферой согласно настоящему изобретению внешне похоже на известные способы, его механизм в настоящем изобретении существенно отличается от механизма известных способов.
Иными словами, при распределении серы при обычном получении чугуна или стали коэффициент распределения серы (S)/[S] зависит от ее равновесия, что, в свою очередь, зависит от состава расплавленного шлака на поверхности расплавленного железа, состава расплавленного железа и атмосферы.
С другой стороны, в соответствии со способом получения гранулированного металлического железа с применением вращающейся подовой печи с восстановительной атмосферой согласно настоящему изобретению оксид железа в смеси материалов восстанавливают при помощи углеродсодержащего восстановителя в твердом состоянии при температуре, составляющей приблизительно от 1250 до 1550°С. Таким образом, оксид железа раскисляют с получением восстановленного железа.
Соответственно, большая часть угля или кокса, содержащегося в смеси материалов, расходуется на стадии твердофазного восстановления. С другой стороны, в то время как часть серы, содержащейся в угле или т.п., испаряется в атмосферу, большая ее часть абсорбируется матричным компонентом или зольным компонентом, содержащимся в смеси материалов, либо СаО или т.п., содержащимся в добавляемом материале, что приводит к удерживанию серы в смеси материалов в виде CaS.
Более того, после завершения в целом твердофазного восстановления восстановленные мелкие частицы железа в смеси материалов подвергаются быстрому науглероживанию оставшимся углеродсодержащим веществом, т.е. углеродом (С), что, как ясно показано на фазовой диаграмме Fe-C, приводит к снижению температуры плавления восстановленного железа. В результате было установлено, что восстановленное железо, подвергнутое науглероживанию, плавится даже при температуре, например, 1500°С или менее или даже при температуре 1350°С или менее, при этом мелкие частицы восстановленного железа концентрируются, что приводит к увеличению размера частиц гранулированного металлического железа.
Более того, на стадии науглероживания и концентрации восстановленного железа компоненты шлака (оксиды металлов, такие как СаО, SiO2, Al2O3, MgO и т.п., которые не были восстановлены из-за высокой степени их сродства с кислородом) полностью или частично плавятся, а образующийся расплавленный шлак также концентрируется, в целом обеспечивая завершение отделения шлака от гранулированного металлического железа, сконцентрированного благодаря плавлению и цементированию.
В любом случае на вышеописанной стадии науглероживания и концентрации восстановленного железа и образующегося шлака сильное влияние на серу (S), в основном связанную СаО в шлаке с образованием CaS, оказывает восстановительный потенциал атмосферного газа, окружающего смесь материалов, даже при сохранении такого же состава шлака. Например, было подтверждено, что при значении восстановительного потенциала [CO/(CO+CO2)] атмосферного газа около 0,7 или менее некоторое или существенное количество серы, связанной в виде CaS, мигрирует в восстановленное железо, образуя FeS.
Соответственно, с целью уменьшения серного компонента (S), содержащегося в гранулированном металлическом железе, полученном с применением способа согласно настоящему изобретению, т.е. с целью улучшения действительной десульфурации, очень важно стабильно удерживать серный компонент (S), связанный в виде CaS в шлаке, таким образом, чтобы предотвратить миграцию серы по направлению к восстановленному железу. Соответственно, важно поддерживать основность шлака на конечной стадии на как можно более высоком уровне, а также поддерживать высокий восстановительный потенциал атмосферного газа.
В способе восстановления и плавления согласно настоящему изобретению железо предпочтительно не получают при температуре атмосферы 1550°С или более в отличие от известных печей для получения железа или стали, в которых восстанавливают расплавленное железо, с точки зрения оборудования и работы вращающейся печи с восстановительной атмосферой; в таком случае железо предпочтительно получают при температуре атмосферы около 1550°С или менее, более предпочтительно – при температуре атмосферы около 1500°С или менее. Однако повышение основности шлака, образующегося на вышеописанной стадии восстановления и плавления, до величины 2, 3 или более заменяет концентрирование восстановленного железа, а также повышает температуру плавления шлака, что приводит к замедлениюнию отделения шлака. Это вызывает затруднения с получением крупных частиц гранулированного металлического железа с высоким выходом, что противоречит цели настоящего изобретения.
Как указано выше, согласно данному варианту состав материала регулируют таким образом, что основность (СаО+MgO)/SiO2), обозначение которой в дальнейшем также сокращено до «(С+M)/S», находится в диапазоне от 1,3 до 2,3, при этом сохраняя концентрацию MgO, содержащегося в шлаке, в диапазоне от 5 до 13%, что приводит к существенному улучшению коэффициента распределения серы (S)/[S] между шлаком и гранулированным металлическим железом, получаемым на конечной стадии, и тем самым сильно снижает содержание серы [S] в гранулированном металлическом железе. Основания для вышеупомянутых подходящих диапазонов основности шлака (С+M)/S и содержания MgO в шлаке подробно описаны ниже.
Следует отметить, что факт сильной связи коэффициента распределения серы (S)/[S] с основностью шлака при взаимодействии между шлаком и металлом в процессе вышеупомянутого обычного получения железа или стали является известным. Более того, было установлено, что MgO, незаменимый в способе получения согласно настоящему изобретению, имеет гораздо более низкий уровень десульфуризации по сравнению с СаО. Согласно настоящему изобретению существенное количество MgO энергично используют наряду с СаО и, в результате, уровень десульфурации в способе получения согласно настоящему изобретению резко повышается по сравнению со способом, в котором применяют только СаО.
Хотя причина того, почему высокая степень десульфурации может быть получена в результате использования MgO, в настоящее время не получила теоретического объяснения, с учетом приведенных ниже результатов испытаний было сделано следующее допущение. Иными словами, было высказано предположение о том, что соответствующее регулирование основности шлака (С+M)/S, включающего подходящее количество MgO в образующемся шлаке, обеспечивает оптимальное проявление свойств, таких как температура плавления, текучесть или т.п. образующегося шлака, тем самым максимально повышая коэффициент распределения серы (S)/[S] образующегося шлака.
С другой стороны, в способе получения с применением подвижной подовой плавильной печи с восстановительной атмосферой согласно настоящему изобретению связь между основностью шлака (С+M)/S, образующегося на конечной стадии, и температурой плавления существенно зависит от вида и марки содержащего оксид железа вещества (железная руда или т.п.) и углеродсодержащего восстановителя, используемых в качестве сырья.
На фиг.2, например, представлены результаты исследования связи между основностью (С+M)/S образующегося шлака и температурой плавления при осуществлении способа восстановления и плавления во вращающейся подовой печи с восстановительной атмосферой с использованием смеси материалов, полученной из гематитовой руды (А) (см. таблицу 1 в представленном ниже примере), которая является типичным примером содержащего оксид железа вещества, угля (см. таблицу 2 в представленном ниже примере), служащего в качестве углеродсодержащего восстановителя, представляющих собой основное сырье, и дополнительно включает известняк, используемый в качестве СаО-содержащего вещества, и доломит, используемый в качестве MgO-содержащего вещества, для получения нужной основности шлака на конечной стадии.
На чертежах температуру плавления шлака определяют исходя из фазовой диаграммы, основанной на четвертичной системе, включающей СаО, SiO2, Al2O3 и MgO, являющиеся основными компонентами шлака. Следует отметить, что кривая (i) на чертежах представляет связь между основностью шлака и температурой плавления при использовании в качестве агента для получения нужной основности только известняка, представляющего собой СаО-содержащее вещество. Как явно следует из кривой, основность шлака (С+M)/S выше приблизительно 1,4, вызывает резкое повышение температуры плавления шлака. Более того, основность шлака (С+M)/S около 1,75 повышает температуру плавления шлака приблизительно до величины 1550°С, которая считается максимально возможной температурой для действительной практической операции. Более того, основность шлака (С+M)/S, превышающая величину около 1,75, вызывает повышение температуры плавления шлака до уровня свыше 1550°С, что выходит за рамки диапазона, допустимые для способа получения согласно настоящему изобретению. Соответственно, при удерживании температуры атмосферы плавление и концентрирование образующегося шлака замедляются, вызывая затруднение с концентрированием восстановленного железа, что препятствует достижению цели настоящего изобретения. Нет необходимости напоминать о том, что получение, осуществляемое при повышенной температуре атмосферы (рабочая температура), превышающей 1550°С, обеспечивает плавление шлака с высокой основностью. Однако при использовании печи с подвижным подом согласно настоящему изобретению получение при рабочей температуре 1550°С или более приводит к существенному сокращению срока ее службы из-за характера оборудования, не выдерживающего такой режим.
С другой стороны, кривая (ii), представленная на чертеже 2, показывает связь между основностью шлака (С+M)/S и температурой плавления при использовании в качестве агентов для получения нужной основности как известняка, так и доломита. Как очевидно из кривой, повышение содержания MgO в шлаке на конечной стадии вызывает снижение температуры плавления шлака на конечной стадии во всем диапазоне основности шлака по сравнению с кривой (i). Более того, следует отметить, что добавление подходящего количества содержащего MgO вещества к смеси материалов снижает температуру плавления шлака на конечной стадии до 1550°С или менее даже при повышении основности (С+M)/S шлака до величины около 2,3, тем самым обеспечивая возможность получения без затруднений при температуре атмосферы 1550°С, вызывающей затруднения в случае, представленном на фиг.1.
Как описано выше, с применением способа получения согласно настоящему изобретению, получение осуществляют в подвижной подовой печи практического масштаба с повышенной основностью (С+M)/S шлака до величины около 2,3, которая является максимально допустимой основностью, используя MgO-содержащее вещество в качестве регулирующего основность агента, обеспечивающего плавление шлака при температуре до 1550°С, подходящей для практического производства, тем самым способствуя устойчивому получению гранулированного металлического железа в устойчивых производственных условиях, при этом поддерживая коэффициент распределения серы (S)/[S] между шлаком и металлом на уровне около 25 или более, предпочтительно 35 или более. В результате гранулированное металлическое железо может быть получено на конечной стадии надежным способом с содержанием серы 0,05% или менее, предпочтительно с содержанием серы 0,04% или менее, что в некоторой степени зависит от марки угля или т.п., подаваемого в качестве углеродсодержащего восстановителя, либо от материала, подаваемого таким образом, чтобы быть распределенным по поду.
В частности, способ получения согласно настоящему изобретению имеет существенное преимущество, заключающееся в предотвращении снижения коэффициента распределения серы (S)/[S] по причине ухудшения восстановительного потенциала атмосферного газа путем регулирования основности шлака (С+M)/S и содержания MgO, которое неизбежно происходит при использовании способа нагревания сжиганием с применением газовых горелок, наиболее часто используемых для нагрева в печи.
Следует отметить, что дальнейшее повышение соотношения в загрузке известняка и доломита, служащих в качестве агентов для регулирования основности, дополнительно увеличивающее содержание MgO в шлаке на конечной стадии, дополнительно снижающее температуру плавления шлака на конечной стадии, может потребовать использования устройства, в котором получение осуществляют с основностью шлака (С+M)/S более 2,3. Однако в данном случае излишнее повышение основности (С+M)/S образующегося шлака повышает вязкость (что является причиной низкой текучести), вызывающую замедление концентрирования восстановленного железа и снижение выхода гранулированного металлического железа, а также затруднения при получении подходящего гранулированного металлического железа в виде шариков. Соответственно, максимальная величина основности (С+M)/S для данного варианта согласно настоящему изобретению должна составлять 2,3.
Следует отметить, что причина, по которой минимальная величина основности (С+M)/S должна составлять 1,3, заключается в том, что шлак с основностью ниже вышеупомянутой минимальной величины вызывает ухудшение десульфурации, что приводит к затруднениям при снижении содержания серы в восстановленном железе даже при высоком восстановительном потенциале. Соответственно, основность шлака (С+M)/S для данного варианта согласно настоящему изобретению должна составлять от 1,4 до 2,0.
Фиг.3 показывает связь между основностью шлака (С+M)/S и температурой плавления шлака, при этом основность образующегося шлака (С+M)/S контролируют, регулируя количество СаО-содержащего вещества и MgO-содержащего вещества, добавляемого к смеси материалов, в основном состоящей из магнетитовой руды, служащей в качестве содержащего оксид железа вещества, и угля, служащего в качестве углеродсодержащего восстановителя, представленного в приводимой ниже таблице 2 таким же образом, как и на описанной выше фиг.2.
Несмотря на то что связь между ними зависит от марки руды, при использовании только известняка в качестве регулирующего основность агента, как очевидно из кривой (i) на чертеже, основность шлака (С+M)/S около 1,5 или менее обеспечивает температуру плавления шлака 1550°С. С другой стороны, при замещении 32% известняка доломитом с целью регулирования основности шлака, как очевидно из кривой (ii), повышение содержания MgO в шлаке предотвращает быстрое повышение температуры плавления благодаря повышению основности шлака. Например, даже в случае повышения основности шлака (С+M)/S до величины около 1,8 или менее, температура плавления шлака понижается до уровня 1550°С или менее.
На фиг.4 представлены результаты исследования связи между содержанием MgO в шлаке и коэффициентом распределения серы (S)/[S], получаемым при использовании способа получения согласно настоящему изобретению. Как явно следует из чертежа, существует сильная связь между содержанием MgO в шлаке и коэффициентом распределения серы (S)/[S]. Кроме того, очевидно, что коэффициент распределения серы (S)/[S] не повышается пропорционально повышению содержания MgO в шлаке, а коэффициент распределения серы имеет максимальную величину при конкретном диапазоне содержания MgO в шлаке.
Иными словами, на фиг.4 представлены результаты испытаний двух видов смесей материалов с применением железной руды А и железной руды В, соответственно, используемых в качестве содержащих оксид железа веществ. Несмотря на то что результаты испытаний несколько отличаются из-за свойств материала, полученные результаты в целом имеют одинаковую природу. В любом случае коэффициент распределения серы (S)/[S] имеет высокое значение, равное 25 или более, а содержание MgO находится в диапазоне от 5 до 13%, тем самым показывая преимущество снижения содержания серного компонента в восстановленном железе. Несмотря на то что подробный механизм в настоящее время еще не выяснен, предполагается, что шлак, содержащийся в загружаемом материале сложным образом, влияет на коэффициент распределения серы (S)/[S]. В любом случае подходящее содержание MgO в шлаке должно находиться в диапазоне от 5 до 13% таким образом, чтобы влиять на коэффициент распределения серы (S)/[S], равный 25 или более, исходя из результатов испытаний этих типичных двух видов железной руды (А) и (В).
Как указано выше, при помощи способа согласно настоящему изобретению основность шлака (С+M)/S, установленная на основании состава шлака, содержащегося во всем используемом сырье, и содержание MgO в шлаке соответственно регулируют таким образом, чтобы обеспечить нужную температуру плавления образовавшегося шлака и коэффициент распределения серы (S)/[S] в содержащем оксид железа веществе, углеродсодержащем восстановителе и т.п., используемым в данном способе получения.
С другой стороны, при относительно высокой основности шлака (С+M)/S, равной 1,8 или более, взаимодействие носит основный характер, т.е. повышенная основность шлака (С+M)/S вызывает постепенное ухудшение концентрации мелких частиц восстановленного железа, образующихся благодаря содержащему оксид железа веществу, подвергаемого восстановлению в смеси материалов даже в том случае, если основность шлака (С+M)/S равна 2,3 или менее.
Более того, основность шлака (С+M)/S свыше 2,3 способствует ухудшению концентрирования шлака, что также приводит к ухудшению концентрирования образовавшихся частиц восстановленного железа и к затруднениям в получении высокого выхода крупных частиц гранулированного металлического железа, что составляет цель настоящего изобретения. Для практической реализации способа получения согласно настоящему изобретению с экономической точки зрения, крупные частицы гранулированного металлического железа, являющегося целью настоящего изобретения, должны быть получены с максимально высоким выходом даже в том случае, когда основность шлака (С+M)/S на конечной стадии равна 2,3 или менее.
Соответственно, авторы настоящего изобретения в результате интенсивных исследований разработали способ предотвращения снижения выхода гранулированного металлического железа с подходящим размером частиц благодаря повышенной основности шлака (С+M)/S. Иными словами, добавление к смеси материалов подходящего количества CaF2-содержащего вещества, например флюорита, улучшает текучесть, а также снижает температуру плавления образующегося шлака, тем самым способствуя концентрации шлака, а также улучшая концентрацию восстановленных частиц железа, тем самым существенно повышая выход крупных частиц гранулированного металлического железа. Было установлено, что добавляемое вышеупомянутое CaF2-содержащее вещество должно содержать CaF2 в количестве 0,2% или более во всем составе шлака, предпочтительно 0,4% или более, с целью эффективной реализации преимуществ, получаемых благодаря применению такого CaF2-содержащего вещества в практическом масштабе.
Более конкретно, согласно данному варианту, в том случае, если основность шлака (С+M)/S на конечной стадии равна 1,7 или более, в частности более 1,8, CaF2 добавляют к смеси материалов с содержанием CaF2, равным 0,2% или более от состава шлака таким образом, что повышенное содержание CaF2 компенсирует ухудшение текучести по причине повышенной основности шлака (С+M)/S, тем самым обеспечивая устойчивое получение крупных частиц гранулированного металлического железа с высоким выходом.
Следует отметить, что использование избыточного количества CaF2 вызывает слишком высокую текучесть образующегося шлака, что порождает другую проблему, заключающуюся в том, что под, изготовленный из огнеупорного материала, легко повреждается. Соответственно, концентрацию CaF2-содержащего вещества предпочтительно снижают до 2% или менее от всего состава шлака, более предпочтительно – до 1,5% или менее.
Следует отметить, что в способе получения согласно настоящему изобретению, основность (С+M)/S образующегося шлака и содержание MgO определяют вышеописанным способом, который является наиболее существенным компонентом настоящего изобретения. С другой стороны, в то время как углеродсодержащий материал, загружаемый таким образом, чтобы быть распределенным по поду, не является незаменимым, вышеупомянутая загрузка углеродсодержащего материала является предпочтительной для более эффективного улучшения восстановительного потенциала в печи и, в результате, более эффективного обеспечения обоих преимуществ, таких как высокий выход металлического железа и снижение уровня содержания в нем серы. Следует отметить, что при использовании вышеупомянутого способа загрузки углеродсодержащего материала порошковый углеродсодержащий материал предпочтительно загружают таким образом, чтобы он оказался распределенным по поверхности пода слоем около 2 мм с целью гарантированной реализации такого преимущества. Более того, углеродсодержащий материал, распределенный по поду, служит буфером между смесью сырья и подом, изготовленным из огнеупорного материала, кроме того, он обеспечивает защиту пода, тем самым продлевая срок его службы.
Следует отметить, что если углеродсодержащий материал распределен по поду слишком толстым слоем, то смесь материалов перетекает в углеродсодержащий материал, распределенный по поду, что может вызвать замедление восстановления оксида железа. Соответственно, толщину вышеупомянутого углеродсодержащего материала, распределенного по поду, предпочтительно ограничивают до 7,5 мм или менее.
Следует отметить, что вид вышеупомянутого углеродсодержащего материала, распределенного по поду, конкретно не ограничен, при этом может быть использовано устройство для дробления обычного угля или кокса, предпочтительно настроенное для получения подходящего размера зерен. Следует отметить, что при использовании угля предпочтительным является антрацит по причине своей низкой текучести, низкому уровню расширения и прилипания к поду.
Примеры
Несмотря на изложенное ниже конкретное описание со ссылкой на примеры, настоящее изобретение не ограничено представленными здесь примерами, напротив, при необходимости оно может быть подвергнуто соответствующим модификациям без нарушения сущности и объема прилагаемой формулы изобретения в свете выше- и нижеизложенных описаний, которые также входят в технический объем настоящего изобретения.
Пример 1
Прежде всего, получают прессовки из сырья в виде окатышей из железной руды, используемые в качестве содержащего оксид железа вещества, при этом уголь используют в качестве углеродсодержащего восстановителя, а дополнительный материал, такой как известняк (СаСО3), доломит (СаСО3·MgCO3) или т.п. – для регулирования основности шлака, и при необходимости добавляют подходящее количество флюорита (CaF2) и, кроме того, небольшое количество пшеничной муки, используемой в качестве связующего.
Следует отметить, что, как показано в таблице 1, используют два вида железной руды – А и В. С другой стороны, состав угля, используемого в качестве углеродсодержащего восстановителя, представлен в таблице 2.

| Таблица 2 |
| Результаты промышленного анализа (мас.%) |
Элементный анализ (мас.%) |
| Летучий компонент |
Общее содержание зольного компонента |
Сера |
Фосфор |
Всего |
C |
H |
N |
Cl |
S |
Зола |
Р |
О |
| 19,90 |
8,6 |
0,53 |
0,029 |
28,5 |
81,77 |
4,33 |
1,64 |
0,03 |
0,53 |
8,04 |
0,029 |
3,63 |
| Результаты анализа зольного компонента (мас.%) |
|
|
|
| Fe2O3 |
Al2O3 |
TiO2 |
Fe2O3 |
СаО |
MgO |
Na2O |
К2O |
Р2O6 |
Прочие |
|
|
|
| 49,44 |
34,68 |
1,84 |
4,78 |
2,72 |
1,01 |
0,48 |
2,09 |
0,76 |
2,2 |
|
|
|
Вышеупомянутые прессовки из сырьевого материала непрерывно подают в экспериментальную восстановительную печь с вращающимся подом небольших размеров для нагревания и восстановления. Соответствующие температуры нагревательно-восстановительной зоны и цементирующе-плавильной зоны устанавливают на уровне от 1400 до 1470°С при помощи нагревания горелками. Оксид железа, содержащийся в сырьевой прессовке, подаваемой на под печи, подвергают восстановлению в твердом виде во время его прохождения через зону нагревания в печи на протяжении цикла, составляющего приблизительно от 10 до 16 минут. Образующееся восстановленное железо подвергают науглероживанию под воздействием оставшегося углеродсодержащего вещества на последней стадии восстановления в печи с восстановительной атмосферой, что приводит к снижению температуры плавления и к концентрации восстановленного железа. С другой стороны, образующийся шлак полностью или частично плавится, что также приводит к концентрации шлака, тем самым способствуя отделению расплавленного гранулированного металлического железа от расплавленного шлака. Затем полученное расплавленное гранулированного металлическое железо и расплавленный шлак охлаждают до температуры плавления или ниже (конкретно, охлаждают до температуры приблизительно 1100°С) таким образом, чтобы отвердить его на конечной стадии печи с восстановительной атмосферой, после чего гранулированное металлическое железо и шлак в твердом виде выгружают из печи.
Следует отметить, что гематитовую руду, представляющую собой типичную железную руду, используют в качестве железной руды (А). С другой стороны, магнетитовую руду, которая также представляет собой типичную железную руду, используют в качестве железной руды (В). Согласно настоящему примеру различные виды сырьевых прессовок, содержащих вышеупомянутые материалы, подвергают нагреванию и восстановлению при различных значениях основности шлака (С+M)/S на конечной стадии, при этом максимальное значение основности шлака составляет 1,8. Результаты испытаний представлены на фиг.5 и 6.
На фиг.5 представлены результаты испытаний с использованием железной руды (А), т.е. гематита, при этом горизонтальная ось представляет основность (С+M)/S образовавшегося шлака, а вертикальная ось представляет коэффициент распределения серы (S)/[S], полученный на основании результатов анализов серы путем измерения концентрации серы в полученном гранулированном металлическом железе и образовавшемся шлаке.
Как очевидно из результатов, представленных на фиг.5, при использовании железной руды (А), т.е. гематита, в качестве содержащего оксид железа вещества повышенная основность шлака (С+M)/S, в частности повышенная основность шлака (С+M)/S более 1,4, вызывает быстрое повышение коэффициента распределения серы (S)/[S]. Следует отметить, что на фиг.5 белые кружочки представляют результаты теста при использовании только известняка в качестве агента для регулирования основности шлака, а сплошные кружочки представляют результаты теста при использовании известняка и доломита в качестве MgO-содержащего вещества для регулирования основности шлака (С+M)/S.
Несмотря на то что полученные результаты зависят от марки используемого угля, как очевидно из результатов испытаний, получение в целом предпочтительно осуществляют, поддерживая коэффициент распределения серы (S)/[S] на уровне 25 или более, более предпочтительно – 30 или более, с целью снижения содержания серы в полученном металлическом гранулированном железе предпочтительно до величины 0,05% или менее и, более предпочтительно, – 0,04% или менее.
Если основность шлака (С+M)/S составляет 1,4 или более, то чем выше основность шлака (С+M)/S, тем выше коэффициент распределения серы (S)/[S]. В данном случае из чертежа ясно следует, что энергичное добавление Mg-содержащего вещества к составу шлака дополнительно повышает коэффициент распределения серы (S)/[S] по сравнению с тем случаем, когда Mg-содержащее вещество не используют. Следует отметить, что в том случае, когда Mg-содержащее вещество не используют, повышенная основность шлака (С+M)/S, равная приблизительно 1,7 на конечной стадии, вызывает повышение температуры плавления шлака, поэтому концентрирование расплавленного шлака происходит медленнее, что приводит к замедлению отделения восстановленного железа. В результате образуется большое число мелких частиц гранулированного металлического железа, что затрудняет получение крупных частиц гранулированного металлического железа с высоким выходом.
Однако в том случае, если основность шлака (С+M)/S составляет 1,7 или более без Mg-содержащего вещества, добавление CaF2-содержащего вещества с содержанием CaF2, равным 0,2% или более, предпочтительно – 0,4% или более, от состава шлака, улучшает текучесть шлака, а также вновь снижает температуру плавления шлака, обеспечивая получение крупных частиц гранулированного металлического железа с высоким выходом.
С другой стороны, на фиг.6 представлены данные испытаний с использованием магнетитовой руды в качестве содержащего оксид железа вещества, полученные в результате осуществления испытаний способом, аналогичным вышеописанному способу с использованием гематита, механизм которого в целом такой же, как показано на фиг.5. Однако в данном примере повышенная основность шлака (С+M)/S, равная 1,2 или более, вызывает быстрое повышение коэффициента распределения серы (S)/[S]. Отсутствие четкого различия между результатами испытаний в данном примере и результатами испытаний, представленными на вышеописанной фиг.5, подтверждает, что результаты испытаний в случае с использованием доломита в качестве MgO-содержащего вещества, представленного сплошными кружочками, показывают существенно более высокий коэффициент распределения серы (S)/[S] по сравнению с результатами испытаний в том случае, когда доломит, представленный белыми кружочками, не использовался. Иными словами, согласно результатам испытаний при использовании магнетитовой руды в качестве содержащего оксид железа вещества, добавление MgO-содержащего вещества в целом обеспечивает такое же преимущество, как и при использовании гематитовой руды (А) в качестве вышеописанного вещества, содержащего оксид железа.
Как описано выше, в способе восстановления и плавления согласно данному варианту, добавление MgO-содержащего вещества к сырьевой смеси осуществляют заранее таким образом, что основность шлака (С+M)/S составляет 1,3 или более, предпочтительно – 1,4 или более, на конечной стадии, обеспечивая высокий уровень десульфурации и тем самым снижая содержание серы в гранулированном металлическом железе до 0,05% или менее, и, более предпочтительно, – 0,04% или менее. Это, предположительно, объясняется тем, что добавление подходящего количества MgO-содержащего вещества снижает температуру плавления шлака так же, как и при добавлении флюорита, даже в том случае, когда CaF2-содержащее вещество не добавляют, обеспечивая улучшенное отделение восстановленного железа от шлака, а также концентрацию как шлака, так и восстановленного железа.
Пример 2
Ниже описан пример, в соответствии с которым получают два вида прессовок в виде окатышей, в основном изготовленных из гематитовой руды (А) и угля, представленного в вышеупомянутой таблице 1 и таблице 2, и дополнительно содержащих известняк или доломит, затем полученные таким образом окатыши подвергают восстановлению и плавлению в печи с вращающимся подом с восстановительной атмосферой. Следует отметить, что используемые окатыши из сырья (а) и (b) имеют состав, представленный в таблице 3. Как окатыши (а), так и окатыши (b) получают из гематитовой руды (А). Следует отметить, что к предыдущим окатышам (а) MgO-содержащее вещество не добавлялось. С другой стороны, к последним окатышам (b) добавляли натуральную доломитную руду, служащую в качестве MgO-содержащего вещества. При проведении данных испытаний получение осуществляют при температуре атмосферы в печи, равной 1450°С.
Результаты анализов гранулированного металлического железа и шлака, образующегося во время испытания, а также основность шлака (С+M)/S и коэффициент распределения серы (S)/[S] представлены в таблице 4.
| Таблица 3 |
| Вид |
Состав сырья (мас.%) |
| Железная руда |
Уголь |
СаСО3 |
Доломит |
Связующее |
| Окатыш (а) |
73,33 |
20,74 |
4,73 |
0 |
1,2 |
| Окатыш (b) |
73,2 |
20,7 |
3,09 |
1,81 |
1,2 |
| Таблица 4 |
| |
Гранулированное железо |
Шлак |
(S)/[S] |
(C+M)/S |
| [C] |
[S] |
CaO |
SiO2 |
MgO |
S |
| Окатыш (а) |
4,03 |
0,059 |
46,46 |
28,82 |
2,5 |
1,351 |
22,75 |
1,699 |
| Окатыш (b) |
4,12 |
0,035 |
40,26 |
28,68 |
8,81 |
1,588 |
45,03 |
1,711 |
Как очевидно следует из таблицы 4, несмотря на что окатыш (а) был получен при основности шлака (С+M)/S в рамках диапазона, установленного согласно настоящему изобретению, шлак имеет низкое содержание MgO, равное 2,5% и выходящее за пределы диапазона в соответствии с настоящим изобретением, поскольку к окатышу, представляющему собой прессовку из смеси сырья, был добавлен только СаСО3, без доломита. В данном случае коэффициент распределения серы (S)/[S] равен 22,75, не достигая желательной величины 25,0, что является причиной высокого содержания серы [S], равное 0,059%, в гранулированном металлическом железе.
С другой стороны, к окатышу (b), удовлетворяющему условиям согласно настоящему изобретению, был добавлен доломит в количестве 1,81%, что обеспечивает основность шлака (С+M)/S, равную 0,71, высокое содержание MgO в шлаке, равное 8,81%, и очень высокий коэффициент распределения серы (S)/[S], равный 45,03, тем самым обеспечивая весьма низкое содержание серы [S], равное 0,035%, в образующемся гранулированном металлическом железе.
Как указано выше, способ получения согласно настоящему изобретению подтверждает, что гранулированное металлическое железо может быть получено с содержанием серы [S], равным 0,05% или менее, более предпочтительно – 0,04% или менее, путем соответствующего регулирования количества MgO-содержащего вещества в смеси сырья, таким образом обеспечивая основность шлака (С+M)/S в диапазоне от 1,3 до 2,3 на конечной стадии, и содержание MgO в шлаке в диапазоне от 5 до 13%, что зависит от соответствующих количеств СаО, MgO и SiO2, содержащихся в смеси материалов.
Формула изобретения
1. Способ получения гранулированного металлического железа с низким содержанием серы, в котором смесь сырья, включающую содержащее оксид железа вещество и углеродсодержащий восстановитель, подают на под нагретой печи с подвижным подом с восстановительной атмосферой, осуществляют нагрев сырьевой смеси и восстановление оксида железа, содержащегося в упомянутой смеси посредством упомянутого углеродсодержащего восстановителя, обеспечивают отделение частиц получаемого металлического железа от образующегося шлака, подвергают полученное металлическое железо охлаждению для отверждения, после чего выгружают гранулированное металлическое железо, при этом количества СаО-содержащего вещества, MgO-содержащего вещества и SiO2-содержащего вещества, содержащиеся в упомянутой смеси, регулируют с образованием шлака основностью (CaO+MgO)/SiO2, равной от 1,3 до 2,3, при этом MgO содержится в шлаке в диапазоне от 5 до 13 мас.% в зависимости от состава шлака, определяемого количеством каждого из веществ: CaO, MgO и SiO2, содержащихся в сырьевой смеси.
2. Способ по п.1, в котором MgO-содержащее вещество дополнительно смешивают с упомянутой сырьевой смесью для получения упомянутых основности шлака и содержания MgO.
3. Способ по п.2, в котором в качестве упомянутого MgO-содержащего вещества используют сырой доломит.
4. Способ по п.1, в котором к упомянутой сырьевой смеси дополнительно добавляют CaF2-содержащее вещество.
5. Способ по п.4, в котором в качестве упомянутого CaF2-содержащего вещества используют флюорит.
6. Способ по п.4 или 5, в котором упомянутое CaF2-содержащее вещество содержится в упомянутой сырьевой смеси в количестве от 0,2 до 2 мас.%.
7. Способ по п.1, в котором углеродсодержащий порошок загружают таким образом, чтобы он был распределен по упомянутому поду до загрузки упомянутой сырьевой смеси в печь с подвижным подом с восстановительной атмосферой.
8. Способ по п.7, в котором упомянутый углеродсодержащий порошок загружают таким образом, чтобы он был распределен по поду слоем толщиной 2 мм или более.
9. Способ по п.1, в котором в упомянутой нагретой печи с подвижным подом с восстановительной атмосферой устанавливают рабочую температуру от 1250 до 1550°С.
РИСУНКИ
|
|