|
|
(21), (22) Заявка: 2006106069/02, 26.02.2006
(24) Дата начала отсчета срока действия патента:
26.02.2006
(46) Опубликовано: 27.06.2007
(56) Список документов, цитированных в отчете о поиске:
SU 210724 A, 01.01.1968. RU 2203257 C2, 27.04.2003. US 6641683 A, 04.11.2003.
Адрес для переписки:
607188, Нижегородская обл., г. Саров, пр. Мира, 37, ФГУП “РФЯЦ-ВНИИЭФ”, начальнику ОПИНТИ
|
(72) Автор(ы):
Кирюшкин Игорь Николаевич (RU), Климов Станислав Алексеевич (RU), Селютин Виктор Иванович (RU), Скляров Вадим Михайлович (RU), Тихонов Алексей Александрович (RU)
(73) Патентообладатель(и):
Федеральное государственное унитарное предприятие “Российский федеральный ядерный центр-Всероссийский научно-исследовательский институт экспериментальной физики”-ФГУП “РФЯЦ-ВНИИЭФ” (RU)
|
(54) СПОСОБ И УСТРОЙСТВО ИЗГОТОВЛЕНИЯ ЗАРЯДОВ ВЗРЫВЧАТЫХ ВЕЩЕСТВ
(57) Реферат:
Изобретение относится к способам и устройствам обработки взрывчатых веществ (ВВ) и может быть использовано при изготовлении взрывных устройств. Заготовку заряда взрывчатого вещества формуют путем приложения осевых усилий, при этом плотность запрессовки заряда составляет 60-90% от теоретически максимально достижимой, а затем допрессовывают посредством приложения усилия по всей боковой поверхности заготовки через эластичную оболочку путем создания давления при помощи жидкости или газа, предварительно поместив заготовку с поддоном в эластичную оболочку, жестко зафиксировав по торцевым поверхностям посредством стакана и крышки и удалив из полости пресс-формы воздух. Техническим результатом изобретения является расширение функциональных и технологических возможностей способа и устройства, повышение безопасности изготовления. 2 н.п. ф-лы, 2 ил.
Изобретение относится к способам и устройствам обработки взрывчатых веществ (ВВ) и может быть использовано при изготовлении взрывных устройств, например кумулятивных зарядов.
Известен способ и устройство изготовления зарядов ВВ (патент РФ “Способ сборки кумулятивного заряда и пресс-инструмент для его осуществления” RU №2237850, МПК7: F42В 1/036, опубликован 10.10.2004), согласно которому способ изготовления кумулятивного заряда включает формование заготовки из ВВ путем засыпки его в пресс-форму, затем усилие прессования передают на поддон и поддон перемещают навстречу пуансону, таким образом осуществляют двухстороннее осевое прессование заряда взрывчатого вещества.
Пресс-инструмент для изготовления заряда ВВ включает в себя матрицу, поддон и пуансон, между которыми установлен узел передачи усилия прессования на поддон, выполненный составным и по крайней мере из двух подвижных и одной неподвижной частей.
Известные способ и устройство позволяют изготавливать заряды ВВ сложной конфигурации, однако имеют ряд существенных недостатков.
Данный способ позволяет понизить разноплотность заряда ВВ по высоте, но не снижает разноплотность в сечении заряда, что негативно влияет на работу кумулятивных зарядов, т.к. приводит к снижению характеристик по бронепробитию.
Другим недостатком является то, что поддон и пуансон подвижно сопрягаются с направляющей, а в подвижных соединениях имеют место зазоры, которые приводят к несоосности расположения кумулятивной выемки относительно профиля верхнего торца, что так же приводит к снижению характеристики кумулятивных зарядов по бронепробитию. Кроме того, при данном способе сборки облицовка заряда испытывает большие нагрузки и частично деформируется, что приводит к таким же негативным последствиям.
В качестве прототипа к заявляемым способу и устройству, как наиболее близкие по решаемой задаче и количеству сходных признаков, выбраны способ и устройство изготовления зарядов ВВ, известные из описания к авторскому свидетельству №210724, МПК7: С06В 21/00, опубликованное 26.03.1968 “Способ изготовления зарядов взрывчатых веществ”.
Способ изготовления зарядов ВВ включает формование заготовки из ВВ путем патронирования взрывчатого вещества в эластичную газонепроницаемую оболочку требуемого диаметра и длины, например из полиэтилена, для образования герметичного объема из эластичной оболочки путем герметизации торца оболочки с последующим размещением заготовки вместе с оболочкой в камере высокого давления для всестороннего обжатия давлением жидкости или газа по ее поверхности.
Устройство для изготовления зарядов ВВ представляет собой пресс-форму, выполненную в виде эластичной оболочки с элементами герметизации ее торцов, выполненными сваркой, и герметичной трубчатой камеры высокого давления с высоконапорным насосом для нагнетания избыточного давления жидкости или газа.
Недостатками данного способа и устройства изготовления зарядов ВВ является то, что в исходном объеме ВВ находится в насыпном виде, исходную разноплотность в данном случае контролировать трудно, получить заряд ВВ, близкий к заданным геометрическим размерам, практически невозможно.
Кроме того, таким способом можно изготавливать только заряды простой формы, как, например, цилиндр; для изготовления зарядов сложной геометрической формы, например кумулятивных зарядов, требуется дополнительное специальное оборудование для механической обработки, что снижает безопасность изготовления и увеличивает трудоемкость.
Пресс-форма в данном случае используется только для обеспечения равноплотности заряда ВВ, а не для придания ему формы с жестко заданными геометрическими размерами.
Задачей, стоящей в данной области техники, является повышение точности изготовления и сборки зарядов ВВ сложной конфигурации, например кумулятивных зарядов, при одновременном уменьшении трудоемкости изготовления и повышении безопасности.
Техническим результатом, который может быть достигнут при использовании заявляемого изобретения, является расширение функциональных и технологических возможностей способа и устройства изготовления зарядов ВВ за счет возможности качественного изготовления зарядов сложной конфигурации при обеспечении минимальной разноплотности зарядов как по высоте, так и в сечениях, точности изготовления и сборки заряда с облицовкой, снижение величины деформации облицовки до величины точности ее изготовления, а также повышение безопасности процесса изготовления.
Указанный технический результат достигается за счет того, что в способе изготовления зарядов взрывчатых веществ, включающем формование заготовки из взрывчатого вещества, заключение ее в герметичный объем, образованный эластичной оболочкой и герметизирующими элементами, с последующим размещением в камере высокого давления для обжатия давлением жидкости или газа по боковой поверхности, формование заготовки осуществляют прессованием до плотности запрессовки 60-90% от теоретически максимально достижимой, а при герметизации заготовки ее торцы жестко фиксируют, после чего герметичный объем вакуумируют.
В устройстве изготовления зарядов ВВ, включающем камеру высокого давления и эластичную оболочку с герметизирующими элементами, в которую помещают заготовку взрывчатого вещества, указанный технический результат достигается за счет того, что герметизирующие элементы эластичной оболочки изготовлены из конструкционного материала в виде поддона и крышки, с которыми оболочка жестко скреплена торцевыми поверхностями, причем в поддоне и крышке выполнены кольцевые проточки, сопрягаемые с кольцевыми выступами, выполненными в оболочке, при этом оболочка, поддон и крышка зафиксированы стаканом, в котором выполнены отверстия для подачи жидкости или газа, а на торцевых поверхностях заготовки установлены резиновые кольца переменного сечения, прилегающие одной гранью к заготовке, а другой к поддону или крышке, при этом в поддоне выполнено посадочное место для установки самозапирающегося вакуумного клапана.
Формование заготовки прессованием до плотности запрессовки 60-90% от теоретически максимально допустимой позволяет посредством приложения осевого усилия обеспечить придание заготовки сложной определенной формы, а при наличии облицовки исключить ее деформацию, а также в дальнейшем обеспечить возможность вакуумирования заготовки и объема, образованного эластичной оболочкой и герметизирующими элементами, без деформации конструкции при обеспечении безопасности изготовления.
Жесткая фиксации торцов заготовки обеспечивает получение детали с заданными геометрическими размерами и соосностью профильных торцевых поверхностей, а также исключает деформацию облицовки, что ведет к улучшению качества изготавливаемого заряда и повышению характеристики по бронепробитию.
Вакуумирование заготовки и объема, образованного эластичной оболочкой и герметизирующими элементами, приводит к тому, что при обжатии боковой поверхности оболочки избыточным давлением жидкости или газа возможно получение максимальной требуемой плотности заряда ВВ при обеспечении безопасности изготовления, снижение уровня разноплотности (до чувствительности метода определения разноплотности) как по высоте, так и в сечении заряда ВВ.
Изготовление герметизирующих элементов эластичной оболочки из конструкционного материала в виде поддона и крышки позволяет жестко зафиксировать торцы оболочки и обеспечить получение детали с заданными геометрическими размерами, при возможности дальнейшего обжатия боковой поверхности заготовки избыточным давлением с получением требуемых характеристик изготавливаемого заряда. Использование эластичного элемента для прессования заряда ВВ и жесткая фиксация поддона и крышки также исключает перемещение металлических элементов пресс-инструмента и, следовательно, исключает защемление и растирание ВВ, что обеспечивает безопасность процесса прессования.
Жесткое крепление стакана с крышкой и поддоном совместно с фиксированным положением торцов заготовки обеспечивает соосность элементов заряда и выполнение торцевых поверхностей заряда в размер (без последующей доработки).
Расположение колец переменного сечения, прилегающих одной гранью к крышке или поддону, а другой к заготовке, исключает попадание эластичного элемента между крышкой или поддоном и заготовкой, что исключает разрыв эластичного элемента в процессе прессования и повышает надежность пресс-инструмента.
Самозапирающийся клапан, установленный в поддоне, обеспечивает вакуумирование полости устройства для изготовления зарядов ВВ, что обеспечивает получение максимальной плотности заряда, снижение его разноплотности и, следовательно, повышение характеристик по бронепробитию.
Кольцевые проточки, выполненные в поддоне и крышке и сопрягаемые с кольцевыми выступами, выполненными в оболочке, обеспечивают герметизацию объема пресс-формы и ее работоспособность.
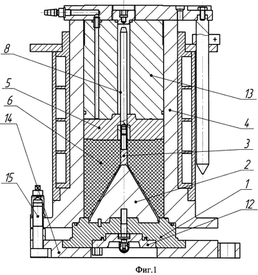
На фиг.1 и 2 изображен пресс-инструмент, поясняющий заявляемый способ изготовления кумулятивного заряда взрывчатого вещества с облицовкой и являющийся примером конкретного выполнения заявляемого устройства, где:
– 1 – поддон;
– 2 – конус;
– 3 – облицовка;
– 5 – крышка;
– 6 – заготовка ВВ;
– 7 – кольцо;
– 8 – удлинитель;
– 9 – оболочка;
– 10 – диск;
– 11 – стакан;
– 12 – самозапирающийся клапан;
– 13 – пуансон;
– 14 – подставка;
– 15 – болт М12;
– 16 – болт М8;
– 17 – болт М10;
– 18 – болт М40.
Примером конкретного выполнения устройства для изготовления зарядов ВВ может служить пресс-инструмент, включающий поддон, выполненный из стали 45 и покрытый хромом, с установленными в специальные гнезда и жестко скрепленными с поддоном конусом и самозапирающимся клапаном. На торцевой поверхности поддона имеется кольцевая проточка шириной 4 мм, глубиной 5 мм и посадочное место под стакан 220 мм. На внутреннем торце крышки выполнена профильная поверхность, предназначенная для формирования детали, а на внешнем торце выполнен конический выступ с резьбовым отверстием, предназначенный для крепления крышки с диском, и две кольцевые проточки шириной 4 мм, глубиной 5 мм. Крышка скреплена с диском, выполненным из стали 45 и покрытым хромом, в котором имеется посадочное место под стакан 210 мм. Резиновая оболочка, изготовленная из резины ИРП 1354 ТУ 38 005.1166-98, выполнена в виде цилиндра 186 мм. В нижней части цилиндр переходит в кольцевой фланец, который в свою очередь переходит в цилиндрическую поверхность 217 мм. На внутренней поверхности фланца имеется кольцевой выступ шириной 3 мм и высотой 5 мм. В верхней части цилиндр переходит во фланец, имеющий внутренний диаметр 92 мм. На внутренней плоскости этого фланца имеются два кольцевых выступа шириной 3 мм и высотой 5 мм. Стакан выполнен из стали 45 в виде обечайки с толщиной стенки 20 мм. На внутреннем диаметре обечайки выполнены посадочные места под поддон и диск, скрепленный с крышкой. В нижней части стакана на расстоянии 47 мм от торца имеется внутренний фланец, предназначенный для поджима оболочки к поддону. На торцевых поверхностях стакана имеется по шесть равномерно расположенных отверстий, предназначенных для крепления к стакану диска с крышкой и поддона, причем со стороны поддона отверстия гладкие, а со стороны диска – резьбовые.
На цилиндрической поверхности стакана выполнены четыре сквозных отверстия 25 мм для поступления воды в пресс-форму. Способ прессования в изображенном пресс-инструменте включает в себя два этапа.
Первый этап – формирование заготовки до плотности 75% от теоретически максимально достижимой (ТМД) осуществляется с использованием элементов пресс-формы для жесткого прессования следующим образом (см. фиг.1). На поддон 1, собранный с конусом 2, самозапирающимся клапаном 12 и установленный в подставку 14, устанавливают медную облицовку 3. Затем на поддон устанавливают направляющую 4, нагретую до температуры 130°С, скрепляют ее с подставкой 14 четырьмя болтами 15 и устанавливают удлинитель 8. В полость, образованную поддоном 1 и направляющей 4, засыпают навеску состава ОМА 6, предварительно нагретого до температуры 130°С. В направляющую устанавливают крышку 5, пуансон 13 и с помощью пресса уплотняют состав до плотности 75% от ТМД, после чего снимают направляющую с пуансоном и вкладышем с поддона.
Второй этап – гидростатическое прессование (см. фиг.2). На заготовку ВВ 6 с поддоном 1, конусом 2, облицовкой 3 надевают два кольца 7 переменного сечения и прижимают одно кольцо к поддону 1, а второе к крышке 5 (после ее установки). Устанавливают крышку 5. На крышку 5, заготовку ВВ 6 и поддон 1 надевают резиновую оболочку 9, при этом выступающие элементы на фланцах оболочки должны войти в соответствующие пазы крышки 5 и поддона 1. Стакан 11 устанавливают на поддон 1 и жестко скрепляют его с поддоном болтами 16, заневоливая нижний торец оболочки 9 между поддоном и стаканом. Сверху на стакан 11 устанавливают диск 10 и скрепляют его болтом 18 с крышкой 5, заневоливая таким образом верхний торец оболочки 9. Диск 10, скрепленный с крышкой жестко, скрепляют со стаканом 11 болтами 17. Через самозапирающийся клапан 12 удаляют воздух и помещают пресс-инструмент в камеру высокого давления (гидростат), которую герметизируют, создают предварительное давление, составляющее 40-70% от заданного давления прессования, нагревают до температуры переработки конкретного ВВ (для ОМА 125±5°), увеличивают давление прессования до заданного и выдерживают в течение 15-30 минут. В процессе выдержки эластичная оболочка передает давление, создаваемое в камере высокого давления, заготовке ВВ и уплотняет ее равномерно по всей боковой поверхности до заданной плотности. По окончании выдержки гидростат охлаждают до температуры 60°С, снимают давление в камере гидростата, разгерметизируют его, извлекают пресс-инструмент, разбирают его и снимают готовый заряд, соединенный с облицовкой.
Т.о. изготовленный кумулятивный заряд имеет минимальную разноплотность (в пределах чувствительности существующих методов измерения разноплотности взрывчатых веществ).
Формула изобретения
1. Способ изготовления зарядов взрывчатых веществ, включающий формование заготовки из взрывчатого вещества, заключение ее в герметичный объем, образованный эластичной оболочкой и герметизирующими элементами, с последующим размещением в камере высокого давления и обжатием по боковой поверхности давлением жидкости или газа, отличающийся тем, что формование заготовки осуществляют прессованием до плотности 60-90% от теоретически максимально достижимой, а перед обжатием заготовки ее торцы жестко фиксируют и герметичный объем вакуумируют.
2. Устройство изготовления зарядов взрывчатых веществ, включающее камеру высокого давления и эластичную оболочку с герметизирующими элементами, в которую помещают заготовку взрывчатого вещества, отличающееся тем, что герметизирующие элементы эластичной оболочки изготовлены из конструкционного материала в виде поддона и крышки, жестко скрепленных с торцевыми поверхностями эластичной оболочки, причем в поддоне и крышке выполнены кольцевые проточки, а в эластичной оболочке – выступы, сопрягаемые с проточками, при этом эластичная оболочка, поддон и крышка зафиксированы стаканом, в котором выполнены отверстия для подачи жидкости или газа, а на торцах заготовки установлены резиновые кольца переменного сечения, прилегающие одной гранью к заготовке, а другой – к поддону и крышке, при этом в поддоне установлен самозапирающийся вакуумный клапан.
РИСУНКИ
|
|