|
|
(21), (22) Заявка: 2002132614/03, 04.12.2002
(24) Дата начала отсчета срока действия патента:
04.12.2002
(30) Конвенционный приоритет:
05.12.2001 (пп.1 и 2) US 10/005,393
(43) Дата публикации заявки: 27.05.2004
(46) Опубликовано: 27.06.2007
(56) Список документов, цитированных в отчете о поиске:
US 5895513 А, 20.04.1999. US 4351663 А, 28.09.1982. GB 2020646 А, 21.11.1979. DE 2494259 A, 21.05.1982. SU 953976 A3, 23.08.1982.
Адрес для переписки:
129010, Москва, ул. Б.Спасская, 25, стр.3, ООО “Юридическая фирма Городисский и Партнеры”, пат.пов. Г.Б. Егоровой, рег.№ 513
|
(72) Автор(ы):
ПИНКЕРТОН Стивен Дж. (US)
(73) Патентообладатель(и):
ЭМХАРТ ГЛАСС С.А. (CH)
|
(54) ИЗВЛЕКАЮЩИЙ МЕХАНИЗМ ДЛЯ ЗАХВАТА БУТЫЛКИ
(57) Реферат:
Изобретение относится к области изготовления стеклянных емкостей, а именно к конструкциям для изготовления емкостей индивидуального профиля. Изобретение позволит повысить качество изготовляемых емкостей. Извлекающий механизм для захвата бутылки, отформованной в пункте выдувания устройства для изготовления стеклянных емкостей индивидуального профиля, перемещающий бутылку в местоположение вблизи приемного стола и опускающий бутылку на приемный стол, содержит захватный кронштейн, захватную головку, прикрепленную к захватному кронштейну, и средство, включающее средство управления для перемещения захватного кронштейна из первого положения, в котором бутылка захватывается в пункте выдувания, во второе положение, находящееся на первом выбранном расстоянии над приемным столом, для удерживания захватного кронштейна во втором положении в течение выбранного времени, для перемещения по истечении указанного выбранного времени захватного кронштейна вниз в направлении приемного стола в третье положение, и когда избранная захватная головка находится в третьем положении, для опускания бутылки на конвейер. 1 з.п. ф-лы. 3 ил.
Настоящее изобретение относится к устройству для изготовления стеклянных емкостей индивидуального профиля, более конкретно к извлекающему механизму для такого устройства.
В устройстве для изготовления стеклянных емкостей индивидуального профиля бутылка формируется в форме для выдувания, состоящей из двух частей, и когда она достаточно охлаждена для того, чтобы ее можно было перемещать, части формы для выдувания раскрываются, и извлекающий механизм захватывает бутылку вблизи венчика, поднимает бутылку и перемещает ее в подвешенное положение над приемным столом, который перфорирован для обеспечения обдува поднимающимся вверх охлаждающим воздухом всего дна бутылки для продолжения процесса охлаждения. Когда дно бутылки достаточно охлаждено, извлекающий механизм освобождает бутылку, сбрасывая бутылку с высоты, на которой она удерживалась над приемным столом, на приемный стол.
Задачей настоящего изобретения является создание усовершенствованного извлекающего механизма.
Другие задачи и преимущества настоящего изобретения раскрываются в нижеследующем описании со ссылками на чертежи, которые иллюстрируют предпочтительный вариант осуществления изобретения, содержащий принципы изобретения.
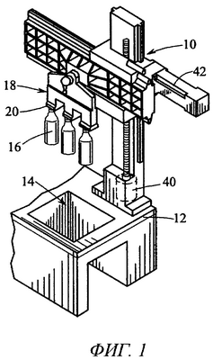
На фиг.1 изображен схематический вид в перспективе, показывающий извлекающий механизм,
на фиг.2 изображен вид сбоку, показывающий перемещение извлекающего механизма из положения подхвата бутылок в положение установки бутылок,
на фиг.3 изображена логическая блок-схема, иллюстрирующая работу по управлению таким перемещением извлекающего механизма.
На фиг.1 изображен извлекающий механизм 10, установленный на секционной раме 12 устройства для изготовления стеклянных емкостей индивидуального профиля вблизи пункта 14 выдувания, где из черновой заготовки (не показана), расположенной в паре закрытых форм для выдувания (также не показаны), выдувают бутылку 16. В патенте США №5895513 описан известный извлекающий механизм. Извлекающий механизм включает захватный кронштейн 18, который удерживает захватную головку 20 для каждой бутылки, изготовленной в пункте выдувания. На чертежах три бутылки удерживаются в трех захватных головках, и устройство для изготовления стеклянных емкостей индивидуального профиля, соответственно, работает с тремя каплями стекломассы.
Как показано на фиг.2, когда бутылки в достаточной степени охлаждены, формы для выдувания будут открыты так, что каждая отформованная бутылка стоит на поддоне формы (схематически показан линией 22). Извлекающий механизм перемещается и располагается над сформированными бутылками так, что захватные головки могут захватывать бутылки вблизи венчика (резьбовая и т.д. верхняя часть). Средство управления извлекающим средством (фиг.3) будет затем перемещать захваченную бутылку на высоту Н1 26 (избранная высота над приемным столом 24, которая подобрана для охлаждения дна бутылки как необходимо). Охлаждающий воздух проходит вверх через отверстия в приемном столе для охлаждения донышек подвешенных бутылок. Когда донышки в достаточной степени охлаждены (утвердительный ответ на запрос 28 “Удерживалась ли бутылка на высоте Н1 в течение времени “Т”?), средство управления будет опускать (этап 30) бутылку на высоту Н2 (Н2 – это высота над приемным столом 24, которая избрана так, что она находится на уровне приемного стола или очень близка к нему). Когда средство управления реагирует (этап 32) на утвердительный ответ на запрос “Опущена ли бутылка на высоту Н2?”, средство управления будет опускать бутылку на приемный стол 34. Как показано, средство управления имеет вводы данных о высоте Н1, Н2 и о времени Т, благодаря которым оператор может определять перемещение для конкретной изготовляемой бутылки.
Как показано на фиг.2, извлекающий механизм может перемещаться по вертикали и по горизонтали по двум осям, причем каждое перемещение управляется серводвигателем 40, 42. В альтернативном варианте захватный кронштейн может с возможностью поворота устанавливаться и приводиться в движение по дуге одним серводвигателем.
Формула изобретения
1. Извлекающий механизм для захвата бутылки, отформованной в пункте выдувания устройства для изготовления стеклянных емкостей индивидуального профиля, перемещающий бутылку в местоположение вблизи приемного стола и опускающий бутылку на приемный стол, содержащий захватный кронштейн, захватную головку, прикрепленную к захватному кронштейну для захвата бутылки, и средство, включающее средство управления для перемещения захватного кронштейна из первого положения, в котором бутылка захватывается в пункте выдувания, во второе положение, находящееся на первом выбранном расстоянии над приемным столом, для удерживания захватного кронштейна во втором положении в течение выбранного времени, для перемещения по истечении указанного выбранного времени захватного кронштейна вниз в направлении приемного стола в третье положение, и когда избранная захватная головка находится в третьем положении, для опускания бутылки на конвейер.
2. Извлекающий механизм для захвата бутылки, отформованной в пункте выдувания устройства для изготовления стеклянных емкостей индивидуального профиля по п.1, в котором третьим положением является положение на заданной высоте над приемным столом.
РИСУНКИ
|
|