|
|
(21), (22) Заявка: 2002134122/03, 18.12.2002
(24) Дата начала отсчета срока действия патента:
18.12.2002
(30) Конвенционный приоритет:
19.12.2001 (пп.1-3) US 10/027,560
(43) Дата публикации заявки: 10.06.2004
(46) Опубликовано: 27.06.2007
(56) Список документов, цитированных в отчете о поиске:
US 5830254 А, 03.11.1998. ЕР 0555955 А, 18.08.1993. US 4557744 A, 10.12.1985. ЕР 0708059 А, 24.04.1996. SU 953976 A3, 23.08.1982.
Адрес для переписки:
129010, Москва, ул. Б.Спасская, 25, стр.3, ООО “Юридическая фирма Городисский и Партнеры”, пат.пов. Г.Б. Егоровой, рег.№ 513
|
(72) Автор(ы):
ВОЙСАЙН Гари Р. (US), СИРИЭЛЛО Майкл П. (US)
(73) Патентообладатель(и):
ЭМХАРТ ГЛАСС С.А. (CH)
|
(54) МЕХАНИЗМ ОТКРЫВАНИЯ И ЗАКРЫВАНИЯ ФОРМ СЕКЦИОННОЙ СТЕКЛОФОРМОВОЧНОЙ МАШИНЫ
(57) Реферат:
Изобретение относится к области изготовления стеклянных емкостей, а именно к механизмам открывания и закрывания форм секционных стеклоформовочных машин. Изобретение позволит упростить демонтаж формодержателя и узел привода. Механизм открывания и закрывания форм секционной стеклоформовочной машины, прикрепляемый к верхней, снабженной отверстием стенке машины, содержит корпус исполнительного механизма, вертикально расположенный вставной узел с корпусом и приводом. Привод включает гайку для поддержки приводного рычажного средства и средство с вертикально расположенным двигателем для перемещения гайки. Корпус исполнительного механизма ограничивает вертикально проходящее отверстие корпуса над отверстием верхней стенки так, что указанный вертикально расположенный вставной узел может быть вставлен через отверстие корпуса и в отверстие верхней стенки. Корпус исполнительного механизма имеет вертикальные борта. Корпус вставного узла включает установочные средства, крепежные средства. 2 з.п. ф-лы. 6 ил.
Настоящее изобретение относится к секционным стеклоформовочным машинам и, конкретнее, к механизмам открывания и закрывания форм в таких машинах.
В машине с отдельными секциями каплю стекломассы формуют в заготовку внутри черновой формы, и формованную заготовку переносят на участок выдувания, где в чистовой форме из заготовки выдувают готовую бутылку. Чистовые формы и черновые формы являются частью механизма открывания и закрывания форм, как, например, описано в патенте США №5.830.254.
В этой конструкции формодержатель соединен с двумя рычагами посредством горизонтального вращающегося вала. Рычаги являются частью узла привода. Удаление вала позволяет отделять формодержатель от узла привода. В этом случае весь узел привода, включая и корпус узла привода, можно было снять, ослабляя болты, которые прикрепляют корпус узла привода к верхней поверхности рамы, отводя корпус с помещенным в него узлом привода и поднимая вверх двигатель узла привода через отверстие в раме секции. При этой конструкции трудно было обслуживать подшипники рычагов.
Задачей настоящего изобретения является создание стеклоформовочной машины с отдельными секциями для формования стеклотары, в которой можно легче снимать формодержатель и узел привода и в которой легче обслуживать подшипники рычагов.
Другие задачи и преимущества настоящего изобретения станут очевидными из нижеследующей части этого описания и из сопровождающих чертежей, которые согласно требованиям патентного законодательства иллюстрируют предпочтительный в настоящее время вариант, воплощающий в себе сущность изобретения.
Чертежи изображают:
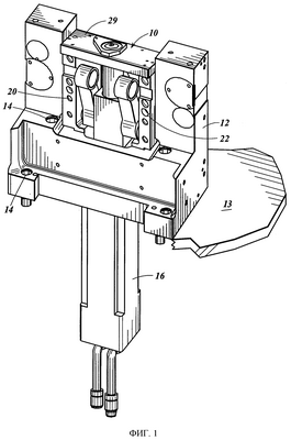
Фиг.1 – перспективный вид механизма открывания и закрывания форм в секционной машине.
Фиг.2 – вид, сходный с видом на фиг.1, с вставным узлом, отделяемым от корпуса исполнительного механизма.
Фиг.3 – вертикальный вид, показывающий вал, поддерживаемый двумя приводными рычагами вставного узла.
Фиг.4 – перспективный вид с пространственным разделением деталей узла поддержки формодержателя.
Фиг.5 – перспективный вид механизма открывания и закрывания форм и боковой рамы.
Фиг.6 – перспективный вид с частичным разрезом вставного узла и узла поддержки формодержателя.
На фиг.1 показаны вставной узел 10 и корпус 12 исполнительного механизма. Корпус исполнительного механизма с помощью соответствующих болтов 14 установлен на верхней стенке 13 рамы секции. Верхняя стенка имеет отверстие (не показано), через которое может проходить двигатель 16 вставного узла 10. Как можно видеть на фиг.2, корпус исполнительного механизма имеет два вертикально расположенных борта 18 (показан один борт), к которым соответствующими болтами 20 крепится корпус 19 вставного узла. Установочные штифты 22 обеспечивают правильное расположение. К корпусу 19 вставного узла прикреплены двигатель 16 и шариковый винт 24, который проходит между верхней пластиной 29 и соединительной муфтой 23 двигателя (фиг.5). С шариковым винтом соединена гайка 25, к которой прикреплены оси 26 для шарнирной поддержки с одного конца двух приводных рычагов 27. Вал 30 (фиг.3) имеет две цилиндрические опорные поверхности 33 (фиг.6) для помещения в отверстия 31 рычагов и две плоские части 28 с каждой стороны опорных поверхностей 33. В этих плоских частях выполнены резьбовые отверстия 32.
С этим валом 30 функционально соединен формонесущий механизм (фиг.4), который имеет формодержатель 34, к которому прикреплены верхняя и нижняя вставки 36. Кроме того, к формодержателю прикреплены две противоположные направляющие 38 (подвижные направляющие), которые могут скользяще перемещаться между верхними 40 и нижними 41 неподвижными направляющими (показана одна пара направляющих), которые с возможностью съема прикреплены к боковой раме 42. Направляющие имеют длину, выбранную таким образом, что когда механизм открывания и закрывания противоположных форм полностью отведен назад, подвижная направляющая опоры для форм может быть свободно отведена от неподвижных направляющих, что, таким образом, позволяет снимать формодержатель с машины, удаляя болты 44, которые проходят через соответствующие отверстия в формодержателе 34 и резьбовые отверстия 32 в валу 30, так чтобы можно было отремонтировать или заменить формонесущий механизм.
Отверстия 31 в двух рычагах, отдаленные от гайки 25, ограничены подшипниками 46. Для смазывания этих подшипников смазочное масло подается к впускному отверстию 50 в корпусе 12 исполнительного механизма (фиг.5) и через ответвления 52 вводится в вертикальный канал 54. Верхнее горизонтальное ответвление 55 сообщается с соответствующим ответвлением 56 в боковой раме 42, и это ответвление соединяется с вертикальным каналом 57 в раме, который сообщается с вертикальным подающим отверстием 58 в верхней неподвижной направляющей 40. Масло будет периодически пульсировать через этот подающий канал на верхнюю поверхность подвижной направляющей 38 (всегда будет иметься часть подвижной направляющей под подающим отверстием 58). Масло собирается в ряде канавок 60, вырезанных в верхней поверхности подвижной направляющей, которая ограничивает небольшой масляный резервуар. Это обеспечивает смазывание верхней поверхности, и масло, которое капает на верхнюю поверхность, смазывает верхнюю поверхность нижней неподвижной направляющей. С этим резервуаром сообщается вертикальный впускной канал 80 (фиг.6), который соединяется с горизонтальным впускным каналом 81. Масло перемещается самотеком к наклонному каналу 82 в держателе и затем через поперечное отверстие 83 в соосное отверстие 84 в валу 30, в горизонтальный подающий канал 86 и в вертикальный выпускной канал 88, который сообщается с поверхностью несущей опоры посередине ее длины.
Формула изобретения
1. Механизм открывания и закрывания форм секционной стеклоформовочной машины, прикрепляемый к верхней, снабженной отверстием стенке машины, содержащий корпус исполнительного механизма, прикрепляемый к верхней стенке, вертикально расположенный вставной узел, включающий в себя корпус и привод, установленный на указанном корпусе и включающий в себя гайку, поддерживающую приводное рычажное средство, и средство, включающее в себя вертикально расположенный двигатель для перемещения указанной гайки, указанный корпус исполнительного механизма, ограничивающий вертикально проходящее отверстие корпуса над отверстием верхней стенки так, что указанный вертикально расположенный вставной узел может быть вставлен через отверстие корпуса и в отверстие верхней стенки, указанный корпус исполнительного механизма, включающий в себя вертикально расположенные борта, указанный корпус вставного узла, включающий в себя установочные средства для соединения с указанными бортами, крепежные средства для прикрепления указанных установочных средств к указанным бортам, посредством чего при раскреплении указанных крепежных средств указанный вставной узел может быть поднят из машины.
2. Механизм открывания и закрывания форм по п.1, в котором указанное средство, включающее в себя вертикально расположенный двигатель для перемещения указанной гайки, кроме того, содержит винт, функционально объединенный с указанной гайкой, и соединительную муфту для соединения указанного винта и указанного двигателя.
3. Механизм открывания и закрывания форм по п.1, в котором указанное приводное рычажное средство содержит два рычага.
РИСУНКИ
|
|