|
|
(21), (22) Заявка: 2005137410/15, 01.12.2005
(24) Дата начала отсчета срока действия патента:
01.12.2005
(46) Опубликовано: 27.06.2007
(56) Список документов, цитированных в отчете о поиске:
RU 2198134 C1, 10.02.2003. RU 2036833 C1, 09.06.1995. RU 2181103 C2, 10.04.2002. JP 2001220112 A, 14.08.2001. US 5413769 A, 09.05.1995.
Адрес для переписки:
350044, г.Краснодар, Калинина, 13, КГАУ, Патентно-информационный отдел
|
(72) Автор(ы):
Стрижков Игорь Григорьевич (RU), Разнован Ольга Никифоровна (RU)
(73) Патентообладатель(и):
Федеральное государственное образовательное учреждение высшего профессионального образования “Кубанский государственный аграрный университет” (RU)
|
(54) ОЗОНАТОР
(57) Реферат:
Изобретение относится к устройствам для получения озона и может быть использовано на промышленных и сельскохозяйственных предприятиях для обработки воздушных и водных сред. Озонатор содержит высоковольтный источник переменного напряжения и индуктор, выполненный в виде металлических пластин, разделенных диэлектрическими пластинами и щелевым разрядным промежутком. Одна из металлических пластин выполнена в виде последовательно соединенных между собой плоских спиралей толщиной 0,1-0,3 миллиметра. Изобретение позволяет увеличить производительность озонатора при снижении расхода активных материалов. 1 ил.
Изобретение относится к устройствам для получения озона и может быть использовано на промышленных и сельскохозяйственных предприятиях для обработки воздушных и водных сред.
Известен озонатор по патенту РФ №1673503, кл. С01В 13/11, 30.08.91, Бюл. №32), в котором генератор озона содержит металлические электроды, снабженные диэлектрической оболочкой и выполненные в виде двойной спирали.
Недостатком этого озонатора является невысокая производительность, вызванная значительным емкостным сопротивлением электрического контура озонатора, снижающим его активную мощность при заданном подводимом напряжении, а также невозможностью использования в качестве изоляторов хрупких диэлектриков, таких как стекло.
Наиболее близким к предлагаемому изобретению является изобретение (патент РФ №2198134, кл. С01В 13/11, 10.02.2003, Бюл. №4), в котором озонатор содержит индуктор, выполненный из металлических пластин, разделенных диэлектрическими пластинами, создающими щелевой разрядный промежуток. Электроды подключены к высоковольтному источнику переменного напряжения.
Озонатор, выбранный в качестве прототипа, имеет невысокую производительность, что является следствием того, что пластинчатые электроды обладают емкостным электрическим сопротивлением, которое снижает ток «тихого» электрического разряда в щелевом разрядном промежутке и, следовательно, активную мощность разрядного промежутка и производительность озонатора.
Технической задачей является повышение производительности озонатора при снижении расхода активных материалов.
Решение задачи достигается тем, что в озонаторе, содержащем высоковольтный источник переменного напряжения и индуктор, выполненный в виде металлических пластин, разделенных диэлектрическими пластинами и щелевым разрядным промежутком, согласно предложенному изобретению одна из металлических пластин выполнена в виде последовательно соединенных между собой плоских спиралей толщиной 0,1-0,3 мм.
Новизна заявленного предложения состоит в том, что в электрический контур озонатора, обладающий активно-емкостным сопротивлением, внесена индуктивность спиралей электрода, вызывающая уменьшение результирующего реактивного сопротивления контура подобно тому, как это происходит при резонансе напряжений в последовательной R, L, C электрической цепи. Снижение общего реактивного сопротивления контура приводит к увеличению тока в цепи и увеличению активной мощности разрядного промежутка, что, в свою очередь, приводит к увеличению производительности озонатора.
По данным патентной и научно-технической литературы не обнаружена заявляемая совокупность признаков, что позволяет сделать заключение об изобретательском уровне предложения.
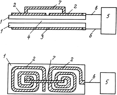
Предложенное техническое решение поясняется чертежом, где представлена схема озонатора.
Озонатор содержит диэлектрические пластины 1 (стекло или фторопласт), отделяющие верхний 2 и нижний 3 электроды от щелевого разрядного промежутка 4, электроды присоединены к источнику высокого переменного напряжения 5 токоподводящими проводниками 6, при этом верхний электрод 2 выполнен в виде n плоских спиралей (на фиг.1 показан пример с n=2) и на него подается высокое напряжение от источника 5, а нижний электрод 3 выполнен в виде плоской пластины, которая заземляется вместе с соответствующим электродом источника 5. Спирали электрода 2 соединяются между собой последовательно проводниками 7 (число проводников составляет n-1). Толщина электрода составляет 0,1-0,3 мм. Число витков спирали и геометрические размеры определяются расчетом или экспериментально таким образом, чтобы общее индуктивное сопротивление спирали при заданной частоте тока было по величине близким емкостному сопротивлению озонатора.
Индуктор может содержать несколько описанных выше пакетов, соединенных электрически параллельно.
Предложенная конструкция работает следующим образом.
При включении источника высокого переменного напряжения 5 на металлические электроды 2 и 3 между ними образуется электрическое поле высокой напряженности и в разрядном промежутке 4 происходит «тихий» электрический разряд, приводящий к образованию озона, при этом диэлектрики 1 ограничивают величину тока разряда. Ток разряда протекает в замкнутой электрической цепи, включающей кроме разрядного промежутка 4 последовательно соединенные токоподводящие проводники 6, электроды 2 и 3, диэлектрики 1 с током смещения. Эта цепь обладает электрическим активно-емкостным сопротивлением с емкостной составляющей xC. Поскольку электрод 2 выполнен в виде длинного проводника, приложенное к нему напряжение источника 5 распределяется таким образом, что у места присоединения электрода к токоподводящему проводнику 6 оно больше, чем у противоположного конца ленточного проводника. Поскольку проводник электрода 2 имеет форму спирали, он обладает индуктивностью и, следовательно, индуктивным сопротивлением xL, которое снижает общее реактивное сопротивление электрической цепи озонатора xобщ(xобщ=xL-xC). В результате снижения электрического сопротивления ток в электрической цепи возрастает, увеличивая тем самым производительность озонатора.
Формула изобретения
Озонатор, содержащий высоковольтный источник пременного напряжения и индуктор, выполненный в виде металлических пластин, разделенных диэлектрическими пластинами и щелевым разрядным промежутком, отличающийся тем, что одна из металлических пластин выполнена в виде последовательно соединенных между собой плоских спиралей толщиной 0,1-0,3 мм.
РИСУНКИ
MM4A – Досрочное прекращение действия патента СССР или патента Российской Федерации на изобретение из-за неуплаты в установленный срок пошлины за поддержание патента в силе
Дата прекращения действия патента: 02.12.2007
Извещение опубликовано: 20.08.2009 БИ: 23/2009
|
|