|
(21), (22) Заявка: 2005138015/28, 06.12.2005
(24) Дата начала отсчета срока действия патента:
06.12.2005
(46) Опубликовано: 27.06.2007
(56) Список документов, цитированных в отчете о поиске:
RU 2262386 С2, 20.10.2005. RU 2252817 C1, 27.05.2005. RU 2200749 С2, 20.03.2003. WO 96/14142 A1, 17.05.1996. JP 2004283737 A, 14.10.2004.
Адрес для переписки:
426067, г.Ижевск, ул. Татьяны Барамзиной, 34, Институт прикладной механики УрО РАН
|
(72) Автор(ы):
Вахрушев Александр Васильевич (RU), Федотов Алексей Юрьевич (RU), Вахрушев Александр Александрович (RU), Суетин Михаил Валерьевич (RU)
(73) Патентообладатель(и):
Институт прикладной механики УрО РАН (RU)
|
(54) СПОСОБ И УСТРОЙСТВО ПЕРЕМЕШИВАНИЯ НАНОЧАСТИЦ
(57) Реферат:
Изобретение относится к области получения нанопорошковых материалов и может быть использовано в технологиях формирования нанокомпозиционных материалов. Сущность изобретения: в способе перемешивания наночастиц, включающем создание у наночастиц электрических зарядов противоположной полярности, перемешивание наночастиц производят в гелеобразной или жидкой электронепроводящей среде перемешивания, химически нейтральной по отношению к материалам наночастиц, и перемешивание осуществляют в несколько этапов: ионизация наночастиц, основное перемешивание, вследствие притягивания разноименно заряженных наночастиц друг к другу, дополнительное перемешивание за счет движения заряженных микротел в смеси среды перемешивания и наночастиц под действием электромагнитного поля, прессование нанокомпозита. Устройство для перемешивания наночастиц состоит из двух камер зарядки наночастиц, основной камеры перемешивания, дополнительной камеры перемешивания в виде плоского диска и камеры прессования в виде цилиндров, снабженных поршнями. Изобретение позволяет повысить равномерность перемешивания микро- и нанопорошков. 2 н. и 6 з.п. ф-лы, 9 ил.
Заявляемый объект относится к способам перемешивания нанопорошковых материалов и может быть использован в технологиях формирования нанокомпозиционных материалов.
Формированию композиционных материалов препятствует слипание наночастиц, которое не позволяет формировать однородные по пространству композиционные смеси для прессования порошковых нанокомпозитов.
Известны способы перемешивания нанопорошков:
1) механическое перемешивание при помощи различных камер и лопастей перемешивания [патент Российской Федерации 96116150/25 заявитель Нордахль Г. От 3 ноября 1994 г., патент Российской Федерации 96103013/14 заявитель Добронравов П.Н. Заявлено 16 февраля 1996 года];
2) образование агломератов посредством электрических взаимодействий [патент Российской Федерации 2002115298/02 заявитель ИНДИГО ТЕКНОЛОДЖИЗ ГРУП ПТИ ЛТД от 10 ноября 2000 года];
3) получение нанокомпозита в результате протекания химических реакций и самоорганизации [патент Российской Федерации 2003136856/15 заявитель Балихин И.Л., Берестенко В.И. и др. Заявлено 23 декабря 2003 года].
Недостаток первого метода получения нанокомпозита заключается в образовании агломератов (больших устойчивых объединений) наночастиц одного и того же вещества, препятствующих перемешиванию смеси наночастиц. Преимущество способа заключается в большом выборе существующих устройств механического перемешивания.
Второй способ достаточно прост в реализации, но перенасыщение электрическим зарядом приводит к разрушению наночастиц, а недостаточная электризация – к плохому перемешиванию нанокомпозита.
Преимуществом третьего способа является простота реализации, а недостатком – недостаточно равномерное перемешивание и для каждого вида агломерата наночастиц необходимость индивидуальной химической реакции.
Наиболее близким к заявляемому техническому решению, принятым за прототип, является способ агломерации частиц [патент Российской Федерации 2002115298/02 заявитель ИНДИГО ТЕКНОЛОДЖИЗ ГРУП ПТИ ЛТД от 10 ноября 2000 года]. Смесь частиц в потоке газа ионизируют генератором ионов, предназначенным для создания у частиц в потоке газа электрических зарядов противоположной полярности. Затем при помощи конструкции, размещенной по направлению потока, изменяют физические характеристики потока газа для перемешивания противоположно заряженных частиц и таким образом содействия агломерации частиц.
В указанном способе перемешивания наночастиц процесс перемешивания реализуется в потоке газа, и это приводит к образованию агломератов наночастиц одного материала и снижению качества перемешанной смеси. Предлагаемый способ решает эту проблему тем, что перемешивание производят в среде перемешивания. В качестве среды перемешивания выбирают гелеобразное или жидкое электронепроводящее вещество, не вступающее в химические реакции с материалами наночастиц, например дистиллированную воду. Гелеобразной средой перемешивания может быть выбран полиизобутилен.
Известны устройства для агломерации наночастиц и перемешивания порошковых смесей (см. выше), основанные на механическом способе перемешивания и на методе электрических взаимодействий. Смешивание наночастиц осуществляют в камерах при помощи лопастей перемешивания или посредством электромагнитных взаимодействий. Недостатком данных устройств является образование устойчивых объединений наночастиц, затрудняющих процесс получения однородной смеси.
Наиболее близким к изобретению техническим решением является устройство для агломерации частиц [патент Российской Федерации 2002115298/02 заявитель ИНДИГО ТЕКНОЛОДЖИЗ ГРУП ПТИ ЛТД от 10 ноября 2000 года]. Устройство для агломерации частиц в потоке газа содержит генератор ионов, предназначенный для создания у частиц в потоке газа электрических зарядов противоположной полярности, и конструкцию, размещенную по направлению потока ниже генератора ионов, предназначенную для изменения физических характеристик потока газа для перемешивания противоположно заряженных частиц и содействия агломерации частиц.
Данное устройство имеет камеру смешивания, матрицы электродов, содержит устройство акустического возбуждения, предназначенное для возбуждения содержащихся в потоке газа частиц в камере. Кроме того, в камере перемешивания присутствуют уступы и заостренные выступы, формирующие вихревые течения для лучшего перемешивания частиц.
Задачей заявляемых изобретений является повышение равномерности перемешивания микро- и нанопорошков.
Задача решается тем, что перемешивание производят в среде перемешивания в основной и дополнительной камерах перемешивания. Наночастицы одного материала заряжают положительно, а другого – отрицательно. Под действием поршня в основной камере перемешивания и электромагнитных сил наночастицы перемешивают и подают в дополнительную камеру перемешивания. В дополнительной камере перемешивание осуществляют при помощи движения заряженных микротел в смеси наночастиц и среды перемешивания под действием электромагнитного поля. Перемешанный композит подают в камеру прессования для удаления среды перемешивания и прессования нанокомпозита.
Задача решается также тем, что устройство для перемешивания наночастиц включает в себя генератор ионов и состоит из 2-х камер зарядки наночастиц, основной камеры перемешивания, снабженной поршнем, дополнительной камеры перемешивания, выполненной в виде диска, в котором электроды расположены вдоль цилиндрической поверхности в виде правильного шестиугольника. Полярности электродов чередуются, а между ними расположены диэлектрические прослойки, при этом в камере находятся заряженные микротела. После перемешивания нанокомпозит прессуется в камере прессования.
Технический результат заключается в получении однородного нанокомпозита.
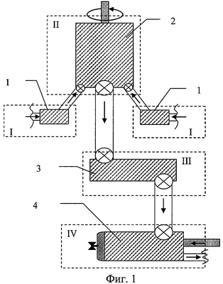
На чертеже (Фиг.1) представлено устройство для перемешивания наночастиц. Устройство состоит из двух цилиндрических камер зарядки наночастиц 1, основной камеры перемешивания 2, дополнительной камеры перемешивания 3 и камеры прессования 4.
Основная камера перемешивания представляет собой вертикально расположенный цилиндр с сечением вдоль оси цилиндра (Фиг.2) и сечением, перпендикулярным оси цилиндра (Фиг.3). Вид снизу основной камеры перемешивания изображен на Фиг.4. Смесь наночастиц и среды перемешивания поступает через клапаны 5. Дополнительно поршень 6 может быть снабжен лопастями перемешивания 7 и двигаться по винтовой спирали 8, нанесенной на внутреннюю цилиндрическую поверхность, совершая при этом вращательно-поступательное движение. В дополнительную камеру перемешивания смесь поступает через клапан 9.
Дополнительная камера перемешивания изображена на: Фиг.5 – разрез, перпендикулярный оси; Фиг.6 – вид сверху; Фиг.7 – вид сбоку; Фиг.8 – вид снизу. Дополнительная камера перемешивания выполнена в виде диска, в котором электроды 10 расположены между внешней 11 и внутренней 12 цилиндрическими поверхностями, в виде правильного шестиугольника. Полярности электродов чередуются, а между ними расположены диэлектрические прослойки 13. Смесь наночастиц подают в камеру через клапан 14, а заряженные микротела 15 – через клапан 16. В камеру прессования смесь подают через клапан 17.
Камера прессования представляет собой горизонтально расположенный цилиндр (Фиг.9). Смесь наночастиц подают в камеру через клапан 18. Между поршнем 19 и внутренней цилиндрической поверхностью камеры имеются небольшие зазоры 20. Камера прессования снабжена трубкой 21 и клапаном 22.
Способ реализуется следующим образом: устройство для перемешивания заполняют гелеобразным или жидким электронепроводящим веществом, не вступающим в химические реакции с материалами наночастиц, например дистиллированной водой. Это вещество является средой перемешивание наночастиц. В качестве гелеобразной среды перемешивания может выступать полиизобутилен. Наночастицы одного материала заряжают положительно, а другого – отрицательно (этап I) для увеличения сил отталкивания между частицами одного материала и предотвращения их слипания. В основной камере перемешивания вследствие притягивания разноименно заряженных частиц друг к другу наночастицы перемешивают (этап II) и подают в дополнительную камеру перемешивания.
Дополнительно поршень в основной камере перемешивания может быть снабжен лопастями перемешивания, выполненными в виде вытянутых треугольных призм и расположенными друг к другу под углом в 120 градусов (Фиг.3). Под действием поступательно-вращательного движения поршня производят более интенсивное перемешивание наночастиц.
В дополнительной камере перемешивания размещают заряженные микротела, например фуллерены. Подают напряжение на два электрода, расположенных на противоположных сторонах правильного шестиугольника. Таким образом, происходит движение заряженных микротел от одноименно заряженного электрода к противоположно заряженному. Посредством движения микротел смесь наночастиц перемешивают (этап III). Через некоторый промежуток времени напряжение подают на другие два противоположные электрода и перемешивание повторяют. После получения однородной смеси из наночастиц и среды перемешивания раствор смеси подают в камеру прессования. Подачу напряжения на электроды при этом не прекращают. Таким образом, микротела концентрируются вблизи одного из электродов и не попадают в камеру прессования. В камере прессования (этап IV) удаляют среду перемешивания из смеси наночастиц и прессуют нанокомпозит.
Устройство работает следующим образом: на начальном этапе клапаны 5 открыты, а 9, 14, 16, 17, 18 закрыты, поршень основной камеры перемешивания 6 опущен, поршень камеры прессования 19 находится в крайнем правом положении, через клапан 16 в дополнительную камеру перемешивания введены заряженные микротела, подается напряжение на два противоположных электрода. При помощи поршня 6 (движение поршня вверх) смесь наночастиц поступает через клапаны 5 в основную камеру перемешивания. Затем клапаны 5 закрываются, а 9 и 14 открываются, и под давлением поршня 6 (движение поршня вниз) смесь наночастиц из основной камеры перемешивания поступает в дополнительную камеру перемешивания. Клапаны 14 и 17 закрываются, на два противоположно расположенные друг напротив друга электрода в дополнительной камере перемешивания подается напряжение. Затем напряжение подается на другие противоположно расположенные электроды. Через некоторое время клапаны 9, 14, 17 и 18 открываются и перемешанная смесь наночастиц выдавливается следующей порцией смеси в камеру прессования. Клапан 18 закрывается и под давлением поршня 19 происходит удаление среды перемешивания из смеси наночастиц через неплотности 20 между поршнем и внутренней цилиндрической стенкой камеры. При помощи клапана спрессованный равномерно перемешанный нанокомпозит поступает в дальнейшую эксплуатацию.
Формула изобретения
1. Способ перемешивания наночастиц, включающий создание у наночастиц электрических зарядов противоположной полярности, отличающийся тем, что перемешивание наночастиц производят в гелеобразной или жидкой электронепроводящей среде перемешивания, химически нейтральной по отношению к материалам наночастиц, и перемешивание осуществляют в несколько этапов: ионизация наночастиц, основное перемешивание, вследствие притягивания разноименно заряженных наночастиц друг к другу, дополнительное перемешивание за счет движения заряженных микротел в смеси среды перемешивания и наночастиц под действием электромагнитного поля, прессование нанокомпозита.
2. Способ перемешивания наночастиц по п.1, отличающийся тем, что в качестве среды перемешивания наночастиц выступает дистиллированная вода.
3. Способ перемешивания наночастиц по п.1, отличающийся тем, что перемешивание наночастиц осуществляют дополнительно за счет вращательного движения лопастей перемешивания.
4. Способ перемешивания наночастиц по п.1, отличающийся тем, что в качестве микротел используют фуллерены.
5. Устройство для перемешивания наночастиц, включающее генератор ионов, предназначенный для создания у частиц в потоке газа электрических зарядов противоположной полярности, отличающееся тем, что оно состоит из 2-х камер зарядки наночастиц, основной камеры перемешивания, снабженной поршнем, дополнительной камеры перемешивания, выполненной в виде диска, в котором электроды расположены вдоль цилиндрической поверхности в виде правильного шестиугольника, полярности электродов чередуются, а между ними расположены диэлектрические прослойки, при этом в камере находятся заряженные микротела, и камеры прессования.
6. Устройство для перемешивания наночастиц по п.5, отличающееся тем, что нижняя часть поршня в основной камере перемешивания снабжена лопастями перемешивания и поршень движется по винтовой спирали, нанесенной на внутреннюю цилиндрическую поверхность основной камеры перемешивания.
7. Устройство для перемешивания наночастиц по п.6, отличающееся тем, что нижняя часть поршня в основной камере перемешивания снабжена тремя лопастями перемешивания, выполненными в виде вытянутых треугольных призм и расположенных друг к другу под углом в 120°.
8. Устройство для перемешивания наночастиц по п.5, отличающееся тем, что матрица электродов в дополнительной камере перемешивания выполнена в виде правильного n-угольника.
РИСУНКИ
MM4A – Досрочное прекращение действия патента СССР или патента Российской Федерации на изобретение из-за неуплаты в установленный срок пошлины за поддержание патента в силе
Дата прекращения действия патента: 07.12.2007
Извещение опубликовано: 20.10.2009 БИ: 29/2009
|