|
|
(21), (22) Заявка: 2005139905/11, 20.12.2005
(24) Дата начала отсчета срока действия патента:
20.12.2005
(46) Опубликовано: 27.06.2007
(56) Список документов, цитированных в отчете о поиске:
SU 317584 A1, 10.01.1972. SU 695898 A1, 05.11.1979. SU 1294723 A2, 07.03.1987. JP 11165830 A, 22.06.1999.
Адрес для переписки:
394000, г.Воронеж, пр. Революции, 19, ГОУВПО Воронежская государственная технологическая академия, отдел СМП
|
(72) Автор(ы):
Бахолдин Александр Михайлович (RU), Капранчиков Сергей Сергеевич (RU)
(73) Патентообладатель(и):
Государственное образовательное учреждение высшего профессионального образования Воронежская государственная технологическая академия (RU)
|
(54) НАТЯЖНОЕ УСТРОЙСТВО ДЛЯ ТЯГОВОГО ОРГАНА КОНВЕЙЕРА
(57) Реферат:
Изобретение относится к области конвейеростроения, а именно к натяжным устройствам для тягового органа, и может использоваться в транспортирующих машинах с тяговым органом – конвейерах. Натяжное устройство содержит перемещаемый в направляющих опорной рамы блок, огибаемый тяговым органом и соединенный с тягой, снабженной полым винтом и пружиной, полый винт установлен на тяге и взаимодействует с гайкой, закрепленной неподвижно на опорной раме. Тяга выполнена с кольцевым выступом, которым тяга взаимодействует со стопорной ступенчатой гайкой, закрученной в полый ступенчатый винт. Пружина помещена внутрь полого ступенчатого винта и одним концом также контактирует с упомянутой стопорной ступенчатой гайкой, а другим – с направляющим кольцом, помещенным во внутреннюю полость полого винта. Изобретение позволяет уменьшить размеры натяжного устройства, упростить его обслуживание и увеличить срок службы. 3 ил.
Изобретение относится к области конвейеростроения и касается натяжных устройств, используемых в транспортирующих машинах с тяговым органом.
Наиболее близкой по технической сущности и достигаемому эффекту является натяжное устройство, обладающее большими габаритными размерами [SU 317584 А1, кл. B65G 23/44, опубл. 10.01.1972, фиг.1-3, всего 2 стр.], содержащее перемещаемый в направляющих опорной рамы блок, огибаемый тяговым органом и соединенный с тягой, снабженной винтом и пружиной, на тяге установлен полый винт, взаимодействующий с гайкой, закрепленной неподвижно на опорной раме, а тяга выполнена с кольцевым выступом, воздействующим на торец полого винта.
Недостатком данной конструкции является то, что она обладает большими габаритными размерами и из-за этого недостатка возникает проблема обслуживания и установки данного устройства, а также небольшой срок службы.
Техническая задача изобретения – уменьшение размеров натяжного устройства, упрощение его обслуживания и увеличение срока службы.
Поставленная задача достигается тем, что в натяжном устройстве для тягового органа конвейера, содержащем перемещаемый в направляющих опорной рамы блок, огибаемый тяговым органом и соединенный с тягой, снабженной полым винтом и пружиной, полый винт установлен на тяге и взаимодействует с гайкой, закрепленной неподвижно на опорной раме, а тяга выполнена с кольцевым выступом, новым является то, что тяга кольцевым выступом взаимодействует со стопорной ступенчатой гайкой, закрученной в полый ступенчатый винт, при этом пружина помещена внутрь полого ступенчатого винта и одним концом также контактирует с упомянутой стопорной ступенчатой гайкой, а другим – с направляющим кольцом, помещенным во внутреннюю полость полого винта.
Технический результат заключается в уменьшении размеров натяжного устройства, упрощении его обслуживания и увеличении срока службы.
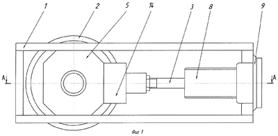
На фиг.1 изображено предлагаемое натяжное устройство, общий вид; на фиг.2 – разрез по А-А на фиг.1; на фиг.3 – тяговая часть натяжного устройства.
Натяжное устройство для тягового органа содержит перемещаемый в направляющих опорной рамы 1 блок 2, огибаемый тяговым органом и соединенный с тягой 3. Блок вращается вокруг оси 4, закрепленной в сухарях 5, которые перемещаются вдоль опорной рамы. Тяга снабжена пружиной 6, упирающейся в стопорную ступенчатую гайку 7, которая закручена в полый ступенчатый винт 8. Полый ступенчатый винт взаимодействует с гайкой 9, закрепленной на опорной раме. Тяга выполнена с кольцевым выступом 10, взаимодействующим со стопорной ступенчатой гайкой 7. Степень сжатия пружины 6, упирающейся концами в стопорную ступенчатую гайку 7 и направляющее кольцо 11, регулируется с помощью гайки 12 и контргайки 13. Тяга действует на блок посредством вилки 14.
Натяжное устройство для тягового органа конвейера работает следующим образом.
Перед пуском транспортирующей машины необходимо натянуть тяговый орган. Для этого полый ступенчатый винт 8 перемещается вдоль своей оси и стопорной ступенчатой гайкой 7 упирается в кольцевой выступ 10 тяги 3, перемещая ее.
Необходимое первоначальное натяжение тягового органа транспортирующей машины осуществляется только за счет усилия, развиваемого винтовой передачей натяжного устройства. Затем, вращая гайку 12, сжимают пружину 6 до расчетного значения и стопорят гайку 12 в этом положении гайкой 13.
В процессе работы тяговый орган машины несколько растягивается. Это растяжение компенсируется сжатой пружиной 8, которая, распрямляясь, воздействует на тягу 3, связанную с блоком 2, натягивающим тяговый орган транспортирующей машины.
Использование данного натяжного устройства позволит:
– значительно уменьшить габаритные размеры устройства за счет помещения пружины внутрь полого винта;
– упростить эксплуатацию натяжного устройства за счет простоты сборки и разборки устройства;
– обеспечить постоянное натяжение тягового органа;
– снизить стоимость транспортирования материалов за счет увеличения срока службы тягового органа конвейера.
Формула изобретения
Натяжное устройство для тягового органа конвейера, содержащее перемещаемый в направляющих опорной рамы блок, огибаемый тяговым органом и соединенный с тягой, снабженной полым винтом и пружиной, полый винт установлен на тяге и взаимодействует с гайкой, закрепленной неподвижно на опорной раме, а тяга выполнена с кольцевым выступом, отличающееся тем, что тяга кольцевым выступом взаимодействует со стопорной ступенчатой гайкой, закрученной в полый ступенчатый винт, при этом пружина помещена внутрь полого ступенчатого винта и одним концом также контактирует с упомянутой стопорной ступенчатой гайкой, а другим – с направляющим кольцом, помещенным во внутреннюю полость полого винта.
РИСУНКИ
MM4A – Досрочное прекращение действия патента СССР или патента Российской Федерации на изобретение из-за неуплаты в установленный срок пошлины за поддержание патента в силе
Дата прекращения действия патента: 21.12.2007
Извещение опубликовано: 20.11.2009 БИ: 32/2009
|
|