|
| На основании пункта 3 статьи 13 Патентного закона Российской Федерации от 23 сентября 1992 г. № 3517-I патентообладатель обязуется передать исключительное право на изобретение (уступить патент) на условиях, соответствующих установившейся практике, лицу, первому изъявившему такое желание и уведомившему об этом патентообладателя и федеральный орган исполнительной власти по интеллектуальной собственности, – гражданину РФ или российскому юридическому лицу. |
|
(21), (22) Заявка: 2006103352/11, 06.02.2006
(24) Дата начала отсчета срока действия патента:
06.02.2006
(46) Опубликовано: 27.06.2007
(56) Список документов, цитированных в отчете о поиске:
RU 2004121624 А, 10.01.2005. RU 2004114672 A, 27.10.2005. RU 44967 U1, 10.04.2005. DE 3736744 A1, 11.05.1989.
Адрес для переписки:
443112, г.Самара, ул. Крайняя, 18, кв. 17, Н.Б. Болотину
|
(72) Автор(ы):
Болотин Николай Борисович (RU)
(73) Патентообладатель(и):
Болотин Николай Борисович (RU)
|
(54) СПОСОБ И СИСТЕМА ОБЕСПЕЧЕНИЯ ЛИКВИДАЦИИ ТЕРРОРИСТОВ, ЗАХВАТИВШИХ САМОЛЕТ
(57) Реферат:
Группа изобретений относится к области обеспечения безопасности самолетов с предотвращением террористических актов. В предложенном способе террористов, захвативших самолет, обнаруживают при помощи видеокамер, установленных в салонах самолета. После обнаружения террористов в самолете перекрывают подачу топлива в камеру сгорания газотурбинных двигателей и включают подачу топлива в дополнительные форсунки, установленные в соплах авиационных газотурбинных двигателей. Производят имитацию работы авиационных газотурбинных двигателей без создания тяги и создают дымовую завесу, способствующую штурму самолета. Предложенная система содержит, по меньшей мере, одну видеокамеру, соединенную с дисплеем, установленным в кабине самолета. В топливных системах авиационных газотурбинных двигателей перед форсунками камер сгорания установлены трехходовые краны с приводами, один выход которых соединен с форсунками камер сгорания, а другой – с дополнительными форсунками, установленными в соплах авиационных газотурбинных двигателей. Приводы трехходовых кранов соединены с пультом управления, установленным в кабине пилота. Приводы трехходовых кранов соединены с приемопередатчиком самолета, который посредством радиоканала связи соединен с наземным приемно-передающим устройством, к которому подключен наземный пульт управления. Группа изобретений позволяет уменьшить потери пассажиров при освобождении захваченного террористами самолета. 2 н. и 2 з.п. ф-лы, 2 ил.
Изобретение относится к области средств безопасности самолетов и предотвращению совершения террористического акта с их использованием.
Известна система безопасности самолета по пат. РФ №2151714, содержащая систему управления и «черный ящик», система управления содержит технические средства, не допускающие превышения критических режимов полета: скорости, углов и т.д.
Недостаток – система не имеет защиты от террористов.
Известна система безопасности самолета по пат. РФ №2214934, содержащая систему управления, черный ящик, приемно-передающее устройство и антенну. Устройство позволяет самолету-перехватчику брать на себя управление самолетов, захваченных террористами в воздухе.
Недостаток, большие потери пассажиров при совершении террористического акта на земле, а особенно в полете.
Известны способ и устройство обеспечения безопасности самолета по заявке РФ с положительным решением №2004121624, приор 14.07.2004 г. (прототип способа и устройства). Способ заключается в наблюдении за салоном самолета при помощи одной или нескольких видеокамер и ведении стрельбы при помощи дистанционно-управляемого стрелкового оружия по террористам, захватившим самолет.
Недостатки этого способа и устройства заключаются в том, что не исключены потери среди пассажиров и постоянное наличие стрелкового оружия в полной боевой готовности с боекомплектом на всех самолетах не безопасно, т.к. возможно его несанкционированное применение, при этом пострадают невинные люди и материальная часть самолета.
Задача создания изобретения – уменьшение потерь пассажиров при освобождении захваченного террористами самолета.
Решение указанной задачи достигнуто за счет того, что в способе обеспечения ликвидации террористов, захвативших самолет, посредством их обнаружения при помощи видеокамер, установленных в салонах самолета, тем, что после обнаружения наличия террористов в самолете, перекрывают подачу топлива в камеру сгорания газотурбинных двигателей и включают подачу топлива в дополнительные форсунки, установленные в соплах авиационных газотурбинных двигателей, воспламеняют его, при этом производят имитацию работы авиационных газотурбинных двигателей без создания тяги и создают дымовую завесу, способствующую штурму самолета.
Решение указанной задачи достигнуто в системе обеспечения ликвидации террористов, захвативших самолет, содержащая, по меньшей мере, одну видеокамеру, соединенную с дисплеем, установленным в кабине самолета, тем, что в топливных системах авиационных газотурбинных двигателей перед форсунками камер сгорания установлены трехходовые краны с приводами, один выход из которых соединен с форсунками камер сгорания, а другой – с дополнительными форсунками, установленными в соплах авиационных газотурбинных двигателей, в которых также установлены электрозапальные устройства. Привода трехходовых кранов соединены с пультом управления, установленным в кабине пилота. Привода трехходовых кранов и электрозапальные устройства также могут быть соединены с передатчиком самолета, который посредством радиоканала связи соединен с наземным приемно-передающим устройством, к которому подключен наземный пульт управления.
Предложенное техническое решение облачает новизной, изобретательским уровнем и промышленной применимостью. Новизна подтверждается проведенными патентными исследованиями. Изобретательский уровень подтверждается тем, что предложенное техническое решение не очевидно для специалиста средней квалификации и позволяет получить одновременное несколько положительных эффектов весьма оригинальным способом.
Промышленная применимость подтверждается тем, что все компоненты изобретения: видеокамеры, краны, трубопродоводы и кабели известны на дату приоритета.
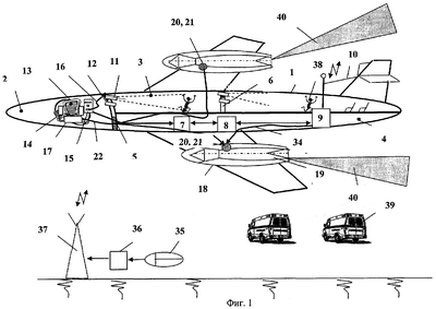
Сущность изобретения поясняется на фиг.1 и 2, где
на фиг.1 приведена схема штурма самолета;
на фиг.2 приведена схема топливопитания авиационного газотурбинного двигателя.
Самолет (фиг.1), имеющий внешнюю обшивку самолета 1, содержит кабину пилотов (пилота) 2, пассажирские салоны (салон) 3 и грузовой отсек 4. Кабина пилотов 2 отделена от пассажирского салона 3 посредством передней перегородки 5, которая выполнена бронированной, а пассажирские салоны 3 разделены перегородками 6. Оборудование самолета содержит систему управления 7 и черный ящик 8. К черному ящику 8 подключен передатчик самолета 9 с антенной самолета 10. Система содержит, по меньшей мере, по одной видеокамере 11 и по одному микрофону 12, установленные в пассажирских салонах 3. Видеокамеры 11 можно установить и в грузовом отсеке 4.
В кабине пилотов 2 установлены дисплей 13 и динамик 14. Видеокамера (видеокамеры) 11 подключены к дисплею 13 через системный блок компьютера 15 кабелем 16. Динамик 14 подключен к микрофонам 11 тоже через системный блок компьютера 15. В кабине пилотов 2 установлен пульт управления 17. Это может быть клавиатура компьютера или манипулятор типа «мышь» или другое кнопочное устройство или устройство с тумблером.
В мотогондолах 18 установлены авиационные газотурбинные двигатели – ГТД 19, конструкция которых и система топливоподачи приведены на фиг.2. В системах топливоподачи авиационных газотурбинных двигателей установлены трехходовые краны 20 с приводами 21. Посредством канала связи, например, проводного 22 привода трехходовых кранов 21 подключены к пульту управления 17.
Трехходовые краны 20 (фиг.2) установлены в системе топливоподачи после насосов 23. На всех авиационных ГТД 19 выход из насоса 23 подключен ко входу в треххдовой кран 20 посредством топливопровода высокого давления 24. Один выход из трехходового крана 20 подключен коллектором 25 к основным форсункам 26, которые установлены на торце камеры сгорания 27. Второй выход из трехходового крана 20 посредством дополнительного трубопровода 28 подключен к дополнительным форсункам 29, установленным внутри сопла 30 авиационных газотурбинных двигателей 19, например, на коническом обтекателе 31. На коническом обтекателе 31 также установлено электрозапальное устройство 32. Дополнительный трубопровод 28 проходит внутрь сопла 30 авиационного газотурбинного двигателя 19 через пустотелое ребро обтекаемой формы 33, кабель к электрозапальному устройству проложен там же.
Возможно управление системой и с земли. В этом случае кабелем 34 соединяют привод 20 трехходового крана 21 с передатчиком самолета 9, имеющим антенну самолета 10. Наземный пульт управления 35 подключен к наземному приемно-передающему устройству 36 с наземной антенной 37.
Террористы 38 находятся в самолете. Машины штурмовой группы 39 находятся на аэродроме. Дымовая завеса 40 разделяет самолет и штурмовые машины 39. При этом террористы 38 не видят эти машины, а операторы, которые находятся в машинах штурмовой группы 39, наблюдают за террористами 38 на экранах мониторов компьютеров, установленных в машинах штурмовой группы 39 (на фиг.1 и 2 не показано) с использованием радиоканала связи.
При посадке пассажиров в пассажирские салоны 3 пилот (или работник службы безопасности) включает видеокамеры 11 и микрофоны 12. На дисплей 13 со всех видеокамер 11 поступает изображение, а с микрофонов 12 на динамики 14 – звук. Пилот оценивает ситуацию в пассажирских салонах 3 по дисплею 13. Если самолет захвачен террористами 38, то с одной из видеокамер 11 и микрофона 12 передается тревожный сигнал. Сигнал формируется на резкое движение или резкий звук. Подобные программы созданы и применяются в охранных системах. Пилот по собственной инициативе или по команде террористов 38 на взлет при помощи пульта управления 17 вручную по проводному каналу связи 22 подает сигнал на привод 20 трехходового крана и переводит его в такое положение, что отсекается подача топлива на основные форсунки 26 камеры сгорания 27 для всех авиационных газотурбинных двигателей 19 и делает их запуск невозможным. Стартер раскручивает ротор авиационного газотурбинного двигателя (стартер на фиг.1 и 2 не показан), топливо из насоса 23 через трехходовой кран 20 по дополнительным трубопроводам 28 поступает к дополнительным форсункам 29 и одновременно электропитание подается на дополнительное электрозалальное устройство 32 (электросвеча) и воспламеняет поступившее топливо. При этом создается имитация запуска двигателей, они сильно дымят, но не создают тяги. Это дезинформирует террористов, приводит их в замешательство и позволяет создать с обеих сторон от самолета дымовые завесы для обеспечения работы штурмовых машин 39.
При необходимости задействовать систему можно при помощи наземного пульта управления 35, с которого можно подать сигнал на наземное приемно-передающее устройство 36, далее на наземную антенну 39 и по радиоканалу на антенну самолета 10, далее на передатчик самолета 9 и далее на привод 19 трехходового крана 20.
Этот способ сделает невозможным взлет и использование самолета для совершения крупномасштабного террористического акта. При длительной работе авиационных газотурбинных двигателей в таком режиме можно сжечь все топливо, тем самым уменьшить риск возникновения пожара при штурме. Пассажиры и экипаж при этом не пострадают.
Кроме того, работа двигателей с выделением огромного количества дыма произведет шокирующее впечатление на террористов, создаст дымовую завесу и позволит штурмовой группе проникнуть внутрь самолета и обезвредить их.
Использование предложенной группы изобретений позволило:
– произвести на террористов шокирующее воздействие,
– вывести из строя самолет, захваченный террористами, сделав невозможным взлет на нем,
– осуществить эффективное обезвреживание террористов,
– свести к минимуму потери пассажиров и экипажа при штурме захваченного террористами самолета,
– постоянно контролировать ситуацию в салоне и в багажном отсеке самолета,
– оказать сопротивление террористами при попытке проникнуть в кабину пилотов и при стрельбе террористов по кабине пилотов через бронированную переднюю перегородку между кабиной пилотов и пассажирским салоном,
– предотвратить несанкционированное применение оружия.
Формула изобретения
1. Способ обеспечения ликвидации террористов, захвативших самолет, посредством их обнаружения при помощи видеокамер, установленных в пассажирских салонах самолета, отличающийся тем, что после обнаружения наличия террористов в самолете перекрывают подачу топлива в камеру сгорания газотурбинных двигателей и включают подачу топлива в дополнительные форсунки, установленные в соплах авиационных газотурбинных двигателей, воспламеняют его, при этом производят имитацию работы авиационных газотурбинных двигателей без создания тяги и создают дымовую завесу, способствующую штурму самолета.
2. Система обеспечения ликвидации террористов, захвативших самолет, содержащая, по меньшей мере, одну видеокамеру, соединенную с дисплеем, установленным в кабине самолета, отличающаяся тем, что в топливных системах авиационных газотурбинных двигателей перед форсунками камер сгорания установлены трехходовые краны с приводами, один выход которых соединен с форсунками камер сгорания, а другой – с дополнительными форсунками, установленными в соплах авиационных газотурбинных двигателей, в соплах авиационных газотурбинных двигателей также установлены электрозапальные устройства.
3. Система по п.1, отличающаяся тем, что привод трехходовых кранов и электрозапальные устройства соединены с пультом управления, установленным в кабине пилотов.
4. Система по п.1, отличающаяся тем, что приводы трехходовых кранов и электрозапальные устройства соединены с приемопередатчиком самолета, который посредством радиоканала связи соединен с наземным приемно-передающим устройством, к которому подключен наземный пульт управления.
РИСУНКИ
|
|