|
|
(21), (22) Заявка: 2006105944/11, 26.02.2006
(24) Дата начала отсчета срока действия патента:
26.02.2006
(46) Опубликовано: 27.06.2007
(56) Список документов, цитированных в отчете о поиске:
RU 2149109 С1, 20.05.2000. RU 2055762 С1, 10.03.1966. US 3276528 А, 04.10.1966.
Адрес для переписки:
191036, Санкт-Петербург, ул. 6-я Советская, 25/20, кв.5, В.С. Григорчуку
|
(72) Автор(ы):
Григорчук Владимир Степанович (RU)
(73) Патентообладатель(и):
Григорчук Владимир Степанович (RU)
|
(54) АЭРОДИНАМИЧЕСКОЕ СУДНО
(57) Реферат:
Изобретение относится к судостроению и касается создания судов с аэродинамическими принципами поддержания. Аэродинамическое судно имеет корпус с водительским и пассажирским отделениями, главный двигатель, установленный внутри носовой части корпуса, движители вертикального подъема, кинематически связанные с главным двигателем, маршевый двигатель, расположенный внутри задней части корпуса и кинематически связанный с двумя движителями горизонтального перемещения, механизмы управления. Движители вертикального подъема одинаковы по конструкции и каждый диск упомянутых движителей имеет нижнюю гладкую поверхность. На верхней его поверхности выполнены чередующиеся друг с другом концентрические полукруглые впадины и концентрические полукруглые гребни. Каждый концентрический полукруглый гребень разделен на несколько частей и каждая из них имеет скосы спереди и сзади, между которыми выполнены сквозные вертикальные каналы, продольная ось каждого из которых выполнена под углом к нижней поверхности диска и параллельно заднему скосу стоящего впереди гребня. Высота концентрических полукруглых гребней и глубина концентрических полукруглых впадин равна радиусам одинаковых по диаметру окружностей, центры которых расположены на одной линии, равноудаленной на некоторое расстояние от нижней поверхности диска. Два движителя горизонтального перемещения одинаковы по конструкции. Каждый из них представляет собой горизонтальный пустотелый цилиндрический корпус, внутри которого посередине установлен редуктор, имеющий передний и задний горизонтальные валы, на которых закреплены передняя и задняя группы воздушных винтов изменяемого шага, установленных один за другим, на некотором расстоянии друг от друга. Внутри задней части корпуса размещен диффузор, повернутый своей расширяющейся частью в противоположную сторону от воздушных винтов. Изобретение позволяет упростить маршевые движители и увеличить подъемную силу движителей вертикального подъема. 27 ил.
Настоящее изобретение относится к области судостроения и может найти применение в качестве судна с динамическим поддержанием корпуса над поверхностью воды.
Известно судно на воздушной подушке “Сормович”, содержащее корпус, в задней части которого размещен двигатель, осевой нагнетатель, соединенный кинематически с двигателем, двухрядное кольцевое сопло с гибким ограждением, два воздушных винта изменяемого шага, установленных в кольцевых каналах, редуктор, соединенный с двигателем, осевым нагнетателем и воздушными винтами, рули направления, механизмы управления. /Ежи Бень, Модели и любительские суда на воздушной подушке, пер. с польского, Л., Судостроение, 1983, с.18, рис.12/.
Недостатком известного судна на воздушной подушке “Сормович” является его неспособность оторваться от водной поверхности на значительное расстояние.
Указанный недостаток обусловлен конструкцией судна.
Известно также аэродинамическое судно, содержащее корпус с водительским и пассажирским отделениями, главный двигатель, размещенный в носовой части корпуса, движители вертикального подъема, размещенные по бортам судна и кинематически через управляемые и неуправляемые редукторы, соединенные с главным двигателем, маршевый двигатель, установленный в задней части корпуса, маршевые движители, механически посредством силовой передачи связанные с маршевым двигателем, причем движители вертикального подъема выполнены в форме дисков, установленных один над другим в вертикальном цилиндрическом корпусе и имеющих гладкую наружную поверхность, а на нижних поверхностях дисков выполнены глухие каналы круглого или квадратного сечения, расположенные по концентрическим окружностям в четном количестве и установленные под углом к плоскости, проходящей через центр вращения, механизмы управления. /Патент РФ №2149109, кл. В60V 1/14, В60V 3/06, опубл. 20.05.2000, бюл. №14/.
Аэродинамическое судно по патенту РФ №2149109, как наиболее близкое по технической сущности и достигаемому полезному результату, принято за прототип.
Недостатками известного аэродинамического судна по патенту РФ №2149109, принятого за прототип, являются недостаточная подъемная сила движителей вертикального подъема и сложность их изготовления, сложность изготовления маршевых движителей.
Указанные недостатки обусловлены конструкцией судна.
Целью настоящего изобретения является упрощение конструкции маршевых движителей и движителей вертикального подъема и увеличение подъемной силы последних.
Указанная цель согласно изобретения обеспечивается тем, что движители вертикального подъема и маршевые движители заменены движителями вертикального подъема, каждый из которых представляет собой вертикальный цилиндрический корпус, внутри которого размещен редуктор, имеющий верхний и нижний вертикальные валы, на которых один над другим закреплены диски, каждый из которых имеет гладкую нижнюю поверхность, а на верхней поверхности каждого из них выполнены чередующиеся друг с другом концентрические полукруглые впадины и концентрические полукруглые гребни, причем каждый концентрический полукруглый гребень разделен на несколько частей и каждая его часть имеет скосы спереди и сзади, между которыми выполнены сквозные вертикальные каналы, продольная ось каждого из которых наклонена в сторону вращения и расположена под углом к нижней поверхности диска и параллельна заднему скосу стоящего впереди гребня, причем высота концентрических полукруглых гребней и глубина концентрических полукруглых впадин равна радиусам, одинаковых по диаметру окружностей, центры которых расположены на одной линии, равноудаленной на некоторое расстояние от нижней поверхности диска, маршевыми движителями горизонтального перемещения, одинаковыми по конструкции, каждый из которых представляет собой горизонтальный пустотелый цилиндрический корпус, внутри которого по середине установлен редуктор, имеющий передний и задний горизонтальные валы, на которых закреплены передняя и задняя группы воздушных винтов изменяемого шага, установленных один за другим, на некотором расстоянии друг от друга, а внутри задней части корпуса размещен диффузор, повернутый своей расширяющейся частью в противоположную сторону от воздушных винтов.
Сущность изобретения поясняется чертежами, где на фигуре 1 изображен общий вид аэродинамического судна, на фигуре 2 – вид на аэродинамическое судно спереди, на фигуре 3 – вид на аэродинамическое судно сверху, на фигуре 4 – вид на аэродинамическое судно сбоку, в разрезе, на фигуре 5 – кинематическая схема привода движителей вертикального подъема, на фигуре 6 – кинематическая схема привода маршевых движителей горизонтального перемещения, на фигуре 7 – общий вид движителя вертикального подъема, в разрезе, на фигуре 8 – общий вид диска движителя вертикального подъема, на фигуре 9 – вид на диск движителя вертикального подъема сбоку, в разрезе, на фигуре 10 – вид на диск движителя вертикального подъема сверху, на фигуре 11 – вид на диск движителя вертикального подъема снизу, на фигуре 12 – развертка одного из концентрических полукруглых гребней диска движителя вертикального подъема, на фигуре 15 – развертка одной из концентрических полукруглых впадин диска движителя вертикального подъема, на фигуре 14 – схема образования волновой поверхности на верхней стороне диска движителя вертикального подъема, на фигуре 15 – схема создания подъемной силы на концентрическом полукруглом гребне диска движителя вертикального подъема, на фигуре 16 – схема создания подъемной силы на концентрической полукруглой впадине диска движителя вертикального подъема, на фигуре 17 – схема создания подъемной силы на диске движителя вертикального подъема, на фигуре 18 – устройство переднего и заднего неуправляемых редукторов, главного и бортового редукторов маршевого движителя горизонтального перемещения, бортового редуктора движителя вертикального подъема, на фигуре 19 – устройство маршевого движителя горизонтального перемещения, в разрезе, на фигуре 20 – устройство переднего и заднего управляемых редукторов, на фигуре 21 – устройство поворотного редуктора, в разрезе, на фигуре 22 – схема гидравлической системы путевого управления аэродинамическим судном, на фигуре 23 – схема гидравлической системы управления аэродинамическим судном в пространстве, на фигуре 24 – схема снижения аэродинамического судна, на фигуре 25 – схема набора высоты аэродинамическим судном, на фигуре 26 – схема создания крена на левый борт, на фигуре 27 – схема создания крена на правый борт.
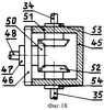
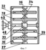
Аэродинамическое судно содержит корпус 1 с водительским 2 и пассажирским 3 отделениями. Внутри передней части корпуса размещен главный двигатель 4, который через муфту сцепления 5 посредством карданных валов, управляемых редукторов продольного и поперечного наклонов 6, 7, переднего 8 и заднего 9 редукторов, поворотного 10 и бортовых 11 редукторов кинематически связан с движителями вертикального подъема 12, 13, 14, 15, 16, 17. Внутри задней части корпуса размещен маршевый двигатель 18, который через муфту сцепления 19, карданные валы 20, главный редуктор 21 и бортовые редукторы 22, 23 приводит в движение маршевые движители горизонтального перемещения 24, 25, размещенные в задней части корпуса. Позади маршевых движителей горизонтального перемещения в потоке воздуха установлены рули поворота 26, 27. По обоим бортам в нишах 28, 29 расположены движители вертикального подъема, одинаковые по конструкции, сверху и снизу закрытые решетками 30, 31. Каждый движитель вертикального подъема содержит пустотелый цилиндрический корпус 32, открытый сверху и снизу и установленный вертикально. Внутри корпуса закреплен редуктор 33, верхний 34 и нижний 35 вертикальные валы которого закреплены в подшипниках 36, 37. На верхнем вертикальном валу закреплена верхняя группа дисков 38, размещенных один над другим, на некотором расстоянии друг от друга, а на нижнем вертикальном валу закреплена нижняя группа дисков 39, размещенных один над другим, на некотором расстоянии друг от друга. Количество дисков в одном движителе вертикального подъема не ограничено и определяется величиной необходимой подъемной силы. Все диски движителей вертикального подъема одинаковы по конструкции и каждый из них имеет снизу гладкую поверхность (фиг.11), а на верхней поверхности выполнены, чередующиеся друг с другом, концентрические полукруглые впадины 40 и концентрические полукруглые гребни 41. Каждый концентрический полукруглый гребень разделен на несколько частей и имеет передний 42 и задний 43 скосы, между которыми выполнены сквозные вертикальные каналы 44, продольная ось каждого из которых наклонена в сторону вращения диска и расположена под углом к нижней поверхности диска параллельно заднему скосу, стоящего впереди гребня. Высота концентрических полукруглых гребней и глубина концентрических полукруглых впадин равна радиусам, одинаковых по диаметру окружностей, центры которых расположены на одной линии, равноудаленной на некоторое расстояние от нижней поверхности диска. Расстояние от нижней поверхности и до центра концентрического полукруглого гребня и концентрической полукруглой впадины определяется толщиной и прочностью диска (фиг.14). Редуктор движителя вертикального подъема содержит корпус 45, закрытый крышкой 46, имеющей подшипник 47, в котором установлен ведущий вал 48, второй конец которого пропущен в подшипник 49 корпуса движителя вертикального подъема. На ведущем валу закреплена ведущая шестерня 50, входящая в зацепление с ведомыми шестернями 51, 52, которые закреплены на верхнем и нижнем вертикальных валах, установленных в подшипниках 53, 54 корпуса редуктора. Оба неуправляемые редукторы привода движителей вертикального подъема одинаковы по конструкции и каждый из них содержит корпус, закрытый крышкой, в подшипнике которой закреплен ведущий вал, на котором закреплена ведущая шестерня. Ведущая шестерня входит в зацепление с ведомыми шестернями, закрепленными на ведомых валах (фиг.18). Управляемый редуктор поперечного управления движителями вертикального подъема и управляемый редуктор продольного управления движителями вертикального подъема одинаковы по конструкции и каждый из них содержит корпус 55, в подшипниках которого установлен ведущий вал 56 с ведущей шестерней 57 и ведомый вал 58 с ведомой шестерней 59, которые входят в зацепление с шестерней 60 корпуса 61 двойного дифференциала, в подшипниках которого установлены двойные сателиты 62, 63, малые шестерни которых входят в зацепление с шестернями полуосей 64, 65. Большие шестерни сателитов входят в зацепление с шестернями 66, 67 привода тормозных барабанов 68, 69, взаимодействующих с тормозами 70, 71. Тормозные барабаны управляемого редуктора продольного управления 72, 73 взаимодействуют с тормозами 74, 75. Вращающийся момент с ведомого вала управляемого редуктора поперечного управления поступает на ведущий вал 76 поворотного редуктора, который установлен в подшипнике 77 корпуса 78. На ведущем валу закреплена ведущая шестерня 79, входящая в зацепление с ведомой шестерней 80, закрепленной на ведомом валу 81, установленным в подшипнике 82 крышки 85. Все полуоси управляемых редукторов и все валы неуправляемых редукторов соединены с ведущими валами бортовых редукторов движителей вертикального подъема. Движители горизонтального перемещения одинаковы по конструкции и каждый из них содержит горизонтальный пустотелый цилиндрический корпус 84, внутри которого размещен редуктор 85, имеющий такое же устройство, что и неуправляемый редуктор движителей вертикального подъема. Концы переднего 86 и заднего 87 ведомых валов установлены в подшипниках 88, 89, установленных на кронштейнах 90, 91. На переднем и заднем ведомых валах установлены воздушные винты изменяемого шага 92, а в задней части корпуса установлен диффузор, повернутый своей расширяющейся частью в противоположную сторону от воздушных винтов. Отношение входного отверстия диффузора 93 к его выходному отверстию относятся как 1:2. Путевое управление аэродинамическим судном осуществляется левой 94 и правой 95 педалями, связанными посредством рычага 96 с золотниками 97, 98 гидравлического крана 99, который посредством трубопроводов соединен с масляным баком 100, масляным насосом 101 и гидравлическими цилиндрами 102, 103. Гидравлические цилиндры посредством рычагов 104, 105 соединены с рулями поворота. Система управления аэродинамическим судном в пространстве включает в себя пульт управления, представляющий собой ручку управления 106, закрепленную на валу 107, установленного в подшипниках с возможностью поворота и продольного перемещения. С одной стороны к валу прикреплена пластина 108, выполненная в форме расширяющегося к низу сектора и взаимодействующая с золотниками 109, 110 гидравлического крана поперечного управления 111, который посредством трубопроводов соединен с гидравлическими цилиндрами 112, 113, приводящими в действие тормоза двойного дифференциала управляемого редуктора поперечного управления. С другой стороны к валу прикреплен коленчатый рычаг 114, взаимодействующий с золотниками 115, 116 гидравлического крана продольного управления 117, который посредством трубопроводов соединен с гидравлическими цилиндрами 118, 119, приводящими в действие тормоза управляемого редуктора продольного управления. Оба гидравлических крана посредством трубопроводов соединены с масляным баком 120 и масляным насосом 121.
Работа аэродинамического судна.
После запуска главного 4 и маршевого 18 двигателей включается муфта сцепления 19 и маршевые движители горизонтального перемещения 23, 24 начинают работать, аэродинамическое судно отходит от причала. При этом вращающийся момент от маршевого двигателя 18 через муфту сцепления 19 карданным валом 20 передается на ведущий вал главного редуктора 21 и далее на ведомые валы и бортовые редукторы 22, 23 затем на воздушные винты изменяемого шага 92. Воздушные винты изменяемого шага, вращаясь, создают воздушный поток внутри корпусов маршевых движителей горизонтального перемещения 24, 25, который перед входом в диффузоры 95 сжимается, а затем с силой выбрасывается наружу, создавая тягу и двигая аэродинамическое судно вперед. После отхода от причала на необходимое расстояние включается муфта сцепления 5 и приходят в движение движители вертикального подъема 12, 13, 14, 15, 16, 17. Крутящийся момент от главного двигателя 4 через муфту сцепления 5, карданный вал передается на управляемый редуктор поперечного управления 7, далее карданным валом через поворотный редуктор 10 на управляемый редуктор продольного управления 6 и затем на неуправляемые передний 8 и задний 9 редукторы, далее на бортовые редукторы 11. Вращаясь, движители вертикального подъема создают подъемную силу, которая уравновешивает вес аэродинамического судна и поднимает его на некоторую высоту над поверхностью воды. Диски 38, 39 движителя вертикального подъема создают подъемную силу следующим образом. При движении воздушного потока вдоль концентрического полукруглого гребня 41 последний обтекает его верхнюю и нижнюю поверхности (фиг.15). Так, как дуга АВ больше отрезка A1B1, то верхняя поверхность будет равна длине дуги АВ, умноженной на длину l концентрического полукруглого гребня S=АВ×l. Нижняя поверхность будет равна отрезку A1B1, умноженному на длину концентрического полукруглого гребня S1=A1B1×l. Нетрудно заметить, что площадь верхней поверхности концентрического полукруглого гребня больше, чем площадь нижней поверхности. Несмотря на то, что обтекание верхней и нижней поверхностей происходит с одной и той же скоростью сила разрежения F в верхней части концентрического полукруглого гребня будет больше силы разрежения F1 в нижней части. где – уд. вес воздуха, v2 – скорость воздушного потока (Н.И.Белавин, Экранопланы, изд.2, Л., Судостроение, 1977, с.23). Разница этих сил и будет подъемной силой концентрического полукруглого гребня. Использование сферической поверхности для создания подъемной силы известно из практики.
Известен американский самолет Мартин Мариэтта Х 24 В с несущим корпусом (без крыльев). Корпус этого самолета представляет собой разрезанный вдоль конус и повернутый своей сферической поверхностью вверх (см. Авиация, энциклопедия, гл. ред. Г.П.Свищев, Большая Российская энциклопедия, Центральный аэродинамический институт им. проф. Н.Е.Жуковского, М., 1994, с.730, табл.XXXVI, №5).
Аналогично возникает подъемная сила и на концентрических полукруглых впадинах 40 дисков 38, 39. Воздушный поток движется вдоль концентрической полукруглой впадины и обтекает наружную сферическую и нижнюю гладкую поверхности с одинаковой скоростью. (фиг.16). Так, как дуга АВ больше отрезка А1В1 при одной и той длине обеих поверхностей, то и площадь верхней поверхности будет больше площади нижней поверхности. Следовательно разрежение на верхней поверхности будет больше, а на нижней поверхности меньше. Отсюда сила F, действующая на верхнюю поверхность, будет больше силы F1, действующей на нижнюю поверхность. Разница этих сил будет подъемной силой концентрической полукруглой впадины. При прохождении воздушного потока, обтекающего верхнюю поверхность концентрического полукруглого гребня, в момент его прохождения по заднему скосу 43 часть воздушного потока проходит через сквозные каналы 44 и выходит на нижнюю поверхность диска, затрудняя обтекание воздушным потоком нижней поверхности и уменьшая скорость движения воздушного потока по нижней поверхности, что ведет к увеличению подъемной силы диска (Возникает подобие газового закрылка. О струйном закрылке см. там же, Авиация, энциклопедия, с.232). Получение подъемной силы посредством вогнутой поверхности также известно из практики (см. П.Бауэрс, Летательные аппараты нетрадиционных схем, пер. с англ., М., Мир, 1991, с.137-139, рис.6.26, 6.27, 6.28). В данном самолете нижняя поверхность впадины выполнена, как и верхняя сферической, что уравняло площади поверхностей с обеих сторон и не дало прироста подъемной силы. Прирост возможен только в том случае, если нижнюю поверхность впадины выполнить, как показано на фигуре 16. Таким образом при вращении диска на нижнюю поверхность действует сила Fн, которая уравновешивается силой Fв такой же по величине. Остальная часть Fp и будет подъемной силой диска (фиг.17). При движении аэродинамического судна над поверхностью воды гложет возникнуть необходимость изменения положения корпуса в пространстве. Для набора высоты необходимо повернуть ручку 106 в положение “на себя”. Коленчатый рычаг 114 повернется и нажмет на золотник 115 гидравлического крана 117. Масло из масляного бака 120 масляным насосом 121 станет подаваться в гидравлический цилиндр 119, который прижмет тормоз 75 к тормозному барабану 73 управляемого редуктора продольного управления 6. Частота вращения дисков 38, 39 задних движителей вертикального подъема 14, 17 уменьшится, а передних движителей вертикального подъема 12, 15 увеличится на такую же величину. В результате этого подъемная сила в передней части увеличится, а в задней части уменьшится и корпус аэродинамического судна займет положение, показанное на фигуре 25. При перемещении ручки управления 106 в положение “от себя” вал 107 повернется и коленчатый рычаг 114 нажмет на золотник 116 гидравлического крана 117. Масло из масляного бака 120 масляным насосом 121 станет подаваться в гидравлический цилиндр 118. Тормоз 74 нажмет на тормозной барабан 72 управляемого редуктора продольного управления 6. Двойной дифференциал уменьшит частоту вращения дисков 58, 59 передних движителей вертикального подъема 12, 15 и на такую же величину увеличит частоту вращения дисков 38, 39 задних движителей вертикального подъема 14, 17. В результате подъемная сила в передней части уменьшится, а в задней части увеличится и корпус аэродинамического судна займет положение, показанное на фигуре 24. Для создания крена влево необходимо ручку управления 106 передвинуть влево. Вал 107 передвинется влево и передвинет в ту же сторону пластину 108, которая нажмет на золотник 109 гидравлического крана 111. Масло из масляного бака 120 масляным насосом 121 станет подаваться в гидравлический цилиндр 112. Тормоз 71 нажмет на тормозной барабан 69 и уменьшит частоту его вращения, при этом частота вращения тормозного барабана 68 увеличится за счет работы дифференциала управляемого редуктора поперечного управления 7. Частота вращения дисков 38, 39 движителя вертикального подъема 13 уменьшится, а частота вращения дисков 38, 39 движителя вертикального подъема 16 увеличится. Подъемная сила по левому борту уменьшится, а по правому борту увеличится. Корпус аэродинамического судна повернется и сделает крен на левый борт (фиг.26). При перемещении ручки управления 106 вправо вал 107 передвигается вправо и передвигает в ту же сторону пластину 108, которая нажимает на золотник 110 гидравлического крана 111. Масло из масляного бака 120 масляным насосом 121 станет подаваться в гидравлический цилиндр 113, шток которого выдвинется наружу. Тормоз 70 нажмет на тормозной барабан 68 и уменьшит скорость его вращения. Двойной дифференциал управляемого редуктора поперечного управления 7 в то же время и на ту же величину увеличит частоту вращения тормозного барабана 69. Диски 38, 39 движителя вертикального подъема 16 станут вращаться медленее, а диски 38, 39 движителя вертикального подъема 13 станут вращаться быстрее. Подъемная сила по правому борту уменьшится, а по левому борту увеличится. Корпус аэродинамического судна повернется и сделает крен на правый борт (фиг.27). В виду того, что в управляемых редукторах 6, 7 использованы двойные дифференциалы, полная остановка тормозных барабанов 68, 69, 72, 73 не возможна и соответственно не возможна остановка какого-либо движителя вертикального подъема. При установке ручки управления 106 в нейтральное положение все тормозные барабаны 70, 71, 74, 75 растормаживаются и величина подъемной силы движителей вертикального подъема 12, 13, 14, 15, 16, 17 становится одинаковой. Для поворота направо при движении в водоизмещающем режиме и над поверхностью воды необходимо нажать на правую педаль 95. Рычаг 96 повернется влево и нажмет на золотник 97 гидравлического крана 93. Масло из масляного бака 100 масляным насосом 101 станет подаваться в переднюю полость гидравлического цилиндра 102 и в заднюю полость гидравлического цилиндра 103, а также выталкиваться из противоположных полостей. Шток гидравлического цилиндра 103 выдвинется наружу, а шток гидроцилиндра 102 втянется во внутрь. Рули направления 26, 27 повернутся вправо и корпус аэродинамического судна станет поворачиваться вокруг вертикальной оси вправо. При нажатии на левую педаль 94 рычаг 96 нажмет на золотник 98. Масло из масляного бака 100 масляным насосом 101 станет подаваться в переднюю полость гидравлического цилиндра 103 и в заднюю полость гидравлического цилиндра 102, а удаляться из противоположных полостей. Шток гидравлического цилиндра 102 выдвинется наружу, а шток гидравлического цилиндра 103 втянется внутрь. Рули направления 26, 27 повернутся влево и корпус аэродинамического судна станет поворачиваться вокруг вертикальной оси влево. При движении над поверхностью воды задним ходом и торможение осуществляется изменением установки лопастей воздушных винтов изменяемого шага 92, а скорость горизонтального перемещения регулируется частотой вращения вала маршевого двигателя 18. Регулирование величины подъемной силы осуществляется изменением частоты вращения вала главного двигателя 4.
Аэродинамическое судно может быть использовано для работы в труднодоступных местах.
Положительный эффект: более высокая подъемная сила движителей вертикального подъема и простота их изготовления, большее количество людей и грузов может быть перевезено за единицу времени.
Формула изобретения
Аэродинамическое судно, содержащее корпус с водительским и пассажирским отделениями, главный двигатель, установленный в носовой части судна, движители вертикального подъема, размещенные по бортам, которые посредством карданных валов, управляемых редукторов кинематически связаны с главным двигателем, движители горизонтального перемещения, размещенные в задней части корпуса судна, маршевый двигатель, размещенный внутри задней части корпуса судна, который посредством карданных валов и редукторов соединен с движителями горизонтального перемещения, аэродинамические рули, механизмы управления, отличающееся тем, что каждый из дисков движителя вертикального подъема имеет гладкую нижнюю поверхность, а на верхней поверхности каждого из них выполнены чередующиеся друг с другом концентрические полукруглые впадины и концентрические полукруглые гребни, причем каждый полукруглый концентрический гребень разделен на несколько частей и каждая его часть имеет скосы спереди и сзади, между которыми выполнены сквозные вертикальные каналы, продольная ось каждого из которых наклонена в сторону вращения и расположена под углом к нижней поверхности диска и параллельно заднему скосу стоящего впереди гребня, причем высота концентрических полукруглых гребней и глубина концентрических полукруглых впадин равна радиусам одинаковых по диаметру окружностей, центры которых расположены на одной линии, равноудаленной на некоторое расстояние от нижней поверхности диска, кроме того, оба маршевых движителя горизонтального перемещения одинаковы по конструкции и каждый из них представляет собой горизонтальный пустотелый цилиндрический корпус, внутри которого посередине установлен редуктор, имеющий передний и задний горизонтальные валы, на которых закреплены передняя и задняя группы воздушных винтов изменяемого шага, установленных один за другим, на некотором расстоянии друг от друга, а внутри задней части корпуса размещен диффузор, повернутый своей расширяющейся частью в противоположную сторону от воздушных винтов.
РИСУНКИ
|
|