|
(21), (22) Заявка: 2005122156/12, 13.07.2005
(24) Дата начала отсчета срока действия патента:
13.07.2005
(43) Дата публикации заявки: 27.01.2007
(46) Опубликовано: 27.06.2007
(56) Список документов, цитированных в отчете о поиске:
RU 2181669 C1, 27.04.2002. SU 810534 A1, 07.03.1981. SU 657930 A1, 25.04.1979. SU 636079 A1, 05.12.1978. RU 2094238 C1, 27.10.1997. GB 2043300 A, 01.10.1980.
Адрес для переписки:
127254, Москва, Огородный пр-зд, 5, офис 348, ООО “Торговый Дом “ГРАНДЕКОР”, ген.директору Д.М.Сабирзянову
|
(72) Автор(ы):
Куликов Константин Николаевич (RU), Дзебоев Игорь Русланович (RU)
(73) Патентообладатель(и):
Куликов Константин Николаевич (RU), Дзебоев Игорь Русланович (RU)
|
(54) СПОСОБ ПОЛУЧЕНИЯ РЕЛЬЕФНОЙ ПОВЕРХНОСТИ И УСТРОЙСТВО ДЛЯ ЕГО ОСУЩЕСТВЛЕНИЯ
(57) Реферат:
Изобретение относится к способу получения рельефной поверхности и к устройству для его осуществления. Сущность изобретения заключается в том, что ось вращения инструментов ориентируют под разными углами к заготовке, а перемещение инструментов осуществляют в трех взаимно перпендикулярных плоскостях. Изобретение позволяет устранить дефекты на обработанной поверхности, увеличить срок службы инструментов. 2 н. и 16 з.п. ф-лы, 7 ил.
Изобретение относится к области декоративной обработки, а именно к способам отделки изделий и, в частности, к выполнению рельефных поверхностей, изображений.
Известен способ получения рельефной поверхности, заключающийся в обработке поверхности заготовки заточенными по фигурному профилю режущими инструментами посредством вращения их вокруг собственных осей с одновременным перемещением по заданной программе синхронно с подачей заготовки в горизонтальном направлении (см. патент РФ №2181669, кл. В44В 3/00, 27.04.2002 – аналог и прототип).
Здесь же описано и устройство для получения рельефной поверхности, содержащее неподвижную станину и рабочий стол, установленные на станине подвижную раму и механизм подачи заготовки, установленные на подвижных платформах шпиндель-моторы, на валах которых установлены режущие инструмента для обработки поверхности заготовки.
Недостатком известных способа получения рельефной поверхности и устройства для его осуществления является невозможность устранения дефектов на обработанной поверхности в процессе обработки.
Техническим результатом заявленных способа получения рельефной поверхности и устройства для его осуществления является устранение дефектов на обработанной поверхности, связанных с возможностью получения углублений с четко выраженными границами.
В способе достигается это тем, что способ получения рельефной поверхности на изделии, заключающийся в обработке поверхности заготовки заточенными по фигурному профилю режущими инструментами посредством вращения их вокруг собственных осей с одновременным перемещением по заданной программе синхронно с подачей заготовки в горизонтальном направлении, ось вращения инструментов ориентируют под разными углами к заготовке, перемещение инструментов осуществляют в трех взаимно перпендикулярных плоскостях, одна из которых расположена параллельно поверхности заготовки, при этом подачу заготовки осуществляют по заданной программе, при скорости подачи заготовки, равной нулю, обработку подвижными режущими инструментами осуществляют на отдельных участках непрерывно, а неподвижно закрепленные режущие инструменты при движении заготовки уменьшают скорость своего вращения синхронно и в соответствии со скоростью подачи заготовки, вплоть до нуля.
В устройстве достригается это тем, что устройство для получения рельефной поверхности на изделии, содержащее неподвижную станину и рабочий стол, установленные на станине подвижную раму и механизм подачи заготовки, установленные на подвижных платформах шпиндель-моторы, на валах которых установлены режущие инструменты для обработки поверхности заготовки, содержит механизмы перемещения в трех взаимно перпендикулярных плоскостях одного и более шпиндель-моторов с регулированием их скорости вращения, перемещение шпиндель-мотора по одной из координат совпадает с направлением подачи заготовки, а шпиндель-мотор выполнен с обеспечением возможности закрепления и удержания роторного или пильного агрегата или в виде оправки для закрепления другого шпиндель-мотора или в виде оправки для закрепления платформы со своим сервоприводом для обеспечения возможности высокочастотных перемещений в вертикальном направлении высокооборотного шпиндель-мотора.
В устройстве над заготовкой установлены поджимаемые штоками пневмоцилиндров подающие ролики, покрытые неповреждающим поверхность заготовки материалом, например полиуретаном, под заготовкой симметрично и под каждым верхним подающим роликом установлены нижние металлические подающие ролики, поджимаемые штоками пневмоцилиндров таким образом, что нижние подающие ролики незначительно выступают над поверхностью стола и их положение относительно поверхности стола выполнено регулируемым с помощью ограничителей, при этом сила прижима заготовки к столу регистрируется пьезометрическим датчиком, соединенным с нижним подающим роликом для устранения трения заготовки о стол, а все подающие ролики кинематически связаны между собой в подающий механизм для приведения в действие сервоприводом, управляемым по программе.
Весь блок сервоприводов вместе со шпиндель-моторами установлен на подвижной раме и выполнен с перемещением в вертикальной плоскости как самостоятельно, так и с подвижной самой, и с подающими роликами.
Инструменты для нанесения рельефа и/или рисунка расположены по отношению к неподвижным шпинделям в необходимой последовательности, а декорирующие шпиндели выполнены с возможностью перемещения по одной из координат и параллельно подаче заготовки.
На рабочем столе под любым декорирующим инструментом установлен передвигающийся перпендикулярно столу и перемещению заготовки мостик, несущий пористую пластину для вакуум-прижима тонких заготовок и быстросъемные пластины разной ширины и из материала с низким трением, например текстолита, установленные на уровне поверхности стола с шириной, позволяющей инструменту опускаться ниже уровня стола без повреждения.
На рабочем столе с обеих сторон заготовки и под инструментом установлены быстросъемные регулируемые пластины из легкообрабатываемого материала, например пластика, ограничивающие перемещение заготовки по ширине во время обработки и позволяющие выходу инструмента за края заготовки в тело вставки для устранения сколов кромок заготовки.
С обеих сторон инструмента, неподвижного и декорирующего шпинделей, установлены быстросъемные и разной ширины прижимные ролики, покрытые не повреждающим поверхность заготовки материалом, например полиуретаном, для прижатия заготовки к столу, удержания ее и исключения вибрации в процессе обработки, установленные с возможностью поворота вокруг горизонтальной оси для обеспечения оптимального прижима заготовки, с сохранением этого положения за счет преднатяга фрикционных прокладок.
Прижимные ролики установлены на пластине, соединенной через шток с вертикально скользящей подпружиненной платформой, соединенной с помощью эксцентрикового механизма со стойкой, закрепленной на раме ротора.
К шпиндель-мотору присоединена роторная приставка, принимающая от шпиндель-мотора любые положения в продольном направлении по отношению к подаче заготовки и любые угловые положения в поперечном направлении и установлена с возможностью поворота вокруг собственной оси и непрерывного изменения положения оси режущего инструмента во время обработки заготовки.
На декорирующем шпиндель-моторе установлена рама с собственным сервоприводом и высокочастотным ротором для обеспечения высокого быстродействия по дополнительной субкоординате Z под любым углом по направлению к подаче заготовки за счет поворота удерживающего приспособления в декорирующем шпиндель-моторе.
На одной из направляющих планок установлены ролики под углом к направлению подачи заготовки для ее поджатия к столу, а планка с роликами утоплена ниже поверхности для устранения повреждения нижней кромки заготовки.
На другой направляющей металлической планке установлены прижимные неподпружиненные и вращающиеся на подшипниках диски.
В качестве инструментов использованы фрезы различной ширины с установленными твердосплавными пластинами различной формы, например две или более на одну фрезу, размещенные с возможностью сохранения балансировки, а фрезы установлены между собой по различным уровням или по режущим радиусам и выполнены таким образом, что режущие кромки пластин рядом установленных на шпинделе фрез одного уровня частично перекрывают друг друга и полностью совпадают по режущим радиусам, при этом фрезы имеют одинаковые или разные уровни или режущие радиуса слева и справа, а количество уровней выполнено любым.
Обеспечение возможности перемещения любого декорирующего инструмента по любой координате осуществлено посредством программы за счет генерации случайных чисел, предопределяющих величину перемещения каждого хода инструмента для создания случайного рисунка, идентичного рисунку, полученного ручной обработкой.
На подвижной раме установлен вертикально расположенный автоматический магазин со сменным инструментом для его программной замены на шпиндель-роторе.
В районе размещения декорирующего инструмента или на выходе и над изделием установлен датчик и/или телекамера для сканирования качества рисунка и/или рельефа с обеспечением возможности корректировки обработки инструментом, вплоть до остановки обработки.
В конце рабочего стола по ходу перемещения заготовки установлена круговая ферма для размещения подвижного шпиндель-мотора, принимающего любые положения в пространстве для нанесения рисунка и/или рельефа на нижней и боковых поверхностях заготовки с сохранением возможности установки различных агрегатов или роторных приставок с переменным или фиксированным положением инструмента в пространстве.
Сущность изобретения поясняется чертежами, где на:
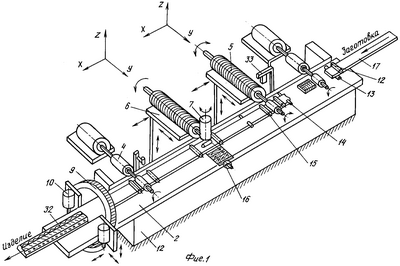
фиг.1 изображено устройство для получения рельефной поверхности, общий вид;
фиг.2 – шпиндель-мотор с закрепленным на нем роторным агрегатом при обработке в шести степенях свободы;
фиг.3 – шпиндель-мотор с закрепленной на нем платформой со своим сервоприводом и высокоскоростным шпиндель-мотором;
фиг.4 изображены прижимные ролики перед и после режущего инструмента;
фиг.5 – прижимной ролик с пластиной, штоком и фрикционными прокладками;
фиг.6 – вид А на фиг.5;
фиг.7 – разрез головки шпинделя с набором фрез и с установленными на них твердосплавными пластинками.
Устройство для получения рельефной поверхности содержит установленные на неподвижной станине 1 рабочий стол 2, подвижную раму 3, неподвижные шпиндели 4, подвижные декоративные шпиндель-моторы 5 на платформах 6, роторную приставку 7 на декоративном шпиндель-моторе 5, магазин 8 съемных инструментов, круговую ферму 9 со шпиндель-мотором 10, стойку с телекамерой 11, верхние подающие ролики 12, нижние подающие металлические ролики 13, направляющие ролики 14, прижимные ролики 15, вставку-мостик 16.
Позицией 17 обозначена заготовка.
Устройство имеет установленную на шпиндель-моторе 5 с помощью оправки 18 роторную приставку 7, в другом исполнении – установленную на шпиндель-моторе 5 платформу 19 со своим сервоприводом 20 и высокооборотным шпиндель-мотором 21.
У каждого режущего инструмента, нож или фреза 22, установлены прижимные ролики 15, установленные на быстросъемной пластине 23, присоединенной к несущей пластине 24, которая через шток 25 и фрикционные прокладки 26 и металлические втулки 27 прикреплена к скользящей подпружиненной платформе 28, установленной на основной платформе (не показана) с помощью эксцентриков (не показаны).
Режущая часть фрез 29, собранных в пакет на шпинделе 30, состоит из твердосплавных пластин 31, закрепленных на шпинделе 30 таким образом, что режущие кромки пластин 31, расположенных рядом, всегда одного уровня и частично перекрывают друг друга.
Функционируют способ получения рельефной поверхности и устройство следующим образом.
Обрабатываемая заготовка 17 с помощью механизма подачи и подающих роликов 12 и 13 подается в рабочую зону к инструменту первого неподвижного шпинделя 4, где формируется первоначальный профиль заготовки.
Затем заготовка 17 попадает во вторую рабочую зону под фрезу 29 или роторную приставку 7, где прижимается прижимными, подпружиненными 33 роликами 15 в зоне мостика 16.
Инструмент на валах декорирующих шпиндель-моторов 5 и роторной приставки 7 вращается с высокой угловой скоростью.
Сервоприводы горизонтального, вертикального и угловых перемещений платформ 6 и инструментов, получающие управляющие сигналы от компьютера по соответствующей программе, постоянно ориентируют ось вращения инструментов под любым углом к заготовке 17 и обеспечивают выполнение рисунка и/или рельефа любой сложности.
После обработки в рабочих зонах декоративных шпинделей 5 заготовка 17 попадает в рабочую зону выходного неподвижного шпинделя 4, где принимает окончательный вид рисунок и/или рельеф (орнамент) в виде готового изделия 32.
Таким образом, изобретение снижает инерционность режущих инструментов, упрощает конструкцию при повышении качества рельефной поверхности с получением неограниченного количества орнаментов, узоров, рисунков и с высокой скоростью.
Промышленная применимость
Изобретение может быть использовано при выполнении высокохудожественных рельефных изображений, в частности, на древесных материалах.
Формула изобретения
1. Способ получения рельефной поверхности на изделии, заключающийся в обработке поверхности заготовки заточенными по фигурному профилю режущими инструментами, посредством вращения их вокруг собственных осей с одновременным перемещением по заданной программе синхронно с подачей заготовки в горизонтальном направлении, отличающийся тем, что ось вращения инструментов ориентируют под разными углами к заготовке, перемещение инструментов осуществляют в трех взаимно перпендикулярных плоскостях, одна из которых расположена параллельно поверхности заготовки, при этом подачу заготовки осуществляют по заданной программе, при скорости подачи заготовки равной нулю обработку подвижными режущими инструментами осуществляют на отдельных участках непрерывно, а неподвижно закрепленные режущие инструменты, при движении заготовки, уменьшают скорость своего вращения синхронно и в соответствии со скоростью подачи заготовки, вплоть до нуля.
2. Устройство для получения рельефной поверхности на изделии, содержащее неподвижную станину и рабочий стол, установленные на станине подвижную раму и механизм подачи заготовки, установленные на подвижных платформах шпиндель-моторы, на валах которых установлены режущие инструменты для обработки поверхности заготовки, отличающееся тем, что оно содержит механизмы перемещения в трех взаимно перпендикулярных плоскостях одного и более шпиндель-моторов с регулированием их скорости вращения, перемещение шпиндель-моторов по одной из координат совпадает с направлением подачи заготовки, а шпиндель-мотор выполнен с обеспечением возможности закрепления и удержания роторного или пильного агрегата или в виде оправки для закрепления другого шпиндель-мотора или в виде оправки для закрепления платформы со своим сервоприводом для обеспечения возможности высокочастотных перемещений в вертикальном направлении высокооборотного шпиндель-мотора.
3. Устройство по п.2, отличающееся тем, что над заготовкой установлены поджимаемые штоками пневмоцилиндров подающие ролики, покрытые не повреждающим поверхность заготовки материалом, например полиуретаном, под заготовкой симметрично и под каждым верхним подающим роликом установлены нижние металлические подающие ролики, поджимаемые штоками пневмоцилиндров таким образом, что нижние подающие ролики незначительно выступают над поверхностью стола и их положение относительно поверхности стола выполнено регулируемым с помощью ограничителей, при этом сила прижима заготовки к столу регистрируется пьезометрическим датчиком, соединенным с нижним подающим роликом для устранения трения заготовки о стол, а все подающие ролики кинематически связаны между собой в подающий механизм для приведения в действие сервоприводом, управляемым по программе.
4. Устройство по п.2, отличающееся тем, что весь блок сервоприводов вместе со шпиндель-моторами установлен на подвижной раме и выполнен с перемещением в вертикальной плоскости как самостоятельно, так и с подвижной рамой и с подающими роликами.
5. Устройство по п.2, отличающееся тем, что инструменты для нанесения рельефа и/или рисунка расположены по отношению к неподвижным шпинделям в необходимой последовательности, а декорирующие шпиндели выполнены с возможностью перемещения по одной из координат и параллельно подаче заготовки.
6. Устройство по п.2, отличающееся тем, что на рабочем столе под любым декорирующим инструментом установлен передвигающийся перпендикулярно столу и перемещению заготовки мостик, несущий пористую пластину для вакуум прижима тонких заготовок и быстросъемные пластины разной ширины и из материала с низким трением, например текстолита, установленные на уровне поверхности стола с шириной, позволяющей инструменту опускаться ниже уровня стола без повреждения.
7. Устройство по п.2, отличающееся тем, что на рабочем столе с обеих сторон заготовки и под инструментом установлены быстросъемные регулируемые пластины из легкообрабатываемого материала, например пластика, ограничивающие перемещение заготовки по ширине во время обработки и позволяющие выходу инструмента за края заготовки в тело вставки для устранения сколов кромок заготовки.
8. Устройство по п.2, отличающееся тем, что с обеих сторон инструмента, неподвижного и декорирующего шпинделей установлены быстросъемные и разной ширины прижимные ролики, покрытые не повреждающим поверхность заготовки материалом, например полиуретаном, для прижатия заготовки к столу, удержания ее и исключения вибрации в процессе обработки, установленные с возможностью поворота вокруг горизонтальной оси для обеспечения оптимального прижима заготовки, с сохранением этого положения за счет преднатяга фрикционных прокладок.
9. Устройство по п.2, отличающееся тем, что прижимные ролики установлены на пластине, соединенной через шток с вертикально скользящей подпружиненной платформой, соединенной с помощью эксцентрикового механизма со стойкой, закрепленной на раме ротора.
10. Устройство по п.2, отличающееся тем, что к шпиндель-мотору присоединена роторная приставка, принимающая от шпиндель-мотора любые положения в продольным направлении по отношению к подаче заготовки и любые угловые положения в поперечном направлении и установлена с возможностью поворота вокруг собственной оси и непрерывного изменения положения оси режущего инструмента во время обработки заготовки.
11. Устройство по п.2, отличающееся тем, что на декорирующем шпиндель-моторе установлена рама с собственным сервоприводом и высокочастотным ротором для обеспечения высокого быстродействия по дополнительной субкоординате Z под любым углом по направлению к подаче заготовки за счет поворота удерживающего приспособления в декорирующем шпиндель-моторе.
12. Устройство по п.2, отличающееся тем, что на одной из направляющей планке установлены ролики под углом к направлению подачи заготовки для ее поджатия к столу, а планка с роликами утоплена ниже поверхности для устранения повреждения нижней кромки заготовки.
13. Устройство по п.2, отличающееся тем, что на другой направляющей металлической планке установлены прижимные неподпружиненные и вращающиеся на подшипниках диски.
14. Устройство по п.2, отличающееся тем, что в качестве инструментов использованы фрезы различной ширины с установленными твердосплавными пластинами различной формы, например две или более на одну фрезу, размещенные с возможностью сохранения балансировки, а фрезы установлены между собой по различным уровням или по режущим радиусам и выполнены таким образом, что режущие кромки пластин рядом установленных на шпинделе фрез одного уровня частично перекрывают друг друга и полностью совпадают по режущим радиусам, при этом фрезы имеют одинаковые или разные уровни или режущие радиуса слева и справа, а количество уровней выполнено любым.
15. Устройство по п.2, отличающееся тем, что обеспечение возможности перемещения любого декорирующего инструмента по любой координате осуществлено посредством программы, за счет генерации случайных чисел, предопределяющих величину перемещения каждого хода инструмента для создания случайного рисунка, идентичного рисунку, полученного ручной обработкой.
16. Устройство по п.2, отличающееся тем, что на подвижной раме установлен вертикально расположенный автоматический магазин со сменным инструментом для его программной замены на шпиндель-роторе.
17. Устройство по п.2, отличающееся тем, что в районе размещения декорирующего инструмента или на выходе и над изделием установлен датчик и/или телекамера для сканирования качества рисунка и/или рельефа с обеспечением возможности корректировки обработки инструментом, вплоть до остановки обработки.
18. Устройство по п.2, отличающееся тем, что в конце рабочего стола по ходу перемещения заготовки установлена круговая ферма для размещения подвижного шпиндель-мотора, принимающего любые положения в пространстве для нанесения рисунка и/или рельефа на нижней и боковых поверхностях заготовки с сохранением возможности установки различных агрегатов или роторных приставок с переменным или фиксированным положением инструмента в пространстве.
РИСУНКИ
MM4A – Досрочное прекращение действия патента СССР или патента Российской Федерации на изобретение из-за неуплаты в установленный срок пошлины за поддержание патента в силе
Дата прекращения действия патента: 14.07.2007
Извещение опубликовано: 20.02.2009 БИ: 05/2009
NF4A – Восстановление действия патента СССР или патента Российской Федерации на изобретение
Дата, с которой действие патента восстановлено: 20.02.2009
Извещение опубликовано: 20.02.2009 БИ: 05/2009
|