|
|
(21), (22) Заявка: 2005122926/12, 18.12.2003
(24) Дата начала отсчета срока действия патента:
18.12.2003
(30) Конвенционный приоритет:
20.12.2002 (пп.1-15) EP 02445192.4
(43) Дата публикации заявки: 27.02.2006
(46) Опубликовано: 27.06.2007
(56) Список документов, цитированных в отчете о поиске:
US 5342689 A, 30.08.1994. US 5228775 A, 20.07.1993. US 3804378 A, 16.04.1974. US 4722943 A, 02.02.1988. RU 2017621 C1, 15.08.1994.
(85) Дата перевода заявки PCT на национальную фазу:
20.07.2005
(86) Заявка PCT:
SE 03/02043 (18.12.2003)
(87) Публикация PCT:
WO 2004/056549 (08.07.2004)
Адрес для переписки:
129010, Москва, ул. Б.Спасская, 25, стр.3, ООО “Юридическая фирма Городисский и Партнеры”, пат.пов. С.А.Дорофееву
|
(72) Автор(ы):
СВЕДБЕРГ Ларс-Олоф (SE), ХОВЛАНД Гуи (SE), ХОЛЬМЛУНД Томас (SE)
(73) Патентообладатель(и):
АКЦО НОБЕЛЬ Н.В. (NL)
|
(54) УСТРОЙСТВО И СПОСОБ ДЛЯ ПРИГОТОВЛЕНИЯ РАСШИРЕННЫХ ТЕРМОПЛАСТИЧНЫХ МИКРОСФЕР
(57) Реферат:
Настоящее изобретение относится к расширяющему устройству и способу приготовления расширенных термопластичных микросфер. Техническим результатом данного изобретения является создание способа и малогабаритного устройства для приготовления расширенных термопластичных микросфер, устраняющего проблемы агломерации микросфер и обеспечивающих легкое управление степенью расширения микросфер и непрерывное приготовление микросфер с очень узким диапазоном распределения их по плотности. Технический результат достигается тем, что расширяющее устройство для приготовления расширенных термопластичных микросфер содержит вращаемое подающее средство, окруженное полым корпусом, и один или несколько скребков, установленных на подающем средстве между внешним радиусом подающего средства и внутренней поверхностью полого корпуса. При этом способ приготовления расширенных термопластичных микросфер с использованием данного расширяющего устройства включает загрузку терморасширяемых микросфер в расширяющее устройство, перемещение микросфер через расширяющее устройство при одновременном повышении их температуры и выгрузку расширенных микросфер. 2 н. и 13 з.п. ф-лы, 3 ил.
Настоящее изобретение относится к расширяющему устройству и способу для приготовления расширенных термопластичных микросфер.
Термически расширяемые микросферы известны в данной области техники и подробно описаны, например, в патенте США №3615972 и Европейских патентах №486080, 566367, 1067151, приведенных здесь в качестве ссылок. В таких микросферах герметизируется в термопластичной оболочке реактивное топливо. При нагревании реактивное топливо испаряется с повышением внутреннего давления, и одновременно размягчается оболочка, что приводит к значительному расширению микросфер с увеличением их диаметра обычно приблизительно в 2-5 раз.
Термопластичные микросферы, как предварительно расширенные, так и не расширенные, могут быть использованы в различных областях. Примерами применения расширенных микросфер являются смолы на основе растворителей, подобные полиэфиру, для сухих шариков и системы на водной основе, подобные краскам, для влажных шариков.
Полное расширение термопластичных микросфер может привести к проблемам их агломерации из-за более высоких температур, требующихся для полного расширения, а также к тонким термопластичным оболочкам, образующимся при полном расширении. Имеется необходимость в способе и расширяющем устройстве для приготовления расширенных термопластичных микросфер, обеспечивающих управление степенью расширения микросфер для получения расширенных микросфер различной плотности. Существует также необходимость в способе и расширяющем устройстве для расширения термопластичных микросфер, которое было бы простым и требовало мало площади, было сравнительно недорогим и простым для пользователей в том месте, где должны использоваться расширенные микросферы, для сокращения объемов транспортных перевозок и затрат.
В Европейском патенте 0348372 раскрыт способ для приготовления расширенных термопластичных микросфер, в котором их расширение происходит на конвейерной ленте. Способ является эффективным, но требует довольно много места и является сравнительно дорогим.
В патенте США 5342689 раскрыт способ приготовления расширенных термопластичных микросфер, при котором загружают терморасширяемые микросферы в расширяющее устройство, перемещают микросферы через расширяющее устройство при одновременном повышении их температуры для обеспечения расширения микросфер и выгружают расширенные микросферы. При осуществлении данного способа микросферы смешиваются с покрытием, образующим поверхностный барьер, для предотвращения агломерации во время операции сушки. Однако количество такого вспомогательного средства, например талька, очень велико, что влияет на возможность быстрого охлаждения. Это вызывает трудности при управлении степенью расширения микросфер.
Целью настоящего изобретения является создание способа и малогабаритного устройства для приготовления расширенных термопластичных микросфер, устраняющих проблемы агломерации микросфер и обеспечивающих легкое управление степенью расширения микросфер и непрерывное приготовление расширенных микросфер с очень узким диапазоном распределения их по плотности.
Эта цель достигается расширяющим устройством для приготовления расширенных термопластичных микросфер, содержащим вращаемое подающее средство, окруженное полым корпусом, и один или несколько скребков, установленных на подающем средстве между внешним радиусом подающего средства и внутренней поверхностью полого корпуса и предназначенных для предотвращения образования слоев микросфер в расширяющем устройстве.
В устройстве один или несколько скребков, установленных на подающем средстве, могут отходить радиально за пределы внешнего радиуса подающего средства в сторону внутренней поверхности полого корпуса. При этом находящиеся по меньшей мере частично в контакте с внутренней поверхностью полого тела скребки имеют некоторую гибкость и поэтому, когда они прижимаются к внутренней поверхности полого корпуса, возникает плотный контакт между ними и внутренней поверхностью полого корпуса.
Один или несколько скребков по отдельности или совместно могут быть приспособлены осуществлять соскабливание от около 20 до около 95% продольной длины внутренней поверхности полого корпуса.
Один или два скребка могут быть способными осуществлять соскабливание от около 70 до около 100% продольной длины внутренней поверхности полого корпуса, и 2-4 скребка способны осуществлять соскабливание от около 10 до около 40% продольной длины внутренней поверхности полого корпуса.
Один или несколько скребков могут быть установлены на подающем средстве, начиная от впускной стороны расширяющего устройства, т.е. там, где добавляются нерасширенные микросферы, и отходят от него.
Один или несколько скребков или поверхностный слой одного или нескольких скребков могут быть изготовлены из полимерного материала, предпочтительно термостойкого полимерного материала. Полимерным материалом является предпочтительно фторопласт, такой как политетрафталат, поливинилиденфторид, сополимер политетрафторэтилена и фторированного винилового эфира или эластомерный сополимер тетрафторэтилена и гексафторпропилена. Если полимерным материалом является термопласт, то температура расплавления полимерного материала соответственно приблизительно выше 200°С, предпочтительно выше 250°С.
Полый корпус или подающее средство могут быть снабжены одним или несколькими нагревателями.
В предпочтительном варианте реализации настоящего изобретения подающее средство имеет форму червяка. Червяк соответственно имеет отношение шага червяка к диаметру червяка от около 0,05 до около 1,5, предпочтительно от около 0,15 до около 0,5. Шаг червяка соответственно меньше в начале червяка, т.е. около впускного отверстия, чем в конце червяка. Шаг червяка может постепенно увеличиваться вдоль червяка. Или же шаг червяка может увеличиваться ступенчато так, чтобы один участок червяка имел иной шаг червяка, чем у другого участка червяка.
В другом предпочтительном варианте изобретения подающее средство имеет вид одной или нескольких лопаток, соответственно выступающих из центрального сердечника. Лопатки расположены так, чтобы угол между их плоскостью и направлением подачи составлял 0°< <90°, предпочтительно от около 10 до около 60°.
Согласно изобретению создан также способ приготовления расширенных термопластичных микросфер с использованием вышеописанного расширяющего устройства, при котором загружают терморасширяемые микросферы в расширяющее устройство, перемещают микросферы через расширяющее устройство при одновременном повышении их температуры для обеспечения расширения микросфер и выгружают расширенные микросферы.
Терморасширяемые микросферы перед поступлением в расширяющее устройство могут предварительно смешиваться с наполнителем, препятствующим агломерации микросфер.
Наполнитель используется соответственно в виде мелких частиц диаметром в диапазоне от около 1×10-9 до около 1×10-3 м, предпочтительно от около 1×10-8 до около 3×10-5 м. Примерами наполнителей являются такие неорганические соединения как алюминиевый порошок, карбонат магния, фосфаты магния, гидрат оксида магния, доломит, карбонат кальция, фосфаты кальция, сульфат кальция, тальк, каолин, оксиды кремния, оксиды железа, оксид титана, оксиды алюминия и гидраты оксидов алюминия, оксид цинка, гидротальцит, слюда, бариты, стеклянные шарики, летучая зола, мелкий песок, минеральные волокна и вообще армированные волокна, волластонит, полевой шпат, диатомовая земля, перлиты, вермикулиты, полые кварцевые и керамические шарики. Также могут быть использованы органические соединения, особенно полимеры с достаточно высокой температурой размягчения и целлюлоза, древесная мука, газовая сажа, углеродные волокна и графитовые волокна. Предпочтительным наполнителем является оксид кремния, такой как диоксид кремния. Наполнитель может использоваться в своем чистом виде, или его поверхность может быть обработана различным образом для усиления свойств, препятствующих агломерации. Один способ обработки поверхности наполнителя заключается в том, чтобы сделать ее гидрофобной. Весовое соотношение между добавляемым наполнителем и микросферами зависит от используемого наполнителя, но оно составляет соответственно от около 1:1000 до около 5:1, предпочтительно от около 1:500 до около 1:1, даже более предпочтительно от около 1:100 до около 1:3 и наиболее предпочтительно от около 1:25 до около 1:5.
Способ и расширяющее устройство в соответствии с изобретением могут быть применены ко всем известным видам расширяемых термопластичных микросфер, например к таким, которые продаются под торговой маркой Expancel. Подходящие микросферы могут иметь термопластичную оболочку, изготовленную из полимеров или сополимеров, получаемых полимеризацией различных мономеров с этиленовой ненасыщенной связью, таких как акрилонитрил, метакрилонитрил, -хлоракрилонитрил, -этоксиакрилонитрил, фумаронитрил, кротонитрил, акриловые эфиры, такие как метакрилат или этилакрилат, метакриловые эфиры, такие как метилметакрилат, изоборнилметакрилат или этилметакрилат, галогениды винила, такие как винилхлорид, галогениды винилидена, такие как винилиденхлорид, винилпиридин, виниловые эфиры, такие как винилацетат, стиролы, такие как стирол, галоидозамещенные стиролы или -метилстирол, или диены, такие как бутадиен, изопрен и хлоропрен. Также могут быть использованы любые смеси вышеупомянутых мономеров. Иногда может быть желательно, чтобы мономеры для полимерной оболочки также содержали поперечно-связанные многофункциональные мономеры, такие как один или больше дивинилбензолов, этиленгликольди(мет)акрилат, диэтиленгликольди(мет)акрилат, триэтиленгликольди(мет)акрилат, пропиленгликольди(мет)акрилат, 1,4-бутандиолди(мет)акрилат, 1,6-гександи(мет)акрилат, глицеролди(мет)акрилат, 1,3-бутаниолди(мет)акрилат, неопентилгликольди(мет)акрилат, 1,10-декандиолди(мет)акрилат, пентаэритритатри(мет)акрилат, пентаэритритатетра(мет)акрилат, пентаэритритагекса(мет)акрилат, диметилолтрициклодекан ди(мет)акрилат, триаллилформаль три(мет)акрилат, аллилметакрилат, триметилолпропан три(мет)акрилат, триметилопропан триакрилат, трибутандиол ди(мет)акрилат, полиэтиленгликоль №200 ди(мет)акрилат, полиэтиленгликоль №400 ди(мет)акрилат, полиэтиленгликоль №600 ди(мет)акрилат, 3-акрилоилоксигликоль моноакрилат, триакрилформаль- или триаллилизоцианат, триаллилизоцианурат и т.д. Если такие поперечно-связанные мономеры присутствуют, то они предпочтительно составляют от около 0,1 до около 1% мас., наиболее предпочтительно от около 0,2 до около 0,5 мас.% от общего количества мономеров для полимерной оболочки. Предпочтительно полимерная оболочка составляет от около 60 до около 95 мас.%, наиболее предпочтительно от около 75 до 85 мас.% от всей массы микросферы.
Реактивное топливо в микросфере обычно является жидкостью с температурой кипения не выше температуры размягчения термопластичной полимерной оболочки. Реактивное топливо, также называемое газообразующим агентом или пенообразующим агентом, может быть углеводородом, таким как н-пентан, изопентан, неопентан, бутан, изобутан, гексан, изогексан, неогексан, гептан, изогептан, октан и изооктан или их смесь. Также могут быть использованы и другие типы углеводородов, такие как петролейный эфир, и хлорированные или фторированные углеводороды, такие как хлористый метил, хлористый метилен, дихлорэтан, дихлорэтилен, трихлорэтан, трихлорэтилен, трихлорфторметан и т.д. Реактивное топливо соответственно составляет от около 5 до около 40 мас.% от массы микросферы.
Температура, при которой начинается расширение микросфер, называется Тнач., а температура, при которой достигается максимальное расширение, называется Тмакс., при этом обе температуры определяются при скорости роста температуры 20°С в минуту. Терморасширяемые микросферы, используемые в настоящем изобретении, соответственно имеют Тнач. от около 20 до около 200°С, предпочтительно от около 40 до около 180°С, наиболее предпочтительно от около 60 до около 150°С. Терморасширяемые микросферы, используемые в настоящем изобретении, соответственно имеют Тмакс. от около 50 до около 300°С, предпочтительно от около 100 до около 250°С, наиболее предпочтительно от около 140 до около 200°С. Объемно-взвешенный средний размер терморасширяемых микросфер в соответствии с изобретением составляет соответственно от около 1 до 500 мкм, предпочтительно от около 3 до около 100 мкм, наиболее предпочтительно от около 5 до около 50 мкм. Нагреванием до температуры выше Тнач. обычно можно расширить микросферы в отношении их диаметра от около 2 до около 7 раз, предпочтительно от около 4 до около 7 раз.
Плотность выгружаемых микросфер контролируется посредством выбора подходящей температуры нагревания и/или промежутка времени, в течение которого микросферы присутствуют в расширяющем устройстве. Температура в расширяющем устройстве соответственно выше Тнач. предпочтительно на 5-150°С, наиболее предпочтительно на 20-50°С выше Тнач. Среднее время пребывания микросфер в расширяющем устройстве составляет от около 5 до около 200 сек, предпочтительно от около 10 до около 100 сек, наиболее предпочтительно от около 30 до около 90 сек.
В способе согласно изобретению могут использоваться как влажные, так и сухие терморасширяемые микросферы. Однако способ в соответствии с изобретением особенно подходит для терморасширяемых микросфер, имеющих низкое содержание влаги. Соответственно терморасширяемые микросферы имеют содержание твердых сухих веществ приблизительно больше 50 мас.%, предпочтительно приблизительно больше 80 мас.%, наиболее предпочтительно приблизительно больше 97 мас.%.
Скорость вращения подающего средства соответственно от около 1 до около 100 оборотов в минуту, предпочтительно от около 5 до около 90 оборотов в минуту, наиболее предпочтительно от около 40 до около 80 оборотов в минуту.
100%, наиболее предпочтительно от около 20 до около 95%. Скреперы по отдельности могут иметь различную длину. Например, может быть сочетание одного или нескольких длинных скребков и одного или нескольких коротких скребков. Предпочтительно один или два скрепера, выполняющих соскабливание от около 70 до около 100% продольной длины внутренней поверхности полого тела, используются совместно с 1-5, предпочтительно с 2-4 скреперами, осуществляющими соскабливание от около 10 до около 40% продольной длины внутренней поверхности полого тела. Если используется слишком много длинных скребков, возникает риск, что микросферы забьют подающий червяк, особенно если его шаг мал. Поэтому длину скребков регулируют, чтобы она максимально зависела от других параметров процесса, таких как габариты расширяющего устройства, скорость вращения, тип микросфер, содержание наполнителя и т.д.
Способом и расширяющим устройством в соответствии с изобретением обеспечивается более легкое расширение терморасширяемых микросфер, при этом требуется малогабаритное оборудование и уменьшаются затраты на транспортировку расширенных микросфер. Степень расширения микросфер также может более легко контролироваться, чем раньше.
Далее изобретение описано со ссылками на прилагаемые чертежи, на которых изображено следующее:
фиг.1 изображает вариант реализации расширяющего устройства согласно настоящему изобретению, в котором подающим средством является червяк;
фиг.2 изображает подающее устройство в виде червяка;
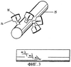
Фиг.3 изображает подающее средство лопаточного типа.
На фиг.1 показан вариант реализации способа, в котором нерасширенные термопластичные микросферы перекачиваются из накопительного резервуара 1 в бункер 2 и фильтруются через фильтр 3. После этого микросферы подаются в первый червячный питатель 4 и переносятся к впускному отверстию 5 расширяющего устройства 6, содержащего нагревательное средство 7 и червяк 8 с установленными на нем скребками 9. Впускное отверстие 5 снабжено вибратором 10, и червяк 8 соответствующим образом соединен с двигателем 11. Расширенные микросферы соответственно выводятся через выпускное отверстие 12, снабженное вибратором 13, и затем откачиваются.
На фиг.2 показан червяк 8 диаметром d со смонтированным скребком 9. Одна часть А червяка имеет шаг p1, и другая часть В червяка имеет шаг р2.
На фиг.3 показан вариант реализации подающего средства в виде лопаток 14, установленных на центральном сердечнике 15 и отходящих от него. Лопатки снабжены скребками 16. Каждая лопатка образует угол с направлением подачи. Различные лопатки могут иметь углы различной величины. Подающее средство, показанное на фиг.3, может заменить червячное подающее средство, показанное на фиг.1.
Преимущества настоящего изобретения будут далее описаны с использованием следующего примера, который однако не должен истолковываться как ограничивающий объем изобретения.
Расширяющее устройство, содержащее полый корпус и червячное подающее средство, используется для расширения термопластичных расширяемых микросфер. Червяк имеет длину 2200 мм и диаметр 205 мм. Червяк разделен на три секции равной длины, при этом каждая из них имеет свой шаг в 40, 50, 60 мм, начиная от впускного отверстия. Червяк имеет четыре смонтированных на нем скребка, один из которых имеет длину, составляющую 90% длины внутренней поверхности полого тела, а каждый из трех других скребков имеет длину, составляющую 25% длины внутренней поверхности полого корпуса. Скорость вращения червяка составляет 54 оборотов в минуту. Микросферы типа Expancel® 461 DU, имеющие объемно-взвешенный средний размер 12 мкм, Тнач.=99°С и Тмакс.=140°С, предварительно смешиваются с гидрофобным диоксидом кремния в отношении 85 мас. частей микросфер и 15 мас. частей диоксида кремния. Затем такая смесь микросфер и диоксида кремния загружается в расширяющее устройство. Время пребывания микросфер в расширяющем устройстве составляет 60 сек.
Может быть получено 14 кг/час расширенных микросфер равной плотности. Не наблюдается никакой существенной агломерации микросфер в червяке.
Формула изобретения
1. Расширяющее устройство для приготовления расширенных термопластичных микросфер, содержащее вращаемое подающее средство, окруженное полым корпусом, и один или несколько скребков, установленных на подающем средстве между внешним радиусом подающего средства и внутренней поверхностью полого корпуса и предназначенных для предотвращения образования слоев микросфер в расширяющем устройстве.
2. Расширяющее устройство по п.1, в котором один или несколько скребков, установленных на подающем средстве, отходят радиально за пределы внешнего радиуса подающего средства в сторону внутренней поверхности полого корпуса.
3. Расширяющее устройство по п.1 или 2, в котором один или несколько скребков по отдельности или совместно приспособлены осуществлять соскабливание от около 20 до около 95% продольной длины внутренней поверхности полого корпуса.
4. Расширяющее устройство по п.1 или 2, в котором один или два скребка способны осуществлять соскабливание от около 70 до около 100% продольной длины внутренней поверхности полого корпуса и 2-4 скребка способны осуществлять соскабливание от около 10 до около 40% продольной длины внутренней поверхности полого корпуса.
5. Расширяющее устройство по п.1 или 2, в котором один или несколько скребков установлены на подающем средстве, начиная от впускной стороны расширяющего устройства, и отходят от него.
6. Расширяющее устройство по п.1 или 2, в котором один или несколько скребков или поверхностный слой одного или нескольких скребков изготовлены из фторопласта.
7. Расширяющее устройство по п.1 или 2, в котором полый корпус снабжен одним или несколькими нагревателями.
8. Расширяющее устройство по п.1 или 2, в котором подающее средство снабжено одним или несколькими нагревателями.
9. Расширяющее устройство по п.1 или 2, в котором подающее средство имеет форму червяка.
10. Расширяющее устройство по п.1 или 2, в котором подающее средство содержит одну или несколько лопаток, установленных на центральном сердечнике и выступающих от него.
11. Способ приготовления расширенных термопластичных микросфер с использованием расширяющего устройства по одному из пп.1-10, при котором загружают терморасширяемые микросферы в расширяющее устройство, перемещают микросферы через расширяющее устройство при одновременном повышении их температуры для обеспечения расширения микросфер и выгружают расширенные микросферы.
12. Способ по п.11, в котором терморасширяемые микросферы перед поступлением в расширяющее устройство предварительно смешивают с наполнителем, препятствующим агломерации микросфер.
13. Способ по п.12, в котором в качестве наполнителя используют диоксид кремния.
14. Способ по п.12 или 13, в котором отношение веса добавляемого наполнителя к весу микросфер составляет от около 1:100 до около 1:3.
15. Способ по п.12 или 13, в котором терморасширяемые микросферы имеют содержание твердых веществ, превышающее 97 мас.%.
РИСУНКИ
|
|