|
|
(21), (22) Заявка: 2004129407/02, 05.10.2004
(24) Дата начала отсчета срока действия патента:
05.10.2004
(43) Дата публикации заявки: 10.03.2006
(46) Опубликовано: 27.06.2007
(56) Список документов, цитированных в отчете о поиске:
ЗАТУЛОВСКИЙ С.С. и др. Получение и применение металлической дроби. – М.: Металлургия, 1988, с.19-20. SU 1052316 А, 07.11.1983. SU 667323 А, 15.06.1979. WO 02/00376 A1, 03.01.2002.
Адрес для переписки:
456910, Челябинская обл., г. Сатка, ОАО “Комбинат “Магнезит”, начальнику отдела информации И.В. Панасюк
|
(72) Автор(ы):
Назмутдинов Рафаил Шамсиевич (RU), Киселева Елена Александровна (RU), Акбашев Альберт Минирашитович (RU), Синицын Алексей Петрович (RU), Анисимов Алексей Николаевич (RU)
(73) Патентообладатель(и):
Открытое акционерное общество “Комбинат “Магнезит” (RU)
|
(54) РАЗЛИВОЧНЫЙ СТАКАН ДЛЯ УСТАНОВКИ ПОЛУЧЕНИЯ МЕТАЛЛИЧЕСКОЙ ДРОБИ
(57) Реферат:
Изобретение может быть использовано в установках для изготовления литой дроби. Разливочный стакан имеет канал в виде щели прямоугольного сечения. Стенки канала по его ширине в верхней части выполнены с расширением. Стакан имеет по меньшей мере еще один канал, симметрично расположенный по отношению к первому каналу по продольной оси. В поперечном сечении соединение верхней и нижней частей стенок каналов выполнено по радиусу. Стенки канала по его длине в продольном сечении выполнены с расширением в верхней части. Использование изобретения повышает качество литой дроби. 2 з.п. ф-лы, 3 ил.
Предлагаемое изобретение относится к металлургическому производству и может быть использовано в установках для изготовления литой дроби.
Известен разливочный стакан с каналом для разливки, выполненным в виде цилиндрического отверстия. Такая форма канала не обеспечивает истечение металла устойчивой струёй ввиду влияния случайных внешних факторов, приводящих к распаду цилиндрической струи и, в итоге, к получению дроби пониженного качества (С.С.Затуловский, Л.А.Мундрук «Получение и применение металлической дроби», М.: Металлургия, 1988, стр.13-16).
В качестве прототипа выбран стакан для разливки, в котором канал выполнен в виде щели прямоугольного сечения (С.С.Затуловский, Л.А.Мундрук «Получение и применение металлической дроби», М.: Металлургия, 1988, стр.16-21).
Низкое качество гранул является недостатком и этого технического решения.
Задачей изобретения является повышение качества литой дроби и повышение производительности.
Это достигается тем, что в разливочном стакане для установки получения металлической дроби, содержащем канал в виде щели прямоугольного сечения, согласно изобретению, стенки канала по его ширине в верхней части расширены на угол, а стакан снабжен, по меньшей мере, еще одним аналогичным каналом, симметрично расположенным по продольной оси по отношению к первому.
Согласно изобретению соединение верхней и нижней частей стенок канала выполнено по радиусу.
Согласно изобретению стенки канала по его длине в продольном сечении выполнены с расширением верхней части.
Наличие двух каналов обеспечивает разделение потока расплава на две струи и направленное движение к выходу из каналов.
Стенки каналов, выполненные по ширине и длине с расширением в верхней части стакана, образуют воронкообразную емкость, в которой создается постоянный гидростатический напор, исключающий пульсацию вытекаемого металла, обеспечивая ему ламинарное движение.
Сопряжение щелевых каналов с полостями радиусом благоприятствует более плавному истечению вытекаемого металла.
Плоская гладкая компактная струя жидкого металла при плавном его истечении через каналы позволяет получить качественную дробь.
Наличие двух отверстий повышает производительность гранулирования при диспер-гировании расплава.
Проведенные патентные исследования не выявили сходных технических решений с такой совокупностью признаков, что позволяет сделать вывод о новизне и изобретательском уровне, т.к. данное решение не следует явным образом из существующего уровня техники.
Отечественная промышленность располагает всеми средствами (материалами, инструментом, оборудованием), необходимыми для создания разливочного стакана, применяемого в производстве литой дроби. Предложенное устройство может быть реализовано в промышленных масштабах, что соответствует критерию “промышленная применимость”.
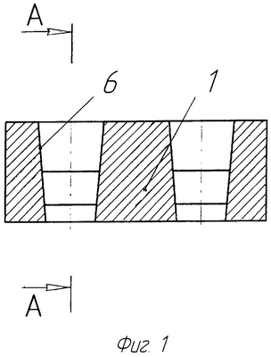
Сущность заявляемого изобретения поясняется чертежами, где на фиг.1 представлен общий вид разливочного стакана для установки получения металлической дроби, на фиг.2 – вид сверху на фиг.1, на фиг.3 – разрез А-А на фиг.1.
Разливочный стакан 1 содержит канал 2 в виде щели прямоугольного сечения. Стенки 3 канала 2 по его ширине в верхней части расширены на угол. Стакан 1 снабжен, по меньшей мере, еще одним аналогичным каналом 4, симметрично расположенным по отношению к первому каналу по продольной оси. В поперечном сечении соединение верхней и нижней частей стенок каналов 2, 4 выполнены по радиусу 5. Стенки канала 6 по его длине в продольном сечении выполнены с расширением в верхней части.
В примере конкретного выполнения разливочный стакан представляет собой прямоугольной формы конструкцию размером 250×115×100 мм (длина × ширина × высота), выполненную из огнеупорного материала с двумя выходными щелевыми отверстиями 50×6 мм. Стакан устанавливается в металлоприемник, выполненный в виде прямоугольной формы емкости, футерованной огнеупорными изделиями. Стенки каналов, выполненные в верхней части с расширением, образуют воронкообразную приемную емкость, которая в горизонтальном сечении стакана имеет прямоугольное сечение 50×55 мм. Размеры стакана – 250×115×100 мм.
Разделение потока расплава на две струи осуществляется при его падении на набитый слой, создаваемый огнеупорным наполнителем, дробление струи металла осуществляется при ее падении на наклонные поверхности стенок каналов 3, 6, ее дальнейшее движение осуществляется по сопряжению с щелевыми каналами радиусом 5 в их нижней части.
Высокое качество выхода гранул дроби является достоинством и преимуществом предлагаемого технического решения по сравнению с прототипом.
Формула изобретения
1. Разливочный стакан для установки получения металлической дроби, содержащий канал в виде щели прямоугольного сечения, отличающийся тем, что стенки канала по его ширине в верхней части расширены на угол, а стакан снабжен, по меньшей мере, еще одним аналогичным каналом, симметрично расположенным по отношению к первому по продольной оси.
2. Разливочный стакан по п.1, отличающийся тем, что в поперечном сечении соединение верхней и нижней частей стенок канала выполнено по радиусу.
3. Разливочный стакан по п.2, отличающийся тем, что стенки канала по его длине в продольном сечении выполнены с расширением верхней части.
РИСУНКИ
|
|