|
|
(21), (22) Заявка: 2005137934/13, 05.12.2005
(24) Дата начала отсчета срока действия патента:
05.12.2005
(46) Опубликовано: 27.06.2007
(56) Список документов, цитированных в отчете о поиске:
SU 1400593 A1, 07.06.1988. МАГОМЕДОВ Г.О. и др. Получение леденцовой карамели методом термопластической экструзии. – Кондитерское производство, №2, 2005, с.15. ГЕРАСИМОВА И.В. Технология карамели. – М.: Пищевая промышленность, 1978, с.68-69.
Адрес для переписки:
394000, г.Воронеж, пр. Революции, 19, ГОУ ВПО ВГТА, отдел СМП
|
(72) Автор(ы):
Брехов Александр Федорович (RU), Шахов Сергей Васильевич (RU), Бунин Евгений Сергеевич (RU), Барковский Алексей Владимирович (RU)
(73) Патентообладатель(и):
Государственное образовательное учреждение высшего профессионального образования Воронежская государственная технологическая академия (ГОУ ВПО ВГТА) (RU)
|
(54) СПОСОБ ПОЛУЧЕНИЯ ЭКСТРУДИРОВАННОЙ САХАРНОЙ ВАТЫ И УСТАНОВКА ДЛЯ ЕГО ОСУЩЕСТВЛЕНИЯ
(57) Реферат:
Изобретение относится к кондитерской промышленности и может быть использовано для получения сахарной ваты и т.п. продуктов. Способ включает пластификацию возвратных отходов леденцовой карамели в экструдере при температуре 120-130°С, дозирование через его периферийные выходные отверстия на вращающийся рабочий орган, где осуществляется формирование нитей на воздушной подушке путем поддува по криволинейной траектории подогретым воздухом. Установка включает установленный на валу с возможностью вращения вокруг оси рабочий орган с закрепленными на боковой поверхности его корпуса лопастями и имеющий неподвижную крышку, приемную емкость в виде цилиндрического поддона с окном в днище и кольцевым желобом, расположенным ниже лопастей, и неподвижный нагреватель. Рабочий орган выполнен составным из распылительного диска, опорного барабана, конусообразной и криволинейной направляющих вставок. Вал рабочего органа в районе нагревательного элемента, выполненного в виде калорифера, имеет прорези, соединенные криволинейными каналами с его внутренней полостью, которая имеет выход на торцевой поверхности распылительного диска в виде отверстий, выполненных по криволинейной траектории. На торцевую поверхность распылительного диска и внутреннюю поверхность крышки нанесены покрытия из антиадгезионного материала. Над рабочим органом дополнительно установлен вертикально расположенный экструдер с периферийными выходными отверстиями, при этом траектория выполнения отверстий описывается в виде кривой уравнением: f(r)=ar2+br+c, где r – радиус диска, м; а, b, с – коэффициенты для условия наибольшей абсолютной скорости продукта при сходе с диска при заданных параметрах последнего. Изобретение позволяет повысить рентабельность карамельного производства, исключить прилипание продукта к крышке, повысить производительность установки, снизить коэффициент трения по поверхности рабочего органа и каналам установки, уменьшить мощность привода рабочего органа. 2 н.п. ф-лы, 5 ил.
Изобретение относится к кондитерской промышленности и может быть использовано для получения сахарной ваты и т.п. продуктов.
В карамельном производстве отходы, возвращаемые в производство, образуются почти на всех стадиях технологического процесса. Так, в отходы идут зачистки с вакуум-аппаратов, концы батонов, начало и конец карамельной цепочки, осколки и крошки карамели, получающиеся на формующих машинах и т.д. При полумеханизированном способе производства часть отходов, образующихся при формовании и охлаждении, немедленно используют при разделке следующих порций карамельной массы. Концы цепочек, крошки, не содержащие начинки, добавляют в горячую карамельную массу. Поточные же линии производства требуют тщательного соблюдения технологического режима, так как здесь отходы не могут быть немедленно возвращены в производство, как на полумеханизированных линиях, и неизбежно накапливаются. В этом случае отходы обычно растворяют в варочном котле при барботировании паром и нагревания змеевиками. Затем уваривают в течение 20-30 мин до содержания сухих веществ 80% ((С.68-69) И.В.Герасимова Технология карамели. – М.: Пищевая промышленность, 1978. – 97 с.).
Данный способ обладает высокими затратами энергии на растворение отходов карамели и низким качеством получаемого продукта, так как не исключают глубокого распада сахаров и накопления их в готовых изделиях из-за продолжительного температурного воздействия.
Известен способ обработки леденцовой карамели методом термопластической экструзии (Магомедов Г.О., Олейникова А.Я., Брехов А.Ф., Плотникова И.В., Разинков А.И., Апатенко А.Е. Получение леденцовой карамели методом термопластической экструзии. – Кондитерское производство, 2005, №2, с.15), включающий пластификацию карамели в экструдере с получением расплава и его структурирования под действием сил сдвига и растяжения, последующее охлаждение и формование.
Однако известный способ не позволяет формировать сахарные нити заданных размеров, что ограничивает его применение при получении сахарной ваты высокого качества.
Наиболее близким по технической сущности и достигаемому эффекту к решаемой задаче является способ изготовления кондитерского изделия “Сахарная вата”, реализованный в устройстве (Патент России №1400593, кл.6 А23G 3/12. Опубл. 07.06.2000 года. Бюл. №21), включающий подготовку сахаросодержащего полуфабриката, дозирование его из емкости, установленной с возможностью поворота вокруг оси, соединенной с приводом и закрытой сверху крышкой, в центральной части которой выполнено отверстие для подачи сахарного песка или сиропа в средство получения сахарных нитей с последующим их охлаждением.
При этом средства получения сахарных нитей выполнены в виде системы регулируемых кольцевых щелевых зазоров, а разогрев емкости происходит вихревыми токами и энергией от перемагничивания при вращении емкости, выполненной из токопроводящего материала, относительно магнитов, причем регулирование температуры емкости производится изменением зазора между емкостью и магнитами или путем перекрытия магнитного потока ферромагнитной заслонкой.
Однако в известном способе затруднено использование возвратных отходов леденцовой карамели из-за их подгорания во время пластификации путем разогрева, а также не обеспечивается равномерное дозирование из-за отсутствия принудительной подачи высоковязкого продукта в средство получения сахарных нитей, что снижает качество и повышает себестоимость готового продукта, а также влияет на надежность работы устройства для получения сахарной ваты.
Известны устройство для производства грильяжной массы (а.с. №457455, кл.6 А23G 3/04. Опубл. 25.01.1975 г. Бюл. №3), включающее загрузочный бункер, вертикальный аппарат для плавления сахара с обогреваемым двустенным корпусом и вращающимся шнеком, бункер и дозатор для рецептурных компонентов, смеситель и обогреваемым корпусом и шнеком, формующий механизм, охлаждающее приспособление и отводящий транспортер, а также устройство для уваривания карамельной массы (а.с. №1813398, кл.6 А23G 3/04. Опубл. 07.05.1993 г. Бюл. №17), включающее последовательно соединенные между собой паровой котел для предварительного подогрева массы, снабженные змеевиком для прохождения массы, промежуточную емкость для удаления влаги, паровой варочный котел для окончательного подогрева увариваемой массы, снабженный змеевиком для прохождения массы, вакуум-выпарную емкость для уваривания массы, в основании которой расположена оборудованная шнеком камера для отвода целевого продукта.
Недостатком известных устройств является отсутствие приспособлений для осуществления формирования нитей сахарной ваты.
Наиболее близким по технической сущности и достигаемому эффекту к решаемой задаче является устройство для изготовления сахарной ваты (Патент России №2083126, кл.6 А23G 3/10. Опубл. 10.07.1997 г. Бюл. №19), включающее установленный с возможностью вращения вокруг оси рабочий орган, корпус которого выполнен полым, имеет прорези и лопасти на боковой поверхности и оснащен крышкой с отверстием в центре, причем полость рабочего органа выполнена в форме круговой щели с уменьшающимся к периферии зазором между крышкой и днищем корпуса, приемную емкость в виде цилиндрического поддона с окном в днище и кольцевым желобом, расположенным ниже лопастей, и установленную соосно с корпусом рабочего органа, и неподвижный электронагреватель, поверхности которого охватываются стенками корпуса рабочего органа.
Недостатком известного устройства является отсутствие принудительной подачи высоковязкого продукта в средство получения нитей сахарной ваты, что снижает качество и повышает себестоимость готового продукта, а также влияет на надежность работы устройства для получения сахарной ваты.
Технической задачей является обеспечение возможности использования возвратных отходов леденцовой карамели путем исключения их подгорания во время пластификации и разогрева, а также равномерного дозирования принудительной подачей высоковязкого продукта в средство получения сахарных нитей для увеличения качества и снижения себестоимости готового продукта, а также для повышения надежности работы устройства для получения сахарной ваты.
Техническая задача изобретения достигается тем, что в способе получения экструдированной сахарной ваты, включающем подготовку сахаросодержащего полуфабриката, дозирование его на вращающийся рабочий орган, формирование в виде нити с последующим охлаждением, новым является то, что в качестве сахаросодержащего полуфабриката берут возвратные отходы леденцовой карамели, пластифицируют их в экструдере при температуре 120-130°С и дозируют через его периферийные выходные отверстия на вращающийся рабочий орган, где осуществляется формирование нитей на воздушной подушке путем поддува по криволинейной траектории подогретым воздухом.
В установке для получения экструдированной сахарной ваты, включающей установленный на валу с возможностью вращения вокруг оси рабочий орган, с закрепленными на боковой поверхности его корпуса лопастями и имеющий неподвижную крышку, приемную емкость в виде цилиндрического поддона с окном в днище и кольцевым желобом, расположенным ниже лопастей и неподвижный нагреватель, новым является то, что рабочий орган выполнен составным из распылительного диска, опорного барабана, конусообразной и криволинейной направляющих вставок, причем вал рабочего органа в районе нагревательного элемента, выполненного в виде калорифера имеет прорези, соединенные криволинейными каналами с его внутренней полостью, которая имеет выход на торцевой поверхности распылительного диска в виде отверстий, выполненных по криволинейной траектории, а на торцевую поверхность распылительного диска и внутреннюю поверхность крышки нанесены покрытия из антиадгезионного материала, при этом над рабочим органом дополнительно установлен вертикально расположенный экструдер с периферийными выходными отверстиями, при этом траектория выполнения отверстий описывается в виде кривой уравнением:
f(r)=ar2+br+c,
где r – радиус диска, м; а, b, с – коэффициенты для условия наибольшей абсолютной скорости продукта при сходе с диска при заданных параметрах последнего.
Технический результат заключается в обеспечении возможности использования возвратных отходов леденцовой карамели путем исключения их подгорания во время пластификации и разогрева, а также равномерного дозирования принудительной подачей высоковязкого продукта в средство получения сахарных нитей для увеличения качества и снижения себестоимости готового продукта, а также для повышения надежности работы устройства для получения сахарной ваты.
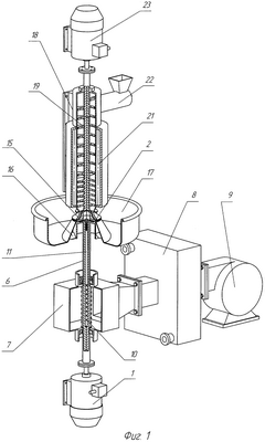
На фиг.1 представлена трехмерная модель общего вида установки для получения экструдированной сахарной ваты; на фиг.2 – трехмерная модель распылительного диска с направляющими вставками; на фиг.3 – трехмерная модель вала рабочего органа; на фиг.4 – схема осуществления способа в установке для получения экструдированной сахарной ваты; на фиг.5 – разрез по А-А,
Установка для получения экструдированной сахарной ваты (фиг.1) включает установленный с возможностью вращения от электродвигателя 1 вокруг своей оси рабочий орган, выполненный составным (фиг.1, 2) из распылительного диска 2, опорного барабана 3, конусообразной 4 и криволинейной 5 направляющих вставок.
Вал 6 рабочего органа (фиг.3) в районе камеры 7 нагревательного элемента, выполненного в виде калорифера 8 с вентилятором 9, имеет прорези, соединенные криволинейными каналами 10 с его внутренней полостью 11, которая имеет выход на торцевой поверхности 12 распылительного диска 2 в виде отверстий (круглых или щелевидных) 13, выполненных по криволинейной траектории 14 (фиг.2, 5).
Над рабочим органом установлена неподвижная крышка 15. Торцевая поверхность распылительного диска 2 и крышка 15 образуют конусное, уменьшающееся к периферии щелевое пространство. При этом на торцевую поверхность 12 распылительного диска 2 и внутреннюю поверхность крышки 15 нанесены покрытия из антиадгезионного материала, (например, фторопласта).
Траектория (фиг.2, 5) выполнения отверстий в общем виде может быть описана в виде кривой (Фролов Р.Н., Совершенствование процесса обрушивания семян подсолнечника с применением при подготовке инфракрасного облучения. Автореферат диссертации на соискание ученой степени кандидата технических наук, Краснодар, 2002, 19 с.) уравнением:
f(r)=ar2+br+с,
где r – радиус диска, м; а, b, с – коэффициенты для условия наибольшей абсолютной скорости продукта при сходе с диска при заданных параметрах последнего.
А так как траектория связана с коэффициентами трения о поверхности щелевого пространства и поэтому она, например, может быть описана в виде кривой (Поплавский А.Г., Бабенко Д.С., Филатова Е.А. Шнековая центрифуга. – Сборник научных трудов. «Модернизация существующего и разработка новых видов оборудования для пищевой промышленности». – Воронеж, 2004. Выпуск 14. – С.63-65), полученной аппроксимацией ломаной линии, описываемой уравнением:

где – угловая скорость вращения диска, рад/с; x, y – координаты продукта; f1, f2 – соответственно коэффициенты трения продукта о внутренние поверхности канала; g – ускорение свободного падения м/с2 (g=9,81 м/с2); 0 – угол наклона направления выхода продукта из экструдера относительно радиального направления, с учетом условия

где r0 – радиус вращения продукта, м.
На боковой поверхности опорного барабана 3 установлены лопасти 16 (фиг.3).
Установка имеет приемную емкость 17 в виде цилиндрического поддона с окном в днище для забора охлаждающего воздуха, направляемого лопастями 16, что обеспечивает упорядоченное отделение сахарной ваты от рабочего органа и ее укладку в приемной емкости. Благодаря такой конструкции приемной емкости процесс сбора ваты может осуществляться в автоматическом режиме.
По оси вращения рабочего органа над ним дополнительно установлен вертикально расположенный экструдер 18 с нагнетательным шнеком 19 и периферийными выходными отверстиями 20, а также нагревательные элементы 21 и шнековый питатель 22. Вращение нагнетательного шнека 19 экструдера 18 осуществляется от электродвигателя 23.
Способ получения экструдированной сахарной ваты осуществляется следующим образом.
Способ получения экструдированной сахарной ваты из сахаросодержащего полуфабриката, в качестве которого используют возвратные отходы леденцовой карамели включает подготовку путем пластификации их в экструдере 19 при температуре 120-130°С. Для этого включаются в электрическую сеть нагревательные элементы 21 экструдера 18 и одновременно приводится во вращение от электродвигателя 23 нагнетательный шнек 19, а также шнек питателя 22, посредством которых в зону пластификации экструдера подаются отходы леденцовой карамели, где за счет передачи теплоты от нагревательных элементов 21 и давления, создаваемого усилием нагнетательного шнека 19, происходит их быстрое плавление (фиг.4). При этом рабочему органу также сообщается вращательное движение с помощью электродвигателя 1. А расплавленный сахаросодержащий полуфабрикат под действием усилия нагнетательного шнека 19 и центробежных сил выталкивается через периферийные выходные отверстия 20 в кольцевой зазор между торцевой поверхностью распылительного диска 2 и крышкой 15, где осуществляется формирование нитей на воздушной подушке путем их поддува подогретым воздухом из отверстий 13, выполненных по криволинейной траектории 14. Воздух, обеспечивающий воздушную подушку над торцевой поверхностью 12 распылительного диска 2, сначала нагнетается вентилятором 9 в камеру 7, подогреваясь при этом предварительно в калорифере 8 до температуры 130-140°С, а затем захватывается прорезями вала 6 рабочего органа подается через криволинейные каналы 10 в его внутреннюю полость 11 и выходит на торцевой поверхности 12 распылительного диска 2 через отверстия 13.
Из щелевого пространства сахаросодержащий полуфабрикат и выходит из него в виде тонких нитей, которые дополнительно растягиваются и охлаждаются воздушным потоком, создаваемым лопастями 16.
Увлекаемая воздушным потоком вата оседает в приемной емкости 17, откуда она затем непрерывно удаляется.
Предложенный способ получения экструдированной сахарной ваты и установка для его осуществления имеет следующие преимущества:
– использование в качестве сахаросодержащего полуфабриката возвратных отходов леденцовой карамели позволяет повысить рентабельность карамельного производства;
– пластификация отходов леденцовой карамели в экструдере при температуре 120-130°С и дозирование через его периферийные выходные отверстия на вращающийся рабочий орган, где осуществляется формирование нитей на воздушной подушке путем поддува по криволинейной траектории подогретым воздухом, а также выполнение рабочего органа, составным из распылительного диска, опорного барабана, конусообразной и криволинейной направляющих вставок, у которого вал рабочего органа в районе нагревательного элемента, выполненного в виде калорифера имеет прорези, соединенные криволинейными каналами с его внутренней полостью, имеющая выход на торцевой поверхности распылительного диска в виде отверстий, выполненных по криволинейной траектории, и установка над рабочим органом вертикально расположенного экструдера с периферийными выходными отверстиями позволяет обеспечить возможность использования возвратных отходов леденцовой карамели путем исключения их подгорания во время пластификации и разогрева, а также равномерного дозирования принудительной подачей высоковязкого продукта в средство получения сахарных нитей для увеличения качества и снижения себестоимости готового продукта, и для повышения надежности работы устройства для получения сахарной ваты;
– нанесение на торцевую поверхность распылительного диска и внутреннюю поверхность крышки покрытия из антиадгезионного материала исключает прилипание к ним продукта;
– выполнение периферийных выходных отверстий экструдера увеличивает количество получаемых нитей, что повышает производительность установки;
– применение криволинейных поверхностей в установке и криволинейных траекторий движения воздуха и продукта позволяет снизить коэффициенты их трения по поверхности рабочего органа и каналам установки и тем самым уменьшить мощность привода рабочего органа.
Таким образом способ и установка позволяют обеспечить непрерывность технологического процесса, низкий удельный расход энергии, небольшие капитальные затраты, малые производственные площади, компактность и универсальность.
Формула изобретения
1. Способ получения экструдированной сахарной ваты, включающий подготовку сахаросодержащего полуфабриката, дозирование его на вращающийся рабочий орган, формирование в виде нити с последующим охлаждением, отличающийся тем, что в качестве сахаросодержащего полуфабриката берут возвратные отходы леденцовой карамели, пластифицируют их в экструдере при температуре 120-130°С и дозируют через его периферийные выходные отверстия на вращающийся рабочий орган, где осуществляется формирование нитей на воздушной подушке путем поддува по криволинейной траектории подогретым воздухом.
2. Установка для получения экструдированной сахарной ваты, включающая установленный на валу с возможностью вращения вокруг оси рабочий орган с закрепленными на боковой поверхности его корпуса лопастями и имеющий неподвижную крышку, приемную емкость в виде цилиндрического поддона с окном в днище и кольцевым желобом, расположенным ниже лопастей, и неподвижный электронагреватель, отличающаяся тем, что рабочий орган выполнен составным из распылительного диска, опорного барабана, конусообразной и криволинейной направляющих вставок, причем вал рабочего органа в районе нагревательного элемента, выполненного в виде калорифера, имеет прорези, соединенные криволинейными каналами с его внутренней полостью, которая имеет выход на торцевой поверхности распылительного диска в виде отверстий, выполненных по криволинейной траектории, а на торцевую поверхность распылительного диска и внутреннюю поверхность крышки нанесены покрытия из антиадгезионного материала, при этом над рабочим органом дополнительно установлен вертикально расположенный экструдер с периферийными выходными отверстиями, при этом траектория выполнения отверстий описывается в виде кривой уравнением
f(r)=ar2+br+c,
где r – радиус диска, м; а, b, с – коэффициенты для условия наибольшей абсолютной скорости продукта при сходе с диска при заданных параметрах последнего.
РИСУНКИ
MM4A – Досрочное прекращение действия патента СССР или патента Российской Федерации на изобретение из-за неуплаты в установленный срок пошлины за поддержание патента в силе
Дата прекращения действия патента: 06.12.2007
Извещение опубликовано: 27.07.2009 БИ: 21/2009
|
|