|
|
(21), (22) Заявка: 2006105163/13, 20.02.2006
(24) Дата начала отсчета срока действия патента:
20.02.2006
(46) Опубликовано: 27.06.2007
(56) Список документов, цитированных в отчете о поиске:
SU 355940 A1, 01.01.1972. ВАСИЛЬЦОВ Э.А. и др. Аппараты для перемешивания жидких сред. Справочное пособие. – Л.: Машиностроение. Ленинградское отд., 1979, с.48. SU 548434 A1, 28.02.1977.
Адрес для переписки:
302020, г.Орел, Наугорское ш., 29, ОрелГТУ
|
(72) Автор(ы):
Корячкин Владимир Петрович (RU), Земляков Николай Васильевич (RU), Масютин Юрий Михайлович (RU)
(73) Патентообладатель(и):
Государственное образовательное учреждение высшего профессионального образования “Орловский государственный технический университет” (ОрелГТУ) (RU)
|
(54) ЛЕНТОЧНАЯ МЕШАЛКА ДЛЯ ВЗБИВАНИЯ И СМЕШИВАНИЯ ЖИДКИХ И СЫПУЧИХ ПРОДУКТОВ
(57) Реферат:
Изобретение относится к кондитерской промышленности, а именно к устройствам машин, предназначенным для перемешивания дисперсий, как в системе жидкость-жидкость, либо жидкость-твердое тело, так и жидкость-газ, а более конкретно может быть использовано для взбивания фруктовых и молочных коктейлей, мороженого, многокомпонентных сыпучих смесей. Ленточная мешалка для взбивания и смешивания жидких и сыпучих продуктов выполнена из корпуса с расположенным внутри него валом со спицами, на которых укреплена ленточная рабочая лопасть в виде спирального витка, выполненного в форме «листа Мебиуса». Ленточная рабочая лопасть с одного из двух краев снабжена бортом, имеющим высоту от 10 до 50% от ширины ленты, установленным под прямым или тупым углом по отношению к поверхности ленты. Тупой угол может быть выполнен от 91°1′ до 179°. Изобретение позволяет интенсифицировать процесс во всех направлениях и исключить появление застойных зон. 1 з.п. ф-лы, 1 ил.
Изобретение относится к кондитерской промышленности, а именно к устройствам машин, предназначенным для перемешивания дисперсий, как в системе жидкость-жидкость, либо, жидкость-твердое тело, так и жидкость-газ, а более конкретно может быть использовано для взбивания фруктовых и молочных коктейлей, мороженого, многокомпонентных сыпучих смесей.
Известна мешалка [1], выполненная из корпуса с вертикальной осью симметрии, в котором вдоль оси размещен рабочий орган, выполненный в виде вала, к которому прикреплены по высоте спицы, а к концам спиц прикреплены в двухзаходном исполнении две плоские винтовые металлические ленты. Такая ленточная мешалка используется для повышения интенсификации процесса теплоотдачи между перемешиваемыми компонентами, так как в ней обеспечивается перемещение компонентов как вокруг оси, так и в вертикальном направлении.
Недостатком такой мешалки является то, что ее рабочий орган использует две плоские многошаговые винтовые ленты и является, таким образом, достаточно металлоемким и дорогостоящим изделием.
Известна мешалка [2], выполненная из корпуса с вертикальной осью симметрии, в котором вдоль оси размещен рабочий орган, выполненный в виде вала, к которому прикреплена профильная лента, соответствующая по форме внутренней поверхности корпуса мешалки. Такая мешалка перемещает смешиваемые компоненты только по кругу, вокруг оси.
Недостатком мешалки-аналога [2] является то, что она слабо интенсифицирует процесс перемешивания в вертикальном направлении, вдоль оси.
Наиболее близким известным техническим решением, принятым в качестве прототипа, является устройство для взбивания (смешивания) жидких сыпучих продуктов [3]. Эта мешалка выполнена из корпуса с расположенным внутри него валом со спицами, на которых укреплена рабочая лопасть в виде спирального витка в форме «листа Мебиуса». Такая мешалка обладает низкой металлоемкостью, обеспечивает смещение перемешиваемых компонентов как вдоль оси, так в радиальном направлении.
Недостатком прототипа является то, что такая мешалка обеспечивает слабое смещение перемешиваемых компонентов ввиду того, что во время, особенного быстрого вращения рабочего органа – спирального витка в форме «листа Мебиуса», масса, контактирующая с поверхностью ленты такого витка, очень быстро с нее сбрасывается за счет силового воздействия центробежной силы, что снижает перенос компонентов перемешиваемой массы в самые отдаленные ее сектора, создавая там застойные зоны.
Задача, на решение которой направлено изобретение, состоит в повышении силового смещения перемешиваемых компонентов во всех направлениях, исключении застойных зон и повышении интенсификации процесса перемешивания.
Поставленная задача решается тем, что ленточная мешалка для взбивания и смешивания жидких и сыпучих продуктов, выполненная из корпуса с расположенным внутри него валом со спицами, на которых укреплена ленточная рабочая лопасть в виде спирального витка, выполненного в форме «листа Мебиуса», при этом ленточная рабочая лопасть с одного из двух краев снабжена бортом, имеющим высоту h от 10 до 50% от ширины ленты, установленным под прямым или тупым углом по отношению к поверхности ленты. Тупой угол может быть выполнен от 91°1′ до 179°.
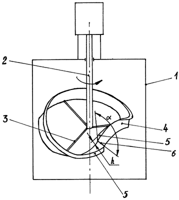
Сущность изобретения поясняется чертежом, где схематически изображен чертеж предлагаемого устройства.
Ленточная мешалка выполнена из корпуса 1, имеющего вертикальную ось. Вдоль оси размещен вал 2 со спицами 3, на которых укреплена ленточная рабочая лопасть 4, выполненная в виде спирального витка в форме «листа Мебиуса». Лопасть 4 с одного края имеет борт 5, установленный относительно одной из поверхностей лопасти 4 под углом и имеющий относительно этой же поверхности лопасти 4 высоту h. В линии жесткого стыка 6 двух концов ленты 4 борт 5 расположен на другом из двух концов ленты 4.
Устройство работает следующим образом.
После включения привода начинает вращаться вал 2, который через спицы 3 передает вращающий момент ленточной рабочей лопасти 4, выполненной в форме «листа Мебиуса». Рабочая лопасть 4 в форме «листа Мебиуса» начинает вращаться вокруг оси и этим самым начинает взбивать (перемешивать), например, жидкий продукт, состоящий из компонентов разной плотности. За счет того что рабочая лопасть 4 выполнена в форме «листа Мебиуса», вектор силового воздействия поверхности лопасти 4 и борта 5 на продукт в каждой точке соприкосновения изменяет свое направление от 0 до 360° за каждый оборот вала 2. Во время контактирования поверхности ленты 4 с продуктом, при ее вращении вокруг оси, возникает центробежная сила, которая стремится сбросить массу с поверхности ленты 4 (это наиболее проявляется, если продукт состоит из твердого и жидкого компонентов), но наличие борта 5 снижает это сбрасывание и позволяет переносить массу на поверхности ленты 4, то есть в углу между поверхностью ленты 4 и бортом 5 в другие сектора объема емкости 1, исключая возможность появления застойных зон. Все это позволяет интенсивно перемещаться продукту по кругу, вокруг оси, от оси, к оси, вдоль оси вверх и вдоль оси вниз, что в целом приводит к интенсификации процесса смешивания.
Интенсификация процесса, то есть время, за которое многокомпонентный продукт приобретает требуемые качества, зависит от многих факторов, в том числе и от величины угла между плоскостью ленты 4 и бортом 5, а также и его высоты h. Для различных продуктов, для различных качеств продуктов эти параметры индивидуальны и определяются своим «ноу хау».
Полезность данного изобретения заключается в том, что такая ленточная мешалка позволяет интенсифицировать процесс во всех направлениях и исключить появление застойных зон.
Источники информации
1. Э.А.Васильцов, В.Г.Ушаков. Аппараты для перемешивания жидких сред. Справочное пособие. – Л.: Машиностроение, Ленингр. отд-ние, 1979. – 272 с., стр.48. Ленточная мешалка.
2. Э.А.Васильцов, В.Г.Ушаков. Аппараты для перемешивания жидких сред. Справочное пособие. – Л.: Машиностроение, Ленингр. отд-ние, 1979. – 272 с., стр.48. Якорная мешалка.
3. Авторское свидетельство СССР №355940. Устройство для взбивания (смешения) жидких и сыпучих продуктов.
Формула изобретения
1. Ленточная мешалка для взбивания и смешивания жидких и сыпучих продуктов, выполненная из корпуса с расположенным внутри него валом со спицами, на которых укреплена ленточная рабочая лопасть в виде спирального витка, выполненного в форме «листа Мебиуса», отличающаяся тем, что ленточная рабочая лопасть с одного из двух краев снабжена бортом, имеющим высоту h от 10 до 50% от ширины ленты, установленным под прямым или тупым углом по отношению к поверхности ленты.
2. Ленточная мешалка по п.1, отличающаяся тем, что тупой угол может быть выполнен от 91°1′ до 179°.
РИСУНКИ
MM4A – Досрочное прекращение действия патента СССР или патента Российской Федерации на изобретение из-за неуплаты в установленный срок пошлины за поддержание патента в силе
Дата прекращения действия патента: 21.02.2008
Извещение опубликовано: 10.11.2009 БИ: 31/2009
|
|