|
(21), (22) Заявка: 2004127839/13, 20.09.2004
(24) Дата начала отсчета срока действия патента:
20.09.2004
(43) Дата публикации заявки: 20.02.2006
(46) Опубликовано: 27.06.2007
(56) Список документов, цитированных в отчете о поиске:
SU 1286140 А, 30.01.1987. SU 1614777 А, 23.12.1990. SU 856417 A, 25.08.1981.
Адрес для переписки:
04123, г. Киев, ул. Краснопольская, 15, кв.60, Г.П.Сарояну
|
(72) Автор(ы):
Сароян Гагик Петросович (UA), Сароян Марине Максимовна (UA), Оганесян Гагик Вардкесович (RU)
(73) Патентообладатель(и):
Сароян Гагик Петросович (UA), Сароян Марине Максимовна (UA), Оганесян Гагик Вардкесович (RU)
|
(54) УСТРОЙСТВО ДЛЯ ВЫПЕЧКИ НАЦИОНАЛЬНЫХ ИЗДЕЛИЙ ИЗ ТЕСТА
(57) Реферат:
Изобретение относится к оборудованию хлебопекарной промышленности, а именно к устройствам для выпечки национальных изделий из теста, например лаваша, хачапури, лагманджу, блинов, пиццы, пахлавы и т.д. Устройство для выпечки содержит металлический под с электронагревательными элементами, над поверхностью которого установлена с возможностью регулирования в вертикальной плоскости подвижная каретка с регулируемыми электронагревательными элементами. Кроме того, металлический под имеет автоматические устройства для контроля режимов выпечки, которые дополнительно управляют электронагревательными элементами всего устройства, при этом под может быть выполнен в виде прямоугольника, квадрата, составного круга и/или кругового сектора. Изобретение позволяет упростить конструкцию устройства и расширить его технологические возможности. 2 з.п. ф-лы, 6 ил.
Изобретение относится к оборудованию хлебопекарной промышленности, а именно к устройствам для выпечки хлебобулочных изделий национальных сортов, например лаваша, хачапури, лагманджу, блинов, пиццы, пахлавы и т.д.
Известно устройство для выпечки хлеба национальных сортов, содержащее прямоугольную камеру, внутри которой установлен под, внутренние и внешние нагреватели (см. А.С. СССР №1614777 от 23.12.90 г., МПК А21В 5/00). Причем рабочая поверхность пода имеет вогнутую форму, и вся конструкция устройства имитирует национальную печь – тандыр, для выпечки хлебных лепешек – национального продукта народов Средней Азии.
Такое устройство может быть использовано только для выпечки национального хлеба народов Средней Азии – лепешек.
Известна также печь для выпечки тонкого армянского лаваша, содержащая под в виде бесконечной замкнутой ленты, которая охватывает часть стального полого барабана, расположенного внутри пекарной камеры (см. А.С. СССР №1286140 от 30.01.87 г., МПК А21В 5/00). При этом внутри барабана размещены электронагреватели в главных фокусах эллиптических отражателей, а для равномерного обогрева лаваша установлены над подом высокотемпературные излучатели, расположенные перпендикулярно образующим барабана. Причем производительность данной печи определяется скоростью вращения стального барабана и количеством установленных излучателей.
Недостатками конструкции такой печи являются, во-первых, ограниченные технологические возможности при выпечке других видов национальных хлебобулочных изделий и уменьшение полезной площади выпечки, связанное с использованием поверхности барабана, во-вторых, снижение надежности работы печи, вследствие использования лентопротяжного механизма, привода, барабана, которые являются промежуточными механическими элементами, имеющими определенный ресурс работоспособности.
В основу изобретения поставлена задача расширить технологические возможности устройства для выпечки различных видов национальных изделий из теста и обеспечить эксплуатационную эффективность путем установки над поверхностью металлического пода, по меньшей мере, одной подвижной каретки с возможностью перемещения параллельно поверхности пода и изменения своего положения по вертикали относительно этой поверхности. Причем размещенные над поверхностью пода электронагревательные элементы установлены на каретке и выполнены с возможностью поочередного или через один включения и выключения датчиком контроля температуры, а металлический под устройства может быть выполнен в форме прямоугольника, квадрата, составного круга или кругового сектора. При этом в качестве источников нагрева применяют газ, твердые виды топлива и/или электричество.
Единая совокупность новых существенных признаков с общеизвестными существенными признаками позволяет решить поставленную задачу и находится в причинно-следственной связи с новым техническим результатом, который должен быть достигнут полезной моделью.
Заявленное устройство для выпечки поясняется чертежами, где:
на фиг.1 изображен общий вид устройства, вид спереди;
на фиг.2 – общий вид устройства, вид в плане (выполнение пода устройства в форме прямоугольника);
на фиг.3 – общий вид устройства, вид спереди;
на фиг.4 – вид устройства в плане (выполнение под устройства в форме составного круга с расположением на нем различных видов хлебобулочных изделий);
на фиг.5 – общий вид устройства, вид спереди (выполнение подвижной каретки без взаимодействия с подом);
на фиг.6 – вид устройства в плане по фиг.5.
Предлагаемое устройство может быть выполнено в различных примерах его реализации.
Пример выполнения 1 (фиг.1, фиг.2)
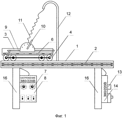
Устройство для выпечки содержит металлический под 1, под которым установлены электронагреватели 2. Под может быть выполнен как прямоугольным, так и квадратным. Над поверхностью металлического пода 1 установлена подвижная каретка 3, которая может перемещаться посредством подшипников качения 4 по направляющим 5, закрепленным по краям пода 1. На подвижной каретке 3 установлены изолированные электронагреватели 6 по всему ее периметру, которые могут поочередно или через один включаться и выключаться датчиком контроля температуры 7, установленным на пульте управления 8. Датчик контроля температуры 7 соединен с реле времени для контроля режима выпечки при заданной температуре.
При этом подвижная каретка 3 снабжена механизмом 9 для подъема-опускания ее в вертикальной плоскости, который имеет регулятор 10 для выстановки зазора между поверхностью пода 1 и подвижной каретки 3.
Электропитание к электронагревателям 6 подвижной каретки 3 подается при помощи проводников, помещенных в жесткую защитную пружинную оболочку 11 от направляющей стойки 12, которая расположена по центру пода 1.
Как электронагреватели 6 подвижной каретки 3, так и электронагреватели 2 пода 1 имеют возможность регулироваться датчиком контроля температуры 13, установленным на пульте управления 14.
Под 1, на поверхности которого могут выпекаться один из видов национальных хлебобулочных изделий 15, установлен на опорах 16, на которых закреплены пульты управления 8 и 14.
Пример выполнения 2 (фиг.3, фиг.4)
Устройство для выпечки по этому варианту выполнения содержит металлический под 1, составленный из самостоятельных круговых секторов, под поверхностью которых установлены электронагреватели 2. Над поверхностью металлического пода 1 каждого кругового сектора установлена подвижная каретка 3, которая имеет возможность передвижения посредством подшипников качения 4 по криволинейным направляющим 5, закрепленным по краям пода 1. На подвижной каретке 3 установлены изолированные электронагреватели 6 по всему ее периметру, которые могут поочередно или через один включаться и выключаться датчиком контроля температуры 7, установленным на пульте управления 8. Датчик контроля температуры 7 соединен с реле времени для контроля режима выпечки при заданной температуре. При этом каждая подвижная каретка 3 снабжена механизмом 9 для подъема-опускания ее в вертикальной плоскости, который имеет регулятор 10 для выстановки зазора между поверхностью пода 1 и подвижной каретки 3.
Электропитание к электронагревателям 6 каждой подвижной каретки 3 подается при помощи проводников, помещенных в жесткую защитную пружинную оболочку 11 от направляющей стойки 12, которая расположена в центре составного круга.
Как электронагреватели 6 каждой подвижной каретки 3, так и электронагреватели 2 составного пода 1 имеют возможность регулироваться датчиками контроля температуры 13, установленными на пультах управления 14.
Составной под 1, на поверхности которого могут выпекать один из видов национальных хлебобулочных изделий 15, установлен на опорах 16 с закрепленными на них пультами управления 14.
Пример выполнения 3 (фиг.5, фиг.6)
Данный вариант выполнения устройства характеризуется тем, что подвижные каретки 3 установлены на направляющей стойке 12 при помощи кронштейнов 17 без взаимодействия с металлическим подом 1. При этом подвижные каретки 3 имеют возможность регулирования в вертикальной плоскости при помощи направляющих (на чертеже не показаны), установленных на кронштейнах 17. Для фиксации положения подвижных кареток 3 относительно пода используют фиксирующие винты 18.
Все остальные конструктивные элементы и узлы устройства по данному варианту аналогично выполнены и совпадают по конструктивным и функциональным свойствам таких же элементов и узлов, какие представлены в примере выполнения 2.
Устройство для выпечки работает следующим образом.
Пример выполнения 1 (фиг.1, фиг.2)
Тестовую заготовку 15, например армянский лаваш, кладут на поверхность пода 1, разогретого электронагревателями 2 до заданной температуры для этого изделия, которую регулирует датчик 13 с реле времени. В это же время передвигают по направляющим 5 подвижную каретку 3 и устанавливают над лавашем. При этом выставляют необходимый зазор регулятором 10 и устанавливают температуру, заданную датчиком 7, электронагревателям 6. Реле времени датчика 7 срабатывает немного раньше установленного времени выпечки лаваша и своим звуковым сигналом оповещает пекаря о том, что на свободную часть пода 1 необходимо укладывать вторую тестовую заготовку.
После этого, как уложили новую тестовую заготовку, перемещают подвижную каретку 3 и устанавливают над заготовкой без изменения температурных режимов.
Готовый армянский лаваш снимают с поверхности пода 1 и на его место кладут новую тестовую заготовку лаваша, над которой по завершении одного цикла выпечки обратно устанавливают подвижную каретку 3 для проведения следующего цикла выпечки.
В таком цикличном режиме выпечки изделий и осуществляется работа устройства до выпекания необходимого количества лаваша.
Пример выполнения 2 (фиг.3, фиг.4)
В этом примере выполнения устройства для выпечки, металлический под 1 выполнен составным из круговых секторов, над поверхностью которых установлены подвижные каретки 3. Каждый круговой сектор имеет независимое электропитание и индивидуальный пульт управления 14, которые обеспечивают в комплексе с механической частью каждого кругового сектора независимый технологический цикл выпекания различных изделий. Это позволяет одновременно выпекать несколько видов национальных хлебобулочных изделий, например лаваш, хачапури и пиццу, для которых необходимы различные температурные режимы выпечки.
Работа каждого кругового сектора составного пода 1 аналогична работе устройства, описанного в первом примере выполнения.
Пример выполнения 3 (фиг.5, фиг.6)
В этом примере выполнения устройства выпекают национальные изделия из теста таким же способом, как и во 2-ом примере, описанном выше. Только круговое перемещение кареток 3 обеспечивают за счет их установки посредством кронштейнов 17, обеспечивающих независимое перемещение, на направляющей стойке 12, а выстановка необходимого зазора между подом 1 и каждой подвижной кареткой 3 для различных национальных изделий из теста происходит за счет подъема или опускания подвижной каретки 3 по направляющим (не показаны), установленным на кронштейнах 17, с последующей фиксацией винтами 18 в выбранном положении каретки 3.
В зависимости от условий и места эксплуатации устройства в нем предусмотрено использование электропитания как на 220 В, так и на 380 В.
Это позволяет, в сочетании с простой и универсальной конструкцией, делать устройство для выпечки мобильным и использовать его как на крупных хлебопекарных предприятиях, так и в минипекарнях небольших населенных пунктов, магазинах, ресторанах и т.д.
Таким образом, такие исполнения устройства для выпечки позволяют расширить его технологические возможности и повысить эксплуатационную эффективность за счет универсальности и мобильности его конструкции.
Формула изобретения
1. Устройство для выпечки национальных изделий из теста, содержащее под и размещенные внутри пода и над его поверхностью электронагревательные элементы, отличающееся тем, что оно оснащено, по меньшей мере, одной кареткой, установленной над поверхностью пода с возможностью перемещения параллельно поверхности пода и изменения ее положения по вертикали относительно этой поверхности, а размещенные над поверхностью пода электронагревательные элементы установлены на каретке и выполнены с возможностью поочередного или через один включения и выключения датчиком контроля температуры.
2. Устройство по п.1, отличающееся тем, что под выполнен в форме прямоугольника, квадрата, составного круга или сектора.
3. Устройство по п.1, отличающееся тем, что оно снабжено автоматическими устройствами контроля режимов выпечки.
РИСУНКИ
MM4A – Досрочное прекращение действия патента СССР или патента Российской Федерации на изобретение из-за неуплаты в установленный срок пошлины за поддержание патента в силе
Дата прекращения действия патента: 21.09.2008
Извещение опубликовано: 27.07.2010 БИ: 21/2010
|