|
|
(21), (22) Заявка: 2003131113/12, 22.10.2003
(24) Дата начала отсчета срока действия патента:
22.10.2003
(43) Дата публикации заявки: 10.08.2005
(46) Опубликовано: 27.06.2007
(56) Список документов, цитированных в отчете о поиске:
SU 1250201 A1, 15.08.1986. SU 1042652 A, 23.09.1983. SU 1052190 А, 07.11.1983. SU 888849 А, 15.12.1981. SU 649357 А, 28.02.1979.
Адрес для переписки:
170001, г.Тверь, ул. Учительская, 54, ОАО “Тверьтехоснастка “
|
(72) Автор(ы):
Сизов Валентин Иванович (RU), Черников Виктор Григорьевич (RU), Цебусов Василий Дмитриевич (RU), Емельянов Александр Павлович (RU), Маркелов Виктор Федорович (RU), Кившар Владимир Яковлевич (RU), Скоробогаткин Александр Александрович (RU), Сизов Иван Валентинович (RU), Козлов Сергей Павлович (RU), Смирнов Александр Васильевич (RU), Ларионова Вера Дмитриевна (RU)
(73) Патентообладатель(и):
Открытое акционерное общество Тверской завод технологической оснастки им. 1 Мая (ОАО “Тверьтехоснастка”) (RU), Государственное научное учреждение Всероссийский научно-исследовательский, проектно-технологический институт механизации льноводства (ГНУ ВНИПТИМЛ) (RU)
|
(54) САМОХОДНЫЙ ЛЬНОУБОРОЧНЫЙ АГРЕГАТ
(57) Реферат:
Агрегат содержит самоходную раму с передними и задними колесами, кабиной в передней ее части и силовым модулем и размещенные внутри рамы с возможностью их демонтажа теребильный аппарат, включающий выводящее устройство с выходным шкивом и горизонтальную ось подвеса, либо подбирающее устройство, очесывающий аппарат с зажимным транспортером, расстилочно-оборачивающий транспортер, пневмотранспортер и бункер для вороха. Силовой модуль установлен внутри рамы между задними колесами, а теребильный аппарат – с возможностью поворота его вокруг вертикальной оси, проходящей через точку пересечения продольной оси агрегата с горизонтальной осью подвеса теребильного аппарата. Горизонтальная ось подвеса теребильного аппарата установлена соосно выходному шкиву выводящего устройства. Обеспечивается качественное выполнение технологического процесса уборки льна челночным способом. 2 з.п. ф-лы, 5 ил.
Изобретение относится к сельскохозяйственному машиностроению, в частности к машинам для уборки льна.
Известны прицепные льнокомбайны с теребильными аппаратами, за которыми установлены поперечные транспортеры с зажимными транспортерами и очесывающими барабанами (А.с. СССР №165022, кл. A01D 45/06, 1962; А.с. СССР №1187742, кл. A01D 45/06, 1983; А.с. СССР №1181584, кл. A01D 45/06, 1983). В таких комбайнах теребильные аппараты установлены сбоку трактора, поэтому они имеют значительную ширину. Это снижает их маневренность и требует для их работы деления поля на загоны, организации проходов и поворотных полос, с которых необходимо предварительно вытеребить и убрать лен, либо заранее (при посеве льна) засеять их кормовыми культурами, которые скашивают перед уборкой на зеленый корм.
Известны самоходные льноуборочные двухпоточные комбайны (А.с. СССР №249821, кл. A01D 45/06, 1965; А.с. СССР №649357, кл. A01D 45/06, 1973; А.с. СССР №1005708, кл. A01D 45/06, 1978), содержащие уборочные органы с поперечными транспортерами, зажимные транспортеры и очесывающие барабаны.
Данные льноуборочные комбайны работают по наиболее прогрессивной технологии уборки льна – челночным способом и не требуют для своей работы предварительного освобождения поля от льна для первого прохода. Недостатком таких комбайнов является их громоздкость, поскольку они являются двухпоточными машинами, а следовательно, и низкая их маневренность, не позволяющая качественно выполнять технологический процесс уборки льна.
Известен льноуборочный агрегат (А.с. СССР №1250201, кл. 4 A01D 45/06, 1984, прототип), содержащий самоходную, опирающуюся на передние (ведущие) и задние (ведомые) колеса раму с установленными на ней силовым блоком, теребильным аппаратом либо подбирающим устройством, очесывающим аппаратом с зажимным транспортером, расстилочно-оборачивающим транспортером, пневмотранспортером и бункером вороха, причем все рабочие органы установлены на раме с возможностью их демонтажа.
Данный льноуборочный агрегат является фронтальной однопоточной машиной, довольно компактной, при работе не требующей предварительного освобождения поля от льна для первого прохода
Недостатком данного агрегата являются следующие факторы: ввиду того, что силовой блок установлен на раме над передними колесами, при малой колее и высоко расположенном центре тяжести агрегата его поперечная устойчивость от опрокидывания недостаточна при выполнении технологического процесса уборки льна челночным способом, предполагающим крутые повороты, а следовательно, недостаточна и его маневренность. К тому же, управляемые колеса находятся сзади, что затрудняет управление агрегатом.
Кроме того, для обеспечения маневренности агрегата ширина его прохода не намного превышает ширину захвата теребильного аппарата (малая колея), в результате чего на крутых поворотах и при уборке длинностебельного льна происходит замин вытеребленной ленты льна колесами агрегата.
Задача, решаемая предлагаемым изобретением, заключается в создании маневренного многофункционального самоходного агрегата, качественно выполняющего технологический процесс уборки льна челночным способом.
Поставленная в изобретении задача решена путем установки внутри рамы между задними колесами силового модуля в самоходном льноуборочном агрегате, содержащем самоходную раму с передними и задними колесами, кабиной в передней ее части и силовым модулем и размещенные внутри рамы с возможностью их демонтажа теребильный аппарат, включающий выводящее устройство с выходным шкивом и горизонтальную ось подвеса, либо подбирающее устройство, очесывающий аппарат с зажимным транспортером, расстилочно-оборачивающий транспортер, пневмотранспортер и бункер для вороха, кроме того, теребильный аппарат установлен внутри рамы агрегата с возможностью поворота его вокруг вертикальной оси, проходящей через точку пересечения продольной оси агрегата с горизонтальной осью подвеса теребильного аппарата, причем горизонтальная ось подвеса теребильного аппарата установлена соосно выходному шкиву выводящего устройства, и снабжен копирующим колесом, установленным на его раме. Кабина агрегата снабжена средствами контроля за рабочим процессом. Агрегат дополнительно снабжен самосвальным кузовом либо полуприцепом с возможностью установки каждого из них на самоходную раму после демонтажа всех рабочих органов.
Установка силового модуля внутри рамы между задними колесами позволяет повысить устойчивость агрегата с малой колеей от поперечного опрокидывания (за счет того, что центр тяжести агрегата находится низко), а значит, и повысить его маневренность.
Ведущие задние колеса повышают маневренность агрегата и облегчают управление им.
Кроме того, силовой модуль, занимая положение внутри рамы между задними колесами, является хорошим противовесом, необходимым при демонтаже всех рабочих органов агрегата для установки самосвального кузова либо полуприцепа на самоходную раму и предохраняющим самоходное шасси, в которое превращается агрегат при съеме с него всех рабочих органов, от опрокидывания.
Установка теребильного аппарата внутри рамы не только на горизонтальную ось подвеса, но и с возможностью его поворота в небольших пределах вокруг вертикальной оси, проходящей через точку пересечения продольной оси агрегата с горизонтальной осью подвеса теребильного аппарата, способствует качественному выполнению технологического процесса уборки льна челночным способом путем смещения теребильного аппарата в сторону невытеребленного льна, чтобы избежать замина ленты вытеребленного льна колесами шасси, особенно на крутых поворотах и в случае уборки длинностебельного льна.
Способность теребильного аппарата изменять свое положение относительно продольно-вертикальной плоскости агрегата не требует широкой колеи. Она должна быть лишь не намного больше захвата теребильного аппарата, что, в свою очередь, тоже повышает маневренность агрегата, являющуюся необходимым условием выполнения технологического процесса уборки льна челночным способом. Копирующее колесо, которым снабжен теребильный аппарат, контактируя с почвой, позволяет копировать ее поверхность, опуская делители льнотеребилки на нужную высоту, тем самым повышая качество теребления, а значит, и качество выполнения технологического процесса уборки льна в целом.
Средства управления и контроля, которыми снабжена кабина водителя агрегата, позволяют управлять технологическим процессом уборки льна, повышая качество работы.
Изобретение иллюстрируется чертежами.
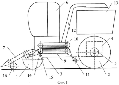
На фиг.1 изображена схема самоходного льноуборочного агрегата с теребильным аппаратом, вид сбоку; на фиг.2 – то же, вид сверху; на фиг 3 – схема самоходного льноуборочного агрегата с подбирающим устройством, вид сбоку; на фиг.4 – самоходное шасси с самосвальным кузовом; на фиг.5 – самоходное шасси с полуприцепом.
Самоходный льноуборочный агрегат содержит самоходную, опирающуюся на передние (ведомые) 1 и задние (ведущие) 2 колеса раму 3, на которой установлены внутри ее между задними колесами 2 силовой модуль 4 (двигатель с гидростанцией) с гидроприводом 5 на ведущие колеса 2 и кабина 6 в передней ее части с органами управления и средствами контроля за рабочим процессом.
Внутри рамы 3 размещены с возможностью их демонтажа теребильный аппарат 7 либо подбирающее устройство 8, зажимной транспортер 9, очесывающее (молотильное) устройство 10, расстилочно-оборачивающий транспортер 11, пневмотранспортер 12 и бункер для вороха 13.
Теребильный аппарат 7 представляет собой фронтальную прямоточную льнотеребилку, которая имеет горизонтальную 14 и вертикальную 15 оси подвеса и снабжена копирующим колесом 16. Горизонтальная ось подвеса 14 установлена соосно выходному шкиву 17 выводящего устройства теребильного аппарата, вертикальная ось 15 проходит через точку пересечения продольной оси агрегата с горизонтальной осью подвеса 14 теребильного аппарата. Таким образом, льнотеребилка изменяет угол наклона относительно поперечно-вертикальной плоскости агрегата (рабочее и нерабочее положение) путем поворота ее вокруг оси 14 и имеет возможность поворота на некоторый угол вокруг оси 15 с тем, чтобы избежать замина ленты вытеребленного льна колесами 1 и 2 агрегата.
Подбирающее устройство 8 образовано двумя контактирующими транспортерами, нижний из которых включает барабан с убирающимися пальцами, шкив, установленный соосно нижнему шкиву зажимного транспортера 9, и охватывающий их ремень, а верхний (прижимной) представляет собой охватываемые ремнем два шкива.
Очесывающее (молотильное) устройство 10 представляет собой вальцы (роторы) с планками, либо очесывающий барабан с гребнями, либо бильный барабан.
Расстилочно-оборачивающий транспортер 11 представляет собой ремень с колками или пальцами, отогнутыми назад.
Кроме того, агрегат снабжен самосвальным кузовом 18 либо полуприцепом 19 с возможностью установки его на самоходной раме 3, предварительно сняв с нее все рабочие органы: теребильный аппарат 7 (или подбирающее устройство 8), зажимной транспортер 9, очесывающее устройство 10, расстилочно-оборачивающий транспортер 11, пневмотранспортер 12 и бункер для вороха 13. При этом силовой модуль 4 служит противовесом, предотвращающим опрокидывание самоходного шасси.
Органы управления, находящиеся в кабине 6 водителя агрегата включают в себя рычаги и педали управления самоходной рамой, гидроусилитель руля, гидрораспределители включения рабочих органов, сигнализацию при перегрузке основных рабочих органов, возможность их реверса при забивках.
Работа самоходного льноуборочного агрегата производится по двум технологиям.
Комбайновая технология уборки льна
В начале уборки на самоходное шасси навешивают льнотеребилку 7 на горизонтальную ось 14 агрегата таким образом, что с помощью копирующего колеса 16 она может копировать рельеф поля, а также другие рабочие органы: очесывающее устройство 10, зажимной транспортер 9, пневмотранспортер 12, расстилочно-оборачивающий транспортер 11 и бункер для вороха 13.
Агрегат работает в режиме самоходного фронтального однопоточного льнокомбайна. Во время движения агрегата по полю льнотеребилка 7, опираясь на копирующее колесо 16, вытеребливает стебли льна. Так как ширина прохода агрегата небольшая (имеет малую колею) и не намного превышает ширину захвата льнотеребилки, то теребление начинают от края поля и работают челночным способом с петлеобразным разворотом в конце гона. Льнотеребилку 7 смещают на необходимую величину в ту или другую сторону путем поворота на некоторый угол вокруг вертикальной оси 15, проходящей через продольную ось агрегата в точке пересечения ее с горизонтальной осью 14.
Вытеребленные стебли льна выводящим устройством передаются на зажимной транспортер 9, далее очесывающее (молотильное) устройство 10 отделяет от них семенные коробочки, после чего стебли льносоломы при помощи расстилочно-оборачивающего транспортера 11 расстилаются на землю в виде непрерывной ленты для дальнейшей вылежки в тресту. Ворох, полученный при очесе, поступает при помощи пневмотранспортера 12 в бункер 13, из которого его выгружают в прицеп или другое транспортное средство и отвозят на пункт сушки и переработки с целью выделения семян.
Раздельная технология уборки льна может быть применена в южных зонах страны или с учетом климатических условий в средних и северных районах (жаркое сухое лето). При этом на шасси вначале навешивают рабочие органы льнокомбайна, но при работе отключают очесывающее (молотильное) устройство 10 и пневмотранспортер 12 вороха, т.е. вытеребленный лен в необмолоченном виде расстилают в ленту на поле для естественной сушки и дозревания семенных коробочек.
После окончания теребления вместо льнотеребилки 7 на горизонтальную ось 14 рамы 3 навешивают подбирающее устройство 8, включают очесывающее устройство 10 и пневмотранспортер вороха 12, и агрегат используют уже в качестве подборщика-молотилки. При этом обмолоченную солому вновь расстилают на поле для вылежки в тресту, а ворох отвозят на пункт сушки и переработки для выделения семян.
При необходимости агрегат можно использовать как только оборачиватель, отключив все рабочие органы, кроме подбирающего устройства 8, зажимного 9 и расстилочно-оборачивающего 11 транспортеров.
После завершения уборки льна с агрегата снимают все льноуборочные рабочие органы и на самоходную раму 3 устанавливают самосвальный кузов 18 либо полуприцеп 19. Полученное таким образом самоходное шасси может быть использовано при перевозке, например, рулонов льнотресты 20 и других грузов в течение всего года.
Применение самоходного льноуборочного агрегата позволит благодаря совмещению операций обеспечить выполнение всех полевых работ по уборке льна. Предлагаемый льноуборочный агрегат экономически целесообразен за счет его универсальности и увеличения годовой нагрузки.
Формула изобретения
1. Самоходный льноуборочный агрегат, содержащий самоходную раму с передними и задними колесами, кабиной в передней ее части и силовым модулем и размещенные внутри рамы с возможностью их демонтажа теребильный аппарат, включающий выводящее устройство с выходным шкивом и горизонтальную ось подвеса, либо подбирающее устройство, очесывающий аппарат с зажимным транспортером, расстилочно-оборачивающий транспортер, пневмотранспортер и бункер для вороха, отличающийся тем, что силовой модуль установлен внутри рамы между задними колесами, а теребильный аппарат – с возможностью поворота его вокруг вертикальной оси, проходящей через точку пересечения продольной оси агрегата с горизонтальной осью подвеса теребильного аппарата, причем горизонтальная ось подвеса теребильного аппарата установлена соосно выходному шкиву выводящего устройства.
2. Агрегат по п.1, отличающийся тем, что теребильный аппарат снабжен копирующим колесом, установленным на его раме.
3. Агрегат по п.1, отличающийся тем, что кабина снабжена средствами контроля за рабочим процессом.
РИСУНКИ
MM4A – Досрочное прекращение действия патента СССР или патента Российской Федерации на изобретение из-за неуплаты в установленный срок пошлины за поддержание патента в силе
Дата прекращения действия патента: 23.10.2007
Извещение опубликовано: 27.06.2009 БИ: 18/2009
|
|