|
|
(21), (22) Заявка: 2005137753/13, 05.12.2005
(24) Дата начала отсчета срока действия патента:
05.12.2005
(46) Опубликовано: 27.06.2007
(56) Список документов, цитированных в отчете о поиске:
RU 2224400 С1, 27.02.2004. RU 2013915 С1, 15.06.1994. SU 562234 А1, 26.06.1997.
Адрес для переписки:
416251, Астраханская обл., Черноярский р-н, с. Соленое Займище, Северный кварт., 8, ГНУ ПНИИАЗ Россельхозакадемии
|
(72) Автор(ы):
Зволинский Вячеслав Петрович (RU), Тютюма Наталья Владимировна (RU), Салдаев Александр Макарович (RU)
(73) Патентообладатель(и):
Государственное научное учреждение Прикаспийский научно-исследовательский институт аридного земледелия Российской академии сельскохозяйственных наук (RU)
|
(54) УСТРОЙСТВО ДЛЯ ПРЕДПОСЕВНОЙ ОБРАБОТКИ СЕМЯН
(57) Реферат:
Изобретение относится к области сельского хозяйства и может быть использовано для обработки семян разного вида сельскохозяйственных растений. Устройство включает сбросной бункер, размещенную горизонтально и имеющую форму полого цилиндра камеру со смонтированным в ее полости транспортирующим механизмом, подсоединенную к источнику газа и снабженную загрузочным и выгрузным люками, сообщенную с камерой емкость для жидкого агента, имеющую трубчатые электрические нагреватели, установленные над ее донной частью, и транспортирующий механизм. Привод камеры выполнен в виде пары колец, смонтированных на внешней поверхности цилиндра, и двух пар опорных роликов, попарно установленных и взаиморазнесенных по длине камеры, один из которых кинематически связан с электромеханическим приводом. Размещенный в камере транспортирующий механизм выполнен в виде лопастей, установленных под углом к образующей внутренней поверхности полого цилиндра. Емкость для жидкого агента сообщена с камерой посредством быстроразъемной муфты и гидравлически посредством вентилей и трубопроводов с шестеренчатым насосом и сбросным бункером. Источник газа выполнен в виде ресивера низкого давления и сообщенного с ним посредством вентиля и трубопровода вакуумного насоса. Ресивер сообщен с полостью камеры посредством вентиля, гибкого рукава и быстроразъемной муфты. Использование изобретения позволит сохранить посевные качества семян при их высеве в неблагоприятные погодные условия. 2 табл., 2 ил.
Изобретение относится к сельскому хозяйству, в частности к техническим средствам для обработки семян широкого спектра сельскохозяйственных растений путем насыщения семенных оболочек и зародыша микро- и макроэлементами из рассола природного минерала бишофит.
Известна установка для предпосевной обработки семян, содержащая смесительную камеру, снабженную гидродинамическим излучателем, работающим в режиме развитой кавитации, загрузочную емкость и выгрузную емкость с всасывающим патрубком и нагнетательный трубопровод, в которой смесительная камера выполнена в виде трубопровода с загрузочной и реакционной зонами, причем гидродинамический излучатель расположен в торце загрузочной камеры по ее продольной оси, второй торец камеры соединен с выгрузной емкостью, а реакционная зона снабжена по крайней мере двумя дополнительными гидродинамическими излучателями, оси которых расположены в одной плоскости, перпендикулярной продольной оси смесительной камеры, при этом конец нагнетательного трубопровода сообщен с гидродинамическими излучателями, а другой – с всасывающим патрубком выгрузной емкости (RU, патент №2013915 С1, МПК5 А01С 1/00. Устройство для предпосевной обработки семян / М.К.Прокофьев, Ю.Г.Поспелова, В.М.Плетнев (RU). – Заявка №5015921/15; заявлено 13.12.1991; опубл. 15.06.1994, бюл. №11).
К недостаткам данной установки, несмотря на непрерывное выполнение технологического процесса, относятся ее высокая стоимость и низкая эксплуатационная надежность гидродинамических излучателей.
Известно также устройство для плазменной обработки семян растений, содержащее камеру, подсоединенную к источнику неорганического газа, электрический генератор, электроды и вакуумную систему, в котором один из электродов выполнен в виде полого металлического элемента с возможностью циркуляции в нем охлаждающего агента, в качестве другого электрода использован металлический корпус камеры, в которой размещен транспортирующий механизм, а камера имеет загрузочный и сбросной бункеры (RU, патент №2076555 С1, МПК6 А01С 1/00, Н05F 3/00, Н01J 37/37, Н01Н 1/00. Устройство для плазменной обработки семян растений/ А.К.Филлипов, Н.П.Битюцкий, М.А.Федоров (RU). – Заявка №95111569/13; заявлено 05.07.1995; опубл. 10.04.1997).
К недостаткам данного устройства относятся сложность конструкции, высокая стоимость оборудования, низкая эксплуатационная надежность и невысокое качество обработки посевного материала.
Наиболее близким аналогом к заявленному объекту относится устройство для предпосевной обработки семян, содержащее загрузочный и сбросной бункеры, камеру, подсоединенную к источнику газа, и транспортирующий механизм, выполненный в виде приводного ротора, на поверхности которого размещены лопасти, установленные под углом образующей поверхности ротора, камере придана форма полого цилиндра, размещенного горизонтально и снабженного загрузочным и выгрузным люками, при этом камера гидравлически соединена с емкостью для жидкого агента, разделенной на отсеки перегородкой, над донной частью емкости размещены трубчатые электрические нагреватели, отсеки взаимно гидравлически связаны через вентиль, один из отсеков посредством вентиля и рукава призматически связан с камерой и ресивером сжатого воздуха (RU, патент №2224400 С1, МПК7 А01С 1/00. Устройство для предпосевной обработки семян / В.М.Иванов, А.М.Салдаев, Н.И.Телитченко, А.А.Афанасьев (RU). – Заявка №2002123625/12; заявлено 04.09.2002; опубл. 27.02.2004, бюл.№6).
К недостаткам описанного устройства относится недостаточно высокое качество подавления патогенов и с.-х. вредителей на поверхности семян. При избыточном давлении микропоры покрываются рассолом природного минерала бишофит. В то же время патогены и с.-х. вредители остаются в них. При неблагоприятных погодных условиях с.-х. вредители повреждают зародыш семени и угнетают в росте ростки озимых зерновых культур.
Сущность заявленного изобретения заключается в следующем.
Задача, на решение которой направлено заявляемое изобретение, – уничтожение патогенной микрофлоры на поверхности семян и в зародыше и насыщение оболочек высеваемых семян макро- и микроэлементами из жидкого агента, в качестве которого использован рассол природного минерала бишофит плотностью 1,2-1,4 т/м3.
Технический результат – сохранение посевных качеств семян при высеве в почву при неблагоприятных погодных условиях, появление дружных и выровненных выходов, повышение урожайности и продуктивности надземных побегов возделываемых с.-х. культур.
Эффект и технический результат достигается тем, что в известном устройстве для предпосевной обработки семян, включающем сбросной бункер, размещенную горизонтально и имеющую форму полого цилиндра камеру со смонтированным в ее полости транспортирующим механизмом, подсоединенную к источнику газа и снабженную загрузочным и выгрузным люками, сообщенную с камерой емкость для жидкого агента, имеющую трубчатые электрические нагреватели, установленные над ее донной частью, и транспортирующий механизм, согласно изобретению привод камеры выполнен в виде пары колец, смонтированных на внешней поверхности цилиндра, и двух пар опорных роликов, попарно установленных и взаимно разнесенных по длине камеры, один из которых кинематически связан с электромеханическим приводом, при этом размещенный в камере транспортирующий механизм выполнен в виде лопастей, установленных под углом к образующей внутренней поверхности полого цилиндра, емкость для жидкого агента сообщена с камерой посредством быстроразъемной муфты и гидравлически посредством вентилей и трубопроводов с шестеренчатым насосом, обеспечивающим рециркуляцию подаваемого жидкого агента, и сбросным бункером, а источник газа выполнен в виде ресивера низкого давления и сообщенного с ним посредством вентиля и трубопровода вакуумного насоса, причем ресивер сообщен с полостью камеры посредством вентиля, гибкого рукава и быстроразъемной муфты.
За счет того, что на семена поочередно воздействуют средним вакуумом, удаляя паразитов и с.-х. вредителей из зародыша и микропор, и нагретым MgCl 6Н2О жидким агентом – рассолом природного минерала бишофит формулы MgCl2×H2O с плотностью 1,2-1,4 т/м3, достигается указанный выше технический результат.
Предложенное техническое устройство обеспечивает качественное насыщение поверхности обрабатываемых семян макро- и микроэлементами из рассола минерала бишофит. Парофиносодержащие материалы из рассола минерала бишофит при высокой температуре покрывают оболочкой зародыш и оболочку каждого семени. Этим достигается уничтожение патогенов и защита ростков растений от с.-х. вредителей и микроорганизмов в период «посев-всходы».
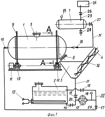
Изобретение поясняется чертежами.
На фиг.1 схематично представлено устройство для предпосевной обработки семян.
На фиг.2 – А-А на фиг.1, поперечно-вертикальный разряд камеры, установленной посредством колец на опорных роликах.
Сведения, подтверждающие возможность реализации заявленного изобретения, заключаются в следующем.
Устройство для предпосевной обработки семян содержит камеру 1, емкость 2 для жидкого агента, сбросной бункер 3 и транспортирующий механизм 4.
Камера 1 снабжена загрузочным люком 5 и выгрузным люком 6.
Камера 1 подсоединена к источнику 7 газа. В полости камеры 1 смонтирован транспортирующий механизм 8. Камере 1 придана форма полого цилиндра. Привод камеры 1 выполнен в виде пары колец 9, смонтированных на внешней поверхности цилиндра, и попарно установленных и взаимо разнесенных по длине камеры 1 двух пар опорных роликов 10 (см. фиг.1 и 2). Один из опорных роликов 10 кинематически связан с электромеханическим приводом 11. Электродвигатель привода 11 с электрической сетью питания напряжением 380 В и промышленной частотой 50 Гц соединен посредством частотного преобразователя с диапазоном бесступенчатого изменения частот от 0 до 100 Гц. Им регулируется угловая скорость вращения камеры 1 на попарно установленных опорных роликах 10.
Транспортирующий механизм 8 камеры 1 выполнен в виде лопастей. Лопасти механизма 8 установлены под углом к образующей внутренней поверхности полого цилиндра. Это позволяет при вращении камеры 1 выгрузить семенной материал из полости камеры 1. Направление вращения камеры 1 при разгрузке показано стрелкой на фиг.2.
Емкость 2 для жидкого агента снабжена трубчатыми электрическими нагревателями 12. Нагреватели 12 размещены над донной частью емкости 2. Емкость 2 гидравлически соединена с камерой 1. Гидравлическая сеть емкости 2 включает шестеренчатый насос 13 с приводом, вентили 14, 15, 16, 17, мономер 18 и быстроразъемную муфту 19 для связи с камерой 1. Насос 18 и вентили 14-17 на трубопроводах 20, 21, 22 и 23 обеспечивают подачу жидкого агента в полость камеры 1 из емкости 2, из сбросного бункера 3 в емкость 2 и рециркуляцию жидкого агента в емкости 2 для приведения в равновесное состояние жидкого агента и тепломассообмена. В качестве жидкого агента используют рассол природного минерала бишофит плотностью 1,2-1,4 т/м3. Температуру рассола бишофит поднимают до 80°С.
Источник 7 газа выполнен в виде ресивера низкого давления и вакуумного насоса 24. Ресивер 7 снабжен манометром 25 и вентилями 26, 27 и 28. Вентиль 28 ресивера 7 служит для сброса конденсата. Вентиль 26 на трубопроводе 29 пневматически соединяет ресивер 7 с вакуумным насосом 24. Вакуумным насосом в ресивере 7 создается средний вакуум – разрежение давлением 10-2…10-1 Па. Посредством быстроразъемной муфты 30 и гибкого рукава 31 вентиль 27 ресивера 7 соединяют с полостью камеры 1.
Транспортирующий механизм 4 сбросного бункера 3 выполнен в виде шнекового транспортера 32 (фиг.1).
Описанное устройство для предпосевной обработки семян представлено пятью автономными блоками, имеющими свой индивидуальный электропривод: блок для подготовки жидкого агента; блок для создания среднего вакуума; блок обработки семян; блок загрузки семян в загрузочный люк 5 камеры 1 и блок загрузки семян в автомобильный транспорт для последующей заправки семенных ящиков зерновых сеялок. Блок загрузки семян в люк 5 камеры 1 представлен либо шнековым транспортером, либо ленточным транспортером.
Устройство для предпосевной обработки семян работает следующим образом.
В качестве жидкого агента для предпосевной обработки семян использован рассол природного минерала бишофит формулы MgCl2×6Н2O плотностью 1,2-1,4 т/м3. Характеристика рассола бишофит приведена в таблицах 1 и 2. На дневную поверхность из недр минерал бишофит извлекают растворением в воде. Минерал – гигроскопичен. Разведанных запасов бишофита – миллиарды тонн. Жидкий агент – рассол минерала бишофит – через горловину заливают в емкость 2. Включают в сеть напряжением 220 В электрические трубчатые нагреватели 12 (ТЭН) мощностью 1,6 кВт каждый. Температуру рассола бишофит доводят до 80°±5°C. Температуру контролируют термометром, встроенным в стенку емкости 2. Для равномерного нагрева жидкого агента включают в работу шестеренчатый насос 13. Для рециркуляции жидкого агента оператор на трубопроводах 21 и 23 закрывает вентили 15 и 17 и открывает вентиль 14 на трубопроводе 20 и вентиль 16 на трубопроводе 22. В течение 30…45 минут температура рассола во всем объеме достигает 75…85°С.
Одновременно с этим открывают крышку загрузочного люка 5 и в полость камеры 1 или ленточным, или шнековым транспортером загружают семена 1 класса, например озимой пшеницы сорта Дон-95. Затем закрывают крышку загрузочного люка 5. Быстросъемная муфта 19 на гибком трубопроводе 23 должна быть отсоединена от стенки камеры 1.
Далее оператор быстросъемной муфтой 30 на гибком рукаве 31 соединяет камеру 1 с ресивером 7. Вакуумным насосом 24 в ресивере 7 создают разрежение среднего вакуума давлением 10-2…10-1 Па. Давление в ресивере 7 контролируют по манометру 25. Затем оператор открывает вентиль 27. При выравнивании вакуума в камере 1 и ресивере 7 оператор закрывает вентиль 27 и отсоединяет быстросъемную муфту 30. В камере 1 на помещенные семена воздействует средний вакуум в течение 15…30 минут. Для интенсивного отделения патогенов и с.-х. вредителей из микропор семян и их зародышей камеру 1 приводят во вращательное движение вокруг ее горизонтальной оси симметрии.
При включенном в электрическую сеть питания электромеханическом приводе 11 его опорный ролик 10 начинает вращение вокруг своей оси, установленной в паре с другой опорой 10. Качение опорного ролика 10 вокруг своей оси приводит к угловому смещению пары колец 9 на поверхности цилиндра камеры 1. Устойчивое положение и качение камеры 1 обеспечивают пары опорных роликов 10. Вращение камеры 1 посредством колец 9 на опорных роликах 10 приводит к тому, что лопастями транспортирующего механизма 8 порции семян отделяются от общей массы и приподнимаются над донной частью камеры 1. Семена в верхней части в полости камеры 1 повторно ссыпаются вниз за счет гравитационных сил. Так как угловая скорость вращения камеры 1 мала, то каждая лопасть механизма 8 многократно поднимает на определенную высоту порцию семян. При падении вниз поверхность каждого семени подвергается воздействию среднего вакуума. Патогены и микроорганизмы извлекаются из микропор. Далее оператор быстроразъемную муфту 19 на гибком трубопроводе соединяет с камерой 1. Вентиль 16 на трубопроводе 22 закрывает и открывает вентиль 17 на трубопроводе 23. Затем включают в работу насос 13. Подогретый и равномерно перемещенный рассол бишофита из емкости 2 насосом 13 подают в камеру 1. Емкость камеры 1 заполняют на 2/3…3/4 от полного объема. Далее включают в работу привод 11. При вращении камеры 1 на опорных роликах 10 поверхность семян многократно омывается горячим рассолом природного минерала бишофит. Микропоры на поверхности семян заполняются солями из рассола минерала бишофит. Парафинсодержащие компоненты заполняют микропоры. Каждое семя ими инкрустируется.
После обработки семян рассол из камеры 1 через выгрузной люк 6 направляют в сбросной бункер 3. Вентиль 17 на трубопроводе 23 и вентиль 14 на трубопроводе 20 закрывают, а вентиль 15 на трубопроводе 21 и вентиль 16 на трубопроводе 22 открывают. Рассол бишофита из сбросного бункера 3 насосом 13 перекачивают в емкость 2. Далее полностью удаляют крышку с выгрузного люка 6. Семена выгружают в сбросной бункер 3. Избыток рассола с поверхности семян стекает на дно бункера 3. Из сбросного бункера 3 шнековым транспортером 32 обработанные описанным способом семена загружают в кузов автотранспорта для заправки семенных ящиков зерновых сеялок.
Таким образом, семена подвергаются предпосевной обработке средним вакуумом и насыщаются макро- и микроэлементами из рассола природного минерала бишофит. В качестве жидкого агента может быть использована любая жидкость как ростовой препарат.
Таблица 1 Содержание макро- и микроэлементов в рассоле природного минерала бишофит |
| (скважина №4, месторождение – Городищенское, Волгоградская область) |
| Наименования |
Химический элемент |
Содержание микроэлементов, г/кг |
| Бор |
В |
0,0020-0,0080 |
| Кальций |
Ca |
0,0030-0,0050 |
| Висмут |
Wi |
0,0005-0,0010 |
| Молибден |
Mo |
0,0005-0,0010 |
| Железо |
Fe |
0,0030-0,0300 |
| Алюминий |
Al |
0,0010-0,0200 |
| Титан |
Ti |
0,0005-0,0010 |
| Медь |
Cu |
0,0001-0,0030 |
| Кремний |
Si |
0,0020-0,2000 |
| Барий |
Ba |
0,0001-0,0006 |
| Стронций |
Sr |
0,0010-0,0200 |
| Рений |
Re |
0,0001-0,0020 |
| Цезий |
Cs |
0,0001-0,0010 |
| Литий |
Li |
0,0001-0,0003 |
Таблица 2 Физико-химические показатели чешуированного технического хлористого магния (бишофита) |
| Наименование показателей |
Нормы |
| 1. Внешний вид |
Чешуйки от белого до светло-серого цвета с оттенками от желтоватого до светло-коричневого |
| 2. Содержание ионов магния (Mg+2), в пересчете на MgCl2*6H2O, %, не более |
11,8 96,0 |
| 3. Содержание хлористого кальция в пересчете на CaO,%, не более |
0,2 |
| 4. Содержание сульфат-ионов (SO4 -2), %, не более |
1,1 |
| 5. Содержание ионов щелочных металлов (Na+, +K+), %, не более |
1,0 |
| 6. Содержание нерастворимого в воде остатка, %, не более |
0,2 |
Формула изобретения
Устройство для предпосевной обработки семян, включающее сбросной бункер, размещенную горизонтально и имеющую форму полого цилиндра камеру со смонтированным в ее полости транспортирующим механизмом, подсоединенную к источнику газа и снабженную загрузочным и выгрузным люками, сообщенную с камерой емкость для жидкого агента, имеющую трубчатые электрические нагреватели, установленные над ее донной частью, и транспортирующий механизм, отличающееся тем, что привод камеры выполнен в виде пары колец, смонтированных на внешней поверхности цилиндра, и двух пар опорных роликов, попарно установленных и взаиморазнесенных по длине камеры, один из которых кинематически связан с электромеханическим приводом, при этом размещенный в камере транспортирующий механизм выполнен в виде лопастей, установленных под углом к образующей внутренней поверхности полого цилиндра, емкость для жидкого агента сообщена с камерой посредством быстроразъемной муфты и гидравлически посредством вентилей и трубопроводов с шестеренчатым насосом, обеспечивающим рециркуляцию подаваемого жидкого агента, и сбросным бункером, а источник газа выполнен в виде ресивера низкого давления и сообщенного с ним посредством вентиля и трубопровода вакуумного насоса, причем ресивер сообщен с полостью камеры посредством вентиля, гибкого рукава и быстроразъемной муфты.
РИСУНКИ
MM4A – Досрочное прекращение действия патента СССР или патента Российской Федерации на изобретение из-за неуплаты в установленный срок пошлины за поддержание патента в силе
Дата прекращения действия патента: 06.12.2007
Извещение опубликовано: 27.07.2009 БИ: 21/2009
|
|