|
|
(21), (22) Заявка: 2005123253/09, 21.07.2005
(24) Дата начала отсчета срока действия патента:
21.07.2005
(43) Дата публикации заявки: 27.01.2007
(46) Опубликовано: 20.06.2007
(56) Список документов, цитированных в отчете о поиске:
RU 2002122702 А, 20.03.2004. RU 2255437 C1, 27.06.2005. SU 1795568 A1, 15.02.1993. SU 1051750 A1, 30.10.1983. JP 2004263925 A, 24.09.2004.
Адрес для переписки:
681013, Хабаровский край, г. Комсомольск-на-Амуре, пр. Ленина, 27, КнАГТУ, патентный отдел
|
(72) Автор(ы):
Глушко Владимир Михайлович (RU), Шубенцев Александр Владимирович (RU), Цыганок Сергей Владимирович (RU)
(73) Патентообладатель(и):
Государственное образовательное учреждение высшего профессионального образования “Комсомольский-на-Амуре государственный технический университет” (ГОУВПО “КнАГТУ”) (RU)
|
(54) СИСТЕМА ОХЛАЖДЕНИЯ ЭЛЕМЕНТОВ РАДИОЭЛЕКТРОННОЙ АППАРАТУРЫ
(57) Реферат:
Изобретение относится к электротехнике, а именно к конструкции системы охлаждения радиоэлементов. Технический результат – повышение экологичности конструкции; повышение безопасности работы радиоэлектронной аппаратуры; простота конструкции. Достигается тем, что в системе охлаждающего контура, который состоит из испарителя, наполненного теплоносителем, и конденсатора, соединенных между собой двумя эластичными термоизолированными шлангами, один из шлангов предназначен для перемещения пара от испарителя к конденсатору, второй предназначен для стекания конденсата. Один конец первого шланга закреплен в верхней части испарителя, второй его конец закреплен в средней части конденсатора. Один конец второго шланга закреплен в нижней части конденсатора, другой его конец закреплен в средней части испарителя. Конденсатор крепится на металлической стенке корпуса радиоэлектронной аппаратуры при помощи магнитов. Испаритель крепится на охлаждаемом элементе радиоэлектронной аппаратуры при помощи подпружиненной стяжки. Испаритель и конденсатор выполнены в виде емкостей, имеющих равные объемы, при этом площадь испарителя превышает площадь охлаждаемого элемента. Стенки испарителя и конденсатора, находящиеся в контакте с частями радиоэлектронной аппаратуры, выполнены медными. Поверхность испарителя, кроме стенки, находящейся в контакте с охлаждаемым элементом, и поверхность конденсатора, кроме его верхней части, покрыты теплоизолирующим материалом. 1 ил.
Изобретение относится к электротехнике, а именно к конструкции системы охлаждения радиоэлементов.
Технический уровень заявляемого объекта:
Технический уровень заявляемого изобретения известен из устройства “Система охлаждения сверхбыстрых процессоров”, включающего взаимосвязанные между собой и смонтированные на основании – системной плате – функциональные узлы: разъема процессора, процессорной емкости, элементов создания турбулентности потоков жидкости в процессорной емкости, высокогерметичных контактных выводов, прижимной пластины-радиатора, термоэлектрических охлаждающих модулей процессорной емкости, электрической контактной группы процессорного модуля, боковых стяжек крепления процессора, эластичного термоизолированного шлейфа, модуля нагнетания жидкости, предохранительных стоек, термоизолирующей прокладки, задней охлаждающей емкости, термоэлектрических модулей задней охлаждающей емкости, воздушного радиатора, крепежных стяжек воздушного радиатора, модуля анализа и управления, элементов для создания турбулентных потоков воздуха в воздушном радиаторе, электрических контактов термоэлектрических модулей задней охлаждающей емкости, эластичной герметизирующей прокладки, при том что узел процессора снабжен двумя канавками глубиной несколько миллиметров, расположенными по его периметру, узел процессора осуществляет непосредственный контакт с охлаждающей жидкостью, охлаждение узла процессора осуществляется одновременно охлаждающей жидкостью, которая в свою очередь охлаждается в узле термоэлектрических модулей задней охлаждающей емкости и узлами пластины-радиатора и термоэлектрических охлаждающих модулей процессорной емкости (Заявка № 2002122702).
Недостатками данной конструкции являются:
– недостаточная экологичность конструкции;
– недостаточная степень безопасности работы радиоэлектронной аппаратуры;
– сложность конструкции.
Заявленная система направлена на повышение эффективности работы радиоэлектронной аппаратуры.
Технический результат, достигаемый в процессе решения поставленной задачи, заключается в:
– повышении экологичности конструкции;
– повышении безопасности работы радиоэлектронной аппаратуры;
– простоте конструкции.
Указанный технический результат достигается системой охлаждающего контура, который состоит из испарителя, наполненного теплоносителем, и конденсатора, соединенных между собой двумя эластичными термоизолированными шлангами. Один из шлангов предназначен для перемещения пара от испарителя к конденсатору, второй предназначен для стекания конденсата. Один конец первого шланга закреплен в верхней части испарителя, второй его конец закреплен в средней части конденсатора. Один конец второго шланга закреплен в нижней части конденсатора, другой его конец закреплен в средней части испарителя. Конденсатор крепится на металлической стенке корпуса радиоэлектронной аппаратуры при помощи магнитов. Испаритель крепится на охлаждаемом элементе радиоэлектронной аппаратуры при помощи подпружиненной стяжки. Испаритель и конденсатор выполнены в виде емкостей, имеющих равные объемы, при этом площадь испарителя превышает площадь охлаждаемого элемента. Стенки испарителя и конденсатора, находящиеся в контакте с частями радиоэлектронной аппаратуры, выполнены медными. Поверхность испарителя, кроме стенки, находящейся в контакте с охлаждаемым элементом, и поверхность конденсатора, кроме его верхней части, покрыты теплоизолирующим материалом.
Причинно-следственная связь между совокупностью существенных признаков заявляемой системы и достигаемым техническим результатом достигается в следующем.
Повышение экологичности конструкции обеспечивается бесшумными и экологически чистыми испарительно-конденсационными процессами, позволяющими на высокой скорости осуществлять перенос тепловой энергии.
Повышение безопасности работы связано с отсутствием движущихся механических частей.
Простота конструкции обеспечивается наличием всего трех основных элементов – это испаритель, конденсатор, эластичные термоизолированные шланги.
Кроме того, заявляемое изобретение обеспечивает достижение дополнительного технического результата, заключающегося в повышении эффективности теплообмена системы охлаждения за счет выполнения комплектующих стенок испарителя и конденсатора из тонколистовой меди.
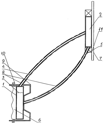
Сущность заявляемого изобретения поясняется чертежом, где номерами обозначено следующее:
1 – Испаритель;
2 – Конденсатор;
3 – Теплоноситель;
4 – Эластичный шланг испарителя;
5 – Эластичный шланг конденсатора;
6 – Охлаждаемый радиоэлемент;
7 – Металлическая поверхность радиоэлектронной аппаратуры;
8 – Теплоизолирующий материал;
9 – Подпружиненная стяжка;
10 – Крепеж подпружиненной стяжки;
11 – Магниты.
Заявляемая система работает следующим образом.
При повышении температуры на поверхности радиоэлемента 6 выше рабочей теплоноситель 3 (спирт, эфир) внутри испарителя 1 испаряется и по эластичному шлангу испарителя 4 в виде пара попадает в конденсатор 2, где конденсируется и стекает обратно в испаритель 1 по второму эластичному шлангу конденсатора 5, обеспечивая цикличность процесса. Испаритель 1 крепится на поверхности радиоэлемента 6 при помощи подпружиненной стяжки 10. Конденсатор 2 крепится на обратной стороне наружной обшивки корпуса изделия магнитами 11. Эффективность работы радиоаппаратуры обеспечивается высокой скоростью передачи тепловой энергии окружающей среде путем фазового перехода теплоносителя 3 внутри заявляемой системы. Фазовый переход теплоносителя 3 происходит без применения электрической энергии и аппаратов по принудительному созданию турбулентных воздушных потоков, что ведет к устранению шума. Также данная система отличается быстрым выходом радиоэлемента на рабочую температуру, т.к. испарительно-конденсационные реакции (охлаждение радиоэлемента) начинают происходить с момента выхода радиоэлемента на рабочую температуру. Данная система обеспечивает расширение рабочих возможностей радиоэлементов (например, повышение тактовой частоты процессоров) без дополнительного изменения конструкции самих радиоэлементов.
Формула изобретения
Система охлаждения элементов радиоэлектронной аппаратуры выполнена в виде охлаждающего контура, отличающаяся тем, что охлаждающий контур состоит из испарителя, наполненного теплоносителем, и конденсатора, соединенных между собой двумя эластичными термоизолированными шлангами, один из шлангов предназначен для перемещения пара от испарителя к конденсатору, второй предназначен для стекания конденсата, один конец первого шланга закреплен в верхней части испарителя, второй его конец закреплен в средней части конденсатора, один конец второго шланга закреплен в нижней части конденсатора, другой его конец закреплен в средней части испарителя, конденсатор крепится на металлической стенке корпуса радиоэлектронной аппаратуры при помощи магнитов, испаритель крепится на охлаждаемом элементе радиоэлектронной аппаратуры при помощи подпружиненной стяжки при этом испаритель и конденсатор выполнены в виде емкостей, имеющих равные объемы, при этом площадь испарителя превышает площадь охлаждаемого элемента, стенки испарителя и конденсатора, находящиеся в контакте с частями радиоэлектронной аппаратуры, выполнены медными, поверхность испарителя, кроме стенки, находящейся в контакте с охлаждаемым элементом, и поверхность конденсатора, кроме его верхней части, покрыты теплоизолирующим материалом.
РИСУНКИ
MM4A – Досрочное прекращение действия патента СССР или патента Российской Федерации на изобретение из-за неуплаты в установленный срок пошлины за поддержание патента в силе
Дата прекращения действия патента: 22.07.2007
Извещение опубликовано: 10.03.2009 БИ: 07/2009
|
|