|
|
(21), (22) Заявка: 2004116130/28, 15.10.2002
(24) Дата начала отсчета срока действия патента:
15.10.2002
(30) Конвенционный приоритет:
27.10.2001 DE 10153123.0
(43) Дата публикации заявки: 20.03.2005
(46) Опубликовано: 20.06.2007
(56) Список документов, цитированных в отчете о поиске:
US 6121695 А, 19.09.2000. SU 1005241 A1, 15.03.1983. US 5616968 A, 01.04.1997. US 5313141 A, 17.05.1994. US 6091164 А, 18.07.2000.
(85) Дата перевода заявки PCT на национальную фазу:
27.05.2004
(86) Заявка PCT:
DE 02/03928 (15.10.2002)
(87) Публикация PCT:
WO 03/039204 (08.05.2003)
Адрес для переписки:
129010, Москва, ул. Б.Спасская, 25, стр.3, ООО “Юридическая фирма Городисский и Партнеры”, пат.пов. Г.Б. Егоровой, рег.№ 513
|
(72) Автор(ы):
БРАУКМАНН Вильфрид (DE), КЛИПШТАЙН Ульрих (DE)
(73) Патентообладатель(и):
Б УНД С ЭЛЕКТРОНИШЕ ГЕРЕТЕ ГМБХ (DE)
|
(54) ПАРАЛЛЕЛЬНО ПОДКЛЮЧАЕМЫЕ ПУСКОРЕГУЛИРУЮЩИЕ АППАРАТЫ НА ОСНОВЕ ТИПА ЛАМПЫ
(57) Реферат:
Изобретение относится к способу создания эффективного соединения между светильником и электронным пускорегулирующим аппаратом (ПРА). Сущность: для питания светильников (8”, 8”’), по меньшей мере, двух разных типов, из которых светильник (8”’) первого типа имеет потребляемую мощность, составляющую приблизительно целочисленное кратное значение потребляемой мощности светильника (8”) второго типа, используют одинаковые ПРА (1), рассчитанные на непосредственное питание светильника (8”) второго типа и эксплуатируемые с параллельным включением для питания светильника (8”’) первого типа. Надлежащее присоединение светильника (8′ 8”, 8”’) адаптированного к ПРА (1), проверяют за счет обмена сигналами между ПРА (1) и светильником (8′, 8”, 8”’) перед включением питающей мощности ПРА (1). Технический результат: предотвращение вредных последствий неправильного монтажа из-за отсутствия механических кодировок. 2 н. и 3 з.п. ф-лы, 4 ил.
Область техники
Изобретение относится к способу создания эффективного соединения между светильником и электронным пускорегулирующим аппаратом (ПРА), который вырабатывает требуемую питающую мощность, причем перед включением питающей мощности светильника с помощью ПРА передают сигнал, посредством светильника на основе переданного сигнала вырабатывают специфический для данного типа светильника ответный сигнал, в ПРА ответный сигнал обрабатывают для обнаружения подключенного типа светильника и только после обнаружения пригодного для присоединения типа светильника подают питающую мощность согласно патенту … (заявка № 10139402.0).
Изобретение относится также к расположению электронных ПРА, каждый из которых содержит сетевую часть для вырабатывания питающей мощности для работы подключаемого светильника, присоединительный кабель для создания электрического соединения со светильником для передачи питающей мощности, блок управления, посредством которого перед включением питающей мощности к светильнику подают сигнал, блок обработки ответного сигнала светильника для обнаружения типа светильника и оценки пригодности обнаруженного типа светильника для присоединения к питающей мощности и блок коммутации для включения питающей мощности, если обнаруженный тип светильника пригоден для подключения к источнику питания.
Предшествующий уровень техники
Для освещения выставочных стендов, выставочных помещений, мест съемок и т.п. используются, как правило, многочисленные, снабженные газоразрядными лампами светильники. Для этого обычно используют каркасные стойки, на которых устанавливают светильники и присоединяют их к соединительному кабелю. Соединительный кабель соединяет светильники с соответствующим электронным ПРА. Ввиду большого числа светильников электронные ПРА помещают по несколько штук в стандартные выдвижные корпуса. Для уменьшения числа проложенных иногда на большое расстояние кабелей соединительные провода электронных ПРА все чаще соединяют с единственным многожильным кабелем, которым перекрывают расстояние между электронными ПРА и светильниками. На конце многожильного кабеля со стороны светильника размещен распределитель, к которому затем могут быть присоединены отдельные светильники.
Для решения соответствующих осветительных задач используют, как правило, светильники разной мощности. Известно, что светильники разной мощности снабжают разными разъемами, с тем чтобы, например, избежать присоединения светильника меньшей мощности к электронному ПРА с более высокой выходной мощностью и, наоборот, из-за чего могут возникнуть повреждения в газоразрядной лампе светильника или в электронном ПРА. Недостаток такой системы заключается в том, что присоединенный к многожильному кабелю распределитель должен быть снабжен соответственно механически кодированными ответными разъемами, так что распределитель должен быть рассчитан специально для соответствующей осветительной задачи. Данная операция сопряжена со значительными сложностями и требует, например, масштабных работ по переналадке, если при монтаже освещения выяснится, что в одном или нескольких местах светильник заданной мощности должен быть заменен светильником другой мощности. Поэтому было предложено отказаться от механического кодирования разъемов и повышать эффективность работы персонала, чтобы избежать неправильного присоединения светильников к электронным ПРА. Это предполагает тщательную маркировку выводов распределителя со стороны светильника и тщательное соотнесение с отдельными электронными ПРА на другом конце многожильного кабеля, а также высококвалифицированную работу обслуживающего персонала.
Сущность заявленного изобретения основана на предположении, что из-за пространственно стесненных условий монтажа в зоне распределителя, например на узком осветительном каркасе и из-за зачастую возникающих проблем с условиями освещения невозможно гарантировать безошибочную работу обслуживающего персонала. Неправильный монтаж и связанные с этим повреждения ламп и/или электронных ПРА представляются поэтому неизбежными.
В основе изобретения лежит поэтому задача предотвращения без существенных дополнительных затрат вредных последствий неправильного монтажа из-за отсутствия механических кодировок разъемных соединений.
Поставленная задача решается тем, что в способе создания эффективного соединения между светильником и электронным ПРА, вырабатывающим требуемую питающую мощность для светильника, согласно изобретению перед подключением питающей мощности светильника с помощью ПРА передают сигнал, посредством светильника на основе переданного сигнала вырабатывают специфический для данного типа светильника ответный сигнал, в ПРА ответный сигнал обрабатывают для обнаружения подключенного типа светильника и только после обнаружения типа светильника, пригодного для подключения, включают питающую мощность.
Этот способ предусматривает, тем самым, электронную проверку присоединенного к соответствующему электронному ПРА светильника, прежде чем электронный ПРА включит питающую мощность. Таким образом, способ не препятствует присоединению неподходящего светильника к электронному ПРА, однако светильник не приводится в действие им.
Проверка типа светильника, т.е., в частности, проверка номинальной мощности светильника, может осуществляться без дополнительных жил провода через соединительный кабель, выполненный, например, двухжильным. Требуемые для электронного ПРА и для светильника схемотехнические затраты невелики, поскольку передача информации может происходить через тип светильника очень простым образом, например посредством выработанных в светильнике импульсов, число которых содержит в единицу времени информацию о типе светильника. В этом случае пригоден, например, только один датчик импульсов в виде нестабильного мультивибратора, частота переключений которого может быть установлена посредством соединения с конденсатором.
В принципе, можно питать генератор ответного сигнала посредством подходящего аккумулятора в светильнике. Предпочтительным является, однако, решение, у которого ответный сигнал вырабатывают из энергии принятого сигнала в светильнике, так что светильник обходится без собственного источника тока. Для этого в качестве сигнала можно передавать низкое постоянное напряжение, которое в качестве ответного сигнала периодически переключается генератором сигнала в светильнике с низкоомного на высокоомное, так что в зависимости от типа монтажа возникают импульсы напряжения или при том же напряжении в электронном ПРА могут быть детектированы токовые импульсы.
Другая форма выполнения состоит в том, что в качестве сигнала электронного ПРА передают ограниченный по времени импульсный сигнал, из которого посредством светильника образуют ответный сигнал. Импульсный сигнал может быть использован в светильнике, например, для зарядки конденсатора, из энергии которого образуют ограниченный по времени ответный сигнал. Целесообразно выполнять устройство для образования ответного сигнала в светильнике самоотключающимся при подаче питающей мощности к светильнику.
Поставленная задача решается так же тем, что предложен электронный ПРА для реализации вышеуказанного способа, отличающийся тем, что он содержит блок управления, посредством которого перед включением питающей мощности к светильнику подают сигнал, блок обработки ответного сигнала светильника для обнаружения типа светильника и оценки пригодности обнаруженного типа светильника для подключения к питающей мощности и блок коммутации для включения питающей мощности, если обнаруженный тип светильника пригоден для подключения питающей мощности.
При этом на выходе блока управления может возникнуть существенно более низкое по сравнению с напряжением питающей мощности постоянное напряжение для передачи на светильник. Согласно описанному выше принципу работы оно может быть достаточным, если на выходе блока управления возникает ограниченный по времени импульс низкого постоянного напряжения для передачи на светильник.
Выход блока управления может быть присоединен к присоединительному кабелю, так что передача низкого постоянного напряжения происходит по тому же кабелю, по которому в дальнейшем к светильнику подается питающая мощность.
Блок обработки может быть выполнен простым образом для обнаружения числа импульсов в единицу времени.
Блок обработки может быть выполнен в рамках изобретения иначе, например, для обнаружения длительности импульса, для обнаружения прохождений гармонического колебания через нуль и т.п.
Согласно изобретению светильник для осуществления способа отличается тем, что он содержит включаемый подаваемым извне сигналом датчик сигнала для передачи характеризующего тип лампы ответного сигнала на ПРА. При этом датчик сигнала может питаться подаваемым извне сигналом, т.е. содержать его питающее напряжение.
Преимущественно датчик сигнала присоединен к присоединительному кабелю, т.е. принимает по одной из той же линии как подаваемый извне сигнал, так и питающую мощность.
Датчик сигнала выполнен преимущественно самоотключающимся после подачи ответного сигнала. Его повторное активирование происходит за счет повторного, подаваемого извне сигнала, отличающегося от питающей мощности и обнаруживаемого датчиком сигнала.
По вышеописанным причинам предпочтительно, если датчик сигнала содержит энергоаккумулирующий блок для образования питающей его энергии из принятого сигнала.
В качестве альтернативы датчик сигнала может быть выполнен с возможностью питания принятым постоянным напряжением и периодического переключения постоянного напряжения.
В частности, в случае присоединения большого числа светильников, имеющих разные осветительные задачи и потому разную потребляемую мощность, проблема состоит в том, чтобы для разных типов светильников предусмотреть разные ПРА и разместить их в выдвижном стеллажном корпусе. Поскольку размеры современных электронных ПРА позволяют разместить в одном 19-дюймовом выдвижном блоке несколько ПРА рядом друг с другом, чрезвычайно трудно заменить, например, один ПРА одного типа мощности на ПРА другого типа мощности, поскольку они, как правило, имеют разную ширину.
В основе изобретения лежит, поэтому, задача упрощения обращения и расположения многочисленных ПРА для работы светильников разных типов.
Исходя из этой задачи согласно изобретению способ согласно изобретению отличается тем, что для питания светильников, по меньшей мере, двух разных типов, из которых светильник первого типа имеет потребляемую мощность, соответствующую целочисленному кратному потребляемой мощности светильника второго типа, и для питания светильника первого типа их эксплуатируют с параллельным включением.
Соответствующее расположение электронных ПРА описанного выше типа отличается согласно изобретению тем, что в расположении предусмотрены одинаковые ПРА, рассчитанные на непосредственное питание светильников второго типа и выполненные с возможностью параллельного включения для питания светильников первого типа.
Настоящее изобретение использует тот факт, что нередко применяются разные типы светильников, однако число применяемых типов светильников ограничено двумя или тремя. Нередка комбинация светильников трех типов с потребляемой мощностью 200, 575 и 1200 Вт. Согласно изобретению для управления светильником мощностью 575 и 1200 Вт используют одинаковые ПРА, рассчитанные на непосредственное питание светильников мощностью 575 Вт.
Для управления светильником мощностью 1200 Вт параллельно включают два ПРА. Этим можно избежать обычного многообразия электронных ПРА. В конкретном случае используют электронные ПРА, переключаемые внутри для низких отдаваемых мощностей 200-575 Вт, причем правильное положение переключения для присоединения определенного светильника проверяют способом согласно изобретению или осуществляют этим способом автоматическое переключение.
За счет использования одинаковых ПРА они могут быть расположены рядом друг с другом предпочтительно в стандартном выдвижном корпусе, причем для описанного случая применения предпочтительным является расположение рядом друг с другом шести ПРА в 19-дюймовом выдвижном корпусе.
Поскольку ПРА по стандарту выполнены с возможностью регулирования своей выходной мощности, можно, например, согласно изобретению также эксплуатировать светильник с потребляемой мощностью 800 Вт при помощи двух параллельно включенных ПРА с отдаваемой мощностью до 600 Вт, если, например, оба ПРА были за счет управления установлены на 400 Вт.
Изобретение более подробно поясняется ниже с помощью изображенных на чертеже примеров выполнения. Фиг.1-3 поясняют способ, согласно основному патенту, а фиг.4 поясняет модульное согласно изобретению расположение одинаковых ПРА. В частности:
фиг.1 изображает принципиальную схему электронного ПРА и присоединенного присоединительным кабелем светильника;
фиг.2 – диаграмму выходного напряжения электронного ПРА в процессе проверки типа светильника и для последующего включения питающей мощности;
фиг.3 – характеристику выработанного электронным ПРА и переданного сигнала в виде импульса постоянного напряжения и выработанного на его основе ответного сигнала;
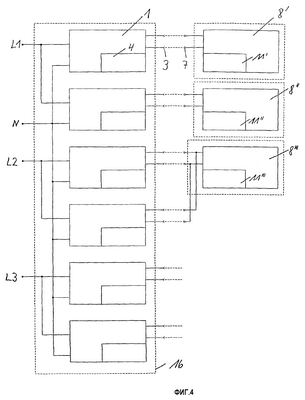
фиг.4 – схему шести одинаковых ПРА для управления светильниками разных типов.
На фиг.1 схематично изображен электронный ПРА 1, содержащий силовую часть 2, который вырабатывает питающую мощность и подает ее на выходные клеммы 3.
Электронный ПРА дополнительно содержит блок 4 управления и обработки, выходные клеммы которого через блок 5 коммутации могут в качестве альтернативы питающей мощности подключаться к выходным клеммам 3. Через двухжильный присоединительный кабель 6 создают соединение с выходными клеммами 7 светильника 8. К выходным клеммам 7 в светильнике 8 традиционным способом присоединены зажигающий прибор 9 и разрядная лампа 10. Параллельно зажигающему прибору 9 к выходным клеммам 7 присоединен датчик 11 сигналов, который может быть выполнен в виде датчика импульсов.
Схематично изображенный присоединительный кабель 6 нередко является частью четырехжильного кабеля, в котором многочисленные присоединительные кабели 6 объединены в один кабель. В соответствии с этим присоединение светильника 8 происходит через распределитель, посредством которого многочисленные объединенные присоединительные кабели 6 могут быть снова разъединены и приданы отдельным светильникам 8.
Фиг.2 поясняет характеристику напряжения на присоединительном кабеле 6. После присоединения светильника 8 к соединенному с электронным ПРА 1 присоединительному кабелю 6 сначала передают коммуникационные сигналы 12 низкого напряжения около 10 В для проверки присоединенного типа светильника. Если во время этой проверки был обнаружен правильно присоединенный светильник 8, то в электронном ПРА 1 переключается блок 5 коммутации, так что питающая мощность силовой части 2 передается через присоединительный кабель 6. За счет этого происходит процесс зажигания лампы 10 через зажигающий прибор 9, в результате чего возникает питающее напряжение около 300 В, которое затем переходит в стабильное состояние горения разрядной лампы 10, как это поясняется с помощью кривой 13 на фиг.2.
На фиг.3 изображен пример коммуникационных сигналов 12, которые в этом случае состоят из посланного блоком 4 управления/обработки импульса 14 постоянного напряжения продолжительностью ta-ta’ и из следующего за ним, выработанного датчиком 11 ответного сигнала 15 в виде импульсов напряжения или импульсов тока, который вплоть до момента tb завершен. Датчик 11 запитывается энергией импульса 14 постоянного напряжения. Согласно фиг.3 число посланных вплоть до момента tb импульсов 14 больше числа импульсов согласно фиг.3b и характеризует поэтому другой тип светильника.
Как уже было сказано выше, в качестве альтернативы вплоть до момента tb можно непрерывно передавать постоянное напряжение 14, если датчик импульсов периодически переключает данное это постоянное напряжение с низкоомного на высокоомное, в результате чего блок 4 управления/обработки обнаруживает токовые импульсы, которые, например, в отношении своего числа вплоть до момента tb кодируют тип светильника.
В изображенных примерах выполнения показано очень простое устройство светильника 8, с помощью которого возможна очень простая связь в виде коммуникационных сигналов 12. Представляется очевидным, что описанный способ применим в равной мере и для светильников 8, являющихся предметом более сложных задач управления, например содержащих серводвигатели, посредством которых эффективно включают различные цветовые фильтры и т.п. В этом случае коммуникация контрольными сигналами может выходить за рамки обнаружения типа светильника и служить также для передачи управляющих сигналов для серводвигателей, исполнительных устройств для цветовых фильтров и т.п.
Описанный способ позволяет отказаться от механического кодирования разъемов, не вызывая риска повреждений электронного ПРА 1 или разрядной лампы 10 из-за неправильного подключения светильника 8 к электронному ПРА 1.
На фиг.4 изображено расположение шести ПРА 1 в выдвижном корпусе 16, который может представлять собой стандартный 19-дюймовый выдвижной блок. Каждый ПРА 1 выполнен с возможностью переключения для непосредственного питания двух типов светильников 8′, 8” с потребляемой мощностью соответственно 200 и 575 Вт.
Шесть ПРА 1 питаются напряжением группами по два соответственно одной фазой L1, L2, L3 трехфазного присоединения относительно нулевого провода N.
Изображенный вверху на фиг.4 ПРА 1 переключен на выходную мощность 200 Вт и питает непосредственно светильник 8′ с потребляемой мощностью 200 Вт.
Изображенный ниже ПРА 1 переключен, напротив, на выходную мощность 575 Вт и питает непосредственно светильник 8” с потребляемой мощностью 575 Вт.
За счет описанной выше проверки подходящего соединения между ПРА 1 и светильником 8′, 8” удается гарантировать поступление питающей мощности ПРА 1 только к одному, соответственно адаптированному светильнику 8′, 8”.
Светильник 8”’ имеет потребляемую мощность 1200 Вт и управляется, поэтому, двумя параллельно включенными ПРА 1, так что для питания светильника 8”’ требуется два ПРА 1. С входными клеммами 7 светильника 8”’ параллельно соединены, тем самым, выходные клеммы 3 двух ПРА 1.
Питание светильника 8′ дополнительного типа дополнительно удается тогда, когда используемый ПРА, как это нередко бывает реализовано, выполнен с возможностью переключения в диапазоне низкой мощности, так что после переключения светильник 8′ может питаться с низкой потребляемой мощностью непосредственно от ПРА 1.
В случае параллельного включения ПРА 1 для питания светильника 8”’ для обнаружения подходящего присоединения светильника 8”’ к ПРА 1 можно выработать ответный сигнал 15, характеризующий потребляемую мощность «1200 Вт». В этом случае ПРА 1 обнаруживает, что питание светильника 8”’ возможно только двумя параллельно включенными ПРА 1 и что он сам должен быть переключен в положение «600 Вт».
Возможно, чтобы светильник 8”’ подавал ответный сигнал «600 Вт», поскольку ПРА 1 требует лишь информации о том, присоединен ли светильник 8”’ с подходящей для высокой выходной мощности потребляемой мощностью.
Если, случайным образом, параллельного включения двух ПРА 1 не произошло, а со светильником 8”’ соединился только один ПРА, это приводит к обнаруживаемому ухудшению функции или к отказу функции светильника 8”’, устраняемому за счет параллельного включения двух ПРА 1. Повреждение светильника 8”’ в этом случае невозможно.
Очевидно, что можно также детектировать надлежащее параллельное включение двух ПРА 1. Однако сопряженные с этим затраты, как правило, нецелесообразны, поскольку возможное отсутствующее параллельное включение сразу же обнаруживается по функции светильника 8”’.
Предпочтительное модульное расположение ПРА 1 в корпусе 16 может быть использовано также для питания светильников с более высокой потребляемой мощностью, например 1800 Вт путем параллельного включения, например, трех ПРА 1. На практике достаточно, однако, как правило, параллельного включения двух ПРА 1.
Формула изобретения
1. Способ создания соединения между светильником (8, 8′, 8”, 8”’) и электронным пускорегулирующим аппаратом (ПРА) (1), который вырабатывает требуемую питающую мощность для светильника (8, 8′, 8”, 8”’), причем перед включением питающей мощности светильника (8, 8′, 8”, 8”’) с помощью ПРА (1) передают сигнал (14), посредством светильника (8, 8′, 8”, 8”’) на основе переданного сигнала (14) вырабатывают специфический для данного типа светильника ответный сигнал (15), в ПРА (1) ответный сигнал (15) обрабатывают для определения типа подключенного светильника и только после обнаружения пригодного для присоединения типа светильника включают питающую мощность, отличающийся тем, что для питания светильников (8, 8′, 8”, 8”’), по меньшей мере, двух разных типов, из которых светильник (8”’) первого типа имеет потребляемую мощность, достигающую целочисленного кратного значения потребляемой мощности светильника (8”) второго типа, используют одинаковые ПРА (1), которые рассчитаны на непосредственное питание светильника (8”) второго типа и которые эксплуатируют с параллельным включением для питания светильника (8”’) первого типа.
2. Система электронных ПРА (1), каждый из которых содержит сетевую часть (2) для вырабатывания питающей мощности для работы присоединенного светильника (8, 8′, 8”, 8”’), присоединительный кабель (6) для создания электрического соединения со светильником (8, 8′, 8”, 8”’) для передачи питающей мощности, блок управления, посредством которого перед включением питающей мощности к светильнику (8, 8′, 8”, 8”’) подают сигнал (14), блок обработки ответного сигнала (15) светильника (8, 8′, 8”, 8”’) для обнаружения типа светильника и оценки пригодности обнаруженного типа светильника для подключения к питающей мощности и блок (5) коммутации для включения питающей мощности, если обнаруженный тип светильника пригоден для присоединения к питающей мощности, отличающаяся тем, что предусмотрены одинаковые ПРА (1), рассчитанные на непосредственное питание светильников (8”) второго типа и выполненные с возможностью параллельного включения для питания светильников (8”’) первого типа.
3. Система по п.2, отличающаяся тем, что ПРА (1) выполнены с возможностью переключения для непосредственного питания светильников (8′, 8”) разных типов.
4. Система по п.2 или 3, отличающаяся тем, что в стандартном выдвижном корпусе (16) рядом друг с другом расположено определенное число ПРА (1).
5. Система по п.4, отличающаяся тем, что в 19-дюймовом выдвижном корпусе (16) рядом друг с другом расположены шесть ПРА (1).
РИСУНКИ
|
|