|
|
(21), (22) Заявка: 2002134340/09, 24.10.1997
(24) Дата начала отсчета срока действия патента:
24.10.1997
(30) Конвенционный приоритет:
28.12.1996 KR 1996-75216
(43) Дата публикации заявки: 20.06.2004
(46) Опубликовано: 20.06.2007
(56) Список документов, цитированных в отчете о поиске:
БОККЕР Р.П. Передача данных. – М.: Радио и связь, 1981, с.41-45. US 5341397 А, 23.08.1994. US 5103459 А, 07.04.1992. US 4901307 А, 13.02.1990.
(62) Номер и дата подачи первоначальной заявки, из которой данная заявка выделена: 98117710 24.10.1997
Адрес для переписки:
129010, Москва, ул. Б. Спасская, 25, стр.3, ООО “Юридическая фирма Городисский и Партнеры”, пат.пов. Ю.Д.Кузнецову, рег.№ 595
|
(72) Автор(ы):
ДЖО Янг Хо (KR), КИМ Чанг Йеон (KR), ЧУНГ Джонг Тае (KR)
(73) Патентообладатель(и):
ШИНСЕГИ ТЕЛЕКОМ, ИНК. (KR)
|
(54) УСТРОЙСТВО ДЛЯ ГЕНЕРАЦИИ ВСПОМОГАТЕЛЬНЫХ ЧАСТОТ ДЛЯ ЖЕСТКОЙ ПЕРЕДАЧИ ЧАСТОТ В МОБИЛЬНОЙ СИСТЕМЕ СВЯЗИ МНОГОСТАНЦИОННОГО ДОСТУПА С КОДОВЫМ РАЗДЕЛЕНИЕМ КАНАЛОВ
(57) Реферат:
Изобретение относится к устройствам генерации вспомогательных частот в системе связи. Технический результат заключается в получении плавной передачи частоты при жесткой передаче в обеспечении мобильной системы связи множественного доступа с кодовым разделением каналов (МДКР) и увеличении надежности. Устройство содержит синтезирующее средство для синтезирования служебного сигнала, относящегося к рабочей частоте, и по меньшей мере одного сигнала рабочего канала, средство разделения по мощности для разделения по мощности сигнала, синтезированного с помощью синтезирующего средства, на один или несколько сигналов и первое средство преобразования частоты для преобразования по меньшей мере одного из сигналов, разделенных по мощности с помощью средства разделения по мощности, в сигнал вспомогательной частоты. 4 з.п. ф-лы, 2 ил.
Область техники, к которой относится изобретение
Настоящее изобретение относится в общем к устройству для генерации вспомогательных частот, чтобы сделать жесткую передачу частот плавной в обеспечении мобильной цифровой службы связи многостанционного доступа с кодовым разделением каналов (МДКР), когда базовые станции различны по конфигурации частот, и более конкретно, к устройству для генерации вспомогательных частот для того, чтобы сделать радиопокрытие вспомогательных частот таким же, как радиопокрытие рабочей частоты, с использованием основных сигналов рабочей частоты.
Уровень техники
В системе МДКР рабочая частота включает множество каналов, которые идентифицируются согласно кодам. Прямая линия передачи от базовой станции к мобильной станции состоит из канала пилот-сигнала, канала синхронизации, канала поискового вызова и канала трафика. Канал пилот-сигнала передает информацию, позволяющую мобильной станции опознавать систему и идентифицировать базовую станцию. Рабочая зона базовой станции определяется согласно отношению энергии элемента сигнала канала пилот-сигнала к плотности радиопомех.
Плотность радиопомехи определяется на основании суммарной мощности каналов синхронизации, поискового вызова и трафика и мощности шума окружающей среды мобильной станции. Поэтому рабочая зона базовой станции изменяется согласно отношению мощностей каналов на рабочей частоте и нагрузки трафика.
В системах мобильной связи, таких как сотовая персональная связь, служебная спутниковая мобильная связь и будущая наземная мобильная система телекоммуникаций общего пользования, переключение или передача частоты (передача обслуживания) (handover) должна выполняться так, чтобы поддерживать связь, когда мобильная станция проходит границу между базовыми станциями. В частности, в системе мобильной связи МДКР в случае, когда рабочие частоты двух базовых станций одинаковы по номеру и величине, вызов может поддерживаться непрерывно посредством мягкого переключения без преобразования частоты. Однако в случае, когда рабочие частоты двух базовых станцией не одинаковы по номеру, мобильной станции может потребоваться преобразование частоты для поддержания вызова, которое называется “жесткой передачей частоты”.
В случае, когда рабочие частоты целевой базовой станции передачи имеют меньший номер, чем соответствующие частоты соседней базовой станции, целевая базовая станция передачи добавляет к рабочим частотам вспомогательные частоты или радиомаяки пилот-сигнала, чтобы сделать номера частот такими же, как у соседней базовой станции. Таким образом, мобильная станция, использующая частоту, отличающуюся от рабочей частоты целевой базовой станции передачи, получает информацию целевой базовой станции передачи, чтобы выполнить жесткую передачу частоты. В этом случае каждая вспомогательная частота состоит из части или всех сигналов из сигнала канала пилот-сигнала, сигнала канала синхронизации и сигналов канала поискового вызова. Здесь термин “вспомогательная частота” представляет собой все “1) сигналы от радиомаяков пилот-сигнала или вспомогательных пилот-сигналов” и “2) вспомогательные частоты”, причем каждый из “1) сигналов от радиомаяков пилот-сигнала или вспомогательных пилот-сигналов” передает только сигнал канала пилот-сигнала, а каждая из “вспомогательных частот” состоит из части или всех сигналов из сигнала канала пилот-сигнала, сигнала канала синхронизации и сигналов канала поискового вызова.
Фиг.1 – это блок-схема, иллюстрирующая конструкцию системы для генерации вспомогательной частоты. Базовая станция обеспечивается рабочей частотой с каналами трафика и вспомогательными частотами без канала трафика. Рабочая частота включает сигнал А1 канала пилот-сигнала, сигнал В1 канала синхронизации, сигнал С1 канала поискового вызова и сигналы D1-DN канала трафика. Канальные элементы 1-5 выполняют цифровую обработку сигналов, включая разброс частоты, соответственно сигнала А1 канала пилот-сигнала, сигнала В1 канала синхронизации, сигнала С1 канала поискового вызова и сигналов D1-DN канала трафика. Обработанные сигналы синтезируются синтезатором 6 мощностей и преобразуются в радиочастотный сигнал F1 блоком 7 передатчика/приемника. Затем радиочастотный сигнал F1 усиливается линейным усилителем 8 и подается на антенну (не показана). Здесь сигнал А1 канала пилот-сигнала, сигнал В1 канала синхронизации, сигнал С1 канала поискового вызова и сигналы D1-DN канала трафика регулируются по коэффициенту усиления канальными элементами 1-5. Сигнал А1 канала пилот-сигнала, сигнал В1 канала синхронизации и сигнал С1 канала поискового вызова обычно поддерживаются с коэффициентом усиления, установленным при инициализации базовой станции. Однако сигналы D1-DN канала трафика динамически изменяются по усилению, чтобы поддерживать качество разговора в зависимости от изменения величины трафика. В результате этого рабочая зона базовой станции, или отношение энергии элемента сигнала канала пилот-сигнала рабочей частоты к плотности мощности радиопомех изменяется.
Для того чтобы сделать жесткую передачу частот плавной, целевая базовая станция передачи должна иметь N-1 вспомогательных частот дополнительно к одной рабочей частоте, если соседняя базовая станция имеет N частот вызова. Каждая вспомогательная частота по структуре такая же, как и рабочая частота, за исключением того, что в ней нет сигнала канала трафика. Сигналы канала пилот-сигнала, канала синхронизации и канала поискового вызова первой вспомогательной частоты обрабатываются канальными элементами 9-11, соответственно. Подобно описанному на рабочей частоте, обработанные сигналы суммируются синтезатором 12 и преобразуются в радиочастотный сигнал F2 блоком передатчика/приемника 13. Затем радиочастотный сигнал F2 усиливается линейным усилителем 8 совместно с радиочастотным сигналом F1 рабочей частоты и подается на антенну. Канальные элементы 14-16 соответствуют N-1-ой вспомогательной частоте. Подобным образом сигналы канала пилот-сигнала, канала синхронизации и канала поискового вызова N-1-ой вспомогательной частоты обрабатываются канальными элементами 14-16, соответственно. Обработанные сигналы суммируются синтезатором 17 и преобразуются в радиочастотный сигнал FN блоком передатчика/приемника 18. Затем радиочастотный сигнал FN усиливается линейным усилителем 8 совместно с радиочастотным сигналом F1 рабочей частоты и радиочастотным сигналом F2 первой вспомогательной частоты и подается на антенну.
В вышеупомянутой обычной системе рабочая зона рабочей частоты F1 определяется согласно отношению энергии элемента сигнала канала пилот-сигнала к плотности мощности радиопомех на выходе синтезатора 6. Плотность мощности радиопомех определяется на основе суммы мощностей сигналов канала синхронизации, канала поискового вызова с канальных элементов 2 и 3 и мощности сигналов канала трафика от канальных элементов 4, 5. По этой причине рабочая зона рабочей частоты F1 изменяется в зависимости от величины нагрузки в каналах трафика. Однако рабочая зона каждой из вспомогательных частот F2, FN определяется согласно отношению энергии элемента сигнала канала пилот-сигнала к плотности мощности радиопомех на выходе соответствующего синтезатора 12, 17. Плотность мощности радиопомех определяется на основе суммы мощностей сигналов канала синхронизации и канала поискового вызова соответствующих канальных элементов 10 и 11, 15 и 16. В результате, рабочая зона вспомогательной частоты всегда постоянна, так что она не совпадет с рабочей зоной рабочей частоты.
Другими словами, рабочая зона каждой из вспомогательных частот должна быть такой же, как и рабочая зона частоты вызова, чтобы сделать жесткую передачу частоты плавной. Однако в случае, когда рабочая зона вспомогательной частоты целевой базовой станции передачи больше, чем рабочая зона ее рабочей частоты, мобильная станция, осуществляющая передачу, получит сигнал вспомогательной частоты целевой базовой станции передачи на границе рабочей зоны этой станции и преобразует полученную вспомогательную частоту в рабочую частоту. В этом случае вызов прервется, потому что рабочая зона рабочей частоты целевой базовой станции передачи мала. Также, из-за того, что рабочая зона вспомогательной частоты целевой базовой станции передачи слишком велика, возрастают помехи для соседней базовой станции, приводя к уменьшению рабочей зоны рабочей частоты соседней базовой станции, когда она имеет ту же величину, что и вспомогательная частота целевой базовой станции передачи. С другой стороны, в случае, когда рабочая зона вспомогательной частоты целевой базовой станции передачи меньше, чем рабочая зона ее рабочей частоты, мобильная станция, осуществляющая передачу, не сможет получить информацию целевой базовой станции передачи на границе рабочей зоны рабочей частоты соседней базовой станции. В результате, жесткая передача частоты не сможет быть выполнена.
СУЩНОСТЬ ИЗОБРЕТЕНИЯ
Поэтому настоящее изобретение выполнено в свете вышеупомянутых проблем, и задачей настоящего изобретения является создание устройства для генерации вспомогательной частоты для размещения сигнала канала пилот-сигнала, сигнала канала синхронизации, сигнала канала поискового вызова и сигналов канала трафика рабочей частоты непосредственно на каждой вспомогательной частоте, чтобы рабочая зона вспомогательной частоты всегда была такой же, как у рабочей частоты, рабочая зона которой изменяется согласно величине трафика базовой станции, так что мобильная станция может идеально выполнять жесткую передачу частоты.
В соответствии с одним аспектом настоящего изобретения предлагается устройство для генерации вспомогательных частот для жесткой передачи частоты в мобильной системе связи многостанционного доступа с кодовым разделением каналов, содержащее синтезирующее средство для синтезирования служебного сигнала, относящегося к рабочей частоте, и по меньшей мере одного сигнала рабочего канала,
средство разделения по мощности для разделения по мощности сигнала, синтезированного с помощью синтезирующего средства, на один или несколько сигналов и
первое средство преобразования частоты для преобразования по меньшей мере одного из сигналов, разделенных по мощности с помощью средства разделения по мощности, в сигнал вспомогательной частоты.
В частном случае устройство для генерации вспомогательных частот дополнительно содержит второе средство преобразования частоты для преобразования одного из сигналов, разделенных по мощности с помощью средства разделения, в сигнал рабочей частоты.
В другом частном случае устройство для генерации вспомогательных частот дополнительно содержит средство усиления по мощности для усиления по мощности сигнала, синтезированного с помощью синтезирующего средства.
В еще одном частном случае устройство для генерации вспомогательных частот отличается тем, что синтезирующее средство включает в себя средство для преобразования синтезированного сигнала в сигнал диапазона промежуточных частот.
В еще одном частном случае устройство для генерации вспомогательных частот отличается тем, что служебный сигнал включает в себя сигнал канала пилот-сигнала, сигнал канала синхронизации и сигнал канала поискового вызова.
КРАТКОЕ ОПИСАНИЕ ЧЕРТЕЖЕЙ
Вышеописанные и другие задачи, особенности и преимущества настоящего изобретения станут более понятны из последующего подробного описания совместно с сопровождающими чертежами, на которых:
Фиг.1 – это блок-схема, иллюстрирующая конструкцию системы для генерации вспомогательных частот; и
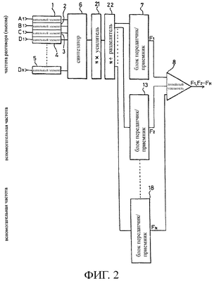
Фиг.2 – это блок-схема, иллюстрирующая конструкцию системы для генерации вспомогательной частоты в соответствии с настоящим изобретением.
ПОДРОБНОЕ ОПИСАНИЕ ПРЕДПОЧТИТЕЛЬНЫХ ВАРИАНТОВ ОСУЩЕСТВЛЕНИЯ
Фиг.2 – это блок-схема, иллюстрирующая конструкцию системы для генерации вспомогательной частоты в соответствии с настоящим изобретением. Рабочая частота включает сигнал А1 канала пилот-сигнала, сигнал В1 канала синхронизации, сигнал С1 канала поискового вызова и сигналы D1-DN канала трафика. Канальные элементы 1-5 выполняют цифровую обработку сигналов, включая разброс частоты, соответственно сигнала А1 канала пилот-сигнала, сигнала В1 канала синхронизации, сигнала С1 канала поискового вызова и сигналов D1-DN канала трафика. Обработанные сигналы синтезируются синтезатором 6 мощностей и подаются на блок передатчика/приемника 7 через усилитель 21 мощности и разделитель 22 мощности. Блок передатчика/приемника 7 преобразует полученный сигнал в сигнал радиочастоты F1, который затем усиливается линейным усилителем 8 и подается на антенну (не показана).
Разделитель 22 мощности применяется для разделения синтезированного сигнала рабочей частоты от синтезатора 6 мощностей на N сигналов и подачи этих разделенных N сигналов в качестве входных сигналов на блок передатчика/приемника 7 рабочей частоты и блоки передатчика/приемника 13, 18 вспомогательных частот. Усилитель 21 мощности применяется для усиления синтезированного сигнала рабочей частоты от сумматора мощностей в N раз, так что выходные сигналы от разделителя 22 мощности могут быть такими же по уровню, как выходной сигнал от синтезатора 6 мощностей.
Первый выходной сигнал с разделителя 22 мощности подается на блок передатчика/приемника 7 рабочей частоты, а остальные N-1 выходных сигналов с разделителя 22 мощности подаются соответственно на блоки передатчика/приемника 13, 18 вспомогательных частот. Каждый из блоков передатчика/приемника 13, 18 вспомогательных частот преобразует полученный сигнал в радиочастотный сигнал, который затем усиливается линейным усилителем мощности 8 и подается на антенну совместно с радиочастотным сигналом F1 рабочей частоты. Конкретно, второй выходной сигнал с разделителя 22 мощности преобразуется в радиочастотный сигнал F2 блоком передатчика/приемника 13 и затем подается на линейный усилитель 8 мощности. Также N-ый выходной сигнал с разделителя 22 мощности преобразуется в радиочастотный сигнал FN блоком передатчика/приемника 18 и затем подается на линейный усилитель 8 мощности. В результате, от линейного усилителя 8 мощности получаются радиочастотные сигналы F1, F2, FN той же самой мощности, каждый из которых включает сигнал канала пилот-сигнала, сигнал канала синхронизации, сигнал канала поискового вызова и сигналы канала вызова (разговора).
Хотя здесь для иллюстративных целей описано устройство для генерации вспомогательных частот, настоящее изобретение не ограничивается этим. Например, настоящее изобретение может быть применено в устройстве для генерации радиомаяка пилот-сигнала.
Как видно из вышесказанного, настоящее изобретение предлагает устройство для генерации вспомогательных частот для жесткой передачи частоты в мобильной системе связи МДКР. В обычном устройстве для генерации вспомогательных частот, эти частоты, каждая из которых состоит из части или всех сигналов из сигнала канала пилот-сигнала, сигнала канала синхронизации и сигнала канала поискового вызова, служат для передачи только информации базовой станции. Однако в настоящем устройстве для генерации вспомогательных частот сигнал канала пилот-сигнала, сигнал канала синхронизации и сигнал канала поискового вызова и сигналы канала трафика рабочей частоты помещаются непосредственно на каждой из вспомогательных частот. Поэтому рабочая зона вспомогательной частоты всегда может стать такой же, как у рабочей частоты, рабочая зона которой изменяется согласно величине трафика базовой станции, так что мобильная станция может идеально выполнять жесткую передачу частоты.
Кроме того, в обычном устройстве для генерации вспомогательных частот предусмотрено несколько канальных элементов и синтезатор мощностей для обработки сигнала канала пилот-сигнала, сигнала канала синхронизации и сигнала канала поискового вызова каждой вспомогательной частоты. Однако в настоящем устройстве для генерации вспомогательных частот один синтезатор мощностей, один усилитель мощности и один разделитель мощности обеспечивают обработку всех вспомогательных частот. Поэтому схема генерации вспомогательных частот может стать простой по конструкции и дешевле по стоимости. Также повышается надежность системы.
Хотя здесь для иллюстративных целей раскрыты предпочтительные варианты осуществления настоящего изобретения, специалисты в данной области техники могут понять, что возможны модификации, дополнения и замены без отклонения от задач и объема этого изобретения, как это раскрыто в сопровождающих пунктах формулы изобретения.
Формула изобретения
1. Устройство для генерации вспомогательных частот для жесткой передачи частоты в мобильной системе связи многостанционного доступа с кодовым разделением каналов, содержащее синтезирующее средство для синтезирования служебного сигнала, относящегося к рабочей частоте, и по меньшей мере одного сигнала рабочего канала, средство разделения по мощности для разделения по мощности сигнала, синтезированного с помощью синтезирующего средства, на один или несколько сигналов и первое средство преобразования частоты для преобразования по меньшей мере одного из сигналов, разделенных по мощности с помощью средства разделения по мощности, в сигнал вспомогательной частоты.
2. Устройство по п.1, отличающееся тем, что дополнительно содержит второе средство преобразования частоты для преобразования одного из сигналов, разделенных по мощности с помощью средства разделения, в сигнал рабочей частоты.
3. Устройство по п.1 или 2, отличающееся тем, что дополнительно содержит средство усиления по мощности для усиления по мощности сигнала, синтезированного с помощью синтезирующего средства.
4. Устройство по п.1 или 2, отличающееся тем, что синтезирующее средство включает в себя средство для преобразования синтезированного сигнала в сигнал диапазона промежуточных частот.
5. Устройство по п.1 или 2, отличающееся тем, что служебный сигнал включает в себя сигнал канала пилот-сигнала, сигнал канала синхронизации и сигнал канала поискового вызова.
РИСУНКИ
|
|