|
|
(21), (22) Заявка: 2005129520/09, 23.09.2005
(24) Дата начала отсчета срока действия патента:
23.09.2005
(46) Опубликовано: 20.06.2007
(56) Список документов, цитированных в отчете о поиске:
ИЛЬЧЕНКО М.Е. Диэлектрические резонаторы. – М.: Радио и связь, 1989, с.250, рис.10-10. RU 2185694 С1, 20.07.2002. RU 2147388 С1, 10.04.2000. US 4423397 A, 27.12.1983. FR 2720861 A1, 08.12.1995.
Адрес для переписки:
111250, Москва, ул. Красноказарменная, 14, ГОУВПО “МЭИ (ТУ)”, НИЧ, патентный отдел
|
(72) Автор(ы):
Бунин Анатолий Вениаминович (RU), Вишняков Сергей Викторович (RU), Геворкян Владимир Мушегович (RU), Казанцев Юрий Алексеевич (RU), Михалин Сергей Николаевич (RU), Полукаров Валерий Иванович (RU)
(73) Патентообладатель(и):
Государственное образовательное учреждение высшего профессионального образования “Московский энергетический институт (технический университет)” (ГОУВПО “МЭИ (ТУ)”) (RU)
|
(54) ПОЛОСНО-ПРОПУСКАЮЩИЙ ФИЛЬТР
(57) Реферат:
Изобретение относится к технике СВЧ и предназначено для использования в дециметровом и длинноволновой части сантиметрового диапазонов длин волн. Техническим результатом является подавление паразитных полос пропускания за счет высших видов колебаний в сочетании с обеспечением хорошего теплоотвода от открытых дисковых диэлектрических резонаторов. Полосно-пропускающий фильтр содержит n секций, где n 3, выполненных в виде полых металлических цилиндров с резьбами, соединенных между собой и образующих внешний цилиндрический экран, и (n – 2) открытых дисковых диэлектрических резонаторов, каждый из которых с помощью держателя установлен коаксиально в одном из полых металлических цилиндров. Оконечные секции экрана выполнены с металлическими торцевыми стенками с элементами связи, к которым присоединены центральные проводники коаксиальных разъемов. Держатель каждого резонатора выполнен в виде трех тонких металлических пластин, плоскости которых ориентированы по радиусу полых металлических цилиндров и развернуты под углом 120±10° относительно друг друга. 7 з.п. ф-лы, 7 ил.
Изобретение относится к технике СВЧ и предназначено для использования преимущественно в дециметровом и длинноволновой части сантиметрового диапазона длин волн.
Известны полосно-пропускающие фильтры с планарным размещением открытых диэлектрических резонаторов (см. Диэлектрические резонаторы / под ред. профессора М.Е.Ильченко. – М.: Радио и связь, 1989, 328 с., с.250, рис 10.12), содержащие отрезок запредельного в рабочей полосе частот фильтра волновода, в котором на подставках из диэлектрика размещены открытые дисковые диэлектрические резонаторы с низшим видом колебаний. Подставки одновременно с функцией крепления резонаторов обеспечивают требуемый теплоотвод, необходимый для работы фильтра в трактах с высоким (выше 10 Вт) уровнем мощности.
Однако такие планарные полосно-пропускающие фильтры характеризуются широким спектром близких к рабочей полосе частот паразитных полос пропускания за счет высших видов колебаний открытых дисковых диэлектрических резонаторов, который возрастает по мере роста диэлектрической плотности подставок. Кроме того, такие фильтры отличаются более высокими потерями в полосе пропускания в сочетании с более узкими достижимыми полосами пропускания, чем полосно-пропускающие фильтры с соосным расположением открытых дисковых диэлектрических резонаторов.
Наиболее близкими к предлагаемому полосно-пропускающему фильтру являются фильтры (см. Диэлектрические резонаторы. / Под ред. профессора М.Е.Ильченко. – М.: Радио и связь, 1989, 328 с., с.246-253, рис.10.10), содержащие отрезок цилиндрического волновода, выполняющего функцию экрана запредельного в рабочей полосе частот фильтра, состоящего из n – полых цилиндрических секций по числу звеньев фильтра, которые выполнены с уступами по внешнему и внутреннему диаметрам на концах и которые частично входят одна в другую, и открытые дисковые диэлектрические резонаторы с низшим видом колебаний, число которых равно числу звеньев фильтра, и каждый из которых установлен соосно в соответствующей полой цилиндрической секции и удерживается в ней с помощью диэлектрической втулки, а на каждом из концов экрана с помощью резьбовых соединений установлены оконечные полые цилиндрические металлические секции, каждая из которых на одном конце закорочена металлической торцевой стенкой, перпендикулярной продольной оси экрана, на которых для связи с подводящими линиями установлены элементы связи, выполненные в виде проводников, подключенных к центральным проводникам коаксиальных разъемов, установленных на боковой цилиндрической поверхности оконечных полых металлических секций.
Однако такие полосно-пропускающие фильтры характеризуются широким спектром близких к рабочей полосе частот паразитных полос пропускания за счет высших видов колебаний открытых дисковых диэлектрических резонаторов. Ординарное значение отстроек с применением специальных мер, в том числе применение диэлектрических втулок из диэлектриков с малой (единицы) относительной диэлектрической проницаемостью, составляет примерно 30%. Причем для фильтров, предназначенных для работы в трактах высокого уровня мощности, в которых для обеспечения хорошего теплоотвода от открытых дисковых диэлектрических резонаторов используются диэлектрические втулки из более плотных диэлектриков (например, борнилит, поликор, кварц и т.п.), паразитные полосы пропускания резко приближаются к рабочей полосе частот (до единиц процента) за счет приближения высших видов колебаний к частоте низшего (рабочего) вида.
Технической задачей предлагаемого изобретения является подавление паразитных полос пропускания за счет высших видов колебаний открытых дисковых диэлектрических резонаторов полосно-пропускающих фильтров с соосно расположенными открытыми диэлектрическими резонаторами в сочетании с обеспечением хорошего теплоотвода от открытых дисковых диэлектрических резонаторов.
Эта техническая задача достигается тем, что в известном полосно-пропускающем фильтре, содержащем n – секций, где n – число резонансных звеньев, выполненных в виде полых металлических цилиндров, соединенных между собой резьбовыми соединениями, расположенными на их концах, и образующих внешний цилиндрический экран, и (n – 2) открытых дисковых диэлектрических резонаторов, держатель, установленный коаксиально в полом металлическом цилиндре секции, оконечные секции экрана выполнены с металлическими торцевыми стенками, в каждой из оконечных секций экрана установлен элемент связи, например петлевой, к одному из концов элемента связи присоединен центральный проводник коаксиального разъема, держатель каждого открытого дискового диэлектрического резонатора выполнен в виде трех металлических пластин, плоскости которых ориентированы по радиусу полых металлических цилиндров и развернуты под углом (120±10)° относительно друг друга, при этом один из торцов каждой из металлической пластины упирается в цилиндрическую поверхность открытого дискового диэлектрического резонатора, а противоположный торец этой металлической пластины соединен с внутренней поверхностью полого металлического цилиндра.
Кроме того, соединение противоположного торца металлической пластины может быть жестко, например пайкой, скреплено с внутренней поверхностью полого металлического цилиндра.
Соединение противоположного торца металлической пластины может быть выполнено в виде винта, ввернутого во внутреннюю поверхность полого металлического цилиндра.
Кроме того, длина металлических пластин равна длине полых металлических цилиндров в направлении продольной оси внешнего цилиндрического экрана.
В торце металлической пластины, соединенного с цилиндрической поверхностью открытого дискового диэлектрического резонатора, может быть выполнен продольный паз, длина которого равна длине цилиндрической поверхности открытого дискового диэлектрического резонатора.
Дополнительно толщина каждой металлической пластины может быть выбрана в пределах 0,05-0,25 периметра внешней цилиндрической поверхности открытого дискового диэлектрического резонатора.
Кроме того, металлическая пластина может быть выполнена в форме трапеции, причем ее торец, меньший из оснований, соединен с цилиндрической поверхностью открытого дискового диэлектрического резонатора, является трапецией.
На внутренней поверхности полых металлических цилиндров по крайней мере на одном из концов по периметру может быть выполнено ребро с пазами, в которых расположены торцы металлических пластин.
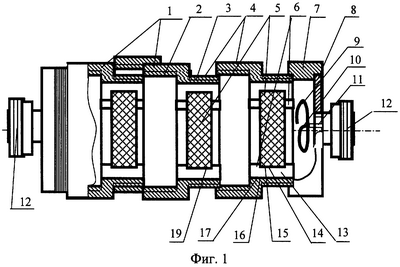
Сущность изобретения поясняется чертежами, где на фиг.1-5 представлен полосно-пропускающий фильтр, на фиг.6 и 7 – частотные характеристики полосно-пропускающего фильтра-прототипа и фильтра по настоящему изобретению.
Полосно-пропускающий фильтр содержит n секций, выполненных в виде полых металлических цилиндров 1 с резьбами 2 и 3, соединенных между собой и образующих внешний цилиндрический экран 4. Кроме того, фильтр содержит (n – 2) открытых дисковых диэлектрических резонаторов 5, каждый из которых с помощью держателя 6 установлен коаксиально в одном из полых металлических цилиндров 1. Оконечные секции 7 экрана 4 выполнены с металлическими торцевыми стенками 8. В каждой из оконечных секций 7 экрана 4 установлен элемент связи 9, например петлевой, к одному из концов 10 элемента связи 9 присоединен центральный проводник 11 коаксиального разъема 12.
Держатель 6 каждого открытого дискового диэлектрического резонатора 5 выполнен в виде трех тонких металлических пластин 13, плоскости которых ориентированы по радиусу полых металлических цилиндров 1 и развернуты под углом (120±10)° относительно друг друга, при этом один из торцов 14 каждой из металлической пластины 13 упирается в цилиндрическую поверхность 15 открытого дискового диэлектрического резонатора 5, а противоположный торец 16 этой металлической пластины 13 закреплен относительно внутренней поверхности 17 полого металлического цилиндра 1.
Полосно-пропускающий фильтр работает следующим образом.
После подключения коаксиальных разъемов 12 в цепь с распространяющейся СВЧ волной, элементы связи 9, установленные в оконечных секциях 7 экрана 4, обеспечивают ввод и вывод энергии в системе фильтр – линия передачи. Отдельные секции фильтра, выполненные в виде полых металлических цилиндров 1, соединенные между собой, образуют единый металлический цилиндрический экран 4, запредельный в рабочей полосе частот фильтра, что исключает внеполосную передачу энергии между входом и выходом и обеспечивает электромагнитную связь открытых дисковых диэлектрических резонаторов 5 между собой.
Кроме того, резьбы 2 и 3 на полых металлических цилиндрах 1, образующих внешний цилиндрический экран 4, за счет возможности изменения расстояний между открытыми дисковыми диэлектрическими резонаторами 5 позволяют в необходимых для корректировки частотной характеристики фильтра пределах регулировать коэффициенты связи между открытыми дисковыми диэлектрическими резонаторами 5 и коэффициенты связи между крайними из них и элементами связи 9, то есть с подводящими линиями.
Число секций n определяет число резонансных звеньев (n – 2), которое в свою очередь связано с видом необходимой частотной характеристики фильтра. Например, трехзвенный фильтр обычно реализует полосу пропускания порядка 1-1,5%, а семизвенный обеспечивает полосу 4-5%.
Экспериментально установлено, что выполнение держателей 6 каждого открытого дискового диэлектрического резонатора 5 в виде трех тонких металлических пластин 13, плоскости которых ориентированы по радиусу полых металлических цилиндров 1 и развернуты под углом (120±10)° относительно друг друга, позволяют исключить паразитные полосы пропускания в соосном фильтре на открытых дисковых диэлектрических резонаторах 5, связанные с их ближайшим (вторым) типом колебаний. Это подтверждают приведенные частотные характеристики. Кроме того, такое выполнение держателей 6 позволяет резко улучшить теплоотвод от диэлектрических резонаторов 5, что позволяет применять такую конструкцию фильтра в трактах высокого уровня мощности.
При расположении противоположного торца 16 металлической пластины 13, соединенной с внутренней поверхностью 17 полого металлического цилиндра 1, обеспечивается эффективное подавление паразитных полос пропускания фильтра.
Кроме того, эффект подавления паразитных полос пропускания фильтра наблюдается и при таком выполнении держателя 6, когда противоположный торец 16 тонкой металлической пластины 13 упирается в винт 18, который ввернут во внутреннюю поверхность 17 полого металлического цилиндра. Причем такое выполнение держателя 6 удобно при необходимости юстировки положения диэлектрического резонатора 5 относительно оси фильтра.
Для улучшения теплоотвода от диэлектрического резонатора 5 (при некотором снижении его добротности) рационально выполнить в направлении продольной оси внешнего цилиндрического экрана 4 длины металлических пластин 13 равными длине полых металлических цилиндров 1.
Выполнение продольного паза 19, длина которого равна длине цилиндрической поверхности 15 открытого дискового диэлектрического резонатора 5, позволяет повысить механическую прочность крепления диэлектрического резонатора 5 в торце 14 металлической пластины 13, соединенной с цилиндрической поверхностью 15 открытого дискового диэлектрического резонатора 5.
Экспериментально установлено, что, если толщина каждой из металлических пластин 13 лежит в пределах 0,05-0,25 периметра внешней цилиндрической поверхности 15 открытого дискового диэлектрического резонатора 5, то его добротность ухудшается незначительно (в пределах 10%).
Выполнение металлической пластины 13 в форме трапеции, меньшим из оснований торца 14 соединенным с цилиндрической поверхностью 15 открытого дискового диэлектрического резонатора 5, позволяет уменьшить влияние металлических пластин 13 на резонансную частоту и добротность диэлектрических резонаторов 5.
При выполнении на внутренней поверхности полых металлических цилиндров 1 (по крайней мере на одном из концов) по периметру ребра 20 с пазами 21, в которых установлены торцы 16 тонких металлических пластин 13 обеспечивает повышение механической прочности крепления диэлектрических резонаторов 5.
Применение предложенных технических решений позволило создать в диапазоне частот 4-5 ГГц девятизвенные полосно-пропускающие фильтры с открытыми дисковыми диэлектрическими резонаторами (полоса пропускания 3%, потери в полосе не хуже 1,1 дБ), обладающие отстройкой паразитных полос пропускания на 1 ГГц, а в пределах полосы запирания обеспечивающие уровень затухания > – 80 дБ, предназначенные для работы в трактах с уровнем мощности 100 Вт.
Формула изобретения
1. Полосно-пропускающий фильтр, содержащий n-секций, где n – число резонансных звеньев и равно n 3, выполненных в виде полых металлических цилиндров, соединенных между собой резьбовыми соединениями, расположенными на их концах, и образующих внешний цилиндрический экран, и n – 2 открытых дисковых диэлектрических резонаторов, держатель, установленный коаксиально в полом металлическом цилиндре секции, оконечные секции экрана выполнены с металлическими торцевыми стенками, в каждой из оконечных секций экрана установлен элемент связи, например петлевой, к одному из концов элемента связи присоединен центральный проводник коаксиального разъема, отличающийся тем, что держатель каждого открытого дискового диэлектрического резонатора выполнен в виде трех металлических пластин, плоскости которых ориентированы по радиусу полых металлических цилиндров и развернуты под углом 120±10° относительно друг друга, при этом один из торцов каждой металлической пластины упирается в цилиндрическую поверхность открытого дискового диэлектрического резонатора, а противоположный торец этой металлической пластины соединен с внутренней поверхностью полого металлического цилиндра.
2. Полосно-пропускающий фильтр по п.1, отличающийся тем, что соединение противоположного торца металлической пластины жестко, например пайкой, скреплено с внутренней поверхностью полого металлического цилиндра.
3. Полосно-пропускающий фильтр по п.1, отличающийся тем, что соединение противоположного торца металлической пластины выполнено в виде винта, ввернутого во внутреннюю поверхность полого металлического цилиндра.
4. Полосно-пропускающий фильтр п.2 или 3, отличающийся тем, что длина металлических пластин равна длине полых металлических цилиндров в направлении продольной оси внешнего цилиндрического экрана.
5. Полосно-пропускающий фильтр по п.4, отличающийся тем, что в торце металлической пластины, соединенном с цилиндрической поверхностью открытого дискового диэлектрического резонатора, выполнен продольный паз, длина которого равна длине цилиндрической поверхности открытого дискового диэлектрического резонатора.
6. Полосно-пропускающий фильтр по п.5, отличающийся тем, что толщина каждой металлической пластины выбрана в пределах 0,05-0,25 периметра внешней цилиндрической поверхности открытого дискового диэлектрического резонатора.
7. Полосно-пропускающий фильтр по п.6, отличающийся тем, что металлическая пластина выполнена в форме трапеции, причем ее торец, меньший из оснований, соединен с цилиндрической поверхностью открытого дискового диэлектрического резонатора.
8. Полосно-пропускающий фильтр по п.7, отличающийся тем, что на внутренней поверхности полых металлических цилиндров, по крайней мере, на одном из концов по периметру выполнено ребро с пазами, в которых расположены торцы металлических пластин.
РИСУНКИ
|
|