|
|
(21), (22) Заявка: 2006103557/28, 08.02.2006
(24) Дата начала отсчета срока действия патента:
08.02.2006
(46) Опубликовано: 20.06.2007
(56) Список документов, цитированных в отчете о поиске:
RU 2244984 С1, 20.01.2005. RU 2164719 С1, 27.03.2001. US 6841457 В2, 11.01.2005. US 6323109 B1, 27.11.2001.
Адрес для переписки:
630090, г.Новосибирск, пр. Акад. Лаврентьева, 13, Институт физики полупроводников Сибирского отделения РАН
|
(72) Автор(ы):
Попов Владимир Павлович (RU), Тысченко Ида Евгеньевна (RU)
(73) Патентообладатель(и):
Институт физики полупроводников Сибирского отделения Российской академии наук (RU)
|
(54) СПОСОБ ИЗГОТОВЛЕНИЯ ГЕТЕРОСТРУКТУРЫ
(57) Реферат:
Изобретение относится к полупроводниковой технологии и направлено на повышение качества гетероструктур, расширение технологической сферы применения способа. Сущность изобретения: в способе изготовления гетероструктуры, заключающемся в том, что в подложку осуществляют имплантацию ионов, предварительно на подложке формируют аморфный слой, а затем в аморфный слой на подложке имплантируют ионы слаборастворимой и легко сегрегирующей примеси или слаборастворимых и легко сегрегирующих примесей при условиях имплантации, обеспечивающих концентрацию внедренной примеси, превышающую теоретически возможный предел растворимости и приводящую к формированию эпитаксиального слоя полупроводника толщиной хотя бы в один монослой, также проводят обеспечивающую формирование отсеченного полупроводникового слоя имплантацию водорода в полупроводниковую пластину, после указанных операций осуществляют формирование на подложке, содержащей на рабочей поверхности аморфный слой, отсеченного полупроводникового слоя при условиях, обеспечивающих водородно-индуцированный перенос его с полупроводниковой пластины, после чего проводят отжиг при условиях, в совокупности обеспечивающих сегрегацию имплантированной в аморфный слой на подложке примеси к границе раздела отсеченный полупроводниковый слой – аморфный слой и эпитаксиальный рост на указанной границе раздела монокристаллического полупроводникового слоя имплантированной примеси или соединений имплантированных примесей. 16 з.п. ф-лы, 2 ил.
Изобретение относится к полупроводниковой технологии и может быть использовано для создания современных приборных структур микроэлектроники, в частности многослойных полупроводниковых структур и многослойных структур полупроводник-диэлектрик при производстве высокоскоростных СБИС (сверхбольших интегральных схем) и других изделий полупроводниковой техники.
Известен способ изготовления гетероструктуры (патент США на изобретение №4920076, МПК: 5 Н01L 21/473), заключающийся в том, что на подложке формируют аморфный слой, окисляя часть поверхности подложки, затем формируют приповерхностный эпитаксиальный слой германия, обеспечивая концентрацию германия в приповерхностной области подложки на окисленных участках, достаточную для формирования, по крайней мере, одного монослоя германия, после чего проводят отжиг в окисляющей атмосфере, содержащей воду, длительностью, достаточной для формирования однородного слоя желаемой толщины окисла кремния и роста эпитаксиального слоя германия, расположенного между подложкой и окислом кремния, при этом в качестве подложки используют пластину кремния, для проведения отжига используют температурный интервал 700÷1200°С, для формирования поверхностного эпитаксиального слоя германия используют имплантацию ионов германия с энергией 50÷160 кэВ и дозой, как минимум равной 1×1015 см-2.
Основными недостатками, которыми обладает данное техническое решение, являются низкое качество получаемых гетероструктур, узкая сфера применения способа, в частности, ограниченность применения данного способа в технологии создания высокоскоростных СБИС. Причинами недостатков является проявление при реализации данного способа целого ряда физических факторов.
Во-первых, проведение имплантации ионов Ge+ в монокристаллическую кремниевую пластину с использованием указанных доз ионов вызывает генерацию радиационных дефектов и аморфизацию слоя, подвергшегося имплантации, в результате происходит снижение качества полупроводниковой пластины. Последующий высокотемпературный отжиг аморфизированного слоя кремния в окисляющей атмосфере вызывает генерацию дислокации и дефектов упаковки в кремнии, лежащем ниже области имплантации, которые стабильны вплоть до температур, близких к температуре плавления кремния, и оказывают отрицательное влияние на электрофизические свойства приборов, создаваемых на основе сформированных данным способом гетероструктур.
Во-вторых, увеличение дозы ионов Ge+ с целью формирования слоев Ge желаемой толщины, которая определяется концентрацией внедренного германия, приводит к росту концентрации радиационных дефектов и аморфизации слоя кремния, подвергшегося имплантации, при этом последние два фактора лимитируют получение желаемой толщины слоев Ge в гетероструктуре.
В-третьих, проведение имплантации ионов вызывает образование дефектов имплантации в окисляемом слое кремния, в результате возникает структурная неоднородность нарушенного имплантацией окисляемого слоя кремния, что приводит к ухудшению однородности по площади пластины и по глубине формируемого диоксида кремния.
В-четвертых, формирование слоя германия на подложке кремния вследствие несоответствия постоянных решетки Ge и Si вызывает возникновение напряжений несоответствия и неоднородности пленки германия. Этот фактор является препятствующим для увеличения желаемой толщины пленки германия в гетероструктуре более 9 нм (D.Fathy, О.W.Holland, С.W.White “Formation of epitaxial layers of Ge on Si substrates by Ge implantation and oxidation”, Aplied Physics letters, v.51 (1987), p.p.1337-1339). Увеличение толщины формируемой пленки германия приводит к увеличению напряжений несоответствия и увеличению неоднородности. Увеличение напряжений несоответствия может стать причиной срыва процесса роста эпитаксиальной пленки германия.
В-пятых, формирование слоя германия на подложке кремния является ограничивающим фактором использования других методов, в частности, молекулярно-лучевой эпитаксии и метода прямого сращивания, для последующего наращивания слоев гетероструктуры после удаления слоя диоксида кремния. При этом имеющиеся в технологическом арсенале способы формирования монокристаллических пленок на разупорядоченной матрице становятся непригодными, так как они предназначены для систем Si-SiO2. Молекулярно-лучевая эпитаксия, часто используемая для формирования многослойных ориентированных структур, оказывается в данном случае малопривлекательной, поскольку требует наличия ориентирующего буферного слоя, в качестве которого может быть использован тонкий слой кремния, с последствиями возникновения механических напряжений при превышении критической толщины наращиваемого слоя монокристаллического Ge и срыва процесса роста из-за несоответствия параметров кристаллических решеток кремния и германия. Применение в данном случае прямого сращивания на основе водородно-индуцированного переноса, характеризуемого использованием гидрофильных процессов, сопровождается образованием нестабильного оксида германия на границе Ge-SiO2, что препятствует полному соединению переносимой пленки и подложки.
Наиболее близким техническим решением к заявляемому является способ изготовления гетероструктуры (патент США на изобретение №6851158, МПК: 7 В32В 9/04), заключающийся в том, что в подложку осуществляют имплантацию ионов кислорода, формирующую в подложке разупорядоченную область с концентрацией кислорода, позволяющей препятствовать диффузии германия, затем проводят имплантацию кислорода, формирующую в указанной подложке аморфизированную область, которая расположена ближе к поверхности, чем разупорядоченная область, причем указанная аморфизированная область сформирована таким образом, что содержит приповерхностный слой подложки, после этого на приповерхностном слое подложки формируют слой германия толщиной 50÷500 нм с содержанием атомов германия от 5% до 40% и, наконец, проводят отжиг, включающий последовательно несколько ступеней, а именно первую, представляющую собой загонку, ступень отжига, проводят в кислородосодержащей атмосфере при температуре, достаточной для инициации формирования в подложке захороненного окисла, вторую, насыщающую, ступень отжига осуществляют при температуре, обеспечивающей формирование сплошного захороненного окисла, третью, представляющую собой загонку, ступень отжига осуществляют в кислородсодержащей атмосфере в интервале температур, начинающемся со значения температуры, достаточной для инициации формирования в подложке захороненного окисла, и включающем все значения температур, обеспечивающих разращивание (увеличение толщины) захороненного окисла в подложке, четвертую, насыщающую, ступень отжига проводят в кислородсодержащей атмосфере при температуре, соответствующей конечному значению температурного интервала, обеспечивающей разращивание захороненного окисла в подложке и четкую границу раздела между слоем захороненного окисла и лежащими на нем слоями, пятую, представляющую собой разгонку, ступень отжига осуществляют в температурном интервале от температур, соответствующих конечной температуре интервала, обеспечивающего разращивание захороненного окисла, и до температур, меньше или равных температуре плавления германия, достигая таким образом однородности концентрации германия, шестую, окисляющую, ступень отжига, проводят при температуре, равной конечной температуре последнего температурного интервала, обеспечивающей окончательное содержание германия и его толщину, при этом в качестве подложки выбрана кремнийсодержащая пластина, а захороненный окисел, являющийся изолирующим слоем, представляет собой окисел кремния.
По сравнению с вышеописанным техническим решением (патент США на изобретение №4920076, МПК: 5 Н01L 21/473) ближайшее техническое решение обладает преимуществами, выражающимися в том, что в изготовленной гетероструктуре бислой Si-Ge изолирован от объема подложки слоем диэлектрика, представляющим захороненный окисел кремния, позволяющим исключить напряжения несоответствия между бислоем Si-Ge и кристаллической подложкой, возникающие из-за несоответствия параметров кристаллических решеток кремния и германия, а также в том, что сформированный бислой Si-Ge может быть использован для эпитаксиального наращивания полупроводниковых слоев, например кремния или германия.
К недостаткам ближайшего технического решения следует отнести низкое качество получаемых гетероструктур, ограничивающее применение данного способа в технологии создания СБИС и нанотехнологии. Причинами недостатков является проявление при реализации данного способа целого ряда факторов.
Во-первых, используемые режимы имплантации и отжиг большой длительности обуславливают значительное увеличение стоимости изготовления гетероструктур по сравнению с исходной стоимостью пластин кремния. Данный фактор является препятствующим на пути применения известного способа в массовом производстве ИС (интегральных схем).
Во-вторых, осуществление указанной имплантации проводят с использованием больших доз (1018 см-2 и выше) ионов и повышенных температур, а осуществление последующих длительных (от единиц до десятков часов) отжигов при весьма высоких температурах (свыше 1300°С), что приводит к большим радиационно-термическим нагрузкам и отражается на качестве структур.
В-третьих, формирование изолирующего слоя посредством имплантации больших доз ионов приводит к разупорядочению подложки с наличием высокой концентрации остаточных дефектов (порядка 106 см-2) в отсеченном слое полупроводника, лежащем над захороненным изолирующим слоем окисла кремния, что является фактором, снижающим качество получаемых структур и ограничивающим использование способа в технологии создания приборов и СБИС.
В-четвертых, используемый в способе процесс формирования захороненного слоя окисла обуславливает его неоднородность по толщине и шероховатость границы раздела между ним и отсеченным слоем полупроводника, лежащим над ним, которая достигает нескольких нанометров, что приводит к ограничению использования данного способа изготовления гетероструктур для создания приборов с пониженной размерностью (одноэлектронных и квантово-размерных приборов), при котором предъявляются высокие требования к совершенству границ раздела.
В-пятых, используемые режимы имплантации обуславливают высокую концентрацию дефектов имплантации и неоднородность захороненного изолирующего слоя, что приводит к неполной релаксации напряжений в верхнем отсеченном слое кремнийсодержащей подложки, который используется в качестве основы для создания бислоя Si-Ge. Это обстоятельство является ограничением для применения известного способа в практических целях, поскольку качество получаемых структур характеризуется низким уровнем.
Техническим результатом изобретения является повышение качества гетероструктур, расширение технологической сферы применения способа.
Технический результат достигается тем, что в способе изготовления гетероструктуры, заключающемся в том, что в подложку осуществляют имплантацию ионов, предварительно на подложке формируют аморфный слой, а затем в аморфный слой на подложке имплантируют ионы слаборастворимой и легко сегрегирующей примеси или слаборастворимых и легко сегрегирующих примесей при условиях имплантации, обеспечивающих концентрацию внедренной примеси, превышающую теоретически возможный предел растворимости и приводящую к формированию эпитаксиального слоя полупроводника толщиной хотя бы в один монослой, также проводят обеспечивающую формирование отсеченного полупроводникового слоя имплантацию водорода в полупроводниковую пластину, после указанных операций осуществляют формирование на подложке, содержащей на рабочей поверхности аморфный слой, отсеченного полупроводникового слоя при условиях, обеспечивающих водородно-индуцированный перенос его с полупроводниковой пластины, после чего проводят отжиг при условиях, в совокупности обеспечивающих сегрегацию имплантированной в аморфный слой на подложке примеси к границе раздела отсеченный полупроводниковый слой – аморфный слой и эпитаксиальный рост на указанной границе раздела монокристаллического полупроводникового слоя имплантированной примеси или соединений имплантированных примесей.
В качестве полупроводниковой пластины используют пластину кремния, перед имплантацией водорода на полупроводниковой пластине выращивают защитный слой окисла кремния, через который проводят имплантацию и который после имплантации удаляют, а в качестве подложки также используют пластину кремния с диэлектрическим слоем в качестве аморфного слоя.
Формирование на подложке, содержащей на рабочей поверхности аморфный слой, отсеченного полупроводникового слоя при условиях, обеспечивающих водородно-индуцированный перенос его с полупроводниковой пластины, осуществляют тем, что сначала полупроводниковую пластину и подложку подвергают обработке, обеспечивающей их сращивание и включающей очистку и гидрофилизацию поверхностей, затем полупроводниковую пластину и подложку соединяют сторонами, которые подвергались всем указанным операциям, одновременно сращивают и расслаивают по полупроводниковой пластине, подвергшейся имплантации водорода, с образованием на аморфном слое на подложке отсеченного полупроводникового слоя, причем соединение и одновременное сращивание с расслоением, а также и предшествующие соединению сушку после отмывки струей ультрачистой деионизованной воды и удаление избыточных физически адсорбированных веществ с их поверхностей, проводят, варьируя температуру 80÷450°С длительностью процедур от 0,1 до 100 часов, в камере с вакуумом 101÷103 Па или в сочетании с использованием инертной сухой атмосферы.
Обеспечивающую формирование отсеченного полупроводникового слоя имплантацию водорода осуществляют путем имплантации ионов водорода со значением энергии 20÷200 кэВ и дозы 2×1016÷1×1017 см-2.
В аморфный слой на подложке имплантируют ионы слабо растворимой и легко сегрегирующей примеси, такой как ионы германия или углерода, или имплантируют ионы слабо растворимых и легко сегрегирующих примесей, таких как ионы сурьмы и индия, или галлия и мышьяка, или галлия и сурьмы, или индия и мышьяка, или галлия и фосфора, или индия и фосфора, при условиях, обеспечивающих концентрацию внедренной примеси, превышающую теоретически возможный предел растворимости и приводящую к формированию эпитаксиального слоя полупроводника толщиной хотя бы в один монослой, таких как значение дозы ионов, равное от 1×1015 до 1×1017 см-2, и значение энергии, равное от 20 до 500 кэВ.
Отжиг проводят при условиях, в совокупности обеспечивающих сегрегацию имплантированной в аморфный слой на подложке примеси к границе раздела отсеченный полупроводниковый слой – аморфный слой и эпитаксиальный рост на указанной границе раздела монокристаллического полупроводникового слоя имплантированной примеси или соединений имплантированных примесей, а именно при значении температуры отжига 500÷1100°С и его длительности 0,5÷100 часов.
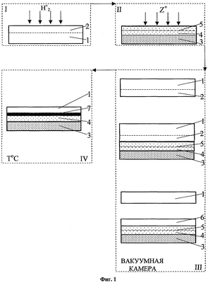
Сущность изобретения поясняется нижеследующим описанием и прилагаемыми фигурами. На Фиг.1 схематично представлены основные стадии изготовления гетероструктуры: I – имплантация ионов водорода в полупроводниковую пластину, II – имплантация ионов слабо растворимых и легко сегрегирующих примесей в аморфный слой на подложке, III – сушка, соединение и сращивание полупроводниковой пластины и подложки, отслаивание тонкой пленки полупроводника в вакуумной камере или инертной атмосфере, IV – высокотемпературный отжиг подложки с аморфным слоем, подвергшимся имплантации, и отсеченным слоем полупроводника, сегрегация имплантированной в аморфный слой примеси к границе раздела отсеченный полупроводниковый слой – аморфный слой и эпитаксиальный рост полупроводникового слоя имплантированной примеси на границе раздела, где 1 – полупроводниковая пластина, 2 – слой полупроводниковой пластины, подвергшийся имплантации водорода, 3 – подложка, 4 – аморфный слой на подложке, 5 – глубина залегания имплантированных ионов примеси, 6 – отсеченный слой полупроводника, 7 – эпитаксиальный слой полупроводника из имплантированной примеси/примесей на границе раздела отсеченный полупроводниковый слой – аморфный слой. На Фиг.2 показана доля германия, находящегося в нерегулярных позициях относительно узловых положений кремниевой матрицы в направлении (100), по данным измерений резерфордовского обратного рассеяния и каналирования ионов Не+ с энергией 1,7 МэВ в структурах, содержащих подложку кремния, аморфный слой, представляющий собой диэлектрик SiO2 толщиной 290 нм, подвергшийся имплантации ионов Ge+ с энергией 40 кэВ дозой 8×1015 см-2, отсеченный слой кремния толщиной 600 нм, полученных после отжига в атмосфере N2 в течение 30 минут при температурах 900°С (а) и 1100°С (б), где 8 – выход атомов германия в нерегулярных позициях в условиях максимально разориентированной кремниевой матрицы относительно тестирующего пучка Не+ для структур, подвергшихся отжигу при 900°С, 9 – выход атомов германия в нерегулярных позициях в условиях ориентированной кремниевой матрицы относительно тестирующего пучка He+ для структур, подвергшихся отжигу при 900°С, 10 – выход атомов германия в нерегулярных позициях в условиях максимально разориентированной кремниевой матрицы относительно тестирующего пучка Не+ для структур, подвергшихся отжигу при 1100°С, 11 – выход атомов германия в нерегулярных позициях в условиях ориентированной кремниевой матрицы относительно тестирующего пучка Не+ для структур, подвергшихся отжигу при 1100°С.
В предлагаемом способе создание полупроводниковых эпитаксиальных гетероструктур с использованием ионной имплантации и прямого переноса базируется на физических закономерностях, определяющих процессы переноса полупроводниковых слоев, процессы сегрегации и кристаллизации имплантированных слабо растворимых примесей на границе раздела, а также на имеющихся экспериментальных данных.
В основе процессов переноса полупроводниковых слоев, включающих в себя низкотемпературное сращивание полупроводниковых пластин с одновременным переносом тонкой пленки, используется различие поверхностных энергий пар гидрофильных и гидрофобных поверхностей в различных температурных интервалах. В запатентованном техническом решении (патент РФ на изобретение №2217842 «Способ изготовления структуры кремний-на-изоляторе» авторов Попова В.П. и Тысченко И.Е.) эта особенность была положена в основу создания структур Si/SiO2/Si. В зависимости от чистоты сращиваемых поверхностей пластин эта разница поверхностных энергий может достигать нескольких порядков величины, и поэтому первый этап создания полупроводниковых гетероструктур следует рассматривать как процесс соединения гидрофильных поверхностей (включающий сращивание полупроводниковых пластин) и разрыва гидрофобных поверхностей (водородно-индуцированный перенос тонкой пленки с образованием отсеченного слоя). Задачей первого этапа (Фиг.1, стадии I-III) предлагаемого способа изготовления гетероструктур является формирование на подложке, содержащей на рабочей поверхности аморфный слой, отсеченного полупроводникового слоя посредством водородно-индуцированного переноса с полупроводниковой пластины.
Параметрами, определяющими величину поверхностной энергии в любом случае, являются температура и высокое структурное качество поверхностей. В связи с этим, одним из главных требований, необходимых для достижения полного (100%) гидрофильного соединения полупроводниковых пластин, является обеспечение предельно возможной чистоты поверхностей сращиваемых пластин, отсутствия физически адсорбированных примесей на исходных поверхностях и последующее проведение непосредственно самой гидрофилизации поверхностей пластин. После гидрофилизации пластины следует просушить и удалить с их поверхности физически адсорбированные вещества, для чего их помещают в центрифугу вакуумной камеры и нагревают там до необходимых для этого температур. Затем их соединяют в пары.
Внутренние гидрофобные поверхности в соседних атомных плоскостях, которые параллельны поверхности пластины, предварительно формируют в слое полупроводника, подвергающемся имплантации водорода. Формирование таких поверхностей происходит путем образования в подвергшемся имплантации слое Х-Н-Н-Х связей за счет захвата водорода на растянутые и ослабленные Х-Х связи полупроводниковой матрицы, перпендикулярные поверхности. Для того чтобы обеспечить на глубине среднего проективного пробега ионов Rp двух гидрофобных (100) плоскостей с полным (100%) покрытием Х-Н-Н-Х связями при имплантации, обеспечивающей формирование отсеченного полупроводникового слоя, необходимы дозы ионов Н+, Н2 + 2×1016 см-2 и выше при их энергиях от 20 до 200 кэВ.
Второй этап (Фиг.1, стадия IV) создания гетероструктур заключается в формировании полупроводникового слоя (см. Фиг.1, позиция 7), наличие которого в изготовленной структуре дает основание отнести ее к гетероструктурам. В основу реализации данного этапа положена способность примесей, обладающих низкой растворимостью в веществе, легко вытесняться в условиях высокотемпературных воздействий из исходной матрицы с последующей диффузией в окружающую среду или с последующей сегрегацией к имеющимся границам раздела. Например, как в случае с In, который, как и Ga, легко сегрегирует к границе раздела Si/SiO2 и быстро диффундирует при температуре 1000°С (D.A.Antoniadis and I. Moskowitz. Diffusion of indium in silicon inert and oxidizing ambients. J. Appl. Phys. v.53, no.12, p.p.9214-9216, (1982)), в случае с ускоренной диффузией ионно-имплантированного Ge в SiO2 с его последующей сегрегацией к границе раздела между термическим окислом и кремниевой подложкой с образованием тонкого слоя (J. Von Borany, R.Grötzschel, К.Н.Heinig, A.Markwitz, W.Matz, В.Schmidt, W.Skorupa. Multimodal impurity redistribution and nanocluster formation in Ge implanted silicon dioxide films. Appl. Phys. Lett. v.71, no.22, p.p.3215-3217, (1997), а также L.Rebohle, I.E.Tyschenko, J. von Borany, B.Schmidt, R.Grötzschel, A.Markwitz, R.A.Yankov, H.Fröb, W.Skorupa. Strong blue and violet light emission from silicon- and germanium-implanted silicon dioxide films. Mater. Res. Soc. Symp. Proc., v.486, p.p.175-180, (1998)).
Несмотря на то что механизм протекания данных процессов до сих пор остается невыясненным, показано, что определяющими их эффективность параметрами являются концентрация внедренной примеси (она должна превышать теоретически возможный предел растворимости) и температура термического воздействия. Во всех исследуемых случаях температура отжига обеспечивает условие, когда энергия связи между внедренной примесью и атомами матрицы слабее, чем энергия связи между собственными атомами матрицы. При этом собственные атомы матрицы замещают внедренную примесь в связующих состояниях с последующим вытеснением ее на границу раздела или в окружающую среду, где она имеет больший коэффициент растворимости.
В предлагаемом способе создания полупроводниковых гетероструктур используют комбинации сред, когда внедряемая среда, в качестве которой выступают имплантированные ионы, имеет низкую растворимость, например, как в случае Ge в SiO2, или In в SiO2, или Ga в SiO2, или As в SiO2 и т.д. Это обеспечивает сегрегацию имплантированной примеси к границе раздела с отсеченным слоем, перенесенным с полупроводниковой кристаллической пластины при высокотемпературной обработке. Наличие данной монокристаллической среды с низким коэффициентом растворимости внедренной примеси способно обеспечить не только накопление ее на границе раздела, но и эпитаксиальную кристаллизацию. Механизм этого процесса остается также до сих пор не исследованным, хотя экспериментальные данные, подтверждающие его возможность, существуют (D.Fathy, О.W.Holland, С.W.White. Formation of epitaxial layers of Ge on Si substrates by Ge implantation and oxidation. Applied Physics Letters, v.51, (1987), p.p.1337-1339). В подтверждение существования указанного процесса, который является одним из основополагающих заявляемого способа изготовления гетероструктур, авторы приводят полученные ими данные (см. Фиг.2).
На основе изложенных физических представлений достижение технического результата обеспечивается реализацией следующих стадий (см. Фиг.1):
1. В полупроводниковую пластину проводят обеспечивающую формирование отсеченного полупроводникового слоя имплантацию водорода. При этом в качестве полупроводниковой пластины используют пластину кремния. Перед имплантацией водорода на полупроводниковой пластине может быть выращен защитный слой окисла кремния, через который проводят имплантацию и который после имплантации удаляют. Для имплантации используют ионы водорода со значением энергии 20÷200 кэВ и дозы 2×1016÷1×1017 см-2 (I стадия. Фиг.1).
2. В подложку осуществляют имплантацию ионов. Предварительно на подложке формируют аморфный слой, а затем в аморфный слой на подложке имплантируют ионы слабо растворимой и легко сегрегирующей примеси или слабо растворимых и легко сегрегирующих примесей при условиях имплантации, обеспечивающих концентрацию внедренной примеси, превышающую теоретически возможный предел растворимости и приводящую к формированию эпитаксиального слоя полупроводника толщиной хотя бы в один монослой. В качестве подложки также используют пластину кремния с диэлектрическим слоем в качестве аморфного слоя, а условия имплантации, обеспечивающие концентрацию внедренной примеси, превышающую теоретически возможный предел растворимости и приводящую к формированию эпитаксиального слоя полупроводника толщиной хотя бы в один монослой, таковы, что величина дозы ионов равна от 1×1015 до 1×1017 см-2, а величина энергии от 20 до 500 кэВ. В качестве ионов слабо растворимой и легко сегрегирующей примеси используют ионы германия или углерода, или имплантируют ионы слабо растворимых и легко сегрегирующих примесей, таких как ионы сурьмы и индия, или галлия и мышьяка, или галлия и сурьмы, или индия и мышьяка, или галлия и фосфора, или индия и фосфора (II стадия, Фиг.2).
3. После указанных операций осуществляют формирование на подложке, содержащей на рабочей поверхности аморфный слой, отсеченного полупроводникового слоя при условиях, обеспечивающих водородно-индуцированный перенос его с полупроводниковой пластины, и заканчивают первый этап реализации предлагаемого способа. Для осуществления этого сначала полупроводниковую пластину и подложку подвергают обработке, обеспечивающей их сращивание. Данная обработка включает очистку и гидрофилизацию поверхностей. Затем полупроводниковую пластину соединяют с подложкой сторонами, которые подвергались всем указанным операциям, одновременно сращивают и расслаивают по полупроводниковой пластине, подвергшейся имплантации водорода, с образованием на аморфном слое на подложке отсеченного полупроводникового слоя. Соединение и одновременное сращивание с расслоением, а также и предшествующие соединению сушку после отмывки струей ультрачистой деионизованной воды и удаление избыточных физически адсорбированных веществ с их поверхностей, проводят при варьировании температуры 80÷450°С длительностью процедур от 0,1 до 100 часов, в камере с вакуумом 101÷103 Па или в сочетании с использованием инертной сухой атмосферы (III стадия. Фиг.1).
4. Проводят отжиг при условиях, в совокупности обеспечивающих сегрегацию имплантированной в аморфный слой на подложке примеси к границе раздела отсеченный полупроводниковый слой – аморфный слой и эпитаксиальный рост на указанной границе раздела монокристаллического полупроводникового слоя имплантированной примеси или соединений имплантированных примесей. Условиями отжига являются поддерживание температуры и длительности, в совокупности обеспечивающих сегрегацию имплантированной в аморфный слой на подложке примеси к границе раздела отсеченный полупроводниковый слой – аморфный слой и эпитаксиальный рост на указанной границе раздела монокристаллического полупроводникового слоя имплантированной примеси или соединений имплантированных примесей, а именно величин температур отжига 500÷1100°С, его длительности 0,5÷100 часов (IV стадия. Фиг.1).
Основное отличие предлагаемого способа заключается в осуществлении в аморфный слой на подложке, выполняющий роль аморфной матрицы, имплантации ионов слабо растворимых и легко сегрегирующих примесей и последующем перенесении на аморфный слой на подложке монокристаллического полупроводникового слоя с другой пластины, играющего роль затравки для последующего эпитаксиального роста, при этом граница раздела между ним и аморфным слоем является местом эпитаксиального роста полупроводникового слоя, в результате которого формируется гетероструктура. Путем осуществления имплантации участвующих в формировании гетерослоя ионов примесей именно в аморфный слой на подложке устраняется возможность разупорядочения и аморфизации кристаллической затравки (перенесенного отсеченного полупроводникового слоя) и подложки, устраняются напряжения несоответствия, возникающие при эпитаксиальном росте полупроводниковых пленок с постоянной решетки, отличающейся от постоянной решетки подложки, появляется возможность наращивать толщину внутреннего эпитаксиального слоя (см. Фиг.1, стадия IV, позиция 7) за счет релаксации отсеченного полупроводникового слоя (затравки), или при удалении отсеченного полупроводникового слоя (затравки) удается обеспечить отсутствие введения напряжений несоответствия между выращенным на границе раздела эпитаксиальным слоем и подложкой.
В качестве сведений, подтверждающих возможность реализации заявляемого способа, приводим нижеследующие примеры.
Пример 1.
В полупроводниковую пластину проводят обеспечивающую формирование отсеченного полупроводникового слоя имплантацию водорода. При этом в качестве полупроводниковой пластины используют пластину кремния. Перед имплантацией H2 + на кремниевой пластине выращивают защитный слой окисла кремния толщиной 50 нм, через который проводят имплантацию и который после имплантации удаляют. Для имплантации используют ионы водорода с энергией 140 кэВ и дозой 2,5×1016 см-2.
В подложку осуществляют имплантацию ионов Ge+. Предварительно на подложке формируют аморфный слой, а затем в аморфный слой на подложке имплантируют ионы слаборастворимой и легко сегрегирующей примеси, при условиях имплантации, обеспечивающих концентрацию внедренной примеси, превышающую теоретически возможный предел растворимости и приводящую к формированию эпитаксиального слоя полупроводника толщиной хотя бы в один монослой. При этом в качестве подложки также используют пластину кремния с диэлектрическим слоем термически выращенного окисла кремния толщиной 280 нм в качестве аморфного слоя. Условия имплантации таковы, что доза ионов Ge+ равна 8×1015 см-2, а энергия 40 кэВ.
После указанных операций осуществляют формирование на подложке, содержащей на рабочей поверхности аморфный слой, отсеченного полупроводникового слоя посредством водородно-индуцированного переноса с полупроводниковой пластины. Для осуществления этого сначала полупроводниковую пластину и подложку подвергают обработке, обеспечивающей их сращивание. Данная обработка включает очистку и гидрофилизацию поверхностей. Затем полупроводниковую пластину соединяют с подложкой сторонами, которые подвергались всем указанным операциям, одновременно сращивают и расслаивают по полупроводниковой пластине, подвергшейся имплантации водорода, с образованием на аморфном слое на подложке отсеченного полупроводникового слоя. Соединение и одновременное сращивание с расслоением при температуре 450°С в течение 0,5 часа, а также и предшествующие соединению сушку при 200°С в течение 0,1 часа после отмывки струей ультрачистой деионизованной воды и удаление избыточных физически адсорбированных веществ с их поверхностей проводят в камере с уровнем вакуума 103 Па.
Проводят отжиг при условиях, в совокупности обеспечивающих сегрегацию имплантированной в аморфный слой на подложке примеси к границе раздела отсеченный полупроводниковый слой – аморфный слой и эпитаксиальный рост на указанной границе раздела монокристаллического полупроводникового слоя имплантированной примеси германия до образования кристаллического равномерного тонкого эпитаксиального слоя толщиной порядка 13 монослоев, то есть в инертной атмосфере азота, при температуре 1100°С в течение 0,5 часа. В конечном результате имеем структуру, свободную от дислокации и дефектов несоответствия, содержащую 0,6 мкм Si, 13 монослоев Ge, 0,28 мкм SiO2 на подложке Si.
Пример 2.
В полупроводниковую пластину проводят обеспечивающую формирование отсеченного полупроводникового слоя имплантацию водорода. При этом в качестве полупроводниковой пластины используют пластину кремния. Перед имплантацией Н2 + на кремниевой пластине выращивают защитный слой окисла кремния толщиной 50 нм, через который проводят имплантацию и который после имплантации удаляют. Для имплантации используют ионы водорода с энергией 140 кэВ и дозой 2,5×1016 см-2.
В подложку осуществляют последовательно имплантацию ионов In+ и Sb+. Предварительно на подложке формируют аморфный слой, а затем в аморфный слой на подложке имплантируют ионы слаборастворимых и легко сегрегирующих примесей при условиях имплантации, обеспечивающих концентрацию внедренной примеси, превышающую теоретически возможный предел растворимости и приводящую к формированию эпитаксиального слоя полупроводника толщиной хотя бы в один монослой. При этом в качестве подложки также используют пластину кремния с диэлектрическим слоем термически выращенного окисла кремния толщиной 280 нм в качестве аморфного слоя. Условия имплантации таковы, что доза ионов In+ равна 3×1015 см-2, а энергия 40 кэВ, доза ионов Sb+ равна 3×1015 см-2, а энергия 40 кэВ.
После указанных операций осуществляют формирование на подложке, содержащей на рабочей поверхности аморфный слой, отсеченного полупроводникового слоя посредством водородно-индуцированного переноса с полупроводниковой пластины. Для осуществления этого сначала полупроводниковую пластину и подложку подвергают обработке, обеспечивающей их сращивание. Данная обработка включает очистку и гидрофилизацию поверхностей. Затем полупроводниковую пластину соединяют с подложкой сторонами, которые подвергались всем указанным операциям, одновременно сращивают и расслаивают по полупроводниковой пластине, подвергшейся имплантации водорода, с образованием на аморфном слое на подложке отсеченного полупроводникового слоя. Соединение и одновременное сращивание с расслоением при температуре 350°С в течение 1 часа, а также и предшествующие соединению сушку при 200°С в течение 0,1 часа после отмывки струей ультрачистой деионизованной воды и удаление избыточных физически адсорбированных веществ с их поверхностей проводят в камере с уровнем вакуума 102 Па.
Проводят отжиг при условиях, в совокупности обеспечивающих сегрегацию имплантированных в аморфный слой на подложке примесей к границе раздела отсеченный полупроводниковый слой – аморфный слой и эпитаксиальный рост на указанной границе раздела полупроводникового слоя соединений имплантированных примесей, то есть в инертной атмосфере азота, при температуре 500°С в течение 100 часов. В результате имеем структуру, свободную от дислокации и дефектов несоответствия, содержащую 0,6 мкм Si, 5 монослоев InSb, 0,28 мкм SiO2 на подложке Si.
Пример 3.
В полупроводниковую пластину проводят обеспечивающую формирование отсеченного полупроводникового слоя имплантацию водорода. При этом в качестве полупроводниковой пластины используют пластину кремния. Перед имплантацией Н+ на кремниевой пластине выращивают защитный слой окисла кремния толщиной 5 нм, через который проводят имплантацию и который после имплантации удаляют. Для имплантации используют ионы водорода с энергией 20 кэВ и дозой 4×1016 см-2.
В подложку осуществляют имплантацию ионов Ge+. Предварительно на подложке формируют аморфный слой, а затем в аморфный слой на подложке имплантируют ионы слаборастворимой и легко сегрегирующей примеси, при условиях имплантации, обеспечивающих концентрацию внедренной примеси, превышающую теоретически возможный предел растворимости и приводящую к формированию эпитаксиального слоя полупроводника толщиной хотя бы в один монослой. При этом в качестве подложки также используют пластину кремния с диэлектрическим слоем термически выращенного окисла кремния толщиной 280 нм в качестве аморфного слоя. Условия имплантации таковы, что доза ионов Ge+ равна 1×1015 см-2, а энергия 20 кэВ.
После указанных операций осуществляют формирование на подложке, содержащей на рабочей поверхности аморфный слой, отсеченного полупроводникового слоя посредством водородно-индуцированного переноса с полупроводниковой пластины. Для осуществления этого сначала полупроводниковую пластину и подложку подвергают обработке, обеспечивающей их сращивание. Данная обработка включает очистку и гидрофилизацию поверхностей. Затем полупроводниковую пластину соединяют с подложкой сторонами, которые подвергались всем указанным операциям, одновременно сращивают и расслаивают по полупроводниковой пластине, подвергшейся имплантации водорода, с образованием на аморфном слое на подложке отсеченного полупроводникового слоя. Соединение и одновременное сращивание с расслоением при температуре 200°С в течение 0,15 часа, в инертной сухой атмосфере, а также предшествующие соединению сушку при 200°С в течение 0,1 часа после отмывки струей ультрачистой деионизованной воды и удаление избыточных физически адсорбированных веществ с их поверхностей проводят в камере с уровнем вакуума 101 Па.
Проводят отжиг при условиях, в совокупности обеспечивающих сегрегацию имплантированной в аморфный слой на подложке примеси к границе раздела отсеченный полупроводниковый слой – аморфный слой и эпитаксиальный рост на указанной границе раздела монокристаллического полупроводникового слоя имплантированной примеси германия до образования кристаллического равномерного тонкого эпитаксиального слоя толщиной 1 монослой, то есть в инертной атмосфере азота, при температуре 1000°С в течение 1 часа. В конечном результате имеем структуру, свободную от дислокации и дефектов несоответствия, содержащую 0,2 мкм Si, 1 монослой Ge, 0,28 мкм SiO2 на подложке Si.
Пример 4.
В полупроводниковую пластину проводят обеспечивающую формирование отсеченного полупроводникового слоя имплантацию водорода. При этом в качестве полупроводниковой пластины используют пластину кремния. Перед имплантацией H2 + на кремниевой пластине выращивают защитный слой окисла кремния толщиной 50 нм, через который проводят имплантацию и который после имплантации удаляют. Для имплантации используют ионы водорода с энергией 200 кэВ и дозой 1×1017 см-2.
В подложку осуществляют последовательно имплантацию ионов In+ и Sb+. Предварительно на подложке формируют аморфный слой, а затем в аморфный слой на подложке имплантируют ионы слаборастворимых и легко сегрегирующих примесей при условиях имплантации, обеспечивающих концентрацию внедренной примеси, превышающую теоретически возможный предел растворимости и приводящую к формированию эпитаксиального слоя полупроводника толщиной хотя бы в один монослой. При этом в качестве подложки также используют пластину кремния с диэлектрическим слоем термически выращенного окисла кремния толщиной 280 нм в качестве аморфного слоя. Условия имплантации таковы, что доза ионов In+ равна 4×1015 см-2, а энергия 500 кэВ, доза ионов Sb+ равна 4×1015 см-2, а энергия 500 кэВ.
После указанных операций осуществляют формирование на подложке, содержащей на рабочей поверхности аморфный слой, отсеченного полупроводникового слоя посредством водородно-индуцированного переноса с полупроводниковой пластины. Для осуществления этого сначала полупроводниковую пластину и подложку подвергают обработке, обеспечивающей их сращивание. Данная обработка включает очистку и гидрофилизацию поверхностей. Затем полупроводниковую пластину соединяют с подложкой сторонами, которые подвергались всем указанным операциям, одновременно сращивают и расслаивают по полупроводниковой пластине, подвергшейся имплантации водорода, с образованием на аморфном слое на подложке отсеченного полупроводникового слоя. Соединение и одновременное сращивание с расслоением при температуре 350°С в течение 1 часа, а также и предшествующие соединению сушку при 200°С в течение 0,1 часа после отмывки струей ультрачистой деионизованной воды и удаление избыточных физически адсорбированных веществ с их поверхностей проводят в камере с уровнем вакуума 101 Па.
Проводят отжиг при условиях, в совокупности обеспечивающих сегрегацию имплантированных в аморфный слой на подложке примесей к границе раздела отсеченный полупроводниковый слой – аморфный слой и эпитаксиальный рост на указанной границе раздела полупроводникового слоя соединений имплантированных примесей до образования кристаллического равномерного тонкого эпитаксиального слоя InSb толщиной порядка 10 монослоев, то есть в инертной атмосфере азота, при температуре 1000°С в течение 5 часов. В результате имеем структуру, свободную от дислокации и дефектов несоответствия, содержащую 0,7 мкм Si, 10 монослоев InSb, 0,28 мкм SiO2, на подложке Si.
Пример 5.
В полупроводниковую пластину проводят обеспечивающую формирование отсеченного полупроводникового слоя имплантацию водорода. При этом в качестве полупроводниковой пластины используют пластину кремния. Перед имплантацией Н2 + на кремниевой пластине выращивают защитный слой окисла кремния толщиной 50 нм, через который проводят имплантацию и который после имплантации удаляют. Для имплантации используют ионы водорода с энергией 120 кэВ и дозой 2×1016 см-2.
В подложку осуществляют последовательно имплантацию ионов Ga+ и As+. Предварительно на подложке формируют аморфный слой, а затем в аморфный слой на подложке имплантируют ионы слаборастворимых и легко сегрегирующих примесей при условиях имплантации, обеспечивающих концентрацию внедренной примеси, превышающую теоретически возможный предел растворимости и приводящую к формированию эпитаксиального слоя полупроводника толщиной хотя бы в один монослой. При этом в качестве подложки также используют пластину кремния с диэлектрическим слоем термически выращенного окисла кремния толщиной 280 нм в качестве аморфного слоя. Условия имплантации таковы, что доза ионов Ga+ равна 5×1015 см-2, а энергия 60 кэВ, доза ионов As+ равна 5×1015 см-2, а энергия 100 кэВ.
После указанных операций осуществляют формирование на подложке, содержащей на рабочей поверхности аморфный слой, отсеченного полупроводникового слоя посредством водородно-индуцированного переноса с полупроводниковой пластины. Для осуществления этого сначала полупроводниковую пластину и подложку подвергают обработке, обеспечивающей их сращивание. Данная обработка включает очистку и гидрофилизацию поверхностей. Затем полупроводниковую пластину соединяют с подложкой сторонами, которые подвергались всем указанным операциям, одновременно сращивают и расслаивают по полупроводниковой пластине, подвергшейся имплантации водорода, с образованием на аморфном слое на подложке отсеченного полупроводникового слоя. Соединение и одновременное сращивание с расслоением при температуре 350°С в течение 1 часа, а также и предшествующие соединению сушку при 200°С в течение 0,1 часа после отмывки струей ультрачистой деионизованной воды и удаление избыточных физически адсорбированных веществ с их поверхностей проводят в камере с уровнем вакуума в 102 Па.
Проводят отжиг при условиях, в совокупности обеспечивающих сегрегацию имплантированных в аморфный слой на подложке примесей к границе раздела отсеченный полупроводниковый слой – аморфный слой и эпитаксиальный рост на указанной границе раздела полупроводникового слоя соединений имплантированных примесей до образования кристаллического равномерного тонкого эпитаксиального слоя GaAs толщиной порядка 13 монослоев, то есть в инертной атмосфере азота, при температуре 1000°С в течение 1 часа. В результате имеем структуру, свободную от дислокации и дефектов несоответствия, содержащую 0,5 мкм Si, 13 монослоев GaAs, 0,28 мкм SiO2, на подложке Si.
Пример 6.
В полупроводниковую пластину проводят обеспечивающую формирование отсеченного полупроводникового слоя имплантацию водорода. При этом в качестве полупроводниковой пластины используют пластину кремния. Перед имплантацией H2 + на кремниевой пластине выращивают защитный слой окисла кремния толщиной 50 нм, через который проводят имплантацию и который после имплантации удаляют. Для имплантации используют ионы водорода с энергией 140 кэВ и дозой 2,5×1016 см-2.
В подложку осуществляют последовательно имплантацию ионов In+ и Р+. Предварительно на подложке формируют аморфный слой, а затем в аморфный слой на подложке имплантируют ионы слаборастворимых и легко сегрегирующих примесей при условиях имплантации, обеспечивающих концентрацию внедренной примеси, превышающую теоретически возможный предел растворимости и приводящую к формированию эпитаксиального слоя полупроводника толщиной хотя бы в один монослой. При этом в качестве подложки также используют пластину кремния с диэлектрическим слоем термически выращенного окисла кремния толщиной 280 нм в качестве аморфного слоя. Условия имплантации таковы, что доза ионов In+ равна 4×1015 см-2, а энергия 60 кэВ, доза ионов Р+ равна 3×1015 см-2, а энергия 50 кэВ.
После указанных операций осуществляют формирование на подложке, содержащей на рабочей поверхности аморфный слой, отсеченного полупроводникового слоя посредством водородно-индуцированного переноса с полупроводниковой пластины. Для осуществления этого сначала полупроводниковую пластину и подложку подвергают обработке, обеспечивающей их сращивание. Данная обработка включает очистку и гидрофилизацию поверхностей. Затем полупроводниковую пластину соединяют с подложкой сторонами, которые подвергались всем указанным операциям, одновременно сращивают и расслаивают по полупроводниковой пластине, подвергшейся имплантации водорода, с образованием на аморфном слое на подложке отсеченного полупроводникового слоя. Соединение и одновременное сращивание с расслоением при температуре 350°С в течение 1 часа, а также и предшествующие соединению сушку при 200°С в течение 0,1 часа после отмывки струей ультрачистой деионизованной воды и удаление избыточных физически адсорбированных веществ с их поверхностей проводят в камере с уровнем вакуума 101 Па.
Проводят отжиг при условиях, в совокупности обеспечивающих сегрегацию имплантированных в аморфный слой на подложке примесей к границе раздела отсеченный полупроводниковый слой – аморфный слой и эпитаксиальный рост на указанной границе раздела полупроводникового слоя соединений имплантированных примесей до образования кристаллического равномерного тонкого эпитаксиального слоя InP толщиной порядка 13 монослоев, то есть в инертной атмосфере азота, при температуре 1000°С в течение 1 часа. В результате имеем структуру, свободную от дислокации и дефектов несоответствия, содержащую 0,6 мкм Si, 13 монослоев InP, 0,28 мкм SiO2, на подложке Si.
Пример 7.
В полупроводниковую пластину проводят обеспечивающую формирование отсеченного полупроводникового слоя имплантацию водорода. При этом в качестве полупроводниковой пластины используют пластину кремния. Перед имплантацией H2 + на кремниевой пластине выращивают защитный слой окисла кремния толщиной 50 нм, через который проводят имплантацию и который после имплантации удаляют. Для имплантации используют ионы водорода с энергией 140 кэВ и дозой 2,5×1016 см-2.
В подложку осуществляют последовательно имплантацию ионов Ga+ и Р+. Предварительно на подложке формируют аморфный слой, а затем в аморфный слой на подложке имплантируют ионы слаборастворимых и легко сегрегирующих примесей при условиях имплантации, обеспечивающих концентрацию внедренной примеси, превышающую теоретически возможный предел растворимости и приводящую к формированию эпитаксиального слоя полупроводника толщиной хотя бы в один монослой. При этом в качестве подложки также используют пластину кремния с диэлектрическим слоем термически выращенного окисла кремния толщиной 280 нм в качестве аморфного слоя. Условия имплантации таковы, что доза ионов Ga + равна 4×1015 см-2, а энергия 50 кэВ, доза ионов Р+ равна 4×1015 см-2, а энергия 50 кэВ.
После указанных операций осуществляют формирование на подложке, содержащей на рабочей поверхности аморфный слой, отсеченного полупроводникового слоя посредством водородно-индуцированного переноса с полупроводниковой пластины. Для осуществления этого сначала полупроводниковую пластину и подложку подвергают обработке, обеспечивающей их сращивание. Данная обработка включает очистку и гидрофилизацию поверхностей. Затем полупроводниковую пластину соединяют с подложкой сторонами, которые подвергались всем указанным операциям, одновременно сращивают и расслаивают по полупроводниковой пластине, подвергшейся имплантации водорода, с образованием на аморфном слое на подложке отсеченного полупроводникового слоя. Соединение и одновременное сращивание с расслоением при температуре 350°С в течение 1 часа, а также и предшествующие соединению сушку при 200°С в течение 0,1 часа после отмывки струей ультрачистой деионизованной воды и удаление избыточных физически адсорбированных веществ с их поверхностей проводят в камере с уровнем вакуума 101 Па.
Проводят отжиг при условиях, в совокупности обеспечивающих сегрегацию имплантированных в аморфный слой на подложке примесей к границе раздела отсеченный полупроводниковый слой – аморфный слой и эпитаксиальный рост на указанной границе раздела полупроводникового слоя соединений имплантированных примесей до образования кристаллического равномерного тонкого эпитаксиального слоя GaP толщиной порядка 13 монослоев, то есть в инертной атмосфере азота, при температуре 1000°С в течение 0,5 часа. В результате имеем структуру, свободную от дислокации и дефектов несоответствия, содержащую 0,6 мкм Si, 13 монослоев GaP, 0,28 мкм SiO2, на подложке Si.
Пример 8.
В полупроводниковую пластину проводят обеспечивающую формирование отсеченного полупроводникового слоя имплантацию водорода. При этом в качестве полупроводниковой пластины используют пластину кремния. Перед имплантацией H2 + на кремниевой пластине выращивают защитный слой окисла кремния толщиной 50 нм, через который проводят имплантацию и который после имплантации удаляют. Для имплантации используют ионы водорода с энергией 140 кэВ и дозой 2,5×1016 см-2.
В подложку осуществляют последовательно имплантацию ионов In+ и As+. Предварительно на подложке формируют аморфный слой, а затем в аморфный слой на подложке имплантируют ионы слаборастворимых и легко сегрегирующих примесей при условиях имплантации, обеспечивающих концентрацию внедренной примеси, превышающую теоретически возможный предел растворимости и приводящую к формированию эпитаксиального слоя полупроводника толщиной хотя бы в один монослой. При этом в качестве подложки также используют пластину кремния с диэлектрическим слоем термически выращенного окисла кремния толщиной 280 нм в качестве аморфного слоя. Условия имплантации таковы, что доза ионов In+ равна 4×1015 см-2, а энергия 100 кэВ, доза ионов As+ равна 4×1015 см-2, а энергия 70 кэВ.
После указанных операций осуществляют формирование на подложке, содержащей на рабочей поверхности аморфный слой, отсеченного полупроводникового слоя посредством водородно-индуцированного переноса с полупроводниковой пластины. Для осуществления этого сначала полупроводниковую пластину и подложку подвергают обработке, обеспечивающей их сращивание. Данная обработка включает очистку и гидрофилизацию поверхностей. Затем полупроводниковую пластину соединяют с подложкой сторонами, которые подвергались всем указанным операциям, одновременно сращивают и расслаивают по полупроводниковой пластине, подвергшейся имплантации водорода, с образованием на аморфном слое на подложке отсеченного полупроводникового слоя. Соединение и одновременное сращивание с расслоением при температуре 350°С в течение 1 часа, а также и предшествующие соединению сушку при 200°С в течение 0,1 часа после отмывки струей ультрачистой деионизованной воды и удаление избыточных физически адсорбированных веществ с их поверхностей проводят в камере с уровнем вакуума 103 Па.
Проводят отжиг при условиях, в совокупности обеспечивающих сегрегацию имплантированных в аморфный слой на подложке примесей к границе раздела отсеченный полупроводниковый слой – аморфный слой и эпитаксиальный рост на указанной границе раздела полупроводникового слоя соединений имплантированных примесей до образования кристаллического равномерного тонкого эпитаксиального слоя InAs толщиной порядка 13 монослоев, то есть в инертной атмосфере азота, при температуре 1100°С в течение 0,5 часа. В результате имеем структуру, свободную от дислокации и дефектов несоответствия, содержащую 0,6 мкм Si, 13 монослоев InAs, 0,28 мкм SiO2, на подложке Si.
Пример 9.
В полупроводниковую пластину проводят обеспечивающую формирование отсеченного полупроводникового слоя имплантацию водорода. При этом в качестве полупроводниковой пластины используют пластину кремния. Перед имплантацией Н2 + на кремниевой пластине выращивают защитный слой окисла кремния толщиной 50 нм, через который проводят имплантацию и который после имплантации удаляют. Для имплантации используют ионы водорода с энергией 140 кэВ и дозой 2,5×1016 см-2.
В подложку осуществляют последовательно имплантацию ионов Ga+ и Sb+. Предварительно на подложке формируют аморфный слой, а затем в аморфный слой на подложке имплантируют ионы слаборастворимых и легко сегрегирующих примесей при условиях имплантации, обеспечивающих концентрацию внедренной примеси, превышающую теоретически возможный предел растворимости и приводящую к формированию эпитаксиального слоя полупроводника толщиной хотя бы в один монослой. При этом в качестве подложки также используют пластину кремния с диэлектрическим слоем термически выращенного окисла кремния толщиной 280 нм в качестве аморфного слоя. Условия имплантации таковы, что доза ионов Ga+ равна 5×1015 см-2, а энергия 50 кэВ, доза ионов Sb+ равна 5×1015 см-2, а энергия 50 кэВ.
После указанных операций осуществляют формирование на подложке, содержащей на рабочей поверхности аморфный слой, отсеченного полупроводникового слоя посредством водородно-индуцированного переноса с полупроводниковой пластины. Для осуществления этого сначала полупроводниковую пластину и подложку подвергают обработке, обеспечивающей их сращивание. Данная обработка включает очистку и гидрофилизацию поверхностей. Затем полупроводниковую пластину соединяют с подложкой сторонами, которые подвергались всем указанным операциям, одновременно сращивают и расслаивают по полупроводниковой пластине, подвергшейся имплантации водорода, с образованием на аморфном слое на подложке отсеченного полупроводникового слоя. Соединение и одновременное сращивание с расслоением при температуре 450°С в течение 1 часа, а также и предшествующие соединению сушку при 200°С в течение 0,1 часа после отмывки струей ультрачистой деионизованной воды и удаление избыточных физически адсорбированных веществ с их поверхностей проводят в камере с уровнем вакуума 101 Па.
Проводят отжиг при условиях, в совокупности обеспечивающих сегрегацию имплантированных в аморфный слой на подложке примесей к границе раздела отсеченный полупроводниковый слой – аморфный слой и эпитаксиальный рост на указанной границе раздела полупроводникового слоя соединений имплантированных примесей до образования кристаллического равномерного тонкого эпитаксиального слоя GaSb толщиной порядка 14 монослоев, то есть в инертной атмосфере азота, при температуре 1100°С в течение 0,5 часа. В результате имеем структуру, свободную от дислокации и дефектов несоответствия, содержащую 0,6 мкм Si, 14 монослоев GaSb, 0,28 мкм SiO2, на подложке Si.
Пример 10.
В полупроводниковую пластину проводят обеспечивающую формирование отсеченного полупроводникового слоя имплантацию водорода. При этом в качестве полупроводниковой пластины используют пластину кремния. Для имплантации используют ионы Н2 + с энергией 140 кэВ и дозой 2,5×1016 см-2.
В подложку осуществляют имплантацию ионов C+. Предварительно на подложке формируют аморфный слой, а затем в аморфный слой на подложке имплантируют ионы слаборастворимой и легко сегрегирующей примеси, при условиях имплантации, обеспечивающих концентрацию внедренной примеси, превышающую теоретически возможный предел растворимости и приводящую к формированию эпитаксиального слоя полупроводника толщиной хотя бы в один монослой. При этом в качестве подложки также используют пластину кремния с диэлектрическим слоем термически выращенного окисла кремния толщиной 280 нм в качестве аморфного слоя. Условия имплантации таковы, что доза ионов C+ равна 1×1017 см-2, а энергия 40 кэВ.
После указанных операций осуществляют формирование на подложке, содержащей на рабочей поверхности аморфный слой, отсеченного полупроводникового слоя посредством водородно-индуцированного переноса с полупроводниковой пластины. Для осуществления этого сначала полупроводниковую пластину и подложку подвергают обработке, обеспечивающей их сращивание. Данная обработка включает очистку и гидрофилизацию поверхностей. Затем полупроводниковую пластину соединяют с подложкой сторонами, которые подвергались всем указанным операциям, одновременно сращивают и расслаивают по полупроводниковой пластине, подвергшейся имплантации водорода, с образованием на аморфном слое на подложке отсеченного полупроводникового слоя. Соединение и одновременное сращивание с расслоением при температуре 450°С в течение 1 часа, а также и предшествующие соединению сушку при 200°С в течение 0,1 часа после отмывки струей ультрачистой деионизованной воды и удаление избыточных физически адсорбированных веществ с их поверхностей проводят в камере с уровнем вакуума 101 Па.
Проводят отжиг при условиях, в совокупности обеспечивающих сегрегацию имплантированной в аморфный слой на подложке примеси к границе раздела отсеченный полупроводниковый слой – аморфный слой и эпитаксиальный рост на указанной границе раздела полупроводникового слоя соединения имплантированной примеси с кремнием до образования кристаллического равномерного тонкого эпитаксиального слоя SiC толщиной порядка 20 монослоев, то есть в инертной атмосфере азота, при температуре 1100°С в течение 0,5 часа. В результате имеем структуру, свободную от дислокации и дефектов несоответствия, содержащую 0,65 мкм Si, 20 монослоев SiC, 0,28 мкм SiO2, на подложке Si.
Пример 11.
В полупроводниковую пластину проводят обеспечивающую формирование отсеченного полупроводникового слоя имплантацию водорода. При этом в качестве полупроводниковой пластины используют пластину кремния. Перед имплантацией Н2 + на кремниевой пластине выращивают защитный слой окисла кремния толщиной 50 нм, через который проводят имплантацию и который после имплантации удаляют. Для имплантации используют ионы водорода с энергией 140 кэВ и дозой 2,5×1016 см-2.
В подложку осуществляют имплантацию ионов Ge+. Предварительно на подложке формируют аморфный слой, а затем в аморфный слой на подложке имплантируют ионы слаборастворимой и легко сегрегирующей примеси, при условиях имплантации, обеспечивающих концентрацию внедренной примеси, превышающую теоретически возможный предел растворимости и приводящую к формированию эпитаксиального слоя полупроводника толщиной хотя бы в один монослой. При этом в качестве подложки также используют пластину кремния с диэлектрическим слоем термически выращенного окисла кремния толщиной 280 нм в качестве аморфного слоя. Условия имплантации таковы, что доза ионов Ge+ равна 8×1015 см-2, а энергия 40 кэВ.
После указанных операций осуществляют формирование на подложке, содержащей на рабочей поверхности аморфный слой, отсеченного полупроводникового слоя посредством водородно-индуцированного переноса с полупроводниковой пластины. Для осуществления этого сначала полупроводниковую пластину и подложку подвергают обработке, обеспечивающей их сращивание. Данная обработка включает очистку и гидрофилизацию поверхностей. Затем полупроводниковую пластину соединяют с подложкой сторонами, которые подвергались всем указанным операциям, одновременно сращивают и расслаивают по полупроводниковой пластине, подвергшейся имплантации водорода, с образованием на аморфном слое на подложке отсеченного полупроводникового слоя. Соединение и одновременное сращивание с расслоением при температуре 300°С в течение 25 часов, а также и предшествующие соединению сушку при 80°С в течение 1 часа после отмывки струей ультрачистой деионизованной воды и удаление избыточных физически адсорбированных веществ с их поверхностей проводят в камере с уровнем вакуума 101 Па.
Проводят отжиг при условиях, в совокупности обеспечивающих сегрегацию имплантированной в аморфный слой на подложке примеси к границе раздела отсеченный полупроводниковый слой – аморфный слой и эпитаксиальный рост на указанной границе раздела монокристаллического полупроводникового слоя имплантированной примеси германия до образования кристаллического равномерного тонкого эпитаксиального слоя толщиной порядка 13 монослоев, то есть в инертной атмосфере азота, при температуре 1100°С в течение 0,5 часа. В конечном результате имеем структуру, свободную от дислокации и дефектов несоответствия, содержащую 0,6 мкм Si, 13 монослоев Ge, 0,28 мкм SiO2 на подложке Si.
Пример 12.
В полупроводниковую пластину проводят обеспечивающую формирование отсеченного полупроводникового слоя имплантацию водорода. При этом в качестве полупроводниковой пластины используют пластину кремния. Перед имплантацией H2 + на кремниевой пластине выращивают защитный слой окисла кремния толщиной 50 нм, через который проводят имплантацию и который после имплантации удаляют. Для имплантации используют ионы водорода с энергией 140 кэВ и дозой 2,5×1016 см-2.
В подложку осуществляют имплантацию ионов Ge+. Предварительно на подложке формируют аморфный слой, а затем в аморфный слой на подложке имплантируют ионы слаборастворимой и легко сегрегирующей примеси, при условиях имплантации, обеспечивающих концентрацию внедренной примеси, превышающую теоретически возможный предел растворимости и приводящую к формированию эпитаксиального слоя полупроводника толщиной хотя бы в один монослой. При этом в качестве подложки также используют пластину кремния с диэлектрическим слоем термически выращенного окисла кремния толщиной 280 нм в качестве аморфного слоя. Условия имплантации таковы, что доза ионов Ge+ равна 8×1015 см-2, а энергия 40 кэВ.
После указанных операций осуществляют формирование на подложке, содержащей на рабочей поверхности аморфный слой, отсеченного полупроводникового слоя посредством водородно-индуцированного переноса с полупроводниковой пластины. Для осуществления этого сначала полупроводниковую пластину и подложку подвергают обработке, обеспечивающей их сращивание. Данная обработка включает очистку и гидрофилизацию поверхностей. Затем полупроводниковую пластину соединяют с подложкой сторонами, которые подвергались всем указанным операциям, одновременно сращивают и расслаивают по полупроводниковой пластине, подвергшейся имплантации водорода, с образованием на аморфном слое на подложке отсеченного полупроводникового слоя. Соединение и одновременное сращивание с расслоением при температуре 300°С в течение 40 часов, а также и предшествующие соединению сушку при 300°С в течение 0,1 часа после отмывки струей ультрачистой деионизованной воды и удаление избыточных физически адсорбированных веществ с их поверхностей проводят в камере с уровнем вакуума 102 Па.
Проводят отжиг при условиях, в совокупности обеспечивающих сегрегацию имплантированной в аморфный слой на подложке примеси к границе раздела отсеченный полупроводниковый слой – аморфный слой и эпитаксиальный рост на указанной границе раздела монокристаллического полупроводникового слоя имплантированной примеси германия до образования кристаллического равномерного тонкого эпитаксиального слоя толщиной порядка 13 монослоев, то есть в инертной атмосфере азота, при температуре 1100°С в течение 0,5 часа. В конечном результате имеем структуру, свободную от дислокации и дефектов несоответствия, содержащую 0,6 мкм Si, 13 монослоев Ge, 0,28 мкм SiO2 на подложке Si.
Таким образом, положительным эффектом предлагаемого способа изготовления полупроводниковых гетероструктур с использованием имплантации ионов слаборастворимых и легко сегрегирующих примесей в одну полупроводниковую пластину, водородно-индуцированного переноса полупроводникового слоя-затравки с другой полупроводниковой пластины и последующего высокотемпературного отжига является:
1. Отсутствие разупорядочения и аморфизации полупроводникового слоя-затравки для эпитаксиального роста полупроводникового гетерослоя, а также возможности формирования дислокации несоответствия в слоях, лежащих ниже области имплантации, в результате имплантации ионов примесей в аморфную пленку.
2. Возможность использования в дальнейшем аморфного слоя (диэлектрика) в качестве разделяющего, поскольку имплантацию ионов проводят только в его тонкий приповерхностный слой, что, в общем, позволяет сохранить структурное совершенство.
3. Высокое структурное совершенство и однородность эпитаксиального гетерослоя полупроводника, за счет использования в качестве ориентирующего слоя высокосовершенного слоя кремния, перенесенного с другой пластины.
4. Возможность использования разделительного аморфного слоя (диэлектрика) между эпитаксиальным гетерослоем и монокристаллической подложкой для создания структур полупроводник-на-изоляторе путем удаления верхнего ориентирующего слоя полупроводника и последующего наращивания эпитаксиального слоя.
5. Хорошая совместимость предлагаемого способа с другими технологическими методами, используемыми для создания многослойных гетероструктур на основе полупроводниковых материалов, такими как, например, жидко- и газофазная эпитаксия, молекулярно-лучевая эпитаксия и прямое сращивание.
Перечисленные достоинства обусловлены исключающей контакт между формирующимся эпитаксиальным слоем и монокристаллической подложкой имплантацией ионов примеси/примесей в аморфный слой, лежащий на подложке, а не в подложку, как в известных технических решениях.
Формула изобретения
1. Способ изготовления гетероструктуры, заключающийся в том, что в подложку осуществляют имплантацию ионов, отличающийся тем, что предварительно на подложке формируют аморфный слой, а затем в аморфный слой на подложке имплантируют ионы слабо растворимой и легко сегрегирующей примеси или слабо растворимых и легко сегрегирующих примесей при условиях имплантации, обеспечивающих концентрацию внедренной примеси, превышающую теоретически возможный предел растворимости и приводящую к формированию эпитаксиального слоя полупроводника толщиной хотя бы в один монослой, также проводят обеспечивающую формирование отсеченного полупроводникового слоя имплантацию водорода в полупроводниковую пластину, после указанных операций осуществляют формирование на подложке, содержащей на рабочей поверхности аморфный слой, отсеченного полупроводникового слоя при условиях, обеспечивающих водородно-индуцированный перенос его с полупроводниковой пластины, после чего проводят отжиг при условиях, в совокупности обеспечивающих сегрегацию имплантированной в аморфный слой на подложке примеси к границе раздела отсеченный полупроводниковый слой-аморфный слой и эпитаксиальный рост на указанной границе раздела монокристаллического полупроводникового слоя имплантированной примеси или соединений имплантированных примесей.
2. Способ по п.1, отличающийся тем, что в качестве полупроводниковой пластины используют пластину кремния, перед имплантацией водорода на полупроводниковой пластине выращивают защитный слой окисла кремния, через который проводят имплантацию и который после имплантации удаляют, а в качестве подложки также используют пластину кремния с диэлектрическим слоем в качестве аморфного слоя.
3. Способ по п.1, отличающийся тем, что формирование на подложке, содержащей на рабочей поверхности аморфный слой, отсеченного полупроводникового слоя при условиях, обеспечивающих водородно-индуцированный перенос его с полупроводниковой пластины, осуществляют тем, что сначала полупроводниковую пластину и подложку подвергают обработке, обеспечивающей их сращивание и включающей очистку и гидрофилизацию поверхностей, затем полупроводниковую пластину и подложку соединяют сторонами, которые подвергались всем указанным операциям, одновременно сращивают и расслаивают по полупроводниковой пластине, подвергшейся имплантации водорода, с образованием на аморфном слое на подложке отсеченного полупроводникового слоя, причем соединение и одновременное сращивание с расслоением, а также и предшествующие соединению сушку после отмывки струей ультрачистой деионизованной воды и удаление избыточных физически адсорбированных веществ с их поверхностей, проводят, варьируя температуру 80÷450°С длительностью процедур от 0,1 до 100 ч, в камере с вакуумом 101÷103 Па или в сочетании с использованием инертной сухой атмосферы.
4. Способ по п.2, отличающийся тем, что формирование на подложке, содержащей на рабочей поверхности аморфный слой, отсеченного полупроводникового слоя при условиях, обеспечивающих водородно-индуцированный перенос его с полупроводниковой пластины, осуществляют тем, что сначала полупроводниковую пластину и подложку подвергают обработке, обеспечивающей их сращивание и включающей очистку и гидрофилизацию поверхностей, затем полупроводниковую пластину и подложку соединяют сторонами, которые подвергались всем указанным операциям, одновременно сращивают и расслаивают по полупроводниковой пластине, подвергшейся имплантации водорода, с образованием на аморфном слое на подложке отсеченного полупроводникового слоя, причем соединение и одновременное сращивание с расслоением, а также и предшествующие соединению сушку после отмывки струей ультрачистой деионизованной воды и удаление избыточных физически адсорбированных веществ с их поверхностей, проводят, варьируя температуру 80÷450°С длительностью процедур от 0,1 до 100 часов, в камере с вакуумом 101÷103 Па или в сочетании с использованием инертной сухой атмосферы.
5. Способ по п.1, отличающийся тем, что обеспечивающую формирование отсеченного полупроводникового слоя имплантацию водорода осуществляют путем имплантации ионов водорода со значением энергии 20÷200 кэВ и дозы 2·1016÷1·1017 см-2.
6. Способ по п.2, отличающийся тем, что обеспечивающую формирование отсеченного полупроводникового слоя имплантацию водорода осуществляют путем имплантации ионов водорода со значением энергии 20÷200 кэВ и дозы 2·1016÷1·1017 см-2.
7. Способ по п.3, отличающийся тем, что обеспечивающую формирование отсеченного полупроводникового слоя имплантацию водорода осуществляют путем имплантации ионов водорода со значением энергии 20÷200 кэВ и дозы 2·1016÷1·1017 см-2.
8. Способ по п.4, отличающийся тем, что обеспечивающую формирование отсеченного полупроводникового слоя имплантацию водорода осуществляют путем имплантации ионов водорода со значением энергии 20÷200 кэВ и дозы 2·1016÷1·1017 см-2.
9. Способ по п.1, отличающийся тем, что в аморфный слой на подложке имплантируют ионы слабо растворимой и легко сегрегирующей примеси, такой как ионы германия или углерода, или имплантируют ионы слабо растворимых и легко сегрегирующих примесей, таких как ионы сурьмы и индия, или галлия и мышьяка, или галлия и сурьмы, или индия и мышьяка, или галлия и фосфора, или индия и фосфора, при условиях, обеспечивающих концентрацию внедренной примеси, превышающую теоретически возможный предел растворимости и приводящую к формированию эпитаксиального слоя полупроводника толщиной хотя бы в один монослой, таких как значение дозы ионов, равное от 1·1015 до 1·1017 см-2, и значение энергии, равное от 20 до 500 кэВ.
10. Способ по п.2, отличающийся тем, что в аморфный слой на подложке имплантируют ионы слабо растворимой и легко сегрегирующей примеси, такой как ионы германия или углерода, или имплантируют ионы слабо растворимых и легко сегрегирующих примесей таких, как ионы сурьмы и индия, или галлия и мышьяка, или галлия и сурьмы, или индия и мышьяка, или галлия и фосфора, или индия и фосфора, при условиях, обеспечивающих концентрацию внедренной примеси, превышающую теоретически возможный предел растворимости и приводящую к формированию эпитаксиального слоя полупроводника толщиной хотя бы в один монослой, таких как значение дозы ионов, равное от 1·1015 до 1·1017 см-2, и значение энергии, равное от 20 до 500 кэВ.
11. Способ по п.3, отличающийся тем, что в аморфный слой на подложке имплантируют ионы слабо растворимой и легко сегрегирующей примеси, такой как ионы германия или углерода, или имплантируют ионы слабо растворимых и легко сегрегирующих примесей, таких как ионы сурьмы и индия, или галлия и мышьяка, или галлия и сурьмы, или индия и мышьяка, или галлия и фосфора, или индия и фосфора, при условиях, обеспечивающих концентрацию внедренной примеси, превышающую теоретически возможный предел растворимости и приводящую к формированию эпитаксиального слоя полупроводника толщиной хотя бы в один монослой, таких как значение дозы ионов, равное от 1·1015 до 1·1017 см-2, и значение энергии, равное от 20 до 500 кэВ.
12. Способ по п.4, отличающийся тем, что в аморфный слой на подложке имплантируют ионы слабо растворимой и легко сегрегирующей примеси, такой как ионы германия или углерода, или имплантируют ионы слабо растворимых и легко сегрегирующих примесей, таких как ионы сурьмы и индия, или галлия и мышьяка, или галлия и сурьмы, или индия и мышьяка, или галлия и фосфора, или индия и фосфора, при условиях, обеспечивающих концентрацию внедренной примеси, превышающую теоретически возможный предел растворимости и приводящую к формированию эпитаксиального слоя полупроводника толщиной хотя бы в один монослой, таких как значение дозы ионов, равное от 1·1015 до 1·1017 см-2, и значение энергии, равное от 20 до 500 кэВ.
13. Способ по п.5, отличающийся тем, что в аморфный слой на подложке имплантируют ионы слабо растворимой и легко сегрегирующей примеси, такой как ионы германия или углерода, или имплантируют ионы слабо растворимых и легко сегрегирующих примесей, таких как ионы сурьмы и индия, или галлия и мышьяка, или галлия и сурьмы, или индия и мышьяка, или галлия и фосфора, или индия и фосфора, при условиях, обеспечивающих концентрацию внедренной примеси, превышающую теоретически возможный предел растворимости и приводящую к формированию эпитаксиального слоя полупроводника толщиной хотя бы в один монослой, таких как значение дозы ионов, равное от 1·1015 до 1·1017 см-2, и значение энергии, равное от 20 до 500 кэВ.
14. Способ по п.6, отличающийся тем, что в аморфный слой на подложке имплантируют ионы слабо растворимой и легко сегрегирующей примеси, такой как ионы германия или углерода, или имплантируют ионы слабо растворимых и легко сегрегирующих примесей, таких как ионы сурьмы и индия, или галлия и мышьяка, или галлия и сурьмы, или индия и мышьяка, или галлия и фосфора, или индия и фосфора, при условиях, обеспечивающих концентрацию внедренной примеси, превышающую теоретически возможный предел растворимости и приводящую к формированию эпитаксиального слоя полупроводника толщиной хотя бы в один монослой, таких как значение дозы ионов, равное от 1·1015 до 1·1017 см-2, и значение энергии, равное от 20 до 500 кэВ.
15. Способ по п.7, отличающийся тем, что в аморфный слой на подложке имплантируют ионы слабо растворимой и легко сегрегирующей примеси, такой как ионы германия или углерода, или имплантируют ионы слабо растворимых и легко сегрегирующих примесей, таких как ионы сурьмы и индия, или галлия и мышьяка, или галлия и сурьмы, или индия и мышьяка, или галлия и фосфора, или индия и фосфора, при условиях, обеспечивающих концентрацию внедренной примеси, превышающую теоретически возможный предел растворимости и приводящую к формированию эпитаксиального слоя полупроводника толщиной хотя бы в один монослой, таких как значение дозы ионов, равное от 1·1015 до 1·1017 см-2, и значение энергии, равное от 20 до 500 кэВ.
16. Способ по п.8, отличающийся тем, что в аморфный слой на подложке имплантируют ионы слабо растворимой и легко сегрегирующей примеси, такой как ионы германия или углерода, или имплантируют ионы слабо растворимых и легко сегрегирующих примесей, таких как ионы сурьмы и индия, или галлия и мышьяка, или галлия и сурьмы, или индия и мышьяка, или галлия и фосфора, или индия и фосфора, при условиях, обеспечивающих концентрацию внедренной примеси, превышающую теоретически возможный предел растворимости и приводящую к формированию эпитаксиального слоя полупроводника толщиной хотя бы в один монослой, таких как значение дозы ионов, равное от 1·1015 до 1·1017 см-2, и значение энергии, равное от 20 до 500 кэВ.
17. Способ по любому из пп.1-16, отличающийся тем, что отжиг проводят при условиях, в совокупности обеспечивающих сегрегацию имплантированной в аморфный слой на подложке примеси к границе раздела отсеченный полупроводниковый слой – аморфный слой и эпитаксиальный рост на указанной границе раздела монокристаллического полупроводникового слоя имплантированной примеси или соединений имплантированных примесей, а именно, при значении температуры отжига 500÷1100°С и его длительности 0,5÷100 ч.
РИСУНКИ
|
|