|
|
(21), (22) Заявка: 2006106689/09, 03.03.2006
(24) Дата начала отсчета срока действия патента:
03.03.2006
(46) Опубликовано: 20.06.2007
(56) Список документов, цитированных в отчете о поиске:
RU 98100697 А, 10.01.2000. RU 2125309 C1, 20.01.1999. EP 0233022 A2, 19.08.1987. US 3805114 А, 16.04.1974. DE 3326951 A1, 31.01.1985.
Адрес для переписки:
190005, Санкт-Петербург, ул. 1-я Красноармейская, 1, БГТУ “ВОЕНМЕХ”
|
(72) Автор(ы):
Андрюшкин Александр Юрьевич (RU)
(73) Патентообладатель(и):
Государственное образовательное учреждение высшего профессионального образования Балтийский государственный технический университет “ВОЕНМЕХ” им. Д.Ф. Устинова (БГТУ “ВОЕНМЕХ”) (RU)
|
(54) ОГРАНИЧИТЕЛЬ ПЕРЕНАПРЯЖЕНИЙ
(57) Реферат:
Изобретение относится к устройствам для защиты изоляции высоковольтного оборудования электрических сетей и станций от атмосферных и кратковременных коммутационных перенапряжений. Ограничитель перенапряжений содержит корпусную изоляционную трубу из композиционного материала, облицованную трекингозащитными ребрами, установленными на ее внешней цилиндрической поверхности, армированную металлическими оконцевателями, размещенную между ними в полости корпусной изоляционной трубы, по крайней мере, одну колонку, состоящую из поджатых пружиной, соосно состыкованных варисторных дисков и соединенную шунтом с верхним оконцевателем, полость между внутренней цилиндрической поверхностью корпусной изоляционной трубы и колонкой заполнена теплопроводным электроизоляционным компаундом, при этом в стенке изоляционной трубы по всей ее высоте установлены полые иглы из электроизоляционного материала, имеющие сквозной канал, соединяющий полость корпусной изоляционной трубы с пространством между внешней цилиндрической поверхностью этой трубы и трекингозащитными ребрами. Технический результат – повышение надежности ограничителя перенапряжений в результате увеличения несущей способности изоляционной трубы. 2 з.п. ф-лы, 5 ил.
Изобретение относится к электротехнике, в частности к устройствам для защиты изоляции высоковольтного оборудования электрических сетей и станций от атмосферных и кратковременных коммутационных перенапряжений.
Известно «Устройство для защиты от перенапряжений» по патенту РФ №2125309, 6МПК H01С 7/12, которое содержит внешнюю изоляционную оболочку, по меньшей мере один предохранительный клапан, изоляционный цилиндр с продольной перегородкой из изоляционного материала, разделяющей его внутреннюю полость на две части, в первой из которых расположен нелинейный резистор, выполненный в виде по меньшей мере одной колонки, размещенной в сыпучем электроизоляционном теплопроводном материале, а во второй части – канал для выхода газов. Стена изоляционного цилиндра в зоне размещения резистора напротив каждой колонки содержит по меньшей мере один вертикальный ряд сквозных отверстий, расположенных вдоль всей высоты колонки. Суммарная площадь сечения сквозных отверстий больше площади поперечного сечения канала для выхода газов.
Недостатком данного устройства является его низкая надежность, так как в стенке изоляционного цилиндра выполнены сквозные отверстия, которые являются концентраторами напряжений. Наличие сквозных отверстий в изоляционном цилиндре значительно снижает надежность ограничителя перенапряжений и может привести к разрушению изоляционного цилиндра при приложении осевой растягивающей силы или изгибающего момента.
Известно «Устройство для защиты от перенапряжений» по патенту РФ №98100697, 7МПК Н01С 7/12, принятое в качестве ближайшего аналога, содержащее по меньшей мере одну колонку варисторов, размещенную между двумя концевыми электродами в электроизоляционном цилиндре, расположенном в наружной полимерной оболочке, отличающееся тем, что в стенке изоляционного цилиндра по всей его высоте имеются сквозные каналы, соединяющие внутреннюю полость цилиндра с пространством между цилиндром и наружной полимерной оболочкой, причем каналы закрыты пробками.
Недостатком известного «Устройства для защиты от перенапряжений» по патенту РФ №98100697, 7МПК Н01С 7/12 является его низкая надежность, так как в стенке изоляционного цилиндра выполнены сквозные каналы, соединяющие внутреннюю полость цилиндра с пространством между цилиндром и наружной полимерной оболочкой, которые являются концентраторами напряжений. Изготовленный из композиционного материала изоляционный цилиндр состоит из арматуры в виде нитей, скрепленной в единое целое связующим, механические характеристики которого значительно ниже, чем у нитей арматуры. При выполнении сквозных каналов в изоляционном цилиндре из композиционного материала происходит разрушение нитей арматуры, то есть нить теряет свою непрерывность и всю нагрузку воспринимает связующее, что значительно снижает несущую способность изоляционного цилиндра. Наличие сквозных каналов в изоляционном цилиндре значительно снижает надежность ограничителя перенапряжений и может привести к разрушению изоляционного цилиндра при приложении осевой растягивающей силы или изгибающего момента.
Перед заявляемым изобретением поставлена задача повышения надежности ограничителя перенапряжений в результате увеличения несущей способности изоляционной трубы за счет того, что в стенке изоляционной трубы по всей ее высоте установлены полые иглы из электроизоляционного материала, имеющие сквозной канал, соединяющий полость корпусной изоляционной трубы с пространством между внешней цилиндрической поверхностью этой трубы и трекингозащитными ребрами.
Поставленная задача в заявляемом изобретении решается за счет того, что ограничитель перенапряжений содержит корпусную изоляционную трубу из композиционного материала, облицованную трекингозащитными ребрами, установленными на ее внешней цилиндрической поверхности, армированную металлическими оконцевателями, размещенную между ними в полости корпусной изоляционной трубы, по крайней мере, одну колонку, состоящую из поджатых пружиной, соосно состыкованных варисторных дисков и соединенную шунтом с верхним оконцевателем, полость между внутренней цилиндрической поверхностью корпусной изоляционной трубы и колонкой заполнена теплопроводным электроизоляционным компаундом, при этом в стенке изоляционной трубы по всей ее высоте установлены полые иглы из электроизоляционного материала, имеющие сквозной канал, соединяющий полость корпусной изоляционной трубы с пространством между внешней цилиндрической поверхностью этой трубы и трекингозащитными ребрами.
Полая игла с двух сторон может быть развальцована.
Сквозной канал полой иглы может быть заполнен материалом, имеющим меньшую механическую прочность, чем материал, из которого изготовлена полая игла, например электроизоляционным компаундом.
Ограничитель перенапряжений содержит корпусную изоляционную трубу из композиционного материала, например стеклопластика, которая воспринимает все механические нагрузки. Внешняя цилиндрическая поверхность корпусной изоляционной трубы облицована трекингозащитными ребрами, изготовленными из кремнийорганической (силаксановой) резины. На концах корпусной изоляционной трубы установлены металлические оконцеватели, которые служат контактными выводами ограничителя перенапряжений. Между оконцевателями в полости корпусной изоляционной трубы на нижнем оконцевателе установлена колонка, состоящая из соосно состыкованных варисторных дисков. На концах колонки соосно с ней могут быть расположены медные шайбы, служащие для распределения тока по всему сечению варисторного диска. Для обеспечения необходимого контактного нажатия колонка варисторных дисков поджимается пружиной, расположенной между верхним оконцевателем и медной шайбой. Электрическое соединение между верхним оконцевателем и колонкой варисторных дисков осуществляют с помощью шунта – гибкого медного проводника. Внутреннюю полость между внутренней цилиндрической поверхностью корпусной изоляционной трубы и колонкой варисторных дисков заполняют теплопроводным электроизоляционным компаундом, который служит для улучшения теплоотвода и повышения пропускной способности ограничителя перенапряжений. Компаунд закачивается вовнутрь корпусной изоляционной трубы через отверстие в нижнем оконцевателе, в которое затем устанавливается шпилька. Шпилька также устанавливается в верхний оконцеватель, они служат для крепления к ограничителю перенапряжений контактных проводов. При аварийном срабатывании ограничителя перенапряжений, то есть при пробое аппарата, происходит испарение теплопроводного компаунда, что приводит к росту давления во внутренней полости изоляционной трубы. Образовавшиеся газы отводятся из внутренней полости изоляционной трубы в пространство между внешней цилиндрической поверхностью этой трубы и трекингозащитными ребрами через сквозные каналы в полых иглах, установленных по всей высоте изоляционной трубы. Полые иглы выполнены из электроизоляционного материала, например из пластмассы. Для лучшей герметизации внутренней полости изоляционной трубы сквозные каналы в полых иглах могут быть заполнены материалом, имеющим меньшую механическую прочность, чем материал, из которого выполнена изоляционная труба, например электроизоляционным компаундом. Для лучшей фиксации полой иглы в стенке изоляционной трубы и исключения вылета полых игл при разрушении ограничителя перенапряжений полые иглы могут быть развальцованы с одной или с двух сторон. Установка полых игл в стенку изоляционной трубы не приводит к разрыву (разрушению) нитей арматуры, так как полая игла проходит между ними, поэтому механическая прочность трубы не ухудшается.
Таким образом, применение полых игл позволяет повысить надежность ограничителя перенапряжений, не ухудшая его несущей способности и взрывобезопасности.
Заявленное изобретение отличается от известного технического решения по патенту РФ №98100697, 7МПК Н01С 7/12 тем, что в стенке изоляционной трубы по всей ее высоте установлены полые иглы из электроизоляционного материала, имеющие сквозной канал, соединяющий полость корпусной изоляционной трубы с пространством между внешней цилиндрической поверхностью этой трубы и трекингозащитными ребрами.
Указанное отличие позволило получить технический результат, а именно повысило надежность ограничителя перенапряжений в результате увеличения несущей способности изоляционной трубы за счет того, что в стенке изоляционной трубы по всей ее высоте установлены полые иглы из электроизоляционного материала, имеющие сквозной канал, соединяющий полость корпусной изоляционной трубы с пространством между внешней цилиндрической поверхностью этой трубы и трекингозащитными ребрами.
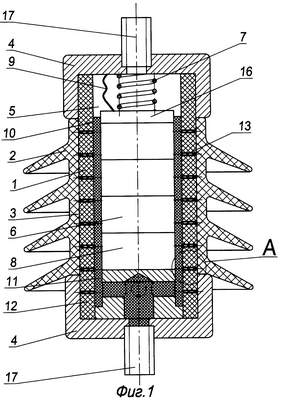
На фиг.1 представлен ограничитель перенапряжений, показан пример, когда в стенке изоляционной трубы установлены полые иглы.
На фиг.2 представлен выносной элемент А фиг.1, показана полая игла, установленная перпендикулярно к поверхности трубы.
На фиг.3 представлен выносной элемент А фиг.1, показана полая игла, установленная под углом к поверхности трубы.
На фиг.4 представлен выносной элемент А фиг.1, показана полая игла, развальцованная с двух сторон.
На фиг.5 представлен выносной элемент А фиг.1, показана полая игла, у которой сквозной канал заполнен материалом, имеющим меньшую механическую прочность, чем материал, из которого изготовлена полая игла.
Ограничитель перенапряжений (фиг.1) содержит корпусную изоляционную трубу 1 (фиг.1-5) из композиционного материала, облицованную трекингозащитными ребрами 2 (фиг.1-5), установленными на ее внешней цилиндрической поверхности 3 (фиг.1-5), армированную металлическими оконцевателями 4 (фиг.1), размещенную между ними в полости 5 (фиг.1) корпусной изоляционной трубы 1, по крайней мере, одну колонку 6 (фиг.1), состоящую из поджатых пружиной 7 (фиг.1), соосно состыкованных варисторных дисков 8 (фиг.1) и соединенную шунтом 9 (фиг.1) с верхним оконцевателем 4, полость 5 между внутренней цилиндрической поверхностью 10 (фиг.1-5) корпусной изоляционной трубы 1 и колонкой 6 заполнена теплопроводным электроизоляционным компаундом 11 (фиг.1-5), при этом в стенке 12 (фиг.1-5) изоляционной трубы 1 по всей ее высоте установлены полые иглы 13 (фиг.1-5) из электроизоляционного материала, имеющие сквозной канал 14 (фиг.2-5), соединяющий полость 5 корпусной изоляционной трубы 1 с пространством между внешней цилиндрической поверхностью 3 этой трубы 1 и трекингозащитными ребрами 2.
Полая игла 13 с двух сторон развальцована (фиг.4).
Сквозной канал 14 полой иглы 13 заполнен материалом 15 (фиг.5), имеющим меньшую механическую прочность, чем материал, из которого изготовлена полая игла 13, например электроизоляционным компаундом 11.
На концах колонки 6 соосно с ней могут быть расположены медные шайбы 16 (фиг.1), служащие для распределения тока по всему сечению варисторного диска 8. В оконцевателях 4 установлены шпильки 17 (фиг.1), которые служат для крепления к ограничителю перенапряжений контактных проводов.
Ограничитель перенапряжений (фиг.1) работает следующим образом. В экстремальных условиях работы при мощных грозовых или коммутационных перегрузках при приложении к ограничителю перенапряжений достаточного напряжения через него протекает электрический ток. Электрический ток протекает от верхнего оконцевателя 4 через шунт 9, медную шайбу 16 и колонку 6, состоящую из варисторных дисков 8, к нижнему оконцевателю 4. При протекании электрического тока через колонку 6 выделяется большое количество тепла, которое отводится через теплопроводый электроизоляционный компаунд 11 и стенку 12 корпусной изоляционной трубы 1, выполненной из композиционного материала, а затем рассеивается в окружающую среду. При аварийном срабатывании ограничителя перенапряжений, то есть при его пробое, происходит испарение компаунда 11, что приводит к росту давления в полости 5 корпусной изоляционной трубы 1. Образовавшиеся газы отводятся из внутренней полости 5 изоляционной трубы 1 в пространство между внешней цилиндрической поверхностью 3 этой трубы 1 и трекингозащитными ребрами 2 через сквозные каналы 14 в полых иглах 13, установленных по всей высоте изоляционной трубы 1. Для лучшей герметизации внутренней полости 5 изоляционной трубы 1 сквозные каналы 14 в полых иглах 13 могут быть заполнены материалом 15, имеющим меньшую механическую прочность, чем материал, из которого выполнена изоляционная труба 1, например электроизоляционным компаундом 11. Для лучшей фиксации полой иглы 13 в стенке 12 изоляционной трубы 1 и исключения вылета полых игл 13 при разрушении ограничителя перенапряжений полые иглы 13 могут быть развальцованы с одной или с двух сторон. Установка полых игл 13 в стенку изоляционной трубы 1 не приводит к разрыву (разрушению) нитей арматуры, так как полая игла 13 проходит между ними, поэтому механическая прочность изоляционной трубы 1 не ухудшается.
Изобретение позволило получить технический результат, а именно повысить надежность ограничителя перенапряжений в результате увеличения несущей способности изоляционной трубы за счет того, что в стенке изоляционной трубы по всей ее высоте установлены полые иглы из электроизоляционного материала, имеющие сквозной канал, соединяющий полость корпусной изоляционной трубы с пространством между внешней цилиндрической поверхностью этой трубы и трекингозащитными ребрами.
Формула изобретения
1. Ограничитель перенапряжений, содержащий корпусную изоляционную трубу из композиционного материала, облицованную трекингозащитными ребрами, установленными на ее внешней цилиндрической поверхности, армированную металлическими оконцевателями, размещенную между ними в полости корпусной изоляционной трубы, по крайней мере, одну колонку, состоящую из поджатых пружиной, соосно состыкованных варисторных дисков и соединенную шунтом с верхним оконцевателем, полость между внутренней цилиндрической поверхностью корпусной изоляционной трубы и колонкой заполнена теплопроводным электроизоляционным компаундом, отличающийся тем, что в стенке изоляционной трубы по всей ее высоте установлены полые иглы из электроизоляционного материала, имеющие сквозной канал, соединяющий полость корпусной изоляционной трубы с пространством между внешней цилиндрической поверхностью этой трубы и трекингозащитными ребрами.
2. Ограничитель перенапряжений по п.1, отличающийся тем, что полая игла с двух сторон развальцована.
3. Ограничитель перенапряжений по п.1, отличающийся тем, что сквозной канал полой иглы заполнен материалом, имеющим меньшую механическую прочность, чем материал, из которого изготовлена полая игла, например электроизоляционным компаундом.
РИСУНКИ
|
|