|
|
(21), (22) Заявка: 2005123063/09, 20.07.2005
(24) Дата начала отсчета срока действия патента:
20.07.2005
(43) Дата публикации заявки: 27.01.2007
(46) Опубликовано: 20.06.2007
(56) Список документов, цитированных в отчете о поиске:
RU 2170465 C1, 10.07.2001. RU 2233493 C1, 27.07.2004. RU 40528 U1, 10.09.2004. DE 2914082, 16.10.1980. DE 2905150, 31.10.1979.
Адрес для переписки:
105082, Москва, а/я 111, ООО Юридическая фирма “Лабзин и партнеры”, М.В. Лабзину
|
(72) Автор(ы):
Старцев Вадим Валерьевич (RU)
(73) Патентообладатель(и):
Закрытое акционерное общество “Арматурно-изоляторный завод” (RU)
|
(54) ШТЫРЕВОЙ ПОЛИМЕРНЫЙ ИЗОЛЯТОР
(57) Реферат:
Изобретение относится к изоляторам, используемым в воздушных линиях электропередачи. Штыревой полимерный изолятор содержит головку, деталь крепежа на опоре и кольцевые ребра, которые являются отдельными деталями, соединенными друг с другом без зазора, при этом головка выполнена из электропроводного материала, деталь крепежа на опоре выполнена из высокопрочного диэлектрика, кольцевые ребра выполнены из трекингостойкого диэлектрического материала. Деталь крепежа на опоре представляет собой стеклопластиковую трубку с нанесенной внутри резьбой. Кольцевые ребра образованы соединением нескольких колец. Техническим результатом является повышение надежности работы изолятора, увеличение срока службы изолятора, уменьшение количества аварий, также обеспечивается легкость в сборке. 2 з.п. ф-лы, 1 ил.
Изобретение относится к изоляторам, используемым в воздушных линиях электропередач и распределительных устройствах станций и подстанций.
Под действием электрического напряжения линии электропередачи по поверхности изолятора, изготовленного из любого материала, происходит утечка тока, которая усиливается при загрязнении и увлажнении поверхности. При прохождении этого тока на поверхности изолятора выделяется тепловая энергия, приводящая к деструкции материала изолятора, его выгоранию, обугливанию. Если продукты разложения материала изолятора электропроводны, как, например, углерод в саже, по этому месту (ручейку, треку) ток продолжает утекать с возрастающей силой до полного разрушения изолятора. Такого рода процессы эрозионного разрушения называются трекингом. Материалы, хорошо противостоящие этой эрозии (трекингостойкие), не обладают необходимой механической прочностью, требуемой при монтаже и эксплуатации изоляторов, особенно в аварийном режиме.
Для уменьшения этого негативного процесса в известных аналогах (например, Патент Германии №2914082) в материал изолятора вводят добавки (диоксид титана, каолин) продукты, разложения которых не проводят электрический ток. Но при введении этих материалов в достаточных для нормальной эксплуатации (без трекинга) количествах механическая прочность материала очень мала. Кроме того, такие материалы обладают повышенным абразивным воздействием на закрепляемый на изоляторе провод, непосредственно контактирующий с этими материалами на поверхности. В указанном аналоге для этого вводят противоабразивную прослойку между проводом и монолитным телом изолятора, в материал которого введены трекингостойкие абразивные добавки.
В ближайшем аналоге предлагаемого изобретения по Патенту РФ №2170465 в указанных целях выводят токи утечки посредством электрического проводника от неабразивной, но не стойкой к эрозии (трекингу) механически прочной головки в место контакта с трекингостойкой зоной изолятора.
Таким образом, и этот ближайший аналог и иные известные устройства изоляторов пытались решить задачу совмещения необходимых для изолятора функций:
1) Место крепления провода к изолятору должно быть не абразивным, трекингостойким или электропроводным.
2) Диэлектрический материал поверхности изолятора от провода или электропроводного места крепления провода до заземленного штыря опоры должен быть трекингостойким, не подверженным эрозии, может быть абразивным и не прочным.
3) Диэлектрический материал тела изолятора в месте крепления изолятора на штырь опоры должен быть механически прочным, может быть абразивным и не трекингостойким.
Предлагаемое устройство изолятора обеспечивает такое совмещение функций, что в итоге своим техническим результатом имеет повышение надежности работы изолятора в целом, увеличение срока службы изолятора (до 30 лет), уменьшение количества аварий. Кроме того, предлагаемое устройство обеспечивает легкость в сборке.
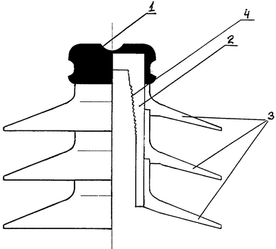
Данные результаты достигаются за счет того, что изолятор содержит головку, зону крепежа на опоре и кольцевые ребра. При этом в отличие от аналогов каждый из этих элементов является отдельной деталью. Эти три детали соединены друг с другом без зазора. Деталь “головка” выполнена из электропроводного материала, например алюминия, стали, углепластика. Деталь “зона крепежа на опоре” – из высокопрочного диэлектрика, в том числе армированного. Например, он может представлять собой стеклопластиковую трубку с нанесенной внутри резьбой. Деталь “кольцевые ребра” выполнена из трекингостойкого диэлектрического материала, например из силиконовой резины. При этом она может быть как единой деталью, так и образовываться соединением нескольких колец.
На чертеже изображена схема изолятора, где 1 – головка, 2 – зона крепежа (стеклопластиковая трубка), 3 – кольцевые ребра, 4 – резьба на внутренней поверхности зоны крепежа.
Формула изобретения
1. Штыревой полимерный изолятор, содержащий головку, деталь крепежа на опоре и кольцевые ребра, которые являются отдельными деталями, соединенными друг с другом без зазора, при этом головка выполнена из электропроводного материала, деталь крепежа на опоре выполнена из высокопрочного диэлектрика, кольцевые ребра выполнены из трекингостойкого диэлектрического материала.
2. Штыревой полимерный изолятор по п.1, отличающийся тем, что деталь крепежа на опоре представляет собой стеклопластиковую трубку с нанесенной внутри резьбой.
3. Штыревой полимерный изолятор по п.1, отличающийся тем, что кольцевые ребра образованы соединением нескольких колец.
РИСУНКИ
MM4A – Досрочное прекращение действия патента СССР или патента Российской Федерации на изобретение из-за неуплаты в установленный срок пошлины за поддержание патента в силе
Дата прекращения действия патента: 21.07.2008
Извещение опубликовано: 20.06.2009 БИ: 17/2009
NF4A – Восстановление действия патента СССР или патента Российской Федерации на изобретение
Дата, с которой действие патента восстановлено: 10.09.2009
Извещение опубликовано: 10.09.2009 БИ: 25/2009
|
|