|
|
(21), (22) Заявка: 2004121165/09, 09.12.2002
(24) Дата начала отсчета срока действия патента:
09.12.2002
(30) Конвенционный приоритет:
10.12.2001 DE 10160578.1
(43) Дата публикации заявки: 20.08.2005
(46) Опубликовано: 20.06.2007
(56) Список документов, цитированных в отчете о поиске:
RU 2158443 C1, 27.10.2000. RU 2169393 C2, 20.06.2001. RU 2097832 C1, 27.11.1997. GB 2355522 A, 25.04.2001. FR 2801125 A, 18.05.2001.
(85) Дата перевода заявки PCT на национальную фазу:
12.07.2004
(86) Заявка PCT:
EP 02/13941 (09.12.2002)
(87) Публикация PCT:
WO 03/054809 (03.07.2003)
Адрес для переписки:
101000, Москва, М.Златоустинский пер., 10, кв.15, “ЕВРОМАРКПАТ”, пат.пов. И.А.Веселицкой, рег. № 11
|
(72) Автор(ы):
ШЮТТ Лотар (DE), РИХТЕР Ханс-Уве (DE)
(73) Патентообладатель(и):
ГИЗЕКЕ УНД ДЕВРИЕНТ ГМБХ (DE)
|
(54) СПОСОБ И УСТРОЙСТВО ДЛЯ ПРОВЕРКИ ПОДЛИННОСТИ ЛИСТОВОГО МАТЕРИАЛА
(57) Реферат:
Изобретение относится к области электротехники, в частности к способу и устройству для проверки подлинности листового материала, прежде всего банкнот, с помощью УФ-излучения. Техническим результатом изобретения является повышение надежности выявления подделок банкнот, при облучении которых УФ-излучением не возникает явление флуоресценции. Для проверки подлинности листового материала предлагается анализировать пропускаемое проверяемым листовым материалом, т.е. проходящее сквозь него, УФ-излучение. В предложенном способе определяют одно нижнее пороговое значение, указывающее на наличие подделки из эмиссионной бумаги, и одно верхнее пороговое значение, указывающее на наличие подделки из обычной бумаги, с использованием по меньшей мере одного подлинного листа листового материала, причем подлинность листового материала устанавливается, если количество энергии прошедшего сквозь него излучения находится выше нижнего порогового значения и ниже верхнего порогового значения. Описано.выполнение устройства для проверки подлинности материала. 2 н. и 14 з.п. ф-лы, 2 ил.
Настоящее изобретение относится к способу и устройство для проверки подлинности листового материала, прежде всего банкнот, с помощью ультрафиолетового (УФ-) излучения.
Способы и устройства для проверки подлинности листового материала, прежде всего банкнот, с помощью УФ-излучения известны, например, из US 5640463, US 5960103 или GB 2355522. Известные способы и устройства основаны на использовании того факта, что используемая для печатания банкнот бумага обладает особыми свойствами, поскольку она, с одной стороны, изготовлена из хлопка, а с другой стороны, не содержит оптических отбеливателей. Поэтому в такой бумаге при ее облучении УФ-излучением не возникает явление флуоресценции, т.е. коротковолновое УФ-излучение не преобразуется в видимое излучение с большей длиной волны. Помимо этого сравнительно большая часть УФ-излучения отражается от поверхности анализируемой банкноты. В соответствии с этим при проверке подлинности банкнот подделки можно распознать, если при их облучении УФ-излучением оно преобразуется присутствующими в них оптическими отбеливателями в видимое излучение с большей длиной волны. Однако определенные подделки, как было установлено, не преобразуют коротковолновое УФ-излучение в видимое излучение с большей длиной волны. Вместе с тем подделку можно выявить и в этих случаях, проанализировав отраженное от нее УФ-излучение. Если энергия отраженного УФ-излучения оказывается меньше некоторого первого – нижнего – порогового значения либо больше некоторого второго – верхнего – порогового значения, то подобное условие указывает на наличие подделки, поскольку энергия отраженного УФ-излучения, характерная для подлинных банкнот, обычно лежит лишь в пределах определенного интервала.
Однако недостаток известных способов и устройств для проверки подлинности листового материала, прежде всего банкнот, с помощью УФ-излучения состоит в невозможности выявления подделок, при облучении которых УФ-излучением не возникает явление флуоресценции, и анализ энергии отраженного от которых УФ-излучения не позволяет однозначно классифицировать проверяемую банкноту как поддельную или подлинную.
Исходя из вышеизложенного, в основу настоящего изобретения была положена задача разработать такие способ и устройство для проверки подлинности листового материала, прежде всего банкнот, с помощью УФ-излучения, которые позволяли бы надежно отличать подделки от подлинных банкнот.
Указанная задача решается согласно изобретению в способе проверки подлинности листового материала, прежде всего банкнот, с помощью УФ-излучения, заключающемся в том, что листовой материал облучают УФ-излучением и для проверки подлинности листового материала прошедшее сквозь него УФ-излучение подвергают анализу и обработке. Сущность предлагаемого в изобретении способа состоит в том, что для проверки подлинности листового материала для прошедшего сквозь листовой материал УФ-излучения определяют одно нижнее пороговое значение, указывающее на наличие подделки из эмиссионной бумаги, и одно верхнее пороговое значение, указывающее на наличие подделки из обычной бумаги, с использованием по меньшей мере одного подлинного листа листового материала, причем подлинность листового материала устанавливают, если количество энергии прошедшего сквозь него УФ-излучения находится выше нижнего порогового значения и ниже верхнего порогового значения. Если уровень энергии УФ-излучения превысит верхнее пороговое значение, это указывает на наличие подделки из обычной бумаги (изготовленной из древесины), если уровень энергии УФ-излучения окажется меньше нижнего порогового значения, это указывает на наличие подделки из эмиссионной бумаги (изготовленной из хлопка). В соответствии с изобретением с УФ-излучением взаимодействует не только поверхность проверяемого листового материала, на который воздействует используемое для проверки его подлинности УФ-излучение, но и весь проверяемый листовой материал целиком, т.е. по всей его толщине. За счет этого эффекты, обусловленные влиянием листового материала на используемое для его проверки УФ-излучение, становятся более выраженными, что при анализе прошедшего сквозь листовой материал УФ-излучения позволяет выявлять даже те подделки, которые до настоящего времени невозможно было отличить от подлинного листового материала, поскольку различия в энергии прошедшего сквозь подделки и подлинный листовой материал УФ-излучения носят более выраженный характер.
Решение указанной задачи достигается также в устройстве для проверки подлинности листового материала, прежде всего банкнот, с помощью УФ-излучения, имеющем источник света, предназначенный для генерации УФ-излучения, которым облучается листовой материал, по меньшей мере один датчик, предназначенный для регистрации прошедшего сквозь листовой материал УФ-излучения и формирования характеризующих его значений, а также блок обработки, предназначенный для проверки подлинности листового материала на основе значений, полученных датчиком. В соответствии с изобретением с блоком обработки соединена память, в которой для проверки подлинности листового материала хранятся одно нижнее пороговое значение, указывающее на наличие подделки из эмиссионной бумаги, и одно верхнее пороговое значение, указывающее на наличие подделки из обычной бумаги, которые получены с использованием по меньшей мере одного листа подлинного листового материала, и с которыми блоком обработки сравниваются значения, полученные датчиком или датчиками, причем подлинность листового материала устанавливают, если полученные датчиком или датчиками значения находятся выше нижнего порогового значения и ниже верхнего порогового значения.
В частном варианте осуществления изобретения предлагаемое в нем решение также основано на применении УФ-излучения при проверке подлинности листового материала, прежде всего банкнот, при этом для проверки подлинности листового материала предлагается анализировать пропускаемое проверяемым листовым материалом, т.е. проходящее сквозь него, УФ-излучение. Однако в отличие от основного варианта осуществления изобретения дополнительно к УФ-излучению используется по меньшей мере одно дополнительное излучение с другой длиной волны, при этом для проверки подлинности листового материала предлагается анализировать также это пропускаемое проверяемым листовым материалом, т.е. проходящее сквозь него, дополнительное излучение, для чего предлагается соотносить между собой параметры прошедшего сквозь листовой материал УФ-излучения и параметры прошедшего сквозь листовой материал дополнительного излучения.
Преимущество этого варианта осуществления настоящего изобретения состоит прежде всего в том, что в отличие от известных из уровня техники способов и устройств проверка листового материала возможна практически независимо от наличия или отсутствия на анализируемом листовом материале загрязнений, поскольку возникающие из-за наличия загрязнений на листовом материалы эффекты, обусловленные влиянием листового материала на проходящее сквозь него оптическое излучение, идентичны и для УФ-излучения, и для дополнительного излучения либо находятся в определенной взаимосвязи. Соотнесение между собой параметров прошедшего сквозь листовой материал УФ-излучения и параметров прошедшего сквозь листовой материал дополнительного излучения позволяет исключить или скомпенсировать влияние загрязнений на результаты проверки листового материала.
Другие преимущества настоящего изобретения представлены в зависимых пунктах формулы изобретения, а также более подробно рассмотрены ниже на примере некоторых вариантов его осуществления со ссылкой на прилагаемые чертежи, на которых показано:
на фиг.1 – первый вариант выполнения устройства для проверки подлинности листового материала с помощью УФ-излучения и
на фиг.2 – второй вариант выполнения устройства для проверки подлинности листового материала с помощью УФ-излучения.
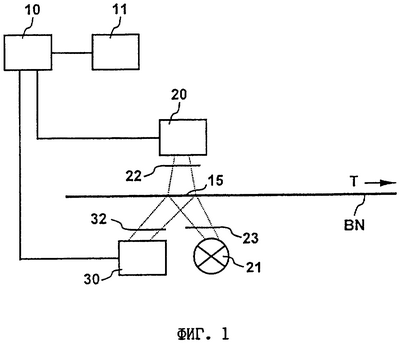
На фиг.1 показан первый вариант выполнения устройства для проверки подлинности листового материала, прежде всего банкнот, с помощью УФ-излучения. В последующем описании под листовым материалом подразумеваются банкноты. Банкноты BN перемещаются не показанной на чертеже транспортировочной системой в направлении Т мимо датчика 20 и источника 21 света. При этом банкноты BN можно перемещать в продольной или поперечной ориентации, т.е. их короткой или длинной стороной вперед. Источник 21 света испускает пригодное для проверки подлинности банкнот BN оптическое излучение в ультрафиолетовой области спектра, т.е. излучение с длиной волны менее 400 нм. Источник 21 света может непосредственно испускать УФ-излучение, или же перед ним можно установить фильтр 23, пропускающий только УФ-излучение. Луч проходящего сквозь банкноту BN УФ-излучения падает на нее в месте 15 и по мере транспортировки банкноты BN в направлении Т постепенно сканирует ее вдоль всей ее длинной или короткой стороны (в зависимости от выбранной ориентации банкноты при ее транспортировке). Прошедшее сквозь банкноту УФ-излучение воспринимается датчиком 20. Датчик 20 может изначально обладать чувствительностью только к испускаемому источником 21 света УФ-излучению, или же перед датчиком 20 можно установить фильтр 22, пропускающий в его сторону только соответствующее УФ-излучение. В качестве источника 21 света могут использоваться, например, один или несколько ультрафиолетовых светодиодов. Равным образом в качестве источника света можно использовать, например, одну или несколько газосветных трубок, испускающих УФ-излучение. В месте установки фильтров 22 и 23 в дополнение к ним либо вместо них можно предусмотреть дополнительные оптические системы, такие как линзы, с целью обеспечить, например, особую фокусировку оптического излучения на место 15 его падения на банкноту или на датчик 20.
Для проверки подлинности банкнот BN источником 21 света испускается УФ-излучение с длиной волны менее 400 нм. Поскольку при прохождении УФ-излучения сквозь банкноту BN большая его часть поглощается материалом банкноты BN, возможность использовать измерение прошедшего сквозь банкноту BN УФ-излучения в качестве критерия для оценки подлинности банкноты BN до настоящего времени не рассматривалась. Однако согласно изобретению было установлено, что анализ прошедшего сквозь банкноту УФ-излучения именно по причине значительного влияния, оказываемого материалом банкноты BN на УФ-излучение при его прохождении сквозь банкноту, т.е. по причине значительного поглощения УФ-излучения, происходящего при его прохождении сквозь банкноту, позволяет сделать наиболее достоверный вывод о свойствах и типе материала каждой проверяемой банкноты BN и тем самым о ее подлинности.
Несмотря на незначительную энергию УФ-излучения, которое после его прохождения сквозь банкноту достигает датчика 20, существенные относительные различия между энергией УФ-излучения, прошедшего сквозь подлинную банкноту BN, и энергией УФ-излучения, прошедшего сквозь подделку, позволяют более эффективно отличать подлинные банкноты BN от подделок.
Подделки, выполненные из обычной бумаги без оптических отбеливателей, т.е. из бумаги, изготовленной из древесины, обладают наилучшей проницаемостью для УФ-излучения. Подделки же, которые аналогично подлинным банкнотам выполнены из бумаги, изготовленной из хлопка, обладают плохой проницаемостью для УФ-излучения, поскольку в такую бумагу с целью сымитировать известное для подлинных банкнот отсутствие в их бумаге оптических отбеливателей обычно добавляют поглощающие УФ-излучение вещества.
Наличием у различных типов бумаги описанных выше особенностей обусловлена возможность надежно отличать подлинные банкноты BN от подделок, если количество воспринимаемой датчиком 20 энергии прошедшего сквозь банкноту УФ-излучения выше некоторого нижнего порогового значения и ниже некоторого верхнего порогового значения. Регистрация датчиком 20 такой энергии УФ-излучения, уровень которой превышает верхнее пороговое значение, указывает на наличие подделки из обычной бумаги (изготовленной из древесины), а регистрация датчиком 20 такой энергии УФ-излучения, уровень которой оказывается меньше нижнего порогового значения, указывает на наличие подделки из эмиссионной бумаги (изготовленной из хлопка).
Поскольку материал банкноты, как описано выше, оказывает наиболее значительное влияние на УФ-излучение при его прохождении сквозь проверяемую банкноту, подделки можно надежно отличать от подлинных банкнот с учетом большой разницы между используемыми нижним и верхним пороговыми значениями. Указанные выше эффекты наблюдаются у банкнот всех протестированных к настоящему моменту валют, при этом возможные отклонения можно скомпенсировать за счет соответствующего подбора пороговых значений.
Для анализа регистрируемой датчиком 20 энергии прошедшего сквозь банкноту УФ-излучения предусмотрены блок 10 обработки и соединенная с ним память 11. Блок 10 обработки может представлять собой, например, микропроцессор с соединенной с ним памятью 11, которая при этом может иметь энергозависимую и энергонезависимую области. В энергонезависимой области памяти 11 хранятся в первую очередь указанные выше пороговые значения. Для возможности обработки блоком 10 поступающих от датчика 20 результатов измерений в этом датчике 20 предусмотрен, например, аналого-цифровой преобразователь, преобразующий выходной сигнал датчика 20 в цифровое значение.
Блок 10 обработки сравнивает поступающие от датчика 20 результаты измерений с пороговыми значениями и таким путем проверяет подлинность банкноты BN. В зависимости от результата такой проверки блок 10 обработки классифицирует банкноту BN как подлинную или поддельную. Подобная информация об отнесении анализируемой банкноты BN к поддельным или подлинным может использоваться при дальнейшей ее обработке, например для управления указанной выше транспортировочной системой, что позволяет отсортировывать подделки от подлинных банкнот. С этой целью подделки могут транспортироваться, например, в особый приемный лоток.
Для анализа измеренных датчиком 20 значений блоком 10 обработки могут использоваться различные подходы. Так, например, на основе всех измеренных значений, полученных при прохождении банкноты BN мимо датчика 20, блок 10 обработки может формировать среднее значение и сравнивать его с пороговыми значениями. Равным образом для проверяемых банкнот можно определить по меньшей мере одно эталонное значение и сохранить его в памяти 11. В этом случае для проверки подлинности банкноты BN измеренные значения, получаемые при прохождении банкноты BN мимо датчика 20, проверяются на их соответствие эталонному значению. Другая возможность состоит в проверке лишь определенных участков банкноты BN, например ее незапечатанных участков, и в сравнении измеренных на этих участках значений с пороговыми значениями.
Дополнительно повысить достоверность проверки подлинности банкнот можно, предусмотрев со стороны источника 21 света еще один датчик 30, способный детектировать излучение видимой области спектра, т.е. излучение с длиной волны более 400 нм. При использовании же датчика 30, который способен детектировать и излучение с меньшей длиной волны, перед ним можно установить фильтр 32, не пропускающий излучение этого спектрального диапазона. Испускаемое источником 21 света УФ-излучение при облучении им поддельной банкноты, содержащей оптические отбеливатели, будет преобразовываться в результате возникновения явления флуоресценции в видимое излучение, детектируемое датчиком 30. Датчик 30 для возможности обработки выдаваемого им сигнала блоком 10 содержит аналого-цифровой преобразователь, преобразующий этот сигнал в цифровое значение. При превышении этим цифровым значением заданного и сохраненного в памяти 11 порогового значения, на основе которого определяется наличие или отсутствие в бумаге оптического отбеливателя, проверяемая банкнота классифицируется блоком 10 обработки как поддельная.
На фиг.2 показан второй вариант выполнения устройства для проверки подлинности листового материала, прежде всего банкнот, с помощью УФ-излучения. Устройство, выполненное в соответствии с показанным на фиг.2 вторым вариантом, по своей конструкции в основном аналогично устройству, выполненному в соответствии с показанным на фиг.1 первым вариантом. Помимо этого и принцип работы устройства, выполненного по второму варианту, также в основном соответствует принципу работы устройства, выполненного по первому варианту. Однако в отличие от первого варианта устройство для проверки подлинности листового материала во втором варианте его выполнения дополнительно имеет со стороны датчика 20 УФ-излучения второй источник 31 света, испускающий излучение видимой области спектра, т.е. излучение с длиной волны более 400 нм. Если в спектре излучения, испускаемого источником 31 света, присутствуют составляющие с меньшей длиной волны, то перед ним можно установить фильтр 33, не пропускающий подобное излучение с меньшей длиной волны.
Первый источник 21 света и первый датчик 20 аналогично описанному выше со ссылкой на фиг.1 варианту выполнения устройства предназначены для проверки подлинности банкнот на основе проходящего сквозь них УФ-излучения. Второй датчик 30, который детектирует излучение видимой области спектра и который расположен со стороны первого, испускающего УФ-излучение источника 21 света, предназначен, как указано выше, для обнаружения оптических отбеливателей в материале проверяемых банкнот.
Второй датчик 30 дополнительно используется для детектирования прошедшего сквозь банкноту видимого излучения, испускаемого вторым источником 31 света. При падении излучения на подделку, бумага которой содержит оптический отбеливатель, возникает явление флуоресценции, в результате которого генерируется видимое излучение, обладающее сравнительно высокой энергией, и поэтому выдаваемое датчиком измеренное значение оказывается больше описанного выше порогового значения, на основе которого определяется наличие или отсутствие в бумаге оптического отбеливателя. При отсутствии же явления флуоресценция прошедшее сквозь проверяемую банкноту видимое излучение обладает значительно меньшей энергией, и поэтому выдаваемое датчиком измеренное значение оказывается меньше порогового значения, на основе которого определяется наличие или отсутствие в бумаге оптического отбеливателя. Это излучение исходило от второго источника 31 света и прошло сквозь банкноту BN. Соответствующие измеренные значения, выдаваемые вторым датчиком 30, преобразуются аналого-цифровым преобразователем в цифровую форму и затем передаются в блок 10 обработки, которым они соотносятся с измеренными первым датчиком 20 значениями, например делением измеренных первым датчиком 20 значений на измеренные вторым датчиком 30 значения. Перед выполнением такой операции деления одних значений на другие либо вместо нее можно выполнять также специальную корректировку другой математической зависимости, вытекающей из идентичного влияния, оказываемого материалом проверяемой банкноты на видимое и ультрафиолетовое излучение.
Подобный подход позволяет скомпенсировать влияние загрязнений, возможно имеющихся у банкнот BN, на результаты их проверки, поскольку описанные выше эффекты, наблюдаемые при прохождении оптического излучения сквозь банкноту, не изменяются при наличии у нее загрязнений. Более того, загрязнения уменьшают энергию прошедшего сквозь банкноту излучения, исходящего и от первого источника 21 света, и от второго источника 31 света. Поэтому влияние загрязнений, возможно имеющихся у банкнот, на результаты их проверки можно скомпенсировать, если, как описано выше, соотнести значения, полученные от первого датчика 20, со значениями, полученными от второго датчика 30. Очевидно, что в этом случае для проверки подлинности банкнот необходимо определить и сохранить в памяти 11 соответствующие пороговые значения, соответственно эталонные значения. Пороговые значения можно определить с помощью подлинных банкнот соотнесением значений, полученных от первого датчика 20, со значениями, полученными от второго датчика 30.
Поскольку загрязнения могут находиться в самых разнообразных местах банкнот, а также могут иметь самую разнообразную степень, было установлено, что проверять банкноту BN первым и вторым датчиками 20 и 30 наиболее целесообразно в одном и том же ее месте 15.
В идеальном случае длину волны излучения, испускаемого вторым источником 31 света, следует, как описано выше, подбирать с таким расчетом, чтобы для детектирования прошедшего сквозь банкноту излучения можно было задействовать уже предусмотренный для обнаружения в бумаге оптических отбеливателей второй датчик 30, для чего можно использовать, например, излучение голубой области спектра. Однако равным образом для компенсации влияния, оказываемого загрязнениями на результаты проверки банкнот, можно использовать и излучение иной длиной волны. Так, в частности, длина волны излучения, испускаемого вторым источником 31 света и воспринимаемого вторым датчиком 30, может быть также меньше длины волны излучения, испускаемого первым источником 21 света и воспринимаемого первым датчиком 20. В этом случае, однако, для возможности проверки бумаги на наличие в ней оптических отбеливателей со стороны первого источника 21 света необходимо предусмотреть еще один (не показанный на чертеже) датчик.
С целью компенсировать влияние на результаты проверки листового материала таких факторов, как старение, загрязнение или колебания температуры, воздействию которых подвержены датчики 20, 30, соответственно источники 21, 31 света, в промежутках между проверкой отдельных банкнот BN можно выполнять калибровку. С этой целью опорные значения, хранящиеся в памяти 11, сравниваются блоком 10 обработки со значениями, получаемыми от датчиков 20, 30. При выявлении отклонений между сравниваемыми между собой значениями блок 10 обработки может, например, выполнять соответствующую подрегулировку источников 21, 31 света. Для калибровки можно также использовать отдельные контролирующие приемники (не показаны), т.е. датчики, принимающие излучение от источников 21, 31 света. При выявлении такими контролирующими приемниками отклонений в характеристиках излучения, испускаемого источниками света, от номинальных выполняется их подрегулировка.
Наряду с описанными выше вариантами выполнения предлагаемого в изобретении устройства возможны и другие многочисленные варианты его выполнения. Сказанное относится прежде всего к размещению датчиков и/или источников света, расположение которых может отличаться от рассмотренного выше.
Равным образом в месте установки фильтров 22, 23, 32 и 33 дополнительно к ним или вместо них можно также предусмотреть другие оптические системы, такие как линзы, с целью обеспечить, например, особую фокусировку оптического излучения на место 15 его падения на банкноту или на датчики.
В других вариантах изменения могут заключаться в использовании большого количества датчиков 20, 30 и соответствующих источников 21, 31, что позволяет проводить измерения вдоль нескольких дорожек. При этом сканирование можно также осуществлять вдоль такого количества примыкающих друг к другу или взаимно перекрывающихся дорожек, при котором возможна проверка банкноты по всей ее площади.
В следующем варианте можно использовать источники света 21, соответственно 31, испускающие не только излучение с длиной волны менее, соответственно более 400 нм, но и излучение в некоторой ограниченной области спектра. Так, например, первый источник 21 света может испускать излучение с длиной волны, лежащей в пределах от 350 до 400 нм, а второй источник 31 может испускать излучение с длиной волны, лежащей в пределах от 400 до 450 нм. В этом случае датчики 20, соответственно 30 и/или фильтры 22, 23, 32, 33 должны быть соответствующим образом согласованы с испускаемым такими источниками света излучением.
В другом предпочтительном варианте выполнения предлагаемого в изобретении устройства предусмотрен синхронный усилитель, предназначенный для усиления выдаваемых по меньшей мере одним из датчиков 20, 30 выходных сигналов до их аналого-цифрового преобразования. Подобные синхронные усилители используются при регистрации и обработке исключительно слабых аналоговых сигналов и обеспечивают значительное подавление фонового шума. При использовании синхронного усилителя модулированный выходной сигнал датчика усиливается и демодулируется в синхронном детекторе с помощью нормированного опорного сигнала той же самой частоты модуляции. Затем в фильтре нижних частот отфильтровываются высокочастотные составляющие. Получаемый в результате сигнал пропорционален амплитуде усиленного флуоресцентного свечения (воспринимаемого датчиком 30), соответственно отраженного УФ-излучения (воспринимаемого датчиком 20). Поскольку синхронный усилитель наиболее целесообразно использовать для усиления прежде всего исключительно слабых сигналов, его применение позволяет регистрировать и с высокой точностью обрабатывать исключительно слабое оптическое излучение. Подобная возможность обеспечивает достижение существенных преимуществ прежде всего в том случае, когда интенсивность источника света снижается в процессе его эксплуатации, а возбуждаемое в проверяемой банкноте флуоресцентное свечение, соответственно прошедшее сквозь банкноту УФ-излучение становится вследствие этого слабее.
Настоящее изобретение может использоваться применительно прежде всего к машинам для обработки банкнот, например применительно к сортировочным машинам и/или машинам для подсчета банкнот и/или автоматам для приема наличных денег.
Формула изобретения
1. Способ проверки подлинности листового материала, прежде всего банкнот, с помощью УФ-излучения, заключающийся в том, что листовой материал облучают УФ-излучением и для проверки подлинности листового материала прошедшее сквозь него УФ-излучение подвергают анализу и обработке, отличающийся тем, что для проверки подлинности листового материала для прошедшего сквозь листовой материал УФ-излучения определяют одно нижнее пороговое значение, указывающее на наличие подделки из эмиссионной бумаги, и одно верхнее пороговое значение, указывающее на наличие подделки из обычной бумаги, с использованием по меньшей мере одного подлинного листа листового материала, причем подлинность листового материала устанавливают, если количество энергии прошедшего сквозь него УФ-излучения находится выше нижнего порогового значения и ниже верхнего порогового значения.
2. Способ по п.1, отличающийся тем, что проверяют, преобразуется ли УФ-излучение листовым материалом в излучение другой длины волны.
3. Способ по п.2, отличающийся тем, что листовой материал также облучают вторым оптическим излучением с отличной от длины волны УФ-излучения длиной волны, соотносят между собой параметры прошедшего сквозь листовой материал УФ-излучения и параметры прошедшего сквозь листовой материал второго излучения и для проверки подлинности листового материала полученный при таком соотнесении результат подвергают анализу и обработке.
4. Способ по п.3, отличающийся тем, что прошедшее сквозь листовой материал УФ-излучение и прошедшее сквозь листовой материал второе оптическое излучение регистрируют в одном и том же месте проверяемого листового материала.
5. Способ по п.3 или 4, отличающийся тем, что прошедшее сквозь листовой материал УФ-излучение и прошедшее сквозь листовой материал второе оптическое излучение подвергают анализу и обработке одновременно.
6. Способ по п.3 или 4, отличающийся тем, что проверяют, преобразуется ли УФ-излучение листовым материалом в излучение другой длины волны.
7. Устройство для проверки подлинности листового материала, прежде всего банкнот, с помощью УФ-излучения, имеющее источник (21) света, предназначенный для генерации УФ-излучения, которым облучается листовой материал (BN), по меньшей мере один датчик (20), предназначенный для регистрации прошедшего сквозь листовой материал (BN) УФ-излучения и формирования характеризующих его значений, а также блок (10) обработки, предназначенный для проверки подлинности листового материала (BN) на основе значений, полученных датчиком (20), отличающийся тем, что с блоком (10) обработки соединена память (11), в которой для проверки подлинности листового материала хранятся одно нижнее пороговое значение, указывающее на наличие подделки из эмиссионной бумаги, и одно верхнее пороговое значение, указывающее на наличие подделки из обычной бумаги, которые получены с использованием по меньшей мере одного листа подлинного листового материала и с которыми блоком (10) обработки сравниваются значения, полученные датчиком или датчиками (20), причем подлинность листового материала устанавливают, если полученные датчиком или датчиками (20) значения находятся выше нижнего порогового значения и ниже верхнего порогового значения.
8. Устройство по п.7, отличающееся тем, что для сканирования листового материала вдоль нескольких дорожек оно имеет несколько датчиков (20) и/или источников (21) света.
9. Устройство по п.8, отличающееся тем, что датчики (20) сканируют листовой материал по всей его поверхности.
10. Устройство по одному из пп.7-9, отличающееся тем, что оно дополнительно имеет по меньшей мере еще один датчик (30), полученные которым значения проверяются блоком (10) обработки на предмет преобразования УФ-излучения листовым материалом в излучение другой длины волны.
11. Устройство по п.10, отличающееся тем, что оно имеет синхронный усилитель, предназначенный для усиления сигнала первого или первых датчиков (20) и/или дополнительного или дополнительных датчиков (30).
12. Устройство по одному из пп.7-9 отличающееся тем, что оно имеет второй датчик (30), предназначенный для регистрации прошедшего сквозь листовой материал (BN) и исходящего от второго источника (31) света излучения и формирования характеризующих его значений, при этом блок (10) обработки предназначен для проверки подлинности листового материала (BN) на основе соотношения между значениями, полученными первым датчиком (20), и значениями, полученными вторым датчиком (30).
13. Устройство по п.12, отличающееся тем, что датчики (20, 30) сканируют листовой материал в одном и том же его месте (15).
14. Устройство по п.13, отличающееся тем, что датчики (20, 30) сканируют листовой материал одновременно.
15. Устройство по п.14, отличающееся тем, что для сканирования листового материала вдоль нескольких дорожек оно имеет несколько датчиков (20, 30) и/или источников (21, 31) света.
16. Устройство по п.15, в котором датчики (20, 30) сканируют листовой материал по всей его поверхности.
РИСУНКИ
|
|