|
(21), (22) Заявка: 2002122749/09, 21.11.2001
(24) Дата начала отсчета срока действия патента:
21.11.2001
(30) Конвенционный приоритет:
22.11.2000 FR 00/15095
(43) Дата публикации заявки: 10.10.2004
(46) Опубликовано: 20.06.2007
(56) Список документов, цитированных в отчете о поиске:
RU 2111536 C1, 20.05.1998. RU 2062507 C1, 20.06.1996. WO 0068858 А1, 16.11.2000. ЕР 0950968 А, 20.10.1999.
(85) Дата перевода заявки PCT на национальную фазу:
10.02.2003
(86) Заявка PCT:
FR 01/03666 (21.11.2001)
(87) Публикация PCT:
WO 02/42962 (30.05.2002)
Адрес для переписки:
117342, Москва, ул. Миклухо-Маклая, 65, корп.4, кв.34, пат.пов. И.Л.Стояченко, рег. № 23
|
(72) Автор(ы):
ЭЛЬ-АУССЕН Меди (FR), ТРАН ВАН БАНГ Нам-Хай (FR)
(73) Патентообладатель(и):
ВЕЛКОМ РИАЛ ТАЙМ (FR)
|
(54) СПОСОБ ПОЛУЧЕНИЯ, ХРАНЕНИЯ И ОБРАБОТКИ ЭЛЕКТРОННЫХ ВАУЧЕРОВ С ИСПОЛЬЗОВАНИЕМ МОБИЛЬНОГО ТЕЛЕФОНА ИЛИ ПЕРСОНАЛЬНОГО ЦИФРОВОГО ВСПОМОГАТЕЛЬНОГО СРЕДСТВА И СИСТЕМА ДЛЯ ЕГО ОСУЩЕСТВЛЕНИЯ
(57) Реферат:
Изобретение относится к системам получения, хранения и обработки электронных ваучеров клиентов, пользующихся мобильной связью или персональным цифровым «помощником». Техническим результатом является повышение эффективности проведения торговых операций. Мобильная система включает приспособления для обмена информацией в процессе покупки с терминалом, на котором производится оплата. В системе предлагают клиентам электронные ваучеры, соответствующие размерам скидок. Как только электронный ваучер получен, он поступает на хранение в хранилище мобильных систем. Коды проданных единиц изделий считываются на терминале, на котором производятся покупки, а список ваучеров, хранящийся в мобильной системе, передается на терминал покупок. Список ваучеров сравнивается со списком проданных единиц изделий, и, если на одну или несколько единиц изделий имеется ваучер, сумма скидок по вышеупомянутым ваучерам автоматически вычитается из общей суммы покупки. 2 н. и 17 з.п. ф-лы, 2 ил.
Настоящее изобретение касается способа получения, хранения и обработки электронных ваучеров (купонов) с помощью мобильного телефона или вспомогательного цифрового оборудования.
Изобретение также касается системы получения (приемки), хранения и обработки электронных купонов.
Особенно важное, хотя и не единственное применение данного изобретения лежит в области программ лояльности, разрабатываемых для поощрения потребителей, делающих покупки в одном и том же магазине или в одной и той же сети магазинов.
Системы получения скидок с помощью бумажных купонов, предъявляемых на кассе в момент совершения покупок, давно известны. Для облегчения обработки такого бумажного купона на него может в некоторых случаях наноситься штрих-код. Бумажные скидочные купоны обычно вырезаются из газет или распечатываются непосредственно на месте продажи. С недавнего времени они могут распечатываться также и с персонального компьютера.
Также существуют варианты использования карточек с микропроцессором для безналичных расчетов, при этом скидочные купоны хранятся в электронной форме в микропроцессоре карты. Карта помещается в считывающее устройство на месте продажи, и просканированные наименования сравниваются с купонами, хранящимися в памяти карты.
В случае, если приобретенное наименование включено в скидочную «купонную» программу, система вычитает сумму скидки, распечатывает эту сумму на чеке потребителя и отправляет информацию на центральный сервер для получения возмещения.
Однако существующие системы не лишены определенных недостатков.
Бумажные скидочные купоны предполагают наличие сложной и дорогостоящей системы управления, необходимой для оповещения потребителей о программе скидок, для расчета скидки в месте продаж и, наконец, для обработки информации. Накопление потребителями скидочных купонов также тормозит их использование.
В свою очередь варианты использования карт с микропроцессором для хранения скидочных купонов требуют передачи карты потребителю и наличия считывающего устройства для считывания информации и/или записи информации на карте. Основным неудобством в этом случае является необходимость разработки и внедрения целостной материальной инфраструктуры. Кроме того, использование карты не позволяет потребителю в любой момент увидеть, какие именно купоны хранятся на его карте и каковы условия их использования.
Чтобы заполнить этот пробел, владелец карты обязательно должен поместить ее в прибор, снабженный считывающим устройством (киоск, цифровой декодер, ПК, платежный терминал) и получить информацию о предложениях по скидкам, использовать их на месте продаж или же выяснить, какие льготы имеются на его карте. Перечень купонов на месте продаж может в этом случае распечатываться платежным терминалом, обрабатывающим карты с микропроцессором.
Настоящее изобретение преследует цель устранить эти неудобства и предоставить в распоряжение потребителей процедуру и систему, удовлетворяющую современные практические нужды полнее, чем известные до сих пор варианты; в частности, потому, что предлагаемая система позволит потребителю легко воспользоваться скидочными купонами в магазине или супермаркете с помощью своего мобильного телефона или эквивалентного устройства, например вспомогательного цифрового оборудования.
Изобретение позволяет осуществить внедрение исключительно мощной, простой в применении системы, которая, в частности, даст возможность с высокой точностью замерить уровень воздействия рекламы на потребителя.
Таким образом, персональные переносные приборы (мобильный телефон или вспомогательное цифровое оборудование), наиболее широко распространенные устройства для повседневного применения, позволяют потребителю участвовать в программах лояльности торговых точек.
Со своей стороны продавец будет использовать переносной прибор самого потребителя для хранения информации и касающихся потребителя поведенческих данных, которые обусловят предоставление льгот. При этом отпадает необходимость разработки специфического носителя для хранения данных типа карты лояльности.
И в самом деле, мобильные телефоны или вспомогательное цифровое оборудование являются переносными, безопасными и получившими массовое распространение устройствами, которые предоставляют гораздо больше возможностей, чем простая карта.
Помимо этого, мобильный телефон и вспомогательное цифровое оборудование являются устройствами, подсоединенными к сети, снабженными клавиатурой и экраном. Их можно использовать для того, чтобы обеспечить потребителю доступ к информации, касающейся истории его покупок и его прав.
Таким образом, просмотр истории покупок и приобретенных прав может осуществляться в режиме реального времени, в любой момент, минуя сложные административные процедуры и даже без использования каких бы то ни было дополнительных устройств.
И наконец, продавец сохраняет весь комплекс ранее существовавших преимуществ, которые позволяют ему максимально использовать возможность обеспечить лояльность потребителей.
Кроме того, на подсоединенный к сети мобильный телефон можно в любой момент времени и вне зависимости от местонахождения владельца выслать рекламные предложения, используя обычную процедуру передачи данных (пример: получение короткого сообщения). Получение информации может осуществляться как вследствие «активных» действий потребителя, который выбирает интересующие его предложения из предварительно определенного информационного источника (предложения или методы, называемые «pull»), так и при «пассивном» участии потребителя, который предварительно сообщает данные о своем профиле и предпочтениях (геомаркетинговые предложения или методы, называемые «push»).
Итак, с одной стороны, изобретение основывается прежде всего на необходимости избавиться от карты, которая предполагает «физический контакт» со считывающим устройством для получения предложения и использования карты в местах продаж, а с другой стороны, на весьма существенной и удивительной синергетической эффективности вышеупомянутых методов, называемых «push/pull».
С этой целью изобретение, в частности, предлагает процедуру получения, хранения и обработки электронных купонов для потребителя, имеющего мобильное устройство (мобильный телефон или вспомогательное цифровое оборудование, при этом с помощью указанного мобильного устройства можно осуществлять обмен данными с платежным терминалом в процессе операции покупки, и характеризуется тем, что на основании предложений, содержащихся в электронных скидочных купонах,
– осуществляется получение и хранение в памяти мобильного устройства не менее одного электронного купона,
– на уровне платежного терминала считываются коды купленных наименований,
– на платежный терминал передается перечень хранящихся в памяти мобильного устройства купонов или же, наоборот, на мобильное устройство передается перечень закупленных наименований, считанных на платежном терминале,
– указанный перечень купонов сравнивается с указанным перечнем купленных наименований.
– и в случае идентификации одного или нескольких наименований, которому или которым соответствуют один или несколько купонов, из общей суммы покупки производится автоматическое вычитание суммы или сумм скидок, соответствующих указанным купонам.
Скидка может составлять полную цену одного или нескольких наименований, которое или которые в таком случае будут считаться подаренными покупателю.
В системах продажи товаров со скидкой помимо этого или также применяются те и/или иные из следующих положений:
– передача данных между мобильным устройством и терминалом осуществляется при помощи радиоэлектрических или инфракрасных волн;
– электронный купон или купоны передаются на мобильное устройство через сеть серверов централизованной информации типа Интернета;
– чтобы выбрать предложение электронных купонов, потребитель приводит в действие пульт дистанционного управления телевизором, например в момент трансляции коммерческой рекламы, и тогда электронный купон или купоны автоматически загружаются в память мобильного устройства;
– чтобы выбрать предложение электронных купонов, которое предоставляется потребителю напрямую, через посредство его мобильного устройства, через сеть Интернет и/или через киоск (место продажи), потребитель приводит в действие клавиатуру своего мобильного устройства;
– одновременно с предложением передаются сведения о дополнительных условиях применения скидок непосредственно на месте и/или о сроке их действия и/или информация о товаре, причем указанная информация передается таким образом, чтобы потребитель мог ознакомиться с ней, используя клавиатуру и экран своего мобильного устройства;
– предложения передаются потребителю, который получает их на свое мобильное устройство пассивным образом в зависимости или нет от определенного профиля данного потребителя, идентифицированного по его мобильному устройству;
– для выбора предложения по электронным купонам осуществляется определение местоположения мобильного устройства в пространстве и на указанное мобильное устройство передается электронный купон или купоны в зависимости от географического положения данного мобильного устройства;
– загрузка электронных купонов производится в непосредственной близости от платежного терминала;
– после вычета суммы скидки информация автоматически передается на удаленный сервер, который обрабатывает указанную информацию, дополняя базу поведенческих данных, касающихся мобильного устройства, принадлежащего данному потребителю, и/или пополняя счет, соответствующий магазину, в котором была получена данная скидка, чтобы в реальном времени возместить магазину предоставленную потребителю скидку;
– потребитель сверяется с журналом купонов, вручную запрашивая свое мобильное устройство.
Изобретение также предлагает систему получения, хранения и обработки электронных купонов с использованием вышеописанной процедуры.
Вместе с тем изобретение предлагает систему получения, хранения и обработки электронных купонов в процессе покупки товара в месте продаж.
Система включает:
– мобильный телефон или вспомогательное цифровое оборудование, снабженное памятью для хранения данных (SIM-карта и/или собственная память и т.д.). Для простоты далее мы ограничимся употреблением термина «мобильный телефон». Хотя совершенно очевидно, что термин «вспомогательное цифровое оборудование» вполне может его заменить;
– терминал на месте продажи, например электронная регистрирующая касса, способная сообщаться напрямую или через посредство периферийного оборудования (дистанционное управление или платежный терминал) с мобильным телефоном;
– устройство для считывания штрих-кодов купленных наименований (пример: сканер штрих-кодов или бесконтактное считывающее устройство для электронных микропроцессоров);
– один или несколько удаленных информационных серверов типа ПК, осуществляющих следующие функции:
– отправка скидочных купонов на мобильный телефон (пример: сервер SMS),
– сбор и обработка данных, касающихся транзакций на месте продаж,
– при необходимости отправка на мобильный телефон данных, необходимых для вывода на экран указанного телефона дополнительных сведений о предоставляемых скидках и сроках их действия;
– протокол сообщения между мобильным телефоном и терминалом (в данном случае – электронная регистрационная касса). Сообщение может быть прямым или осуществляться через периферийное оборудование (дистанционное управление или платежный терминал), оборудованное модулем связи.
Уточним, что модулем связи может служить, например, модуль, использующий тот и/или иной из следующих стандартов:
– «SMS» (англосаксонская аббревиатура, обозначающая Short Message Service, то есть Служба Коротких Сообщений), являющийся стандартом для пересылки и получения коротких сообщений терминалами, оборудованными модулем GSM,
– «Bluetooth» – стандарт для передачи сообщений по радио на коротких дистанциях,
«IrDa» – стандарт для передачи сообщений на инфракрасных волнах и т.д.,
– комплекс модулей и программного обеспечения, выполняющий следующие функции:
– отправка и получение купонов на мобильном телефоне потребителя,
– обмен информацией между терминалом на месте продаж и мобильным телефоном,
– хранение и обновление данных в мобильном телефоне,
– считывание и интерпретация информации, касающейся купонов, на уровне терминала на месте продаж,
– сбор и обработка данных, касающихся транзакций на месте продаж,
– вывод на экран мобильного телефона купонов и соответствующих им условий предоставления скидок.
Смысл настоящего изобретения можно лучше понять после прочтения нижеследующего описания способов реализации, приведенных в качестве примера и не являющихся ограничительными. Описание сопровождается чертежами, на которых:
фиг.1 дает схематичное изображение системы в соответствии со способом реализации изобретения;
фиг.2 дает пример экранов мобильного телефона, используемого в способе реализации изобретения.
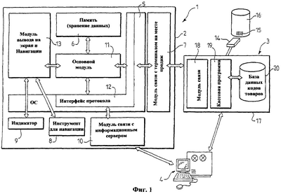
На фиг.1 представлена система 1, состоящая из мобильного или переносного телефона 2 или сходного устройства типа вспомогательного цифрового оборудования, платежного терминала или терминала в месте продажи 3 типа электронной регистрационной кассы, одного или нескольких удаленных серверов 4 для централизованного хранения и обработки информации.
Телефон 2 состоит из следующего программно-аппаратного обеспечения, либо интегрированного, либо подключенного через периферийные устройства:
– эксплуатационная система 5 (Operating System или ОС на англосаксонском языке),
– память 6 для хранения данных типа собственной памяти и/или SIM-карты,
– модуль 7 для связи и обмена данными с терминалом в месте продажи 3, работающий на инфракрасных волнах (тип IrDa), на радиочастоте (тип Bluetooth), передающий короткие сообщения (тип SMS)…
– инструмент 8 для навигации (голосовой, тактильный и/или ручной) и экран дисплея 9,
– модуль связи 10 для доступа к информации с удаленных серверов 4 и получения данных,
– программное обеспечение состоит из следующих модулей:
– основной модуль 11, предназначенный, с одной стороны, для обработки внешней информации, полученной от терминала в месте продажи 3 или от информационного сервера 4, для обновления данных, хранящихся в памяти 6 и для отправки необходимой информации на терминал в месте продажи 3 через посредство интерфейса протокола 12, а, с другой стороны, использующийся для обработки данных, хранящихся в памяти 6, для их возможной корректировки в сторону данных, содержащихся на сервере 4, через посредство интерфейса протокола 12 и для передачи этой информации на модуль вывода на экран и навигации 13,
– вышеуказанный модуль вывода на экран и навигации 13, предназначенный для вывода информации на экран дисплея 9 и для обеспечения доступа к различным купонам с помощью инструмента для навигации 8.
Терминал на месте продажи 3 состоит из следующего программно-аппаратного обеспечения, либо интегрированного, либо подключенного через периферийные устройства:
– система 14 для считывания кодов 15 на товарах 16, позволяющая, например, сканировать штрих-коды 15, нанесенные на указанные купленные товары 16;
– регистрационное кассовое оборудование 17, состоящее из трех основных модулей, а именно модуля связи 18, обеспечивающего обмен данными с переносным телефоном 2, кассовой программы 19, предназначенной для обработки всего комплекса информации, связанной со сканируемыми наименованиями товара и с соответствующими им скидочными купонами,
– базы данных 20, в которой группируется информация, касающаяся каждого из кодов наименований товаров.
В некоторых случаях, при невозможности осуществить прямую связь с переносным телефоном 2, касса 17 может подсоединяться к периферийному оборудованию, к дистанционному управлению или к платежному терминалу (на чертежах не представлены), способному связываться с переносным телефоном и передавать информацию с терминала в месте продажи 3 или на него.
Теперь в качестве примера опишем, как происходит эмиссия скидочного купона, скидка по которому предоставляется в сети супермаркетов.
Чтобы это сделать, необходимо прежде всего получить и сохранить электронные купоны в соответствии с тем и/или иным из следующих методов приема данных:
А. Выбор скидочных купонов или рекламных предложений: Метод «PULL».
В данном варианте выбор рекламного предложения осуществляется на выбранном интерактивном источнике информации, то есть например:
– поиск на экране подсоединенного к сети Интернет телефона по сайту, совместимому с протоколом WAP (протокол беспроводных приложений),
– поиск на подсоединенном к сети Интернет ПК с указанием предложения, по каким именно купонам из представленных на сайте желает получать пользователь,
– выбор скидочного купона через интерактивный киоск,
– выбор купона через интерактивное телевидение, либо из списка представленных предложений, либо с помощью дистанционного управления в момент трансляции коммерческой рекламы.
В этот момент потребитель (телезритель) автоматически получает на свой мобильный телефон, находящийся в режиме ожидания, рекламное предложение (или скидочный электронный купон) по товару или группе товаров, представленной в данном рекламном ролике.
Выбор скидочного купона в процессе трансляции рекламного ролика может также сопровождаться предоставлением дополнительной информации об интересующем потребителя товаре посредством отправки ссылки на сайт в Интернете. Эта ссылка направляется на адрес электронной почты потребителя (электронная почта телефона типа WAP, персонального компьютера или телевизора с выходом в Интернет или webTV).
Например (см. фиг.2), потребитель выбирает следующие скидочные купоны:
– «5 франков скидки на покупку моющего средства» – выбрано в процессе навигации по меню телефона WAP;
– «Пакет кофе В ПОДАРОК за два купленных пакета» – выбрано на специализированном скидочном сайте в Интернете,
– «Пятая бутылка содовой воды, купленная до 17/11/00 В ПОДАРОК» – выбрано посредством включения соответствующей функции дистанционного управления в процессе трансляции рекламного ролика, расхваливающего преимущества знаменитой марки содовой воды.
Каждое рекламное предложение имеет дополнительные условия использования, такие как срок действия предложения, место (места) получения скидок и подарков и т.д. Выбор скидочного купона может также сопровождаться одновременной отправкой информации, касающейся данного товара.
Б. Получение целевых предложений: Метод «PUSH».
В данном варианте потребитель получает предложения пассивным образом.
Участвующий в скидочных программах потребитель также может указать свои предпочтения и/или свой профиль, и тогда ему будут высылаться только те рекламные предложения, которые соответствуют указанным сведениям, что, разумеется, увеличит эффект отдачи.
Для целевого определения рекламных предложений существуют и другие методики, такие как «геомаркетинг».
Данная концепция является хорошим примером того, что позволяют осуществить предлагаемые в изобретении процедура и система.
Концепция основывается на технических приемах определения местоположения, которые дают возможность определить местонахождение мобильного телефона в пространстве и отправить на него рекламные предложения, адаптированные в соответствии с его географическим месторасположением и профилем, с соблюдением применяемых в данной области законов об охране частной жизни.
В данном случае, во избежание отправки нежелательных рекламных предложений, необходимо предварительно заручиться согласием потребителя.
В. Эмиссия скидочных купонов может также осуществляться и на месте продаж.
Для этой цели можно, например, просканировать нужные наименования товара и получить купон, загруженный в память мобильного телефона, непосредственно в месте продаж.
В этом варианте также возможно получать скидочные купоны непосредственно с помощью терминала в месте продаж.
Рекламные предложения в этом случае выдаются случайным образом или же в соответствии с заранее определенными условиями, связанными с профилем потребителя, когда потребитель идентифицируется терминалом в месте продаж на основе сведений, хранящихся в его мобильном телефоне.
При применении описанного здесь способа реализации отправка рекламных предложений на мобильный телефон потребителя и хранение информации осуществляется следующим образом.
Потребитель идентифицируется по своему номеру телефона, причем помимо номера может предоставляться еще некоторое количество информации, например фамилия, адрес электронной почты и т.д.
Выбранное идентифицированным потребителем рекламное предложение (или предложения) в этом случае поступает на информационный сервер, который пересылает скидочное предложение на телефон потребителя. Эта отправка может производиться с помощью коротких сообщений, называемых CMC (SMS). Потребитель получает скидочное предложение на экран своего переносного телефона, затем, нажав одну клавишу, он может принять данное предложение и занести его в память телефона (собственная память, SIM-карта или иное).
Когда электронные купоны получены, они могут быть использованы, например, следующим образом.
Выбрав необходимые наименования товаров, потребитель приходит в место продаж.
Коды товара считываются на кассе (сканнер штрих-кодов, бесконтактное считывающее устройство для карт с микрочипом), затем переносной телефон потребителя связывается с терминалом на месте продажи (непосредственно или через периферийное оборудование).
Связь может быть инициализирована как самим покупателем, который нажатием соответствующей клавиши отправляет имеющиеся в его распоряжении купоны для обработки на кассу, так и самой кассой, которая в этом случае отправляет на телефон запрос для получения предложений, действующих в данном месте продаж.
Как уже было сказано, при обмене данными между телефоном и кассой используются технологии типа Bluetooth, IrDa или SMS (через Блютутс, инфракрасный порт или систему коротких сообщений).
Затем касса сравнивает перечень купонов, переданных мобильным телефоном с перечнем считанных товаров.
Если касса идентифицирует наименование, которому соответствует скидочный купон, сумма скидки автоматически вычитается из общей суммы покупки, информация заносится на кассовый чек, а скидочный купон пересылается на информационный сервер для обработки.
Для некоторых скидочных купонов типа «Пятая купленная бутылка содовой воды в подарок» счетчик наименований товаров включается в информацию, касающуюся купона, этот счетчик, находящийся в памяти телефона, обновляется с помощью кассы, которая пересылает информацию до тех пор, пока не будет соблюден критерий пригодности купона (в данном случае покупка 5 бутылок содовой воды за месяц).
Затем обработка и использование информации осуществляются системой в соответствии с описанным способом реализации изобретения.
Использование купона в данном случае обуславливает отправку информации на уровень центрального сервера 4.
Данная информация позволит компенсировать указанное достоинство купона, то есть возместить магазину суммы предоставленной покупателю скидки. Кроме того, использование этих данных позволяет получить представление о покупательском поведении идентифицированного потребителя. Аналитическая работа в данном направлении позволит внести корректировки в разработку и рассылку рекламных предложений и лучше сегментировать новые рекламные предложения. Естественно, в дальнейшем опыт помогает обогатить и разнообразить данный процесс.
При подобном способе выигрышной реализации потребитель сможет видеть на экране своего телефона весь список доступных купонов и выбирать из него нужный.
Экран мобильного телефона позволяет просмотреть все купоны, занесенные в память, причем информация об условиях получения купонов также высвечивается на экране мобильного телефона, как показано на фиг.2.
Теперь опишем функционирование системы и процедуры в соответствии со способом реализации конкретного изобретения.
Скидочные купоны передаются на телефон 2 с одного или нескольких информационных серверов благодаря модулю связи 10 и через интерфейс 12. В основном модуле 11 скапливается информация, касающаяся купонов, информация хранится в памяти 6.
В месте продаж купленный товар сканируется на кассе 17 сканером штрих-кодов или любым другим считывающим устройством 14, затем потребитель со своего мобильного телефона устанавливает связь с терминалом в месте продаж 3 (непосредственно или через дополнительное периферийное оборудование). Данная связь может быть установлена как самим покупателем, которому достаточно нажать на соответствующую клавишу и отправить имеющиеся в его распоряжении купоны на обработку на кассу, так и самой кассой, которая в этом случае пошлет запрос на мобильный телефон 2, чтобы получить скидочные предложения, действующие в данном месте продаж.
Основной модуль 11 обрабатывает запрос и отправляет перечень купонов, содержащихся в памяти 6, посредством модуля связи 7 через интерфейс протокола 12.
Как уже говорилось, обмен данными между телефоном 2 и кассой 17 осуществляется по технологиям типа Bluetooth, IrDa или же SMS. Связь между терминалом в месте продаж 3 и мобильным телефоном 2 осуществляется посредством модулей связи 7 и 18 через интерфейс протокола 12.
Инициализация сообщения между мобильным телефоном 2 и платежным терминалом или терминалом в месте продажи 3 в случае связи через инфракрасный порт осуществляется посредством простой наводки (точечная связь), при применении технологии «BLUETOOTH» идентификация и синхронизация между двумя приборами осуществляется посредством определения частоты при связи типа Master/Slave. И наконец, связь посредством передачи коротких сообщений требует набора телефонного номера для установления связи и обмена информацией.
Затем касса 17, используя свое внутреннее программное обеспечение 19, сопоставляет перечень купонов, переданный мобильным телефоном 2 с перечнем наименований товара, отсканированных считывающим устройством 14. Можно рассматривать вариант применения других систем считывания, например, так называемое бесконтактное считывание штрих-кодов наименований товара благодаря использованию электронных чипов, наклеиваемых непосредственно на товар.
Когда распознается наименование товара, которому соответствует скидочный купон, сумма скидки автоматически вычитается из общей суммы покупки, при этом информация записывается на кассовый чек.
Полученная в процессе транзакции информация затем передается для обработки на информационный сервер 4.
Основной модуль 11 получает информацию, передаваемую терминалом в месте продажи 3 и обновляет данные в памяти 6.
Для некоторых скидочных купонов типа «5-я купленная бутылка содовой воды в подарок» в информацию, касающуюся купона, включен счетчик наименований. Этот счетчик обновляется в памяти телефона 6 благодаря кассе 3, которая отправляет информацию до тех пор, пока не будет соблюден критерий применения купона (в данном случае покупка 5 бутылок содовой воды в течение месяца).
Как уже указывалось выше, потребитель может также получать скидочные купоны на уровне терминала в месте продажи 3, либо случайным образом, либо в соответствии со строго определенными критериями (профиль потребителя, программа лояльности и т.д.).Эти купоны помещаются в тот же файл купонов, содержащийся в памяти 6 мобильного телефона 2 с помощью основного модуля 11, который обрабатывает информацию, поступающую от модуля связи 7 через интерфейс 12.
Для обеспечения потребителю возможности свериться с перечнем купонов основной модуль 11 обращается к информации, содержащейся в памяти 6 телефона 2. В случае, если в памяти содержится полная информация, основной модуль 11 передает полученные данные на модуль вывода информации на экран и навигации 13.
В случае, если в памяти 6 содержится неполная информация, устройство основного модуля позволяет ему получить недостающую информацию посредством отправки удаленного запроса на информационный сервер 4 через посредство модуля связи 10 и интерфейса протокола 12. Затем основной модуль сличает информацию, содержащуюся в памяти 6, с информацией, полученной от сервера, и передает ее на модуль вывода на экран и навигации 13.
Получив эти данные, модуль вывода информации на экран и навигации 13 осуществляет их форматирование и передает на дисплей 9. Теперь владелец телефона может проконсультироваться с этими данными, используя инструмент для навигации 8.
Теперь мы опишем информацию, содержащуюся в памяти телефона или мобильного прибора, применяемых в описываемой здесь системе.
Информация, содержащаяся в памяти 6 телефона 2, распределена по следующим файлам:
– Файл общей информации
Содержит информацию с описанием телефона и/или оператора, то есть:
– идентификационный номер мобильного телефона и/или SIM-карты,
– наименование оператора (или идентификационные сведения, позволяющие узнать это наименование),
– срок действия договора на предоставление услуг мобильной телефонии.
– Файл информации о Потребителе
В нем содержится информация, касающаяся владельца телефона, например:
– имя владельца телефона,
– идентификационный номер пользователя (например, номер абонентского контракта),
– демографические сведения: дата рождения, адрес владельца,
– биометрические данные, например рост пользователя,
Файл информации о Купонах
Позволяет хранить скидочные купоны в памяти телефона для их дальнейшего использования. Среди хранящейся в этом файле информации содержится, например, следующая:
– идентификатор рекламного предложения,
– идентификационный код купона,
– срок годности купона,
– описание или наименование купона,
– идентификатор сети, в которой предоставляются скидки.
В случае применения системы накопительных покупок (пример: 5-я бутылка кока-кола, купленная до 31/12, в подарок):
– необходимое количество купленных товаров для предоставления льготы по купону,
– счетчик товаров.
– Файл ДЧС (Давность, частота, сумма)
В этом файле хранится информация о покупательском поведении потребителя: общая сумма покупок, осуществленных в каждом из магазинов, которые посещал владелец мобильного телефона.
Файл представляет собой совокупность записей, причем в каждой записи содержится информация о программе или программах лояльности данного магазина (или нескольких магазинов, если все они применяют одну и ту же программу лояльности).
Каждая запись содержит следующую информацию:
– идентификационный номер программы лояльности,
– тип программы лояльности, применяемой в данной торговой точке,
– срок действия программы лояльности,
– дата последнего посещения данной торговой точки,
– общее количество посещений данной торговой точки,
– накопительная сумма покупок, осуществленных в данной торговой точке,
– в некоторых случаях – общее количество наименований, купленных в данной торговой точке (пример: # пицц).
Файл с информацией о приобретенных очках
В данном файле хранится информация об общей сумме очков лояльности, приобретенных владельцем мобильного телефона при посещении одной или нескольких торговых точек (в случае, если льгота предоставляется в форме эмиссии очков лояльности типа накапливаемых рекламных единиц, которые затем подлежат возмещению).
Как само собой разумеется и как следует из вышеизложенного, настоящее изобретение не ограничивается рассмотренными способами реализации.
Напротив, изобретение может применяться в любых вариантах, в частности, когда в качестве мобильного прибора используются часы или когда клавиатурой мобильного прибора является тактильный экран, а также когда протоколы связи между серверами, телефоном и торговой точкой отличаются от рассмотренных выше.
Формула изобретения
1. Способ получения, хранения и обработки электронных купонов для потребителя, имеющего мобильный телефон или вспомогательное цифровое оборудование, далее именуемое мобильный прибор (2), при этом мобильный прибор включает средства (7) обмена данными с платежным терминалом (3) в процессе операции закупки, характеризующийся тем, что на основе предложений о предоставлении скидок, содержащихся в электронных купонах, производят получение и занесение в память (6) мобильного прибора (2) не менее одного электронного купона, производят считывание кодов (15) наименований товаров (16), закупленных на платежном терминале, на платежный терминал (3) передают перечень купонов, хранящихся в мобильном приборе (2), или наоборот, на мобильный прибор (2) передают перечень купленных наименований товаров, считанных на платежном терминале, указанный перечень купонов сравнивают с указанным перечнем купленных наименований товара, и если идентифицируется одно или несколько наименований товара, которому или которым соответствует один или несколько скидочных купонов, из общей суммы покупки производят автоматически вычитание суммы одной или нескольких скидок, соответствующих указанным купонам, передачу электронного купона на мобильный прибор осуществляют через центральную сеть информационных серверов (4), одновременно с передачей предложения осуществляют передачу данных о дополнительных условиях использования предложения на месте и/или данных о сроке действия предложения и/или информации о товаре, причем данные и информацию располагают таким образом, чтобы позволить потребителю увидеть ее на своем мобильном приборе (2), используя его клавиатуру, предложения передают потребителю, который получает их на свой мобильный прибор (2) пассивным образом в зависимости или нет от определенного профиля данного потребителя, идентифицированного по его мобильному телефону.
2. Способ по п.1, характеризующийся тем, что передачу данных между мобильным прибором (2) и терминалом (3) осуществляют посредством радиоэлектрических или инфракрасных волн.
3. Способ по п.1, характеризующийся тем, что для выбора предложения электронных купонов потребитель приводит в действие дистанционное управление телевизора в процессе трансляции коммерческой рекламы, и тогда электронный купон или купоны автоматически загружаются в мобильный прибор.
4. Способ по любому из вышеуказанных пунктов, характеризующийся тем, что для осуществления выбора электронных купонов для предложений, которые предлагаются потребителю напрямую, через посредство его мобильного телефона (2), через посредство сети Интернет и/или через посредство киоска, потребитель приводит в действие клавиатуру (8) своего мобильного прибора (2).
5. Способ по п.1, характеризующийся тем, что для осуществления выбора электронных купонов производят определение местоположения мобильного прибора в пространстве и осуществляют передачу на указанный мобильный прибор электронного купона или купонов в зависимости от географического месторасположения указанного мобильного прибора.
6. Способ по п.1, характеризующийся тем, что загрузку мобильного купона или купонов осуществляют непосредственно вблизи от платежного терминала (3).
7. Способ по п.1, характеризующийся тем, что после вычитания суммы скидки производят автоматическую передачу информации на удаленный сервер (4), который с помощью полученной информации, фактически в реальном времени, обрабатывает и обновляет базу поведенческих данных, касающихся мобильного прибора (2), принадлежащего указанному потребителю, и увеличивает счет, соответствующий торговой точке, в которой была предоставлена указанная скидка, чтобы позволить возместить данной торговой точке скидку, предоставленную потребителю.
8. Способ по п.1, характеризуемый тем, что покупатель, вручную запрашивая свой мобильный телефон, проверяет набор купонов, имеющихся в его распоряжении.
9. Система (1) получения, хранения и обработки электронных купонов в процессе операции покупки потребителем товаров в торговой точке, включающая платежный терминал (3), прибор (14) для чтения штрих-кодов купленных наименований товара, один или несколько удаленных информационных серверов (4), по крайней мере, один мобильный телефон или вспомогательное цифровое оборудование, далее именуемого мобильным прибором (2), при этом мобильный прибор, определенный как принадлежащий данному потребителю, снабжен памятью (6) и средствами для осуществления связи с платежным терминалом, характеризующийся тем, что указанные один или более информационные серверы (4) содержат средства, позволяющие обеспечивать отправку скидочных купонов на мобильный телефон (2), а также сбор и обработку данных, касающихся операций по закупке в торговой точке, и, по крайней мере, один мобильный прибор (2) и платежный терминал (3) содержат средства (7) связи между мобильным прибором и платежным терминалом, программные средства (11) подсчета и обработки данных для обеспечения следующих функций: отправка и приемка купонов на мобильном приборе потребителя, обмен информацией между терминалом на месте продаж и мобильным прибором, хранение и обновление данных, содержащихся в мобильном приборе, чтение и толкование информации, касающейся электронных купонов, сбор и обработка данных, касающихся операций по покупке товара, сравнение электронных купонов и купленных товаров.
10. Система по п.9, характеризующаяся тем, что мобильный прибор имеет средства (8, 9) для визуализации купонов и соответствующих условий их применения, что позволяет потребителю сверяться с журналом (набором) скидочных купонов и узнавать об условиях, связанных с предоставлением скидок.
11. Система по п.9, характеризующаяся тем, что средства связи (7) между мобильным прибором и платежным терминалом устроены таким образом, чтобы обеспечивать связь посредством радиоэлектрических или инфракрасных волн.
12. Система по любому из пп.9-11, характеризуемая тем, что дополнительно содержит средства выбора скидочных купонов или рекламных предложений через, по крайней мере, одно подключенное к Интернету интерактивное средство информации на сайте, совместимым с ВАП-протоколом беспроводных приложений, на персональном компьютере, подключенном к Интернету или в интерактивном киоске.
13. Система п.9, характеризуемая тем, что дополнительно содержит средства для выбора купона на интерактивном телевидении, либо из перечня предложений, либо посредством нажатия на пульт дистанционного управления в процессе трансляции коммерческой рекламы, при этом мобильный прибор выполнен с возможностью автоматического получения рекламных предложений, связанных с товарами или с ассортиментом товаров, представленных в данной рекламе.
14. Система по п.9, характеризующаяся тем, что содержит средства (10, 4) передачи поведенческих данных и/или информации о лояльности потребителя с удаленного сервера (4).
15. Система по п.9, характеризующаяся тем, что дополнительно содержит средства сообщения, по крайней мере, об одном предпочтении и/или профиле потребителя, при этом мобильный прибор имеет возможность получения предложений пассивным образом.
16. Система по п.9, характеризующаяся тем, что снабжена средствами для определения местоположения мобильного прибора в пространстве и средства передачи предложений, адаптированных в соответствии с географическим положением указанного мобильного телефона.
17. Система по п.9, характеризующаяся тем, что дополнительно содержит для направления скидочных купонов в место продаж, для сканирования кодов соответствующих товаров и для загрузки купона в мобильный прибор непосредственно на месте продаж, при этом купоны могут направляться как случайным образом, так и в соответствии с заранее определенными условиями, связанными с профилем потребителя, а потребитель распознается терминалом на месте продаж на основе информации, хранящейся в его мобильном приборе.
18. Система по п.9, характеризующаяся тем, что память (6) мобильного прибора содержит Главный файл общей информации, содержащий информацию, по крайней мере, об одном мобильном приборе и операторе, файл с информацией о потребителе, в котором находятся сведения о владельце телефона, файл с информацией о купонах, позволяющий хранить скидочный купон или купоны в памяти, файл под названием RMF с информацией о поведенческих данных и о лояльности потребителя.
19. Система по п.18, характеризующаяся тем, что память мобильного прибора дополнительно содержит файл приобретенных очков (пунктов) для хранения суммарных данных о лояльности в баллах, набранных владельцем мобильного телефона при покупке в одной или нескольких торговых точках.
РИСУНКИ
|