|
|
(21), (22) Заявка: 2003120803/28, 11.12.2001
(24) Дата начала отсчета срока действия патента:
11.12.2001
(30) Конвенционный приоритет:
13.12.2000 FI 20002737
(43) Дата публикации заявки: 27.01.2005
(46) Опубликовано: 20.06.2007
(56) Список документов, цитированных в отчете о поиске:
US 5986807 А, 16.11.1999. RU 2082187 С1, 20.06.1997. US 5496616 А, 05.03.1996. US 5966399 А, 12.10.1999.
(85) Дата перевода заявки PCT на национальную фазу:
14.07.2003
(86) Заявка PCT:
FI 01/01082 (11.12.2001)
(87) Публикация PCT:
WO 02/48758 (20.06.2002)
Адрес для переписки:
191186, Санкт-Петербург, а/я 230, “АРС-ПАТЕНТ”, пат.пов. В.М.Рыбакову, рег. № 90
|
(72) Автор(ы):
ХАТЬЯСАЛО Лео (FI), РИНКО Кари (FI)
(73) Патентообладатель(и):
ОЙ МОДИНЕС ЛТД. (FI)
|
(54) ФОРМИРОВАТЕЛЬ ПУЧКА
(57) Реферат:
Формирователь пучка предназначен для применения совместно с одним или более индивидуальными квазимонохроматическими источниками света и изготовлен из, по существу, прозрачного материала в виде пропускающего элемента, влияющего на распространение света для получения пучка/пучков света круглой, эллиптической, коллимированной, расходящейся, сходящейся и/или иной формы. Пропускающий элемент формирователя пучка, направляющий пучок/пучки света, снабжен структурой, по меньшей мере, частично состоящей из бинарных дифракционных участков с поверхностным рельефом. Локальные периоды d(r) решеток, где r – расстояние от оптической оси формирователя пучка, оптимизированы в продольном и поперечном направлениях, а также по отношению к оптической оси, по существу, в соответствии с геометрией дифракции Брэгга из условия обеспечения максимальной эффективности дифракции. Технический результат – обеспечение максимальной эффективности модифицирования пучков, излучаемых источниками света, а также возможность создания простых, эффективных и долговечных оптических систем и возможность организации массового производства. 11 з.п. ф-лы, 12 ил.
Область техники, к которой относится изобретение
Изобретение относится к формирователю пучка, предназначенному для применения совместно с квазимонохроматическим источником света и изготовленному из, по существу, прозрачного материала в виде пропускающего элемента, влияющего на распространение света для получения пучка/пучков света круглой, эллиптической, коллимированной, расходящейся, сходящейся и/или иной формы.
Уровень техники
Для указанного выше применения в настоящее время известны, например, пропускающие элементы следующих типов: а) преломляющие линзовые системы, б) дифракционные линзовые системы и в) гибридные конструкции.
В добавление к перечисленным вариантам в настоящее время находит применение также так называемый отражатель Брэгга, конструкция которого имеет в данном контексте частично отражающий, а частично пропускающий характер. Кроме того, известно применение конструкции Брэгга в качестве так называемой волоконной решетки в прикладных задачах, связанных с оптическим волокном. Указанное устройство функционирует как конструкция, обеспечивающая селективный выход, но, однако, не как пропускающий элемент типа линзы. При этом описанные выше технические решения в области профилирования пучка находятся пока еще на стадии поисков практического применения.
Так, в частности, в патенте США №5966399 представлен отражатель Брэгга (так называемая линза Френеля), который интегрирован с плоскостным лазером с вертикальным резонатором (ПЛСВР), однако для полупроводника указанный отражатель не является реальной защитной подложкой. При этом в данном контексте не было приведено никаких технических решений, непосредственно пригодных при массовом производстве. Далее, в международной патентной заявке PCT/US98/17295 описан формирователь пучка, интегрированный с полупроводниковыми лазерами и содержащий отдельный линзовый элемент. Эта специфическая линза имеет в своей основе традиционные преломляющие и дифракционные принципы и включает в себя гибридные конструкции, построенные с их использованием. Однако описанный в указанной заявке линзовый элемент не составляет одно целое с источником света, причем в данном случае нет никаких указаний на использование эффекта Брэгга.
В добавление к сказанному в патенте США №6075650 представлен формирователь пучка, содержащий отдельную цилиндрическую линзу. Указанная линза также имеет в своей основе преломляющие или дифракционные поверхности и модифицирована для формирования светового волнового фронта, генерируемого, главным образом, лазерными диодами. В этом патенте не описываются какие-либо технические решения, касающиеся, с одной стороны, какой бы то ни было интеграции с источником света, а с другой стороны, любого использования решетки Брэгга.
Раскрытие изобретения
Задачей, решаемой с помощью формирователя пучка по изобретению, является обеспечение существенного улучшения ситуации, касающейся описанных выше технических приемов, с целью значительного повышения предшествующего технического уровня. Решение этой задачи достигается, в основном, за счет использования формирователя пучка по изобретению, который характеризуется тем, что его пропускающий элемент, влияющий на распространение пучка/пучков света, имеет структуру, которая, по меньшей мере, частично состоит из участков бинарных дифракционных решеток, образованных поверхностным рельефом. С целью обеспечения максимальной эффективности дифракции данных участков локальные периоды решеток оптимизированы в продольном и поперечном направлениях, а также по отношению к оптической оси, по существу, в соответствии с геометрией дифракции Брэгга.
К наиболее важным преимуществам, обеспечиваемым устройством по изобретению, относится конструкция формирователя, идеальная как с точки зрения теоретических положений, так и в плане практических прикладных задач. Причиной этого является, главным образом, то обстоятельство, что формирователь пучка, интегрированный в виде компонента, периферийного по отношению к источнику света, способен обеспечить максимальную теоретическую эффективность, причем в особенности в том случае, когда эффект Брэгга используют в процессе моделирования конструкций пропускающих элементов типа линзы. Кроме того, интегральный характер формирователя пучка по изобретению обеспечивает возможность организации предельно эффективного массового производства, а также создания оптических систем, которые с практической точки зрения просты, эффективны и долговечны в той степени, насколько это вообще возможно. Благодаря изобретению появляется также возможность позитивно модифицировать, например, пучки, излучаемые светодиодами (СД) и полупроводниковыми лазерами с торцевым излучением. Такие пучки являются расходящимися, с широким интервалом углов падения, так что посредством традиционных оптических элементов их трудно коллимировать или проецировать с достаточно высокой эффективностью.
Краткое описание чертежей
В нижеследующем описании изобретение будет детально рассмотрено со ссылками на прилагаемые чертежи, из которых:
фиг.1-5 являются, в основном, иллюстрациями различных применений эффекта Брэгга;
фиг.6-12 иллюстрируют различные предпочтительные альтернативные схемы формирователя пучка по изобретению.
Осуществление изобретения
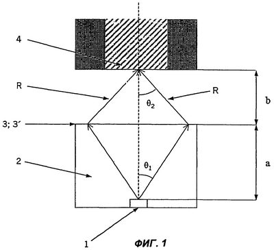
Изобретение относится к формирователю пучка, предназначенному для применения совместно с квазимонохроматическим источником 1 света и изготовленному из, по существу, прозрачного материала в виде пропускающего элемента 3. Указанный элемент оказывает влияние на распространение света для получения пучка/пучков R света круглой, эллиптической, коллимированной, расходящейся, сходящейся и/или иной формы. Пропускающий элемент 3, 3 формирователя пучка, направляющий пучок/пучки R света, имеет структуру, которая, по меньшей мере, частично состоит из участков бинарных дифракционных решеток с поверхностным рельефом. С целью обеспечения максимальной эффективности дифракции локальные периоды решеток оптимизированы в продольном и поперечном направлениях, а также по отношению к оптической оси, по существу, в соответствии с геометрией дифракции Брэгга.
Следующее далее описание касается основных концепций изобретения, разъясняя эффект Брэгга со ссылками на прилагаемые фиг.1-5. На фиг.1 изображен чисто дифракционный элемент на плоской поверхности, т.е. реализуется формирование изображения с геометрией 1:1. Источник 1 света содержит, например, лазер или СД. Источник 1 снабжен подложкой 2 с показателем преломления n, дифракционной линзой 3 и многомодовым сердечником 4 волоконного световода. Для реализации формирования изображения с геометрией 1:1 требуется, чтобы

и

Дифракционная линза имеет локальный период решетки d(r), где г – расстояние от оптической оси (изображенной на фиг.1 штриховой линией). Этот период определяют из уравнения решетки

где представляет собой длину волны. Таким образом, уравнение 3 обеспечивает решение для локального периода в каждой зоне (на каждом участке).
Из таких публикаций, как, например, Е.Noponen, J.Turunen, A.Vasara “Parametric optimization of multilevel diffractive optical elements by electromagnetic theory”, Applied Optics 31, pp.5010-5012 (1992) и E.Noponen, J.Turunen, A.Vasara “Electromagnetic theory and design of diffractive-lens arrays”, Journal of the Optical Society of America A 10, pp.434-443 (1993), известно, что при больших углах падения оптимальный профиль поверхности дифракционной фокусирующей или коллимирующей линзы в очень высокой степени зависит от локального периода, а изготовление оптимальных многоуровневых профилей имеет экстремально трудный характер. В случае линзы, формирующей изображение, в частности, с геометрией формирования изображения 1:1, при больших углах падения можно, тем не менее, применить эффект Брэгга, который первоначально использовался для бинарного кодирования дифракционных элементов, как это описано, например, в работах J.Turunen, P.Blair, J.M.Miller, M.R.Taghizadeh, E.Noponen “Bragg holograms with binary synthetic surface-relief profile”, Optics Letters 18, pp.1022-1024 (1993), но не для построения линз. В рассматриваемом случае линза в своей центральной части имеет нормальную дифракционную структуру, а вдоль кромок – бинарные структуры Брэгга, оптимизация которых была рассмотрена в работе Е.Noponen, J.Turunen “Binary high-frequency-carrier diffractive optical elements: electromagnetic theory”, Journal of the Optical Society of America A 11, pp.1097-1109 (1994).
На фиг.2 представлена типичная дифракционная структура типа решетки (находящаяся на поверхностях, изображенных на фиг.1, 3 и 4), которая модифицирована согласно условию Брэгга. Углы 1 и 2 те же, что и на фиг.1, d по-прежнему представляет собой локальный период решетки, с и h характеризуют соответственно ширину и высоту рельефного выступа. Если условия Брэгга

выполняются и локальный период решетки лежит в интервале 0,5 , можно выбрать параметры с и h таким образом, чтобы получить для решетки экстремально высокую эффективность дифракции. Так, на практике решетку Брэгга можно применять, если 2>15°.
Сопоставление приведенных выше уравнений (2) и (4) показывает, что условие (4) Брэгга удовлетворяется в представленной на фиг.1 геометрии только приблизительно. Аппроксимация строго достоверна в том случае, когда sin 2 tg 1, a sin 2 tg 2 (т.е. ошибка имеет место главным образом при больших углах падения). Однако, чтобы решетка функционировала с высокой эффективностью, в соблюдении строгой достоверности условия Брэгга нет необходимости (см. приведенную выше публикацию Е.Noponen, J.Turunen). Кроме того, можно слегка отклониться от формирования изображения с геометрией 1:1 таким образом, чтобы условие Брэгга в оптимальной степени удовлетворялось при угле падения max, внутри которого распределение интенсивности достигает своих наивысших значений.
В результате вместо уравнения (1) имеет место соотношение

В порядке альтернативы max можно заменить отличным от нуля углом падения, который зависит от формы распределения интенсивности. Его выбирают исходя из максимизации общей эффективности дифракции.
В принципе, показанную на фиг.1 линзу можно модифицировать, обеспечив в центральной зоне наличие преломляющей линзы. При этом дифракционную линзу применяют только при углах падения выше 30 градусов, при которых решетка Брэгга имеет высокую эффективность. Такая структура проиллюстрирована на фиг.3, причем пучки R1 и R2 проходят соответственно через преломляющую и дифракционную поверхности. Такое техническое решение целесообразно использовать в случае светодиода с резонансной полостью (СД-РП). Гораздо менее оно пригодно для лазера, т.к. наличие границы между преломляющей и дифракционной секциями вызывает возмущение пространственно когерентного поля.
На фиг.4 показана ситуация для геометрии формирования изображения, существенно отличающейся от варианта 1:1 (т.е. волоконный световод удален еще дальше от линзы, в результате чего появляется возможность ввести свет внутрь волокна, имеющего меньшую числовую апертуру). На этой иллюстрации гибридная линза имеет собственную преломляющую поверхность II, снабженную дифракционной структурой. Причина использования гибридной конструкции заключается в том, что в данном случае угол 2 для зоны II меньше, чем на фиг.1, однако, чтобы получить высокую эффективность, условие Брэгга все еще должно удовлетворяться. Для этого бинарную структуру, показанную на фиг.2, формируют на надлежащим образом изогнутой поверхности, т.е. геометрия выбирается таким образом, чтобы выступы рельефа решетки Брэгга имели боковые стенки, локально перпендикулярные (ортогональные) изогнутой поверхности.
Можно вычислить оптимальный контур поверхности, причем результат оказывается близким к сфере, хотя и не совпадает с ней полностью. Затем необходимо определить локальный период линзы в виде пространственной функции, которую также можно вывести на основании описанных выше положений. По сравнению с вариантом применения поверхности, только преломляющей свет, кривизна поверхности весьма незначительна. Это означает, что потери на френелевское отражение также существенно уменьшаются. Кроме того, в этом примере центральную зону линзы можно сделать только преломляющей, как это показано на фиг.3.
Фиг.5 иллюстрирует ситуацию, когда линзовая система 3 делает пучки света расходящимися (т.е. угол падения пучка на линзовую систему меньше, чем угол выходящего пучка).
С другой стороны, поле излучения, генерируемое источником 1 света, в первую очередь оптическим полупроводниковым компонентом, таким как, например, СД-РП или ПЛСВР, можно с помощью формирователя пучка по изобретению попытаться подвергнуть коллимированию, профилируя его форму в дальней зоне и вводя пучок, например, в оптический волоконный световод посредством дифракционного или гибридного элемента. Элемент такого типа можно отлить, например, непосредственно вокруг или поверх СД-РП или ПЛСВР, обеспечив тем самым герметизацию этих источников.
Дальнейшее обсуждение касается дополнительного, более конкретного анализа, связанного с основополагающими принципами изобретения. В первом приближении (которое, вероятно, достаточно для промышленных приложений как таковых) на основе теории когерентности можно выдвинуть следующие гипотезы:
1. Толщина активной зоны, локализованной между источником света и структурой Брэгга, бесконечно мала. Таким образом, эту зону можно рассматривать как плоский или двумерный источник.
2. Каждая точка в активной зоне функционирует как источник полностью когерентного пучка Бесселя-Гаусса (т.е. пучка, который генерируется ПЛСВР с идентичной структурой).
3. Источник можно считать абсолютно некогерентным (квазигомогенным), поскольку когерентные пучки Бесселя-Гаусса, излучаемые из его различных точек, интерферируют почти полностью деструктивным образом.
На основе этих гипотез можно разработать теорию распространения частично когерентных полей излучения, генерируемых оптическим полупроводниковым компонентом. Она, в свою очередь, позволяет разработать оптимальную схему оптических элементов на основе гипотезы о том, что поле излучения аппроксимируется частично когерентной конической волной.
Допуская, что поле излучения оптического полупроводникового компонента можно смоделировать посредством частично когерентного поля Бесселя-Гаусса, можно очень легко сконструировать дифракционные элементы, предназначенные для плоской поверхности. В результате эти поля можно сколлимировать, причем для их дифракционных распределений в дальней зоне можно обеспечить условия, отвечающие достижению требуемого распределения интенсивности. Кроме того, оптическую энергию указанных полей можно ввести, например, в оптический волоконный световод. Точные пространственные когерентные свойства источника вряд ли оказывают какое-либо решающее воздействие на создание теоретической модели.
Сначала будет рассмотрено сопряжение света, исходящего от соответствующего источника, с оптическим многомодовым волоконным световодом (хорошим примером такого световода является световод, содержащий волокна из пластика).
Если числовая апертура поля излучения источника света меньше числовой апертуры волоконного световода или равна ей, а участок излучения источника света имеет диаметр, который меньше диаметра сердечника такого световода или равен ему, сопряжение света со световодом осуществляется наипростейшим образом. Для этого достаточно проекционной линзы 1:1. Ее можно изготовить дифракционным образом на плоской поверхности (т.е. на верхней поверхности цилиндрической матричной отливки вокруг источника света), например, так, что в своей центральной части линза содержит микролинзу Френеля, т.е. ее профиль непрерывен.
При больших углах падения, внутри которых оптическая выходная энергия источника света максимальна, даже теоретически эффективность дифракции линзы этого типа низка. При этом существующая технология изготовления не позволяет достигнуть даже этих теоретических пределов. С другой стороны, изобретение создает условия для применения бинарных структур или рельефов, имеющих отличную эффективность (вплоть до 97-98%) при угле падения Брэгга. При этом их изготовление или производство возможно также и посредством существующих технологий, несмотря даже на то, что локальный период решетки имеет тот же порядок, что и длина световой волны. Линзу можно изготовить стандартным образом с помощью литографии электронными пучками на резисте с последующим изготовлением модели из никеля, которую можно устанавливать в литьевую форму.
Если геометрия формирования изображения отличается от геометрии 1:1, ситуация несколько усложнится. Это относится к варианту, когда числовая апертура у волоконного световода меньше, чем у поля излучения источника света, особенно в том случае, когда пучок вместо ввода в световод подлежит коллимированию. При таких обстоятельствах выполнение условия Брэгга (которое для высокой эффективности в бинарной линзе является обязательным условием) предопределяет необходимость изгиба или отклонения поверхности, над которой находится дифракционная структура. Таким образом, эту структуру изготавливают на асферической преломляющей поверхности, т.е. в виде гибридной конструкции (которая, однако, предназначена для совсем других целей, чем в известных в настоящее время устройствах). Согласно современным представлениям, кривизна такой поверхности весьма незначительна по сравнению с кривизной только преломляющей поверхности. Поэтому получение дифракционной структуры можно осуществить, например, следующим образом: сформировать базовый элемент на резисте, затем изготовить посредством алмазного точения силиконовую накладку, которую можно сгибать по асферической поверхности (для промышленных применений может подойти даже сферическая поверхность). Затем обеспечивается воспроизводимость подобранной структуры (например, с использованием никелевой модели накладки, пригодной к использованию в форме для литья).
Таким образом, описанная выше технология применима во всех случаях, когда числовая апертура на стороне изображения больше (или меньше), чем на стороне объекта. Другое ограничение, которое следует иметь в виду по отношению к оптическому сопряжению посредством волоконного световода, заключается в следующем. Поскольку обычный источник света, по существу, некогерентен, изображение активной зоны должно быть согласовано с диаметром сердечника световода. Поэтому масштаб увеличения при проецировании не может быть произвольно большим. Такую же технологию применяют также в случае коллимирования света, причем здесь радиус кривизны поверхности достигает своего максимального значения.
С другой стороны, если желательно видоизменить или профилировать коллимированный пучок в отношении его дифракционной картины в дальней зоне, например, для получения сечения в виде плоского прямоугольника, эту задачу также можно решить весьма простым образом, например, за счет изменения локального периода дифракционной структуры как пространственной функции с целью внесения в поле контролируемой аберрации.
С учетом изложенного рассмотрим предпочтительный вариант использования формирователя пучка по изобретению. Он содержит пропускающий элемент 3, направляющий световые пучки и обеспечивающий формирование изображения с геометрией 1:1. Формирователь снабжен соответствующим профилем 3 поверхности, расположенным на плоской поверхности и формирующим дифракционную систему таким образом, чтобы изменение направления пучка/пучков R света, имеющего/имеющих угол падения, выбранный в интервале 5°-30°, предпочтительно больший 15°, осуществлялось посредством дифракционной структуры в виде решетки Брэгга.
В следующем предпочтительном варианте формирователя пучка его пропускающий элемент 3, направляющий световые пучки, обеспечивает формирование изображения с геометрией, несколько отличающейся от геометрии 1:1. Профиль 3 поверхности этого элемента выполнен в гибридной структуре таким образом, чтобы изменение направления пучка/пучков R света, имеющего/имеющих угол падения меньше 15°-40°, предпочтительно 30°, осуществлялось посредством преломляющей линзы, а изменение направления пучка/пучков R света, имеющего/имеющих угол падения больше 15°-40°, предпочтительно 30°, осуществлялось соответственно посредством дифракционной структуры в виде решетки Брэгга.
В другом предпочтительном варианте пропускающий элемент 3 формирователя пучка, направляющий световые пучки R, обеспечивает формирование изображения с геометрией, существенно отличающейся от геометрии 1:1. Профиль 3 поверхности этого элемента выполнен в гибридной структуре таким образом, что дифракционная структура в виде решетки Брэгга сформирована на асферической или сферической преломляющей поверхности, удовлетворяя условию Брэгга и обеспечивая высокую эффективность дифракции.
Еще в одном предпочтительном варианте формирователь пучка интегрирован с квазимонохроматическим источником света. В этом случае формирователь помещен непосредственно на поверхность источника 1 света и/или окружает его с образованием интегральной структуры, например, как это в общем виде показано на фиг.6-8. При этом формирователь образует защитную подложку, по меньшей мере, частично герметизирующую источник 1 света.
В следующем предпочтительном варианте формирователь пучка интегрирован с квазимонохроматическим источником света альтернативным образом. Более конкретно, он находится в контакте с источником 1 света, располагаясь на его поверхности и/или окружая его в виде отдельного элемента, такого как тонкая пленка, покрытие, линза и т.п., чтобы образовать защитную подложку, по меньшей мере, частично охватывающую источник 1, как это в принципиальной форме показано на фиг.9-11. Указанный контакт осуществляется посредством механического прикрепления и/или за счет химического связывания, например с помощью оптически прозрачного бесцветного фиксатора из материала, содержащего наночастицы, и/или иным аналогичным образом.
Еще в одном варианте формирователь пучка, интегрированный с одним или более квазимонохроматическими источниками света, предназначен главным образом для формирования полей излучения и требуемых распределений интенсивности одного или более индивидуальных источников 1 света, таких как СД, органический СД, СД с резонансной полостью (СД-РП), плоскостной лазер с вертикальным резонатором (ПЛСВР), какой-либо другой пригодный полупроводниковый диод и/или лазер и т.п. Еще один возможный источник света содержит оптические волоконные световоды (например, в коммуникационных сетях). Применительно к таким источникам устройство сопряжения (интерфейс) можно снабдить формирователем пучка по изобретению, имеющим вид отдельного элемента или интегрированной структуры.
С другой стороны, в одном из альтернативных вариантов формирователь пучка предназначен главным образом для формирования полей излучения и распределений интенсивности двух или более источников 1 света, а также, например, матрицы 1 источников света, показанной на фиг.12 и представляющей собой матрицу СД или лазеров.
В предпочтительном варианте осуществления изобретения формирователь пучка изготовлен из, по существу, прозрачного бесцветного оптического материала, такого как материал, содержащий наночастицы, полимер, эластомер, керамика и/или иной аналогичный материал, функционирующий как изолирующий, не обладающий электропроводностью состав 3″. При этом вязкость состава оптимизируют для соответствия требованиям применяемого процесса изготовления.
В другом альтернативном варианте при изготовлении формирователя пучка для состава 3″ использованы один или несколько, по существу, прозрачных бесцветных оптических материалов, таких как материал, содержащий наночастицы, полимер или эластомер. Указанный состав, по меньшей мере, частично обладает электрической и/или термической проводимостью, обеспечивающей различные дополнительные свойства, такие как повышение плотности тока, оптической интенсивности источника 1 света, дифрагирование светового пучка, нагрев элемента и/или аналогичные свойства.
Еще в одном предпочтительном варианте массовое производство формирователя пучка посредством, например, литья под давлением или прессования, реактивного литья под давлением, обычного литья, термического тиснения, напыления, нанесения покрытия, шелкотрафаретной печати и т.п. реализуют, применяя плоский и/или многогранный штамп и/или модель. Изготовление такого штампа или модели проводят электронно-лучевой обработкой, воздействием лазерного пучка или другим аналогичным методом с получением моделирующего профиля 3 . Этот профиль репродуцируется в результате контакта с изделием, подлежащим изготовлению.
Очевидно, что изобретение не ограничивается приведенными выше вариантами осуществления. Оно может быть модифицировано в различных направлениях, лежащих в границах основной концепции изобретения. При этом структурные решения, созданные в рамках изобретения, можно использовать, например, в следующих устройствах:
– импульсные источники/передатчики для сетей короткого и среднего радиуса действия (например на основе источников в виде СД-РП и ПЛСВР),
– источники/ передатчики тревожных сигналов (например, в виде мигающих огней) на основе СД,
– источники/ передатчики информации (например, световые указатели),
– источники света (например, лампы на основе СД или лазеров),
– матрицы источников света (например СД-дисплеи),
– оптоэлектронные компоненты (например, интегрированные ПЗС-ячейки).
Формула изобретения
1. Формирователь пучка, который предназначен для применения совместно с одним или более индивидуальными квазимонохроматическими источниками (1) света и который изготовлен из, по существу, прозрачного материала в виде пропускающего элемента, влияющего на распространение света для получения пучка/пучков (R) света круглой, эллиптической, коллимированной, расходящейся, сходящейся и/или иной формы, отличающийся тем, что пропускающий элемент (3) формирователя пучка, направляющий пучок/пучки (R) света, снабжен структурой, по меньшей мере, частично состоящей из бинарных дифракционных участков с поверхностным рельефом, причем локальные периоды d(r) решеток, где r – расстояние от оптической оси формирователя пучка, оптимизированы в продольном и поперечном направлениях, а также по отношению к оптической оси, по существу, в соответствии с геометрией дифракции Брэгга из условия обеспечения максимальной эффективности дифракции.
2. Формирователь пучка по п.1, отличающийся тем, что пропускающий элемент (3), направляющий пучок/пучки света, выполнен с возможностью формирования изображения с геометрией 1:1, при этом дифрагирующий профиль (3 ) поверхности формирователя пучка расположен на плоской поверхности и выполнен с возможностью направлять пучок/пучки (R) света с углом падения, выбранным в интервале 5-30°, предпочтительно большим 15°, по меньшей мере, частично посредством дифракционной структуры решетки Брэгга.
3. Формирователь пучка по п.1, отличающийся тем, что пропускающий элемент (3), направляющий пучок/пучки света, выполнен с возможностью формирования изображения с геометрией, слегка отклоняющейся от геометрии 1:1, при этом профиль (3 ) поверхности формирователя пучка выполнен в виде гибридной структуры, включающей преломляющую сферическую или асферическую поверхность, снабженную дифракционной структурой, с возможностью направлять пучок/пучки (R) света с углом падения меньше, чем угол 1=15°-40°, посредством преломляющей поверхности, а пучок/пучки (R) света с углом падения больше, чем угол 1, по меньшей мере, частично посредством дифракционной структуры.
4. Формирователь пучка по п.3, отличающийся тем, что выполнен с возможностью направлять пучок/пучки (R) света с углом падения, не превышающим 30°, посредством преломляющей поверхности, а пучок/пучки (R) света с углом падения больше 30°, по меньшей мере, частично посредством дифракционной структуры.
5. Формирователь пучка по п.1, отличающийся тем, что пропускающий элемент (3), направляющий пучок/пучки света, выполнен с возможностью формирования изображения с геометрией, существенно отклоняющейся от геометрии 1:1, при этом профиль (3 ) поверхности формирователя пучка выполнен в виде гибридной структуры с формированием дифракционной структуры решетки Брэгга на асферической или сферической преломляющей поверхности для удовлетворения условия Брэгга и достижения высокой эффективности дифракции.
6. Формирователь пучка по п.1, отличающийся тем, что интегрирован с квазимонохроматическим источником (1) света посредством установки непосредственно на поверхность источника (1) света и/или вокруг него в составе интегральной структуры с одновременным образованием защитной подложки, охватывающей, по меньшей мере, частично источник (1).
7. Формирователь пучка по п.1, отличающийся тем, что интегрирован с квазимонохроматическим источником (1) света посредством приведения путем механического прикрепления и/или химического связывания, например, с помощью оптически прозрачного фиксатора, содержащего наночастицы, в контакт с указанным источником (1) света в виде отдельного элемента в виде тонкой пленки, покрытия или линзы с одновременным образованием защитной подложки, охватывающей, по меньшей мере, частично источник (1).
8. Формирователь пучка по п.1, отличающийся тем, что выполнен с возможностью формирования заданных профилей полей излучения и распределений интенсивностей одного или более индивидуальных источников (1) света, таких как светодиод (СД), органический СД, СД с резонансной полостью, плоскостной лазер с вертикальным резонатором или какой-либо другой полупроводниковый диод и/или лазер.
9. Формирователь пучка по п.8, отличающийся тем, что выполнен с возможностью формирования заданных профилей полей излучения и распределений интенсивностей двух или более источников (1) света, включая матрицы (1 ) источников света, такие как матрицы СД и/или лазеров.
10. Формирователь пучка по п.1, отличающийся тем, что изготовлен из, по существу, оптически прозрачного материала, такого как материал, содержащий наночастицы, полимер, эластомер, керамику и/или аналогичный материал, функционирующий как изолирующий, электрически не проводящий состав (3″) с вязкостью, оптимизированной в соответствии с требованиями процесса изготовления формирователя.
11. Формирователь пучка по п.1, отличающийся тем, что изготовлен из одного или нескольких, по существу, оптически прозрачных материалов, таких как материал, содержащий наночастицы, полимер, эластомер или аналогичный материал, образующих состав (3″), который, по меньшей мере, частично обладает электрической и/или тепловой проводимостью для обеспечения различных дополнительных свойств, включая повышение параметра плотность тока/оптическая интенсивность источника (1) света, для дифрагирования пучка света или для нагрева элемента.
12. Формирователь пучка по любому из пп.1-11, отличающийся тем, что изготовлен методом массового производства, например путем литья под давлением или прессования, реактивного литья под давлением, литья, термического тиснения, напыления, нанесения покрытия или шелкотрафаретной печатью с применением плоского и/или многогранного штампа и/или модели, изготавливаемых электроннолучевой обработкой, воздействием лазерного пучка или аналогичным методом с получением моделирующего профиля (3 ) поверхности, который репродуцируется в результате контакта с изделием, подлежащим изготовлению.
РИСУНКИ
|
|