|
|
(21), (22) Заявка: 2001129614/09, 01.11.2001
(24) Дата начала отсчета срока действия патента:
01.11.2001
(43) Дата публикации заявки: 20.07.2003
(46) Опубликовано: 20.06.2007
(56) Список документов, цитированных в отчете о поиске:
US 5247305 А, 21.09.1993. RU 2174239 C1, 27.09.2001. GB 2288952 А, 01.11.1995. GB 2291767 А, 31.01.1996.
Адрес для переписки:
198324, Санкт-Петербург, СПВУРЭ ПВО, начальнику
|
(72) Автор(ы):
Бражников Владимир Иванович (RU), Митюшов Александр Иванович (RU), Шалаевский Алексей Алексеевич (RU), Бескостый Дмитрий Федорович (RU)
(73) Патентообладатель(и):
Санкт-Петербургское высшее училище радиоэлектроники ПВО (RU)
|
(54) ПАССИВНЫЙ ПРИЕМОПЕРЕДАТЧИК
(57) Реферат:
Изобретение относится к радиолокации и может быть использовано для передачи сигналов идентификации объекта передачи и сообщений от внешних источников информации через активную РЛС к потребителю. Достигаемый технический результат – расширение информационных возможностей пассивного приемопередатчика за счет увеличения количества несущих частот передачи и количества источников информации, участвующих в передаче. Пассивный приемопередатчик содержит антенну, модулятор, детектор, решающее устройство, источник питания, идентификационный кодогенератор, синхронизатор, линии передачи синхронизирующих импульсов на внешние источники информации, блок управления модулятором, линии передачи сообщений от внешних источников информации. 2 ил.
Изобретение относится к радиолокации и предназначено для передачи сигналов идентификации объекта передачи и сообщений от внешних источников информации через активную РЛС к потребителю. Оно может быть использовано в системах навигации, в системах управления воздушным движением, в системах охраны удаленных объектов, в системах связи и в других областях.
Из патента США №5247305 по фиг.1 известен пассивный приемопередатчик, предназначенный для приема запросных сигналов и передачи ответных сигналов в системе опознавания подвижных объектов. Он содержит антенну, выпрямитель, модулятор и идентификационный кодогенератор. В пассивном приемопередатчике запросный сигнал от запросчика (активной РЛС) принимается антенной и подается на вход выпрямителя и на вход-выход модулятора. Часть запросного сигнала поглощается выпрямителем и преобразуется им в постоянное напряжение. Постоянное напряжение с выхода выпрямителя подводится ко входу идентификационного кодогенератора. Идентификационный кодогенератор имеет память, в которой хранится идентификационная информация. При подаче на вход кодогенератора постоянного напряжения питания из его памяти считывается идентификационный код. Идентификационный код с выхода кодогенератора поступает на вход модулятора. Одновременно с идентификационным кодом на вход-выход модулятора поступает другая часть запросного сигнала. В нем она модулируется идентификационным кодом так, что запросный сигнал преобразуется в ответный. Ответный сигнал включает идентификационную информацию. Модулятор отражает сигнал и возвращает его назад в антенну. Антенна излучает ответный сигнал в сторону запросчика.
Недостатком пассивного приемопередатчика, приведенного в патенте США №5247305 на фиг.1, является то, что его питание осуществляется за счет преобразования выпрямителем части электромагнитной энергии запросного сигнала. Это приводит к нарушению работоспособности канала передачи информации в условиях помех.
Из известных пассивных приемопередатчиков наиболее близким к заявляемому по технической сущности является пассивный приемопередатчик для приема запросных сигналов и передачи ответных сигналов в системе опознавания подвижных объектов, приведенный в патенте США №5247305 на фиг.14 и описанный на странице 13. Он содержит: антенну 1; модулятор 2; детектор 3; решающее устройство 4; источник питания 5; идентификационный кодогенератор 6. Вход модулятора 2 соединен с выходом идентификационного кодогенератора 6, а его вход-выход подключен к антенне 1 и ко входу детектора 3. Выход детектора 3 соединен с первым входом решающего устройства 4. Второй вход решающего устройства 4 подключен к первому выходу источника питания 5. Выход решающего устройства 4 соединен с первым входом идентификационного кодогенератора 6. Второй вход идентификационного кодогенератора 6 подключен ко второму выходу источника питания 5.
Пассивный приемопередатчик работает следующим образом. Запросный сигнал от запросчика (активной РЛС) принимается антенной 1 и подается на вход-выход модулятора 2 и вход детектора 3. Часть запросного сигнала, поступившая на детектор 3, поглощается и детектируется им. В результате на выходе детектора 3 формируется напряжение огибающей запросного сигнала, которое далее подается на первый вход решающего устройства 4. Ко второму входу решающего устройства 4 подводится напряжение питания с первого выхода источника питания 5. Решающее устройство 4 осуществляет сравнение напряжения огибающей запросного сигнала с пороговым напряжением и на его основе вырабатывает сигналы управления идентификационным кодогенератором 6. С выхода решающего устройства 4 сигналы управления подаются на первый вход идентификационного кодогенератора 6. Ко второму входу идентификационного кодогенератора 6 подводится напряжение питания со второго выхода источника питания 5. Идентификационный кодогенератор 6 содержит память для хранения идентификационной информации. При поступлении на его первый вход сигналов управления с выхода решающего устройства 4 кодогенератор 6 включается и генерирует идентификационный код на основе информации, считываемой из памяти. Идентификационный код с выхода кодогенератора 6 поступает на вход модулятора 2. Одновременно с идентификационным кодом ко входу-выходу модулятора 2 подводится вторая часть запросного сигнала. Под действием идентификационного кода модулятор 2 изменяет выходной импеданс так, что запросный сигнал преобразуется в ответный. Ответный сигнал содержит идентификационную информацию. Модулятор 2 отражает ответный сигнал и возвращает его назад в антенну 1. Антенна 1 излучает ответный сигнал в сторону запросчика (активной РЛС).
Недостатком пассивного приемопередатчика, приведенного в патенте США №5247305 на фиг.14, является возможность передачи сообщений только от встроенного идентификационного кодогенератора и только на несущей частоте запросного сигнала. Это существенно ограничивает его информационные возможности.
Целью изобретения является расширение информационных возможностей пассивного приемопередатчика за счет увеличения количества несущих частот передачи и количества источников информации, участвующих в передаче.
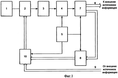
Поставленная цель достигается тем, что в известный пассивный приемопередатчик, содержащий последовательно подключенные антенну 1 и модулятор 2, последовательно соединенные детектор 3 и решающее устройство 4, источник питания 5 и идентификационный кодогенератор 6, второй вход которого соединен со вторым выходом источника питания 5, подключенного первым выходом ко второму входу решающего устройства 4, введены синхронизатор 7, линии передачи синхронизирующих импульсов на внешние источники информации 8, линии передачи сообщений от внешних источников информации 9 и блок управления модулятором 10. Первый вход синхронизатора 7 подключен к выходу решающего устройства 4, а второй его вход соединен со вторым выходом источника питания 5. Первая группа выходов синхронизатора 7 подключена к первой группе входов идентификационного кодогенератора 6, а вторая группа его выходов соединена с линиями передачи синхронизирующих импульсов на внешние источники информации 8. Группа выходов идентификационного кодогенератора 6 подключена к первой группе входов блока управления модулятором 10. Ко второй группе входов блока управления модулятором 10 подключены линии передачи сообщений от внешних источников информации 9. Третий вход блока управления модулятором 10 соединен с третьим выходом источника питания 5. Группа выходов блока управления модулятором 10 подключена ко второй группе входов модулятора 2, соединенного выходом со входом детектора 3.
На фиг.1 представлена структурная схема пассивного приемопередатчика.
На фиг.2 показаны эпюры напряжений, иллюстрирующие принцип действия пассивного приемопередатчика.
Пассивный приемопередатчик для передачи сигналов идентификации объекта передачи и сообщений от внешних источников информации через активную РЛС к потребителю содержит антенну 1, модулятор 2, детектор 3, решающее устройство 4, источник питания 5, идентификационный кодогенератор 6, синхронизатор 7, линии передачи синхронизирующих импульсов на внешние источники информации 8, линии передачи сообщений от внешних источников информации 9, блок управления модулятором 10.
Антенна 1 пассивного приемопередатчика представляет собой, например, сферическую линзу Люнеберга. Ее конструкция и принцип действия описаны, например, в [2] на с.272-273. Антенна 1 соединена с первым входом-выходом модулятора 2. В качестве модулятора 2 в пассивном приемопередатчике используется, например, дискретный отражательный фазовращатель на р-i-n диодах, обеспечивающий изменение фазы отраженного сигнала в диапазоне от 0 до 360° с дискретностью, например, 22,5° и содержащий m=17 p-i-n диодов (диодных секций). Количество входов второй группы входов модулятора 2 равно m. Указанный фазовращатель описан, например, в [3] на с.349-350. Выход модулятора 2 подключен ко входу детектора 3. Детектор 3 представляет собой, например, амплитудный детектор, собранный на полупроводниковом диоде. Он является согласованной нагрузкой. Выход детектора 3 соединен с первым входом решающего устройства 4. Решающее устройство 4 выполнено, например, по схеме триггера Шмитта на компараторе. Его устройство и принцип действия описаны, например, в [4] на с.223. Второй вход решающего устройства 4 подключен к первому выходу источника питания 5. В качестве источника питания 5 в пассивном приемопередатчике используются, например, аккумуляторы. Выход решающего устройства 4 подключен к первому входу синхронизатора 7. Второй вход синхронизатора 7 соединен со вторым выходом источника питания 5. Синхронизатор 7 представляет собой, например, многофазный тактовый генератор, приведенный в [5] на рис.5.78 и описанный на с.119. Первые N его выходов образуют первую группу выходов, а остальные (N+1)÷(N+K) относятся ко второй группе выходов. Первая группа выходов синхронизатора 7 подключена к одноименной группе входов идентификационного кодогенератора 6, а вторая группа выходов синхронизатора 7 соединена с линиями передачи синхронизирующих импульсов на внешние источники информации 8. В качестве линий передачи синхронизирующих импульсов на внешние источники информации в пассивном приемопередатчике используются, например, коаксиальные кабели. Идентификационный кодогенератор 6 представляет собой, например, постоянное запоминающее устройство на микросхеме КМ1608РТ1. В нем хранится идентификационная информация. Выходы микросхемы КМ1608РТ1 образуют группу выходов идентификационного кодогенератора 6. Они подключены к первой группе входов блока управления модулятором 10. Вторая группа входов блока 10 соединена с линиями передачи сообщений от внешних источников информации 9. В качестве линий передачи сообщений 9 в пассивном приемопередатчике используются, например, коаксиальные кабели. Блок управления модулятором 10 представляет собой, например, многоканальный импульсный распределитель. Количество его каналов равно количеству входов в первой и второй группах входов блока 10. В качестве канала многоканального импульсного распределителя в блоке 10 применяется, например, схема, представленная в [6] на рис.9.8 и описанная на с.123. Ее вход через дифференцирующую RC-цепочку подключается к соответствующему входу блока 10. Дифференцирующая цепочка формирует короткий импульс запуска канала распределителя, совпадающий с передним фронтом сигнала, поступившего на вход блока 10. Одноименные выходы всех каналов многоканального импульсного распределителя соединяются между собой и нагружаются на одноименные схемы управления p-i-n диодами. Вариант схемы управления p-i-n диодом приведен, например, в [7] на рис.5.14 и описан на с.169-170. Количество схем управления p-i-n диодами равно количеству выводов в группе выходов блока 10 и совпадает с количеством p-i-n диодных секций модулятора 2. Питание блока управления модулятором 10 осуществляется через его третий вход, который соединен с третьим выходом источника питания 5. Группа выходов блока управления модулятором 10 подключена ко второй группе входов модулятора 2.
Внешними источниками информации для пассивного приемопередатчика являются, например, оптико-электронные обнаружители излучений объектов (см. в [8] с.530), контактные датчики систем охранной сигнализации (см. в [9] с.273), датчики систем контроля технического состояния бортовой аппаратуры и т.д. Ко входу каждого датчика, нормально замкнутого или нормально разомкнутого контакта реле, кнопки с самовозвратом и т.д., подключается одноименная линия передачи синхронизирующих импульсов 8, а выход каждого из них соединяется одноименной линией передачи сообщений 9 со второй группой входов блока управления модулятором 10.
Пассивный приемопередатчик работает следующим образом. Антенна 1 пассивного приемопередатчика принимает запросный сигнал от запросчика (см. фиг.2,а). Со входа антенны 1 через модулятор 2 запросный сигнал поступает на вход детектора 3. В момент поступления запросного сигнала на вход детектора 3 (момент времени, например, t1 на фиг.2,а) p-i-n диоды модулятора 2 находятся в выключенном состоянии. По этой причине большая часть мощности запросного сигнала поглощается детектором 3, а его меньшая часть отражается в сторону запросчика. Детектор 3 выделяет огибающую запросного сигнала (см. фиг.2,б) и подводит напряжение огибающей к первому ходу решающего устройства 4. Решающее устройство 4 (триггер Шмитта на компараторе) обладает двумя порогами сравнения Uпор.1 и Uпор.2 (см.фиг.2,б). При превышении напряжением огибающей величины Uпор.1 триггер Шмитта переводится из состояния логического нуля по своему выходу в состояние логической единицы (см. фиг.2,в). Состояние логической единицы на выходе решающего устройства 4 сохраняется до тех пор, пока напряжение огибающей запросного сигнала превышает напряжение Uпор.2 триггера Шмитта. С выхода решающего устройства 4 импульсные логические сигналы поступают на первый вход синхронизатора 7. Синхронизатор 7 осуществляет распределение импульсов, полученных из пачки запросных сигналов, так, что импульсы с номерами 1,2,…N подаются на одноименные номера выводов первой группы выходов синхронизатора 7, а импульсы с номерами (N+1),(N+2),…,(N+K) подводятся к номерам выводов 1,2,…К второй группы выходов синхронизатора 7 соответственно. Импульсные логические сигналы через первую группу выходов синхронизатора 7 поступают на первую группу входов идентификационного кодогенератора 6 и далее на одноименные адресные входы и вход разрешения микросхемы КМ1608РТ1. Постоянное запоминающее устройство формирует из них идентификационный код, который представляет собой импульсы с амплитудами логической единицы или нуля, совмещенные во времени с одноименными запросными сигналами (см. фиг.2,в, г). Идентификационный код через группу выходов кодогенератора 6 подается на первую группу входов устройства управления модулятором 10. Сигналы со второй группы выходов синхронизатора 7 через линии передачи синхронизирующих импульсов 8 подаются на входы одноименных внешних источников информации. Каждый внешний источник информации формирует на своем выходе импульс с амплитудой логического нуля или единицы (см. фиг.2в, г) в соответствии со своим текущим состоянием. С выходов внешних источников информации эти импульсы поступают на вторую группу входов блока управления модулятором 10. Блок 10 вырабатывает сигналы управления p-i-n диодами только при поступлении на один из входов первой или второй групп его входов импульса с амплитудой логической единицы. В этом случае дифференцирующая цепочка формирует из входного сигнала короткий импульс запуска (см.фиг.2,д), совпадающий с передним фронтом входного сигнала. По импульсу запуска одноименный канал импульсного распределителя в течение времени действия запросного сигнала u последовательно формирует на своих m выходах импульсы управления длительностью t (см.фиг.2,е-и). Количество импульсов управления и их длительность t задаются исходя из требуемой величины смещения f несущей частоты ответного сигнала относительно частоты запросного сигнала f0. Согласно [10] (см.фиг.2,к),

где Т – временной интервал изменения фазы запросного сигнала от 0 до 360° в модуляторе 2, причем в соответствии с [3] (см. стр.349-350)

 – дискрета фазового сдвига запросного сигнала; – длина волны в фазовращателе; L – расстояние между p-i-n диодами в фазовращателе. Импульсы управления с выходов канала распределителя поступают на схему управления p-i-n диодами и далее через группу выходов блока 10 на вторую группу входов модулятора 2. В модуляторе 2 импульсы управления последовательно переводят p-i-n диоды фазовращателя из выключенного состояния во включенное и обратно. В результате этого модулятор 2 отражает запросный сигнал с фазовыми добавками (m-1) во временных интервалах m t (см.фиг.2,к). Сложение дискрет высокочастотного сигнала с различными фазами в фазовращателе приводит к формированию единицы в разряде информационного сообщения (ответного сигнала) на несущей частоте (см.фиг.2,л)

где знак смещения f задается направлением коммутации p-i-n диодных секций.
Постоянное поддержание одного из p-i-n диодов модулятора 2 во включенном состоянии при передаче единицы в разряде дискретного сообщения значительно увеличивает мощность отраженного в сторону РЛС сигнала (см. на фиг.2,л интервал t2 t t3).Это приводит к существенному снижению мощности, просачивающейся на вход детектора 3 через модулятор 2, и, следовательно, к уменьшению амплитуды огибающей запросного сигнала на временном интервале t2 t t3 (см.фиг.2,б). Для исключения влияния амплитуды огибающей на работу пассивного приемопередатчика его решающее устройство 4 выполнено по двухпороговой схеме.
Сигнал логического нуля в разряде информационного сообщения, поступивший на любой из входов первой или второй групп входов блока управления модулятором 10, не изменяет его состояние. По этой причине все p-i-n диоды модулятора 2 находятся в выключенном состоянии. Запросный сигнал проходит через модулятор на детектор 3 (согласованная нагрузка), где большая его часть поглощается, а незначительная отражается и возвращается на несущей частоте f0 в сторону запросчика (см. фиг.2,а-л), т.е. нуль в разряде информационного сообщения передается пассивным приемопередатчиком на несущей частоте запросного сигнала малой мощностью.
Современные РЛС, как правило, содержат в своем составе несколько приемных каналов, что позволяет в их штатном режиме работы реализовать передачу запросных и ответных сигналов на разных несущих частотах. Тогда наличие в известные моменты времени ответного сигнала от пассивного приемопередатчика на выходе порогового устройства известного канала РЛС может рассматриваться как передача единицы в разряде информационного сообщения, а его отсутствие – как передача нуля.
Источники информации
1. Патент США №5247305 МКИ5 G01S 13/74.
2. Кочержевский Г.Н. Антенно-фидерные устройства. – М.: Связь, 1972.
3. Антенны и устройства СВЧ. Проектирование фазированных антенных решеток: Учебное пособие для Вузов / В.С.Филиппов, Л.Н.Понаморев, А.Ю.Гринев и др./ Под ред. Д.И.Воскресенского – 2-е изд., доп. и перераб. – М.: Радио и связь, 1994.
4. Гутников B.C. Интегральная электроника в измерительных устройствах. – Л.: Энергоатомиздат, 1988.
5. Применение интегральных микросхем в электронной вычислительной технике: Справочник / Р.В.Данилов, С.А.Ельцова, Ю.П.Иванов и др./ Под ред. Б.Н.Файзулаева, Б.В.Тарабрина. – М.: Радио и связь, 1986.
6. Горошков Б.И. Радиоэлектронные устройства: Справочник. – М.: Радио и связь, 1984.
7. Хижа Г.С., Вендик И.Б., Серебрякова Е.А. СВЧ-фазовращатели и переключатели: Особенности создания на p-i-n диодах в интегральном исполнении. – М.: Радио и связь, 1984.
8. Мирошников М.М. Теоретическое основы оптико-электронных приборов. – Л.: Машиностроение, 1983.
9. Справочная книга радиолюбителя-конструктора: в 2-х книгах. Кн.1. А.А.Бокуняев, Н.М.Борисов, Е.Б.Гумеля и др./ Под ред. Н.И.Чистякова – М.: Радио и связь, 1993.
10. Максимов Е.Р. Спектр сигнала на выходе дискретного фазовращателя. – Радиотехника, 1990, №2 с.73-76.
Формула изобретения
Пассивный приемопередатчик, содержащий последовательно подключенные антенну и модулятор, последовательно соединенные детектор и решающее устройство, источник питания и идентификационный кодогенератор, второй вход которого подключен ко второму выходу источника питания, соединенного первым выходом со вторым входом решающего устройства, отличающийся тем, что в него введены синхронизатор, первый вход которого соединен с выходом решающего устройства, а первая группа выходов – с первой группой входов идентификационного кодогенератора, линии передачи синхронизирующих импульсов на внешние источники информации, подключенные ко второй группе выходов синхронизатора, блок управления модулятором, первая группа входов которого соединена с группой выходов идентификационного кодогенератора, а группа выходов – со второй группой входов модулятора, подключенного выходом ко входу детектора, и линии передачи сообщений от внешних источников информации, соединенные со второй группой входов блока управления модулятором, третий вход которого подключен к третьему выходу источника питания, соединенного вторым выходом со вторым входом синхронизатора.
РИСУНКИ
MM4A – Досрочное прекращение действия патента СССР или патента Российской Федерации на изобретение из-за неуплаты в установленный срок пошлины за поддержание патента в силе
Дата прекращения действия патента: 02.11.2007
Извещение опубликовано: 10.07.2009 БИ: 19/2009
|
|