|
|
(21), (22) Заявка: 2005141270/28, 28.12.2005
(24) Дата начала отсчета срока действия патента:
28.12.2005
(46) Опубликовано: 20.06.2007
(56) Список документов, цитированных в отчете о поиске:
RU 2150117 С1, 27.05.2000. SU 1682938 А1, 07.10.1991. SU 588497 А, 10.02.1978. RU 2113715 С1, 20.06.1998. DE 19735155 А1, 26.02.1998. JP 2000314744 А, 14.11.2000.
Адрес для переписки:
344006, г.Ростов-на-Дону, ул. Б. Садовая, 105, начальнику патентно-лицензионной службы РГУ, Н.Г. Сороке
|
(72) Автор(ы):
Вусевкер Виктор Юрьевич (RU), Панич Анатолий Евгеньевич (RU), Филиппов Евгений Викторович (RU), Цеханский Константин Ромуальдович (RU), Войтенко Валентина Борисовна (RU)
(73) Патентообладатель(и):
Государственное образовательное учреждение высшего профессионального образования “Ростовский государственный университет” (РГУ) (RU)
|
(54) ПЬЕЗОЭЛЕКТРИЧЕСКИЙ АКСЕЛЕРОМЕТР
(57) Реферат:
Изобретение относится к измерительной технике и предназначено для работы в средствах измерения и контроля виброускорения различных машин и механизмов. Пьезоэлектрический акселерометр содержит многослойный пакет пьезокерамических пластин, состоящий из трех секций. Секции включают группы из трех пластин. Крайние пластины в группе снабжены диаметральными пазами, заполненными коммутационными шинами. Одна из средних пластин поляризована целиком по толщине, две другие средние пластины содержат сегменты, поляризованные по толщине в противоположных направлениях. Секции с сегментированными пластинами повернуты одна относительно другой на 90° вокруг продольной оси пакета. Технический результат – расширение функциональных возможностей за счет измерения виброускорения в трех взаимно перпендикулярных направлениях. 5 ил.
Изобретение относится к измерительной технике и может быть использовано в средствах измерения и контроля виброускорения различных машин и механизмов.
Известен пьезоэлектрический акселерометр, содержащий основание в виде прямоугольной призмы, на трех гранях которой расположены биморфные элементы, которые при воздействии вибрации осуществляют в трех взаимно перпендикулярных направлениях измерение уровня вибрации путем преобразования деформации изгиба в электрический заряд (Янчич В.В., Кустов В.Н. Пьезоэлектрические виброизмерительные преобразователи для контрольно-диагностических систем энергетического оборудования, в сборнике трудов международной научно-практической конференции «Пьезотехника-99». Ростов-на-Дону, 1999, том 2, стр.221-226).
Данная конструкция трехкомпонентного пьезоэлектрического акселерометра обладает следующими основными недостатками: большие габаритные размеры не позволяют проводить вибродиагностику систем в трубопроводах малого диаметра; ограничен диапазон рабочих частот; низки предельные значения виброускорения. Указанные недостатки обусловлены применением дисковых биморфных элементов с деформацией изгиба.
Наиболее близким аналогом является пьезоэлектрический акселерометр, содержащий монолитный многослойный пакет пьезокерамических пластин, соединенных электрически параллельно. В пьезокерамических пластинах со стороны одной из электродных поверхностей выполнены пазы, заполненные металлическими коммутационными шинами (Патент РФ №2150117, М. Кл. G01P 15/09). Устройство компактно, имеет широкий диапазон рабочих частот и высокие предельные значения виброускорения.
Однако известный пьезоэлектрический акселерометр имеет ограниченные функциональные возможности: измерение виброускорения лишь в одном направлении – вдоль оси многослойного пакета пьезокерамических пластин. Механическое объединение трех взаимно перпендикулярных пакетов на одном призматическом основании недопустимо увеличило бы габаритные размеры устройства и лишило бы его одного из основных достоинств – компактности.
Заявляемый в качестве изобретения пьезоэлектрический акселерометр позволяет расширить функциональные возможности устройства за счет измерения виброускорения в трех взаимно перпендикулярных направлениях.
Указанный технический эффект достигается тем, что в пьезоэлектрическом акселерометре, включающем многослойный пакет пьезокерамических пластин, основание, инерционный элемент и электрический кабель, пакет состоит из трех секций; каждая секция содержит, по крайней мере, одну группу, состоящую из трех пластин; крайние пластины каждой группы неполяризованы и снабжены диаметральными пазами, обращенными к средней пластине и заполненными металлическими коммутационными шинами; средняя пластина группы в первой секции поляризована целиком по толщине; средние пластины групп во второй и третьей секциях содержат сегменты, разделенные неполяризованным промежутком и поляризованные по толщине в противоположных направлениях; вторая и третья секции повернуты относительно друг друга на 90° вокруг продольной оси пакета; каждая секция электрически соединена коммутационными шинами и кабелем с электронным усилителем измерительной системы.
Создание трехкомпонентного пьезоэлектрического акселерометра стало возможным благодаря новой конструкции многослойного пакета и новому взаимному расположению поляризованных частей пакета. Сохраняя достоинства прототипа, новое устройство существенно расширяет его функциональные возможности – позволяет измерять, кроме продольной компоненты вибрации, и ее поперечные компоненты.
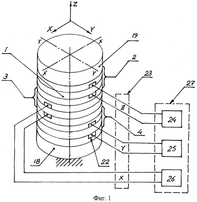
Сущность изобретения поясняется нижеследующим описанием и чертежами. На фиг.1 изображен общий вид пьезоэлектрического акселерометра и схема электрических соединений. На фиг.2 показаны элементы первой секции пакета. На фиг.3 представлены элементы второй и третьей секций пакета. На фиг.4 изображены проекции пакета и схема электрических соединений при проведении операции поляризации. На фиг.5 показаны проекции пакета в рабочем состоянии.
Устройство содержит пакет пьезокерамических пластин 1. Пакет 1 состоит из трех секций: 2, 3, 4. Каждая секция содержит группу из трех пластин. Конструкция секции определяется ее функциональным назначением. Секция 2, предназначенная для измерения продольной компоненты вибрации, содержит среднюю пластину 5, поляризованную целиком по толщине, и крайние пластины 6 и 7, неполяризованные и снабженные диаметральными пазами 8 и 9. С целью получения более высокой чувствительности секция 2 может содержать несколько групп аналогичной конструкции, средние пластины 5 которых соединены электрически параллельно.
Секция 3, предназначенная для измерения одной из поперечных компонент вибрации, содержит среднюю пластину 10, состоящую из двух сегментов 11 и 12, поляризованных в противоположных направлениях и разделенных неполяризованным промежутком 13, и крайние пластины 14 и 15, неполяризованные и снабженные диаметральными пазами 16 и 17.
Секция 4, предназначенная для измерения другой поперечной компоненты вибрации, имеет конструкцию, аналогичную секции 3, и повернута на 90° вокруг продольной оси пакета относительно секции 3. С целью получения более высокой чувствительности секции 3 и 4 могут содержать несколько групп аналогичной конструкции, средние пластины 10 которых соединены электрически параллельно.
Плоскости пластин в пакете 1 снабжены металлическими вожженными электродами, конфигурация которых соответствует типу поляризации средних пластин 5 и 10. Электродами снабжены также основание 18 и инерционный элемент 19. Пластины пакета 1, основание 18 и инерционный элемент 19 жестко соединены термокомпрессионной сваркой.
Одной из основных технологических операций в создании нового устройства является поляризация частей пакета 1. С выхода источника постоянного напряжения 20 поляризующее электрическое напряжение подают с помощью упругих контактных устройств 21 на электроды средних пластин секций 5, 10.1 и 10.2 (Фиг.4).
Поляризованный пакет 1 приводят в рабочее состояние путем заполнения пазов в крайних пластинах секций – 8, 9, 16, 17, металлическими коммутационными шинами 22 (фиг.5). Выходы коммутационных шин 22 при помощи кабеля 23 подключены к входам электронных усилителей 24, 25, 26 измерительной системы 27.
Устройство работает следующим образом. Продольная компонента вибрации в направлении оси Z вызывает в пластине 5 секции 2 механические напряжения и за счет механоэлектрического преобразования энергии – электрический сигнал, который усиливается и регистрируется измерительной системой 27. Поперечная компонента вибрации в направлении оси X вызывает в сегментах 11 и 12 пластины 10 секции 3 механические напряжения противоположных знаков. За счет противоположного направления поляризации в сегментах 11 и 12 электрические сигналы в соединенных параллельно сегментах имеют одинаковый знак. Полученный электрический сигнал усиливается соответствующим усилителем 25. Аналогично работает секция 4 при измерении поперечной компоненты вибрации в направлении оси Y.
Новая конструкция многослойного пакета и новое взаимное расположение поляризованных частей пакета позволяют применить устройство для измерения виброускорения в трех взаимно перпендикулярных направлениях в трубопроводах малого диаметра. Компактность устройства позволяет эффективно применять его в измерительных системах авиационно-космического назначения.
Формула изобретения
Пьезоэлектрический акселерометр, включающий многослойный пакет пьезокерамических пластин, основание, инерционный элемент и электрический кабель, отличающийся тем, что пакет состоит из трех секций, каждая секция содержит, по крайней мере, одну группу, состоящую из трех пластин, крайние пластины каждой группы неполяризованы и снабжены диаметральными пазами, обращенными к средней пластине и заполненными металлическими коммутационными шинами, средняя пластина группы в первой секции поляризована целиком по толщине, средние пластины групп во второй и третьей секциях содержат сегменты, разделенные неполяризованным промежутком и поляризованные по толщине в противоположных направлениях, вторая и третья секции повернуты относительно друг друга на 90° вокруг продольной оси пакета, каждая секция электрически соединена коммутационными шинами и кабелем с электронными усилителями измерительной системы.
РИСУНКИ
MM4A – Досрочное прекращение действия патента СССР или патента Российской Федерации на изобретение из-за неуплаты в установленный срок пошлины за поддержание патента в силе
Дата прекращения действия патента: 29.12.2007
Извещение опубликовано: 20.06.2009 БИ: 17/2009
|
|