|
|
(21), (22) Заявка: 2005118510/28, 15.06.2005
(24) Дата начала отсчета срока действия патента:
15.06.2005
(43) Дата публикации заявки: 20.12.2006
(46) Опубликовано: 20.06.2007
(56) Список документов, цитированных в отчете о поиске:
RU 2159925 C1, 27.11.2000. RU 2113697 С1, 20.06.1998. SU 857761, 25.08.1981. SU 1525502 A1, 30.11.1989.
Адрес для переписки:
141091, Московская обл., о/с Юбилейный-1, а/я 9, ООО “САОН-Система”, В.Л.Буковой
|
(72) Автор(ы):
Буюкян Сурен Петросович (RU), Солдатов Владимир Степанович (RU)
(73) Патентообладатель(и):
Общество с ограниченной ответственностью “САОН-Система” (RU)
|
(54) ДАТЧИК ДАВЛЕНИЯ ЖИДКОСТИ В РЕЗЕРВУАРЕ
(57) Реферат:
Датчик давления жидкости содержит корпус, разделенный посредством прозрачной перегородки на верхний герметичный и нижний открытый отсеки. Над прозрачной перегородкой в верхнем герметичном отсеке установлен измеритель перемещения уровня жидкости в нижнем открытом отсеке, заполняемом жидкостью при погружении в нее корпуса. Измеритель перемещения содержит телекамеру и кольцевой источник света. Датчик давления жидкости прост в изготовлении, обладает высокой точностью и может работать в агрессивных, взрывоопасных, радиоактивных и иных средах, например на нефтехранилищах, автозаправочных станциях, в химическом и других производствах. 1 з.п. ф-лы, 1 ил.
Изобретение относится к области технической физики и, в частности, может служить для измерения давления нефтепродуктов в резервуарах нефтехранилищ.
Известны датчики давления жидкости – манометры, содержащие в качестве чувствительного элемента упругие трубчатые пружины, мембраны, мембранные коробки, сильфоны /1/. Деформация чувствительного элемента в них механически связывается с измерителем перемещения, в качестве которого, например, служит стрелка, движущаяся относительно отградуированной шкалы.
Эти датчики характеризуются рядом недостатков, связанных с деформацией и старением материала чувствительного элемента: ограниченным диапазоном, влиянием температуры, временной нестабильностью. Кроме того, как правило, чувствительный элемент непосредственно контактирует с жидкостью, что в случае агрессивной жидкости требует дополнительных конструктивных решений датчика.
Известны также датчики давления жидкости, в которых деформация чувствительного элемента преобразуется в световой и электрический сигналы, что отвечает современным требованиям дистанционного съема информации и автоматизации измерений. К их числу, в частности, относятся оптический датчик давления, в котором деформация чувствительного элемента преобразуется в световой сигнал с помощью световода /2/, и оптический датчик давления, в котором деформация чувствительного элемента преобразуется в интерференционную картину с помощью интерферометра Майкельсона /3/.
Им также присущи указанные выше недостатки.
Наиболее близким к заявленному изобретению по совокупности признаков (прототипом) является оптико-механический измеритель давления, содержащий герметичный корпус, одна сторона которого выполнена в виде мембраны с нанесенным на нее светоотражающим покрытием, служащим составной частью помещенного в корпус интерферометра Майкельсона /4/. При этом в качестве чувствительного элемента служит светоотражающее покрытие – зеркало, перемещаемое при деформации мембраны, а в качестве измерителя перемещений – интерферометр Майкельсона.
Прототипу также присущи указанные выше недостатки. Кроме того, он представляет собой сложный оптический прибор, требующий тщательной юстировки и настройки.
Задача, решаемая настоящим изобретением, состоит в устранении указанных выше недостатков путем исключения из датчика каких-либо механических узлов, включая узлы, испытывающие деформации.
Для решения этой задачи в предлагаемом датчике давления жидкости в резервуаре, содержащем корпус и измеритель перемещения, отличающемся тем, что корпус посредством прозрачной перегородки разделен на два отсека – верхний герметичный и нижний открытый, заполняемый жидкостью при погружении в нее корпуса, над прозрачной перегородкой в верхнем герметичном отсеке установлен измеритель перемещения уровня жидкости в нижнем открытом отсеке, выполненный в виде телекамеры и кольцевого источника света. При этом нижний открытый отсек может быть выполнен в виде определенной геометрической фигуры постоянного или переменного сечения.
В предлагаемом датчике в сравнении с прототипом увеличен диапазон измерений и обеспечена независимость его метрологических характеристик от старения материалов, ввиду того, что его конструктивные элементы не подвергаются деформациям.
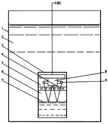
Изобретение поясняется схемой на чертеже, на которой изображены: резервуар 1, наполненный жидкостью 2, корпус 3, разделенный прозрачной перегородкой 4 на верхний герметичный 5 и нижний открытый 6 отсеки, и измеритель уровня жидкости 7, установленный в верхнем герметичном отсеке 5 и содержащий телекамеру 8 и кольцевой источник света 9.
Датчик давления жидкости работает следующим образом.
При погружении корпуса 3 в жидкость 2 нижний открытый отсек 6, выполненный, например, в виде цилиндра, частично заполняется жидкостью так, что ее уровень пропорционален измеряемому давлению, что и служит основанием для выполнения измерений.
Измерение уровня жидкости в нижнем открытом отсеке 6 производится на бесконтактной основе с помощью измерителя перемещения, в качестве которого служит телекамера 8 и кольцевой источник света 9.
Измерение уровня жидкости производится путем компьютерной обработки выходного видеосигнала ВС телекамеры 8 и вычисления диаметра изображения кольцевого источника света 9 в видеокадре. При изменении уровня жидкости он меняется пропорционально измеряемому давлению жидкости в резервуаре.
При этом, как следует из изложенного, измерение уровня жидкости в нижнем открытом отсеке 6 производится на бесконтактной основе – сквозь прозрачную перегородку 4.
В предлагаемом датчике давления жидкости в резервуаре роль чувствительного элемента играет не конструктивный элемент датчика, а уровень жидкости.
Если нижний открытый отсек 6 выполнить в виде геометрической фигуры с постоянным сечением, например, в виде цилиндра, то он будет обладать определенными чувствительностью и диапазоном измерений.
Если отсек выполнить в виде геометрической фигуры с переменным сечением, например, в виде сужающегося конуса, то чувствительность датчика увеличится, а диапазон измерений уменьшится в сравнении с цилиндрическим отсеком.
Если отсек выполнить в виде расширяющегося конуса, то чувствительность датчика уменьшится, а диапазон измерений увеличится в сравнении с цилиндрическим отсеком.
Следовательно, изменяя закономерность изменения сечения открытого отсека 6, можно задавать определенные метрологические характеристики датчика.
Предлагаемый датчик давления жидкости может устанавливаться в резервуарах с агрессивной, взрывоопасной, радиоактивной или иной жидкостью, например на нефтехранилищах, автозаправочных станциях, в химическом, пищевом и других производствах.
Результаты расчетов и экспериментальных исследований показали возможность выполнения измерений с помощью предлагаемого датчика давления жидкости в резервуаре с относительной погрешностью до 10-4 и менее.
Источники информации
1. Измерения в промышленности. Справочник, т.2, под ред. проф. док. П. Профоса, М.: Металлургия, 1990, стр.249-261.
2. Патент США №5319978.
3. Патент РФ №2113697.
4. Патент РФ №2159925.
Формула изобретения
1. Датчик давления жидкости в резервуаре, содержащий корпус и измеритель перемещения, отличающийся тем, что корпус посредством прозрачной перегородки разделен на отсеки – верхний герметичный и нижний открытый, заполняемый жидкостью при погружении в нее корпуса, над прозрачной перегородкой в верхнем герметичном отсеке установлен измеритель перемещения уровня жидкости в нижнем открытом отсеке, выполненный в виде телекамеры и кольцевого источника света.
2. Датчик по п.1, отличающийся тем, что нижний открытый отсек имеет переменное сечение.
РИСУНКИ
MM4A – Досрочное прекращение действия патента СССР или патента Российской Федерации на изобретение из-за неуплаты в установленный срок пошлины за поддержание патента в силе
Дата прекращения действия патента: 16.06.2008
Извещение опубликовано: 20.06.2010 БИ: 17/2010
|
|