|
|
(21), (22) Заявка: 2006105370/28, 20.02.2006
(24) Дата начала отсчета срока действия патента:
20.02.2006
(46) Опубликовано: 20.06.2007
(56) Список документов, цитированных в отчете о поиске:
Ж. «Геодезия и картография», 1980, № 9, СТ. ЗЕМЕНТА У.Р. «Съемка поперечных сечений вертикальных шахт фотограмметрическим методом», с.40-42. US 4331975 А, 25.05.1982. JP 2003130641 А, 08.05.2003. SU 939765 А, 30.06.1982. SU 267932 А, 02.04.1970.
Адрес для переписки:
199106, Санкт-Петербург, В.О., 21 линия, 2, СПГГИ (ТУ), патентный отдел
|
(72) Автор(ы):
Гусев Владимир Николаевич (RU), Голованов Виктор Афанасьевич (RU), Волохов Евгений Михайлович (RU), Волуевич Наталия Михайловна (RU)
(73) Патентообладатель(и):
Государственное образовательное учреждение высшего профессионального образования “Санкт-Петербургский государственный горный институт имени Г.В. Плеханова (технический университет)” (RU)
|
(54) УСТРОЙСТВО ДЛЯ ФОТОГРАММЕТРИЧЕСКОЙ СЪЕМКИ ВЕРТИКАЛЬНЫХ ГОРНЫХ ВЫРАБОТОК И СКВАЖИН БОЛЬШОГО ДИАМЕТРА
(57) Реферат:
Изобретение относится к оборудованию для фотограмметрической съемки световых сечений вертикальных горных выработок и скважин большого диаметра, подземных полостей, пустот, пещер и др. Техническим результатом изобретения является расширение возможностей съемки вертикальных выработок в сторону выработок с поперечными размерами, меньшими фиксированной величины базисной рейки, и возможность пропуска устройства в месте перехода с меньшего диаметра скважины на больший для съемки участков скважины с большим диаметром. Этот результат обеспечивается за счет того, что устройство снабжено базисной рейкой, разделенной на два подвижных элемента, поворотным стыковочным узлом для соединения телескопической штанги с формирователем световой плоскости, цифровой камерой, установленной в верхней части штанги, системой блоков для направляющих тросиков и мерной ленты, установленных на штативах. 11 ил.
Устройство относится к оборудованию для съемки вертикальных горных выработок (стволов, рудоспусков) и скважин большого диаметра фотограмметрическим методом съемки световых сечений снимаемого объекта.
Известно устройство для фотограмметрической съемки, включающее две непрозрачные пластины, между которыми размещены кольцеобразная линза из органического стекла и импульсная лампа от фотовспышки. Кольцеобразная линза концентрирует световой поток на стенках выработки в виде узкой полосы. К задней пластине прибора прикреплены четыре базисные трубки с марками-отражателями на концах. Последние необходимы для масштабирования и трансформирования косоугольной проекции снимка в ортогональную к стенкам выработки (Голованов В.А. Прибор ФС-7 для съемки сечений горных выработок. Сб. “Инженерная геодезия”. Ч.2, М., 1976. С.29-33).
Недостатком этого прибора является невозможность съемки сечений вертикальных горных выработок. В таком виде прибор может использоваться только для съемки сечений горизонтальных горных выработок, тоннелей. Кроме того, для съемки световых сечений используется фотоаппарат, снимки которого требуют трудоемкой обработки.
Известно устройство, включающее фотокамеру, жестко соединенную с плоским экраном, расположенным перпендикулярно к ее оптической оси. Экран двухполостной с расположенным внутри его источником света, причем конфигурация экрана соответствует проектному поперечному сечению ствола. Фотоаппарат вместе с экраном крепится к шахтной клети. Через определенный интервал фотографируется световой след между экраном и стенкой ствола, по постоянству ширины которого судят о вертикальности стенок (Шеховцов Г.А. Методы и технические средства изучения подземных пустот. Изд. “Арабеск”, Нижний Новгород, 2000. С.89-90).
Недостатком этого устройства является невозможность съемки сечений вертикальной выработки с последующим масштабированием снятых сечений и их ориентированием относительно оси вертикальной выработки. Данное устройство позволяет производить только контроль вертикальности стенок горных выработок, что подразумевает правильность формы поперечного сечений вертикальной выработки.
Известно устройство для фотографирования поперечных сечений рудоспусков. Оно состоит из трех основных узлов: блока управления, фокусирующего устройства с фотоаппаратами (два фотоаппарата) и осветителя, на экране которого, диаметром 1 м, крепятся электролампы. Процесс съемки рудоспуска заключается в фиксации его световых сечений через определенный интервал по высоте (Шеховцов Г.А. Методы и технические средства изучения подземных пустот. Изд. “Арабеск”, Нижний Новгород, 2000. С.89-90).
Недостатком является сложность монтажа системы блоков для спуска прибора в вертикальную горную выработку (рудоспуск). Кроме того, несмотря на то, что система блоков образует рамку из спусковых тросов, полностью стабилизации положения системы “фотоаппараты – осветитель” не добиться. Восходящее или нисходящее движение воздуха по рудоспуску будет инициировать повороты системы “фотоаппараты – осветитель” в пределах гибкости тросов, образующих рамку. Особенно этот эффект будет сказываться при большой глубине опускания данного прибора.
Известно устройство, принятое за прототип, для съемки поперечных сечений вертикальных шахт способом световой грани. Основные его части: щит с гранью, осветитель, базисная рейка, которая на концах имеет прорези, куда направляется часть светового потока, подвеска, канат (маркированный через 1 м), на котором опускают в шахту устройство по двум направляющим канатам с грузами и дистанционной планкой на конце, фотоаппарат, установленный на перекрытии шахты в верхней ее части. Таким образом, щит с гранью и осветителем опускается с остановками в местах съемки сечений, а фотоаппарат остается на месте (на перекрытии) и оттуда производится фотографирование (Зумент У.Р. Съемка поперечных сечений вертикальных шахт фотограмметрическим методом. “Геодезия и картография”, №9, 1980, с.40-42).
Недостатками является невозможность использования устройства в условиях, когда максимальные размеры поперечных сечений вертикальной горной выработки меньше размера базисной рейки, имеющей фиксированную величину и жесткое соединение с щитом. При отработке рудных залежей вертикальными камерами шириной – до 30 м, длиной – до 50 м и высотой – до 50 м, для безопасного ведения очистных работ внутри таких камер необходимо, чтобы боковые стенки камеры сохраняли устойчивое положение. С этой целью по периметру очистной камеры бурятся скважины большого диаметра, в которые затем закачивают бетонный раствор, формируя таким образом стенки из бетонных столбов. Сначала бурится пилотная скважина меньшим диаметром, порядка 300-400 мм, которая затем разбуривается до большего диаметра, порядка 800-2000 мм. Разбуривание до большего диаметра производится вдоль оси пилотной скважины снизу вверх, не доходя до ее устья 1,0-1,5 м. Чтобы снять такую скважину, необходимо сначала пропустить оборудование через меньший диаметр, что невозможно сделать данным устройством в силу его главного недостатка – жесткости конструкции. Аналогичная ситуация при ведении горных работ может встретиться не только в связи со скважинами большого диаметра.
К недостаткам этого устройства относится выбранная схема фотографирования: фотоаппарат зафиксирован, а щит с осветителем перемещается. В результате возникают ограничения по расстоянию от фотоаппарата до щита с осветителем – формирователя световой плоскости: чем дальше от фотоаппарата находится формирователь световой плоскости, тем меньше на снимках будут получаться световые сечения, снижая достоверность и точность съемки. Этот недостаток выбранной схемы фотографирования в полной мере проявляется при съемке вертикальных выработок с неровными краями, например, рудоспусков, у которых разбиты боковые стенки падающей рудой. Неровность стенок на отдельных участках может носить плавно выступающий характер, что может перекрывать для объектива фотоаппарата отдельные участки следа от пересечения световой плоскости с боковыми стенками выработки для сечений, расположенных ниже выступающего участка стенки рудоспуска. Таких выступающих участков (“мертвых зон” для фотосъемки) на всем протяжении рудоспуска может быть несколько.
Техническим результатом изобретения является расширение возможностей съемки вертикальных выработок в сторону выработок с поперечными размерами, меньшими фиксированной величины базисной рейки, и возможность прохода оборудования через меньший диаметр скважины на больший для съемки сечений скважины с большим диаметром, а также повышение достоверности и полноты информации о снимаемых контурах сечений.
Технический результат достигается тем, что устройство для фотограмметрической съемки вертикальных горных выработок и скважин большого диаметра, содержащее камеру, формирователь световой плоскости с базисной рейкой и марками на ее концах, подвес, мерную ленту, два направляющих тросика с дистанционной планкой и грузами, согласно изобретению снабжено стыковочным узлом, связывающим подвес, выполненный в виде телескопической штанги с закрепленной на ней цифровой камерой, с фиксировано связанным с ней формирователем световой плоскости, системой блоков для направляющих тросиков и мерной ленты, установленной на несущей трубе, размещенной на теодолитных подставках, при этом стыковочный узел выполнен в виде шарнирно соединенных неподвижного, жестко связанного с верхней параллельной пластиной формирователя световой плоскости, и подвижного оснований и корпуса с оголовком, задвижкой и пружинной защелкой, взаимодействующей с подвижным основанием, на котором установлена трубка с надетой на нее пружиной, выполненная с двумя L-образными прорезями, в которые входит фиксатор нижней части телескопической штанги, базисная рейка выполнена из двух параллельных в вертикальной плоскости и связанных горизонтальной направляющей с возможностью их перемещения относительно друг друга и относительно параллельных пластин формирователя световой плоскости, базисных штанг с одинарной и двойной марками, базисные штанги снабжены подвижными направляющими, установленными с возможностью перемещения вдоль базисных штанг, введения в зацепление с направляющими тросиками и их фиксирования, и неподвижными направляющими для фиксирования расстояния между марками.
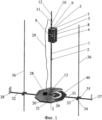
Способ поясняется чертежами, где на фиг.1 показано устройство при его спуске в вертикальной горной выработке (скважине большого диаметра) для съемки ее сечений; на фиг.2 – стыковочный узел для соединения телескопической штанги с параллельными пластинами формирователя световой плоскости; на фиг.3 – то же, в состыкованном состоянии (узел I на фиг.1; на фиг.4 – то же, но с выведенной из зацепления защелки с подвижным основанием для совмещения телескопической штаги с плоскостью параллельных пластин формирователя световой плоскости; на фиг.5 – формирователь световой плоскости без верхней параллельной пластины (расположение элементов фотовспышки); на фиг.6 – формирователь световой плоскости, вид снизу; на фиг.7 – контейнер для цифровой камеры; на фиг.8 – схема установки узла блоков для направляющих тросиков и мерной ленты; на фиг.9 – схема установки несущей трубки на теодолитную подставку (узел II на фиг.8); на фиг.10 – конструкция и форма блоков для направляющих тросиков и мерной ленты (узел III на фиг.8); на фиг.11 – общий вид фотограмметрического оборудования в сборе.
Устройство содержит телескопическую штангу 1 и фиксирующий винт 2 этой штанги (фиг.1). К штанге прикреплен контейнер 3 с цифровой камерой 4 внутри него. Контейнер 3 сверху закрыт крышкой 5, в которой устроено контрольное окно 6. Крышка к контейнеру крепится винтами 7. Контейнер 3 введен в зацепление с телескопической штангой 1 посредством скобы 8, жестко скрепленной с контейнером 3, но с возможностью перемещения вместе с контейнером 3 вдоль телескопической штанги 1. Для фиксации в определенном положении контейнера 3 относительно телескопической штанги 1 на скобе 8 выполнен зажимной винт 9. Кольцо 10 телескопической штанги 1 посредством карабина 11 соединено с мерной лентой 12. Устройство содержит стыковочный узел, состоящий из трубки 13, двух упорных полушайб 14, жестко скрепленных с корпусом трубки 13, подвижной шайбы 15, пружины 16, упирающейся в подвижное основание 17, которое через шарнир 18 соединено с неподвижным основанием 19, жестко соединенным с верхней пластиной 20 (фиг.2). Параллельно верхней пластине 20 установлена нижняя пластина 21 с зазором 1,5-2,0 см относительно верхней пластины 20. В верхней части трубки 13, напротив друг другу относительно диаметра трубки 13, сделаны прорези 22 L-образной формы, развернутые на 180° для входа в них фиксатора 23, выполненного в нижней части телескопической штаги 1 (фиг.3). Для фиксации подвижного основания 17 выполнена пружинная защелка 24, расположенная в корпусе 25, в верхней части которого выполнена задвижка 26 с оголовком 27 с возможностью взаимодействия с пружинной защелкой 24. При нажатии на оголовок 27 задвижка 26, опускаясь вниз, отжимает пружинную защелку 24, освобождая для поворота вокруг шарнира 18 подвижное основание 17 вместе с телескопической штангой 1, трубкой 13, двумя упорными полушайбами 14, подвижной шайбой 15, пружиной 16 (фиг.4). На верхней параллельной пластине крепится блок питания вспышки 28, от которого идет кабель управления вспышкой 29 к кнопке 30. К нижней параллельной пластине 21 крепятся две базисные штанги 31 и 32, на которых установлены подвижные направляющие 33 с возможностью перемещения вдоль базисных штанг 31 и 32. Подвижные направляющие 33 снабжены фиксирующими винтами 34 и ограничительными винтами 35. Последние служат для того, чтобы ветви направляющего тросика 36 не вышли из зацепления с подвижными направляющими 33. Базисная штанга 31 снабжена одинарной маркой 37, базисная штанга 32 – двойной маркой 38. Такое сочетание марок базисных штанг 31 и 32 служит для однозначного взаимного ориентирования между собой снятых сечений выработки. В состав формирователя световой плоскости входит лампа 39 и кольцеобразная линза 40, установленные между верхней 20 и нижней 21 параллельными пластинами (фиг.5). Базисные штанги 31 и 32 выполнены с возможностью перемещения одна под другой в одной вертикальной плоскости вдоль горизонтальной направляющей 41 (фиг.6). Базисная штанга 32 снабжена двойной неподвижной направляющей 42, в которой выполнено отверстие 43 для беспрепятственного прохода базисной штанги 31. Корпус двойной неподвижной направляющей 42 снабжен винтом 44 для фиксации базисной штанги 32 в определенном положении. Базисная штанга 31 снабжена одинарной неподвижной направляющей 45 с винтом 44 для фиксации базисной штанги 31. Контрольное окно 6 выполнено для наблюдения за индикатором 46 цифровой камеры 4 с целью контроля ее включения (фиг.7). Крышка 5 контейнера 3 снабжена резиновой прокладкой 47 для герметизации внутреннего пространства контейнера 3. В нижней части контейнера 3 выполнено окно 48, перекрытое стеклом, для объектива цифровой камеры 4, закрепленной во внутреннем пространстве контейнера 3 резиновыми подушкам 49. Для спуска формирователя световой плоскости в вертикальную выработку служит блоковый узел, состоящий из двух блоков 50 направляющих тросиков 36 и блока 51 мерной ленты 12 (фиг.8). Блоки посажены на подвижные трубки 52 с возможностью вращения. Положение подвижных трубок 52 с блоками 50 направляющих тросиков 36 и блоком 51 мерной ленты 12 фиксируется посредством винтов 53. Подвижные трубки 52 снабжены ограничительными шайбами 54, жестко связанными с подвижными трубками 52 и посажены на несущую трубку 55 (фиг.9). Несущая трубка 55 с обоих концов вставлена в трубчатые держатели 56 и фиксируется винтами держателя 57. В нижней части трубчатого держателя выполнен хвостовик 58, вставленный в теодолитную подставку 59, закрепленную на теодолитном штативе 60 (фиг.10). Общее положение всех элементов блокового узла устанавливается относительно устья снимаемой вертикальной горной выработки (скважины большого диаметра) 61 (фиг.8, 10). Оба направляющих тросика 36 намотаны на лебедки 62, к концам которых прикреплены грузы 63 (фиг.11). Вблизи места закрепления грузов 63 на направляющие тросики ставится дистанционная планка 64, состоящая, например, из двух металлических пластин, двух резиновых прокладок и сжимающих винтов. Перед спуском в вертикальную горную выработку (скважину большого диаметра) 65 с помощью дистанционной планки 64 фиксируется расстояние между направляющими тросиками 36, равное расстоянию между блоками 50 направляющих тросиков 36. Полотно рулетки 12, перекинутое через блок 51 мерной ленты 12, сматывается с несущей лебедки 66 вниз в вертикальную горную выработку (скважину большого диаметра) 65. Узел блоков, две лебедки 62, несущая лебедка 66, кнопка 30 устанавливаются на потолочине 67 вертикальной горной выработки (скважины большого диаметра) 65.
Устройство для съемки сечений в процессе спуска, опускаемое в вертикальную горную выработку или скважину большого диаметра, работает следующим образом.
Работа устройства рассмотрена на примере съемки скважин большого диаметра, что принципиально не отличается от съемки вертикальных горных выработок: стволов, шурфов, рудоспусков, очистных полостей, вертикально ориентированных, и др. Так для крепления боковых стенок очистных подземных камер бурят по контуру будущей камеры скважины большого диаметра. Технология проходки таких скважин следующая. Из горной выработки в защитном бетонном слое, сформированном в верхней части очистной камеры, бурится сначала пилотная скважина, диаметром порядка 300 мм, глубиной до 40 м. Затем пробуренная скважина расширяется до большего диаметра (до 600-2000 мм) снизу вверх, при этом расширение производится до нижней границы защитного слоя. В результате, от места перехода с большого диаметра скважины на малый до устья пилотной скважины, остается защитная потолочина 67 (фиг.11), мощностью порядка 1,0-1,5 м. Над устьем пилотной скважины устанавливают штативы 60 с теодолитными подставками 59, в которые вставляют, используя хвостовики 58, трубчатые держатели 56. Затем устанавливают несущую трубку 55 вместе с блоками 50 направляющих тросиков 36 и блоком 51 мерной ленты 12 путем вставки ее в трубчатые держатели 56 с последующей фиксацией винтами держателя 57. Блоки 50 и 51 выполнены с возможностью перемещения вдоль несущей трубки 55, для чего они насажаны на подвижные трубки 52 большего диаметра, чем несущая трубка 55. В свою очередь, сами блоки насажаны на подвижные трубки 52 с возможностью вращения. Перемещению блоков вдоль подвижных трубок 52 препятствуют ограничительные шайбы 54, жестко связанными, например сваркой, с подвижными трубками 52. Перемещая подвижные трубки 52 направляющих блоков 50, добиваются, чтобы точки схода направляющих тросиков 36 с этих блоков проходили вблизи противоположных стенок пилотной скважины и закрепляют выбранное положение винтами 53. Аналогичным образом фиксируют положение блока 51 посередине между блоками 50. Внутренняя поверхность блоков 50 имеет конусообразный профиль для перекатывания по ним направляющих тросиков 36 диаметром 1,5-2,0 мм, а блока 51 – П-образный профиль для перекатывания по нему мерной ленты 12 стандартной ширины (13 мм).
После установки блоков к направляющим тросикам 36 присоединяют грузы 63, устанавливают дистанционную планку 64, состоящую из двух металлических и двух резиновых пластин. При установке направляющие тросики 36 должны попасть между резиновыми пластинами, которые сжимаются двумя металлическими пластинами с помощью винтов на дистанционной планке 64. Расстояние между направляющими тросиками 36 перед сжатием пластин дистанционной планки 64 устанавливается равным расстоянию между ранее установленными блоками 50. После чего направляющие тросики 36 вместе с грузами 63 и установленной дистанционной планкой 64 пропускаются через устье скважины 61 и уже в пространстве скважины большого диаметра 65 производят спуск под натяжением грузов 63 и дистанционной планки 64 до низа вертикальной выработки (скважины большого диаметра) 65, управляя процессом спуска лебедками 62. Индикатором, что опускаемый груз достиг нижней части вертикальной выработки, является ослабление натяжения направляющих тросиков. После чего необходимо частично ликвидировать ослабление натяжения направляющих тросиков, т.е. привести систему в состояние, чтобы грузы полностью не оторвались от низа скважины и направляющие тросики 36 были в натянутом состоянии. Затем подготавливают и спускают в скважину большого диаметра 65 устройство для съемки сечений этой скважины. К телескопической штанге 1 прикрепляют контейнер 3 с цифровой камерой 4 внутри посредством скобы 8 и зажимного винта 9 вблизи кольца 10. Выдвигают второй став телескопической штанги на такое расстояние, чтобы в поле зрения цифровой камеры 4 полностью попадали бы снимаемые сечения, и фиксируют выбранную длину телескопической штанги 1 фиксирующим винтом штанги 2. Нижний конец телескопической штанги стыкуют с трубкой 13 посредством ввода фиксатора 23 в прорези 22 (фиг.2). Для полной стыковки необходимо по направлению прорези 22 фиксатором 23 надавить на подвижную шайбу 15, которая передаст это давление на пружину 16, и, преодолевая сопротивление пружины 16, довести фиксатор 23 до нижней точки прорези 22, повернуть фиксатор в крайнее положение по направлению прорези. После чего фиксатор 23 под действием пружины 16 поднимется по L-образной прорези и зафиксируется. При этом подвижное основание 17 должно быть зафиксировано пружинной защелкой 24 (фиг.3). Далее выставляют максимально возможную величину базиса. С этой целью выдвигают (задвигают) сначала одну базисную штангу 31 по направляющим отверстиям горизонтальной направляющей 41 и одинарной неподвижной направляющей 45 с фиксированием выбранной длины винтом 44, затем другую базисную штангу 32 – по направляющим отверстиям горизонтальной направляющей 41 и двойной неподвижной направляющей 42 с фиксированием длины винтом 44. В двойной неподвижной направляющей 42 предусмотрено отверстие 43 для возможности прохода через него базисной штанги 31. Это сделано для увеличения диапазона установок размеров базиса. В общем случае рекомендуемый размер базиса (расстояние между одинарной маркой 37 и двойной маркой 38) – 0,95 от минимального размера поперечного сечения вертикальной горной выработки. При этом положение одинарной марки 37 и двойной марки 38 относительно центра параллельных пластин 20 и 21 должно быть симметричным. После установки базиса на базисных штангах 31 и 32, перемещая по ним, выставляют подвижные направляющие 33 на расстоянии, равном расстоянию между направляющими тросиками 36 симметрично относительно центра параллельных пластин 20 и 21 с фиксацией этих направляющих винтами 34. Заводят направляющие тросики в специальные прорези для них в подвижных направляющих 33, а для того, чтобы направляющие тросики 36 не вышли из зацепления с подвижными направляющими 33, прорези замыкают путем закручивания ограничительных винтов 35.
Если вертикальная горная выработка (скважина большого диаметра) без перехода с малого на большой диаметр, то фотограмметрическое устройство начинают опускать по направляющим тросикам 36 для производства съемок. Если имеется переход с меньшего диаметра на больший и через меньший диаметр базис устройства, выставленный по большему диаметру скважин, не проходит, то действуют следующим образом.
Нажимают на оголовок 27, при этом задвижка 26 выводит пружинную защелку 24 из зацепления с подвижным основанием 17, которое вместе со стыковочным узлом, телескопической штангой 1 и с контейнером 3 поворачивают вокруг шарнира 18 на угол 90° относительно неподвижного основания 19 (фиг.4). После этого задвижку 26 поднимают вверх, освобождая пружинную защелку 24. Стыковочный узел установлен таким образом, чтобы этот поворот осуществлялся в вертикальной плоскости, проходящей через базис. В результате телескопическая штанга 1 расположится вдоль базисной штанги 31 с одинарной маркой 37. Ослабив направляющие тросики 36 и развернув формирователь световой плоскости так, чтобы базисная штанга 32 с двойной маркой 38 оказалась внизу, а базисная штага 31 с одинарной маркой 37 – вверху, заводят формирователь световой плоскости в скважину. После прохода участка скважины с меньшим диаметром формирователь световой плоскости под действием собственного веса и направляющих тросиков 36 поворачивается вокруг шарнира 18 в исходное состояние до взаимодействия подвижного основания 17 с защелкой 24. При этом дополнительно поднимают формирователь световой плоскости до упора его базиса в переходную часть скважины с меньшего на больший диаметр и поворачивают телескопическую штангу 1 пока подвижное основание 17 не войдет в зацепление с защелкой 24.
Открыв крышку 5, включают цифровую камеру 4, закрывают крышку 5, закрутив винты 7. В крышке 5 сделано контрольное окно 6, через которое виден индикатор 46 включения камеры. Опускают формирователь световой плоскости в скважину на мерной ленте 12 несущей лебедки 66, останавливая ее на определенных глубинах (фиг.11). В моменты остановки с помощью кнопки 30 включают лампу 39 фотовспышки, свет от которой, пройдя через кольцеобразную линзу 40 и зазор между параллельными пластинами 20 и 21, формирует след от пересечения световой плоскости со стенками скважины. Кроме того, в момент срабатывания фотовспышки, свет попадает на одинарную марку 37 и двойную марку 38. Этот след и базисные марки (одинарная марка 37 и двойная марка 38) фиксируется цифровой камерой 4. Действуя таким образом, получаем набор сечений в различных частях скважины. Результаты съемки затем обрабатываются, например, в среде программного продукта AutoCAD, при этом масштабирование снятых сечений производится по выставленному расстоянию между марками базиса, ориентирование сечений – по местоположению на снимках двойной марки 38 и одинарной марки 37 базиса. По масштабированным и ориентированным сечениям в AutoCADe отстраивается цифровая трехмерная модель снятого объекта.
После производства съемок формирователь световой плоскости поднимают наверх до упора оголовком 27 в переходную часть с большего диаметра скважины на меньший. Путем подтягивания за телескопическую штангу 1 вверх производят нажим на оголовок 27. В результате задвижка 26, опускаясь вниз, выводит защелку 24 из зацепления с подвижным основанием 17. После ослабления натяжения направляющих тросиков 36 параллельные пластины 20 и 21 вместе с базисными штангами 31 и 32 поворачиваются вокруг шарнира 18. При этом повороте базисная штанга 32 с двойной маркой 38 опустится вниз, а штанга 31 с одинарной маркой 37 – вверх. В таком положении устройство извлекается из скважины с меньшим диаметром и отсоединяются от направляющих тросиков 36 путем откручивания ограничительных винтов 35, освобождая выход направляющего тросика 36 из прорези в подвижных направляющих 33.
Состояние устройства при повернутой на 90° телескопической штанги 1 вокруг шарнира 18 и ее сдвинутых ставах, а также сдвинутых базисных штангах 31 и 32 до упора базисных марок в подвижные направляющие 33, которые, в свою очередь, упираются в края параллельных пластин 20 и 21, является удобным для транспортировки на соседние участки съемки в пределах шахты, рудника.
Преимуществом предлагаемого устройства является возможность съемки недоступных вертикально вытянутых объектов, таких как стволы, шурфы, рудоспуски, с разбитыми рудой стенками, скважины большого диаметра от 0,35 м и больше, что в сочетании с возможностью обработки полученной съемочной информации в среде программных продуктов с хорошо развитым аппаратом графических построений позволяет получать оперативно достоверную информацию о форме и размерах снятых объектов.
Предлагаемое устройство предусматривается использовать в горной промышленности для съемки вертикальных горных выработок и скважин большого диаметра, достоверную и точную съемку которых не осуществить существующими приборами и методами съемки, а также для съемок вытянутых вертикальных объектов типа естественных подземных полостей, пустот, пещер и др.
Формула изобретения
Устройство для фотограмметрической съемки вертикальных горных выработок и скважин большого диаметра, содержащее камеру, формирователь световой плоскости с базисной рейкой и марками на ее концах, подвес, мерную ленту, два направляющих тросика с дистанционной планкой и грузами, отличающееся тем, что оно снабжено стыковочным узлом, связывающим подвес, выполненный в виде телескопической штанги с закрепленной на ней цифровой камерой, с фиксировано связанным с ней формирователем световой плоскости, системой блоков для направляющих тросиков и мерной ленты, установленной на несущей трубе, размещенной на теодолитных подставках, при этом стыковочный узел выполнен в виде шарнирно соединенных неподвижного, жестко связанного с верхней параллельной пластиной формирователя световой плоскости, и подвижного оснований и корпуса с оголовком, задвижкой и пружинной защелкой, взаимодействующей с подвижным основанием, на котором установлена трубка с надетой на нее пружиной, выполненная с двумя L-образными прорезями, в которые входит фиксатор нижней части телескопической штанги, базисная рейка выполнена из двух параллельных в вертикальной плоскости и связанных горизонтальной направляющей с возможностью их перемещения относительно друг друга и относительно параллельных пластин формирователя световой плоскости базисных штанг с одинарной и двойной марками, базисные штанги снабжены подвижными направляющими, установленными с возможностью перемещения вдоль базисных штанг, введения в зацепление с направляющими тросиками и их фиксирования, и неподвижными направляющими для фиксирования расстояния между марками.
РИСУНКИ
MM4A – Досрочное прекращение действия патента СССР или патента Российской Федерации на изобретение из-за неуплаты в установленный срок пошлины за поддержание патента в силе
Дата прекращения действия патента: 21.02.2008
Извещение опубликовано: 27.03.2010 БИ: 09/2010
|
|