|
|
(21), (22) Заявка: 2005138010/28, 06.12.2005
(24) Дата начала отсчета срока действия патента:
06.12.2005
(46) Опубликовано: 20.06.2007
(56) Список документов, цитированных в отчете о поиске:
SU 377614 А1, 01.01.1973. SU 488980 А1, 25.10.1975. ЕР 0109936 А1, 30.05.1984. US 4367646, 11.01.1983. US 5619803 A1, 15.04.1997.
Адрес для переписки:
426033, г.Ижевск, а/я 4579, ЗАО “РС-Лизинг”
|
(72) Автор(ы):
Мурашов Владислав Михайлович (RU)
(73) Патентообладатель(и):
Закрытое акционерное общество “РС-Лизинг” (RU)
|
(54) СПОСОБ ИЗМЕРЕНИЯ ДИАМЕТРА ОТВЕРСТИЙ И УСТРОЙСТВО ДЛЯ ЕГО ОСУЩЕСТВЛЕНИЯ
(57) Реферат:
Изобретение направлено на повышение точности измерения и расширение области применения бесконтактных пневматических пробок. Указанный технический результат достигается тем, что способ измерения диаметра отверстий заключается в подаче газа в измерительные камеры пневматического измерительного прибора и далее через сопла, установленные в пневматической пробке, в измерительные зазоры между поверхностью отверстия и торцевыми поверхностями сопел, настройке пределов измерений путем поочередной установки на пневматическую пробку настроечных деталей, установке пневматической пробки в контролируемое отверстие, измерении его диаметра и шероховатости поверхности отверстия по величине изменения измерительных зазоров и соответствующих изменений давлений в измерительных камерах прибора, определении величины диаметра отверстия путем вычитания величины шероховатости его поверхности из измеренной величины диаметра отверстия, отображении результатов измерения шероховатости и величины диаметра отверстия на индикаторе измерительного прибора. 2 н. и 8 з.п. ф-лы, 5 ил.
Изобретение относится к пневматической измерительной технике и может быть использовано для измерения диаметра отверстий, а также шероховатости их поверхности.
Известна пневматическая пробка для измерения диаметра отверстий и способ ее применения, описанные в книге О.Б.Балакшина “Автоматизация пневматического контроля размеров в машиностроении”, М., 1964 г., стр.253, рис.130, принятая в качестве прототипа, состоящая из цилиндрического корпуса с направляющими, двух диаметрально расположенных сопел, соединенных с измерительным прибором.
Способ измерения диаметра отверстий заключается в подаче газа в измерительную камеру измерительного прибора и далее через два сопла, установленных диаметрально в пневматической пробке, в измерительные зазоры между поверхностью контролируемого отверстия и торцевыми поверхностями сопел, настройке пределов измерений с помощью настроечных деталей, установке пневматической пробки по направляющим в контролируемое отверстие, измерении его диаметра по величине изменения измерительных зазоров и соответствующего изменения давления в измерительной камере прибора, отображении результата измерения на индикаторе измерительного прибора.
Недостатками известного устройства являются высокая погрешность измерения вследствие влияния на результат измерения шероховатости поверхности контролируемого отверстия. Наличие погрешности от шероховатости поверхности отверстий снижает точность измерения и делает невозможным измерение диаметра отверстий с большой шероховатостью, что сужает область применения таких устройств.
Задачей заявляемого изобретения является повышение точности измерения диаметра отверстий и расширение области применения бесконтактных пневматических пробок.
Указанный технический результат достигается тем, что способ измерения диаметра отверстий заключается в подаче газа в измерительные камеры пневматического измерительного прибора и далее через сопла, установленные в пневматической пробке, – в измерительные зазоры между поверхностью отверстия и торцевыми поверхностями сопел, настройке пределов измерений путем поочередной установки на пневматическую пробку настроечных деталей, установке пневматической пробки в контролируемое отверстие, измерении его диаметра и шероховатости поверхности отверстия по величине изменения измерительных зазоров и соответствующих изменений давлений в измерительных камерах прибора, определении величины диаметра отверстия путем вычитания величины шероховатости его поверхности из измеренной величины диаметра отверстия, отображении результатов измерения шероховатости и величины диаметра отверстия на индикаторе измерительного прибора.
Настройку пределов измерения проводят с помощью трех настроечных деталей с минимальным значением шероховатости, две из которых имеют размеры, соответствующие пределам поля допуска диаметра контролируемых отверстий, а третья имеет размер, увеличенный на максимальную величину шероховатости.
Указанный технический результат достигается тем, что устройство для измерения диаметра отверстий состоит из пневматической пробки, снабженной направляющими и базирующими точечными опорами, содержащей две системы измерительных сопел для контроля диаметра и шероховатости поверхности отверстий, соединенные линиями связи с соответствующими измерительными камерами пневматического измерительного прибора с индикатором, подпружиненный элемент, расположенный на одной образующей с направляющими опорами, при этом опоры образуют начальный измерительный зазор между поверхностью отверстия и торцами сопел.
Базирующие и направляющие опоры выполнены в виде шести шариковых опор, расположенных попарно на трех образующих корпуса, проходящих через вершины равностороннего треугольника, в двух поперечных сечениях корпуса, при этом в каждом поперечном сечении содержатся две базирующие опоры и одна направляющая опора.
Система измерительных сопел для контроля шероховатости поверхности отверстий содержит два сопла, установленных на одной образующей в непосредственной близости от базирующих опор.
Пневматический измерительный прибор может быть выполнен в виде двухканального пневмоэлектронного прибора, содержащего две измерительные камеры и индикатор с цифровыми и предельными шкалами, или двух пневматических длиномеров высокого давления ротаметрического типа.
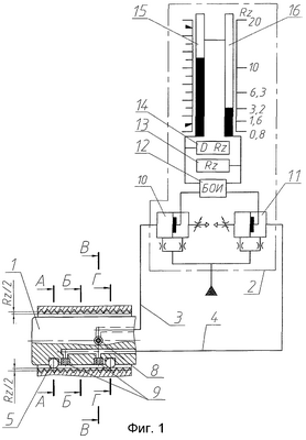
Устройство для измерения диаметра отверстий поясняется чертежами.
На Фиг.1 изображен общий вид устройства для измерения диаметра отверстий.
На Фиг.2 изображено сечение А-А, содержащее две базирующие и одну направляющую опоры.
На Фиг.3 изображено сечение Б-Б, содержащее подпружиненный элемент.
На Фиг.4 изображено сечение В-В, содержащее два измерительных сопла для измерения диаметра отверстий и одно из сопел для контроля шероховатости поверхности отверстий.
На Фиг.5 изображено сечение Г-Г, содержащее опоры и каналы для подвода воздуха к измерительным соплам.
Устройство для измерения диаметра отверстий состоит из пневматической пробки 1, соединенной с двухканальным пневмоэлектронным измерительным прибором 2 с помощью линий связи 3, 4. Пневматическая пробка 1 содержит базирующие 5 и направляющие 6 точечные опоры, прижимной элемент 7, расположенный на одной образующей с направляющими опорами 6, систему измерительных сопел 8, установленных диаметрально в пневматической пробке, систему измерительных сопел 9, установленных на одной образующей в непосредственной близости от базирующих опор 5. Система измерительных сопел 8 служит для измерения диаметра отверстий, а система измерительных сопел 9 – для контроля шероховатости поверхности отверстий. Системы измерительных сопел 8, 9 соединены линиями связи 3, 4 с соответствующими измерительными камерами 10, 11 прибора 2.
Базирующие 5 и направляющие 6 опоры выполнены в виде шести шариковых опор, расположенных попарно на трех образующих корпуса, проходящих через вершины равностороннего треугольника, в двух поперечных сечениях корпуса, при этом в каждом поперечном сечении содержатся две базирующие опоры 5 и одна направляющая опора 6. Опоры 5, 6 разнесены по длине контролируемого отверстия и образуют начальный измерительный зазор между поверхностью отверстия и торцами сопел.
Пневмоэлектронный измерительный прибор 2, содержит блок обработки информации (БОИ) 12, цифровые 13, 14 и предельные 15, 16 шкалы.
Процесс измерения диаметра отверстий осуществляется следующим образом.
Рабочий газ подают в оба канала пневмоэлектронного прибора и далее через системы измерительных сопел 8, 9 – в зазоры между поверхностью отверстия и торцевыми поверхностями сопел.
Устройство настраивают с помощью трех настроечных колец с минимальным значением шероховатости поверхности. Две детали имеют размеры, соответствующие пределам поля допуска диаметра контролируемых отверстий, а третья деталь имеет базирующий диаметр, на который устанавливаются базирующие опоры 5, и настроечный диаметр, напротив которого при настройке устанавливаются измерительные сопла 9, при этом величина настроечного диаметра больше величины базирующего диаметра на величину максимального значения шероховатости Rz.
Настройку устройства производят путем поочередной установки на пневматическую пробку настроечных деталей, установки в пневмоэлектронном приборе пределов измерения диаметра и шероховатости.
В процессе измерения пневматическую пробку 1 вводят и устанавливают по направляющим 6 и базирующим 5 опорам в контролируемое отверстие. Под действием прижимного элемента 7 пробка прижимается к поверхности контролируемого отверстия на четыре базирующие опоры 5, образуя начальный измерительный зазор между торцами измерительных сопел и контролируемой поверхностью. Прижимной элемент 7 обеспечивает стабильный прижим пробки 1 к поверхности контролируемого отверстия.
С помощью системы сопел 8 измеряют диаметр отверстия по величине изменения давления в измерительной камере 10 первого канала прибора, которая преобразуется в электронный сигнал.
Одновременно с измерением диаметра отверстия измеряют шероховатость поверхности контролируемого отверстия с помощью системы сопел 9, через которые подают газ в измерительные зазоры, образованные, в том числе микронеровностями контролируемой поверхности отверстия, и торцевыми поверхностями сопел 9. Величина изменения давления в измерительной камере 11 второго канала прибора, соответствующая величине шероховатости Rz, также преобразуется в электронный сигнал и отображается на цифровом индикаторе 13, а предельная шкала 16 отображает принадлежность детали к определенному классу чистоты, определяя годность контролируемой детали по чистоте поверхности.
Образованный опорами 5, 6 начальный измерительный зазор позволяет вести измерение в прямолинейной зоне рабочей характеристики измерительного прибора с высокой чувствительностью и точностью.
В блоке обработки информации корректируют результат измерения диаметра отверстия D путем вычитания из него величины шероховатости поверхности отверстия Rz. Полученный размер диаметра отверстия DRz отображают на цифровом индикаторе 14, а его значение относительно пределов поля допуска – на предельной шкале 15.
Таким образом, применение способа измерения диаметра отверстий и устройства для его осуществления позволяет учесть погрешность измерения, связанную с шероховатостью поверхности отверстий, повысить точность измерения диаметра отверстий с большой шероховатостью, тем самым расширить область применения бесконтактных пневматических пробок.
Формула изобретения
1. Способ измерения диаметра отверстий, заключающийся в подаче газа в измерительную камеру пневматического измерительного прибора и далее через сопла, установленные в пневматической пробке, в измерительные зазоры между поверхностью отверстия и торцевыми поверхностями сопел, настройке пределов измерений путем поочередной установки на пневматическую пробку настроечных деталей минимального и максимального диаметров, установке пневматической пробки в контролируемое отверстие, измерении его диаметра по величине изменения измерительных зазоров и соответствующего изменения давления в измерительной камере прибора, отображении результатов измерения на индикаторе измерительного прибора, отличающийся тем, что подают газ в дополнительную измерительную камеру пневматического измерительного прибора и далее через, как минимум, одно сопло, установленное в пневматической пробке в измерительный зазор, образованный микронеровностями контролируемой поверхности отверстия и торцевой поверхностью сопла, настраивают пределы измерения шероховатости поверхности отверстия путем поочередной установки на пневматическую пробку настроечных деталей, измеряют шероховатость по величине изменения давления в дополнительной измерительной камере прибора, определяют величину диаметра отверстия путем корректировки измеренной величины диаметра отверстия на величину шероховатости его поверхности.
2. Способ по п.1, отличающийся тем, что настройку пределов измерения проводят с помощью трех настроечных деталей с минимальным значением шероховатости, две из которых имеют размеры, соответствующие пределам поля допуска диаметра контролируемых отверстий, а третья имеет размер, увеличенный на максимальную величину шероховатости.
3. Способ по п.1, отличающийся тем, что величину диаметра отверстия определяют путем вычитания величины шероховатости из измеренной величины диаметра отверстия.
4. Способ по п.1, отличающийся тем, что результат измерения шероховатости и скорректированный результат измерения величины диаметра отверстия отображают на индикаторе прибора.
5. Устройство для измерения диаметра отверстий, состоящее из пневматической пробки с направляющими элементами, содержащей систему измерительных сопел, соединенных единой линией связи с измерительной камерой пневматического измерительного прибора, индикатора, отличающееся тем, что пневматическая пробка дополнительно снабжена системой измерительных сопел для контроля шероховатости поверхности отверстий, соединенной единой линией связи с дополнительной измерительной камерой пневматического измерительного прибора, базирующими элементами, подпружиненным элементом, направляющие и базирующие элементы выполнены в виде точечных опор, образующих начальный измерительный зазор между поверхностью отверстия и торцами сопел.
6. Устройство по п.5, отличающееся тем, что базирующие и направляющие элементы выполнены в виде шести шариковых опор, расположенных попарно на трех образующих корпуса, проходящих через вершины равностороннего треугольника, в двух поперечных сечениях корпуса, при этом в каждом поперечном сечении содержатся две базирующие опоры и одна направляющая опора.
7. Устройство по п.5, отличающееся тем, что система измерительных сопел для контроля шероховатости поверхности отверстий содержит два сопла, установленных на одной образующей в непосредственной близости от базирующих опор.
8. Устройство по п.5, отличающееся тем, что подпружиненный элемент установлен на одной образующей с направляющими опорами.
9. Устройство по п.5, отличающееся тем, что пневматический измерительный прибор выполнен в виде двухканального пневмоэлектронного прибора, содержащего две измерительные камеры и индикатор с цифровыми и предельными шкалами.
10. Устройство по п.5, отличающееся тем, что пневматический измерительный прибор выполнен в виде двух пневматических длинномеров высокого давления ротаметрического типа.
РИСУНКИ
|
|