|
|
(21), (22) Заявка: 2005130542/02, 04.10.2005
(24) Дата начала отсчета срока действия патента:
04.10.2005
(46) Опубликовано: 20.06.2007
(56) Список документов, цитированных в отчете о поиске:
US 2707435 А, 03.05.1955. ЕР 1367358 А2, 03.12.2003. RU 2247314 С1, 27.02.2005.
Адрес для переписки:
105318, Москва, ул. Вельяминовская, 32, ФГУП “Государственное научно-производственное предприятие “Базальт”
|
(72) Автор(ы):
Кореньков Владимир Владимирович (RU), Терешин Алексей Андреевич (RU), Супрунов Николай Андреевич (RU), Шелехов Виктор Степанович (RU), Волжин Кирилл Владимирович (RU)
(73) Патентообладатель(и):
Федеральное государственное унитарное предприятие “Государственное научно-производственное предприятие “Базальт” (RU)
|
(54) АВИАЦИОННЫЙ БОЕПРИПАС, ПРИМЕНЯЕМЫЙ ИЗ КОНТЕЙНЕРА
(57) Реферат:
Изобретение относится к авиационным боеприпасам, размещаемым в контейнере и принудительно отделяемым от носителя. Боеприпас содержит корпус со стабилизатором, взрывательное устройство и узел крепления его в контейнере. Узел крепления выполнен в виде зафиксированной на стабилизаторе втулки, имеющей на заднем торце наружный и внутренний кольцевые выступы. На внутреннем кольцевом выступе имеются отверстия, через которые продета гибкая связь, другим своим концом закрепленная на диске обтюратора, размещенного внутри втулки. Длина гибкой связи между местами ее крепления на втулке и диске обтюратора меньше рабочей длины ствола контейнера. Место крепления гибкой связи в диске обтюратора смещено от геометрического центра диска. Отверстия в кольцевом выступе расположены от его геометрического центра на расстоянии, превышающем радиус пирозаряда контейнера, а гибкая связь уложена спиралью под внутренним кольцевым диском. Обеспечивается принудительное и безопасное отделение бомбы от носителя боеприпасов, у которых в хвостовой части могут быть размещены устройства и элементы, необходимые для дальнейшего функционирования таких боеприпасов. Может производиться как одиночное, так и залповое или серийно-залповое бомбометание. Одновременно обеспечивается унификация применяемых из контейнера боеприпасов различного назначения и с различным конструктивным оформлением их хвостовой части. 2 з.п. ф-лы, 4 ил.
Предлагаемое изобретение относится к области авиационных боеприпасов и, в частности, к боеприпасам, размещаемым в контейнере и принудительно отделяемым от носителя (самолета, вертолета).
В настоящее время широкое распространение получили мелкокалиберные боеприпасы, применяемые из авиационных контейнеров. Для исключения соударения с носителем такие боеприпасы принудительно выбрасываются из контейнера с некоторой начальной скоростью. К таким боеприпасам можно отнести, например, авиабомбы BLU-3A и BLU-3B, применяемые из контейнеров CBU-1A/A, CBU-2/A разработки США (см. “Авиационная и ракетная техника”, выпуск №447, 1968 г.). Выброс указанных боеприпасов из контейнеров производится залповым или серийно-залповым бомбометанием. Вместе с тем, имеются тактические задачи, которые необходимо решать многократным одиночным бомбометанием малокалиберных боеприпасов, например, в авиационных радиогидроакустических поисково-прицельных системах противолодочной обороны, где в качестве взрывных источников звука (ВИЗ) используются малокалиберные глубинные авиабомбы. Одиночное бомбометание ВИЗ из приведенных выше контейнеров невозможно, так как разгрузка контейнера не может производиться одиночным бомбометанием. Это связано с тем, что в каждой трубе контейнера размещается несколько авиабомб, а крепятся авиабомбы в трубе замковым устройством, являющимся принадлежностью контейнера. Использование же для малокалиберных боеприпасов индивидуальных средств подвески (ушков) на бомбовые держатели в сочетании с принудительным отделением от носителя нерационально, поскольку при этом резко уменьшится бомбовая загрузка на каждый носитель, а следовательно, снизится эффективность ее использования при решении поставленной задачи.
Известен также авиационный боеприпас, сбрасываемый с носителя, описанный в патенте США №2707435 от 1955 г., НКИ 102-7, принятый за прототип, где взрывной заряд индивидуально размещен в головном стакане реактивного снаряда и принудительно отделяется от него в момент попадания снаряда в воду. Механизм крепления и отделения взрывного заряда размещен в его хвостовой части и расположен по продольной оси. К недостаткам приведенной конструкции следует отнести то, что осевое крепление механизма отделения не может быть использовано в тех боеприпасах, у которых в хвостовой части размещены взрыватели или устройства, необходимые для извлечения элементов, размещенных внутри боеприпаса. Кроме того, отделение взрывного заряда от корпуса реактивного снаряда производится за счет инерционных сил, возникающих в момент приводнения снаряда, что не может иметь место в боеприпасе, размещенном на носителе.
Задачей заявленного изобретения является возможность применения из авиационного контейнера боеприпасов с различным конструктивным исполнением их хвостовой части при обеспечении безопасности носителя при бомбометании таких боеприпасов.
Технический результат предлагаемого изобретения заключается в обеспечении принудительного и безопасного отделения от носителя боеприпасов, у которых в хвостовой части могут быть размещены устройства и элементы, необходимые для дальнейшего функционирования таких боеприпасов.
Это достигается тем, что применяемый из контейнера авиационный боеприпас содержит корпус со стабилизатором, взрывательное устройство и узел крепления его в контейнере. Узел крепления боеприпаса в контейнере выполнен в виде зафиксированной на стабилизаторе втулки, имеющей на заднем торце наружный кольцевой выступ и внутренний кольцевой выступ с отверстиями, и обтюратора, установленного внутри втулки и скрепленного с ней через отверстия внутреннего кольцевого выступа гибкой связью, длина которой между местами ее крепления на втулке и диске обтюратора меньше рабочей длины ствола контейнера. Место крепления гибкой связи в диске обтюратора смещено от геометрического центра диска, отверстия в кольцевом выступе расположены от его геометрического центра на расстоянии, превышающем радиус пирозаряда контейнера, а гибкая связь уложена спиралью под внутренним кольцевым выступом втулки.
Соблюдение всех перечисленных признаков обеспечивает принудительное и безопасное отделение боеприпасов из контейнера носителя. При этом может производиться как одиночное, так и залповое или серийно-залповое бомбометание.
Предлагаемая конструкция авиационного боеприпаса, применяемого из контейнера, позволит обеспечить его надежное крепление в стволе контейнера в процессе транспортировки на носителе, принудительное и безопасное отделение боеприпаса из контейнера. За счет наличия наружного кольцевого выступа узел крепления удерживается в стволе контейнера после отделения боеприпаса. Обтюратор необходим для исключения утечки газов при отделении боеприпаса, а также для передачи необходимого усилия от давления пороховых газов, образующихся при срабатывании пирозаряда контейнера, на корпус боеприпаса, например, через кольцо стабилизатора, в момент сброса боеприпаса. Внутренний кольцевой выступ с отверстиями необходим для крепления обтюратора гибкой связью, служащей для удержания последнего в стволе контейнера после отделения боеприпаса, а также для защиты гибкой связи от повреждения при срабатывании пирозаряда контейнера. С этой же целью конструкцией узла крепления боеприпаса предусмотрено смещение отверстий под гибкую связь во внутреннем кольцевом выступе от геометрического центра втулки на расстояние, превышающее радиус пирозаряда контейнера. Смещение места крепления гибкой связи в диске обтюратора от геометрического центра диска, а также указанная длина гибкой связи, выбранная меньше рабочей длины ствола контейнера, позволит исключить возможное соударение обтюратора с контейнером и стенками отсека носителя после отделения боеприпаса, обеспечить надежное закрытие створок бомболюка и, в конечном счете, повысить безопасность носителя при отделении боеприпасов.
В отдельных конкретных случаях конструкция боеприпаса может быть выполнена с использованием указанных в формуле изобретения зависимых признаков.
Например, торцевая часть перьев стабилизатора боеприпаса выполнена наклонной в направлении от периферии к центру боеприпаса, а расстояние от меньшего основания торцевой части перьев до заднего торца стабилизатора бомбы превышает стрелу прогиба обтюратора, возникающего при воздействии на обтюратор газов, образуемых от срабатывания пирозаряда контейнера. Выполнение приведенных конструктивных элементов позволит исключить возможность разрушения перьев стабилизатора при отделении боеприпаса, повысить надежность его действия. Данное условие особенно важно для боеприпасов, имеющих на своей хвостовой части узлы и элементы, необходимые для их дальнейшего функционирования.
Обтюрирующий элемент узла крепления может быть выполнен в виде войлочного кольца с наружным диаметром в заневоленном состоянии, равным внутреннему диаметру ствола контейнера. Данное условие исключает возможность преждевременного стравливания образуемых от срабатывания пирозаряда контейнера газов и способствует оптимальному выбросу боеприпаса из контейнера и дальнейшему отделению его от носителя. Кроме того, достигается унификация применяемых из контейнера боеприпасов различного назначения и с различным конструктивным оформлением хвостовой части, боеприпасы могут как содержать в своей хвостовой части какие-либо необходимые для дальнейшего их функционирования механизмы и устройства, так и не иметь их.
Таким образом, совокупность всех приведенных признаков позволит обеспечить принудительное и безопасное для носителя отделение боеприпасов из стволов контейнера. При этом может производиться как одиночное, так и залповое или серийно-залповое бомбометание. Одновременно обеспечивается унификация применяемых из контейнера авиационных боеприпасов различного назначения и с различным конструктивным оформлением хвостовой части, повышается надежность функционирования боеприпасов, надежность и безопасность их транспортирования в составе носителя и при их отделении от него.
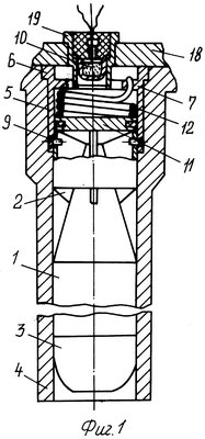
На фиг.1 представлен авиационный боеприпас в виде авиабомбы, размещенной в стволе контейнера; на фиг.2 – ствол контейнера после выхода из него авиабомбы; на фиг.3 – внутренний кольцевой выступ втулки с отверстиями под гибкую связь; на фиг.4 – узел стыковки обтюратора со стабилизатором авиабомбы при воздействии на обтюратор нагрузки, обеспечивающей отделение авиабомбы.
Авиационный боеприпас, применяемый из контейнера и выполненный в виде авиабомбы (см. фиг.1-4), содержит корпус 1 со стабилизатором 2, взрывательное устройство 3 и узел крепления авиабомбы в контейнере 4, выполненный в виде втулки 5, имеющей на заднем торце наружный кольцевой выступ 6 и внутренний кольцевой выступ 7 с отверстиями 8. Втулка 5 зафиксирована на стабилизаторе 2 с помощью калиброванных чек, выполненных, например, в виде винтов 9, срезаемых при срабатывании пирозаряда 10 контейнера 4. Внутри втулки 5 размещен обтюратор 11, скрепленный с втулкой 5 через отверстия 8 гибкой связью, выполненной, например, в виде тросика 12. Длина тросика 12 от места 13 его крепления на диске обтюратора 11 до отверстий 8 на выступе 7, через которые продет тросик 12, меньше рабочей длины ствола контейнера 4. Место 13 крепления тросика 12 на диске обтюратора 11 смещено от геометрического центра 14 диска обтюратора 11. Отверстия 8 на выступе 7 втулки 5 расположены от его геометрического центра 15 на расстоянии, превышающем радиус пирозаряда 10 контейнера 4. Тросик 12 уложен под выступом 7 втулки 5 спиралью.
Предлагаемый в настоящей заявке конструктивный вариант стабилизатора 2 предусматривает выполнение торцевой части его перьев 16 наклонной в направлении от периферии к центру авиабомбы (см. фиг.4), причем расстояние от меньшего основания торцевой части перьев 16 до заднего торца 17 стабилизатора 2 превышает стрелу прогиба обтюратора 11. Это позволит исключить возможность разрушения перьев 16 стабилизатора 2 при отделении авиабомбы от носителя.
Авиабомба вкладывается в ствол контейнера 4 и наружным выступом 6 втулки 5 удерживается в стволе. Стволы контейнера 4 с вложенными в них авиабомбами закрываются сверху крышкой 18, у которой по центральной продольной оси каждого из стволов размещается втулка 19 с пирозарядом 10, воспламеняемым пиропатроном 20. В момент сброса авиабомбы из контейнера 4 на пиропатрон 20 подается импульс, от которого задействуется пирозаряд 10. Давление образовавшихся от срабатывания пирозаряда 10 газов воздействует на обтюратор 11, который, в свою очередь, упираясь в задний торец 17 стабилизатора 11, толкает авиабомбу вниз по стволу контейнера 4. После срезания калиброванных винтов 9 авиабомба с заданной скоростью перемещается по стволу контейнера 4 и отделяется от носителя. При этом втулка 5 за счет наличия выступа 6 и обтюратор 11, связанный с втулкой 5 тросиком 12, удерживаются в стволе контейнера 4. Так как место 13 крепления тросика 12 на диске обтюратора 11 смещено от геометрического центра 14 диска, при натяжении тросика 12 создается опрокидывающий момент, за счет которого обтюратор 11 поворачивается, образуя зазор между внутренней стенкой ствола контейнера 4 и соприкасавшейся с этой стенкой при движении авиабомбы поверхностью войлочного кольца 21 обтюратора 11. В образовавшийся зазор стравливаются газы, давление которых резко падает. Этим исключается возможность разрыва тросика 12 при его натяжении и соударение обтюратора с контейнером 4 и стенками отсека носителя.
Совокупность признаков независимого пункта формулы изобретения позволит обеспечить принудительное и безопасное для носителя отделение боеприпасов из стволов контейнера. При этом может производиться как одиночное, так и залповое или серийно-залповое бомбометание. Одновременно обеспечивается унификация применяемых из контейнера боеприпасов различного назначения и с различным конструктивным оформлением хвостовой части, повышается надежность функционирования, надежность и безопасность транспортирования боеприпасов в составе носителя и при отделении от него.
В то же время в отдельных конкретных случаях конструкция боеприпасов может быть выполнена с использованием указанных в формуле изобретения зависимых признаков. Это позволит при изготовлении боеприпасов подобрать работоспособные легковыполнимые конструктивные элементы, повышающие надежность и безопасность применяемых боеприпасов.
Формула изобретения
1. Авиационный боеприпас, отделяемый от контейнера, содержащий корпус со стабилизатором, взрывательное устройство и узел его крепления в контейнере, содержащем ствол и пирозаряд, отличающийся тем, что узел крепления выполнен в виде зафиксированной на стабилизаторе втулки, имеющей на заднем торце наружный кольцевой выступ и внутренний кольцевой выступ с отверстиями, и обтюратора, установленного внутри втулки и скрепленного с ней через отверстия внутреннего кольцевого выступа гибкой связью, длина которой между местами ее крепления на втулке и диске обтюратора меньше рабочей длины ствола контейнера, при этом место крепления гибкой связи в диске обтюратора смещено от геометрического центра диска, отверстия в кольцевом выступе расположены от его геометрического центра на расстоянии, превышающем радиус пирозаряда контейнера, а гибкая связь уложена спиралью под внутренним кольцевым выступом втулки.
2. Авиационный боеприпас по п.1, отличающийся тем, что торцевая часть перьев стабилизатора выполнена наклонной в направлении от периферии к центру боеприпаса, а расстояние от меньшего основания торцевой части перьев до заднего торца стабилизатора боеприпаса превышает стрелу прогиба обтюратора.
3. Авиационный боеприпас по п.1 или 2, отличающийся тем, что обтюрирующий элемент обтюратора выполнен в виде войлочного кольца с наружным диаметром в заневоленном состоянии, равным внутреннему диаметру ствола контейнера.
РИСУНКИ
|
|