|
|
(21), (22) Заявка: 2005130800/02, 04.10.2005
(24) Дата начала отсчета срока действия патента:
04.10.2005
(46) Опубликовано: 20.06.2007
(56) Список документов, цитированных в отчете о поиске:
Зарубежное военное обозрение. – М.: Воениздат, 1981, №8, с.36-37. RU 2074361 C1, 27.02.1997. RU 2082930 C1, 27.06.1997. US 2001039897 A, 15.11.2001. FR 2657686 A1, 02.08.1991. DE 3808804 A1, 22.08.1991.
Адрес для переписки:
300001, г.Тула, Щегловская засека, ГУП “Конструкторское бюро приборостроения”
|
(72) Автор(ы):
Абрамов Юрий Борисович (RU), Голомидов Борис Александрович (RU), Замарахин Василий Анатольевич (RU), Иванов Сергей Николаевич (RU), Кириллов Юрий Николаевич (RU), Степаничев Игорь Вениаминович (RU)
(73) Патентообладатель(и):
Государственное унитарное предприятие “Конструкторское бюро приборостроения” (RU)
|
(54) СПОСОБ СТРЕЛЬБЫ ОПЕРЕННОЙ ГРАНАТОЙ И РУЧНОЙ ГРАНАТОМЕТ
(57) Реферат:
Группа изобретений относится к области военной техники, а именно к оружию для стрельбы, из которого используются гранаты (снаряды), полет которых стабилизирован на траектории хвостовым оперением. Сущность изобретений заключается в том, что при стрельбе оперенной гранатой, ускоряемой вышибным двигателем в стволе гранатомета и реактивным двигателем на траектории, ускорение гранаты на траектории производят силой, равной аэродинамическому сопротивлению воздуха ее полету при отсутствии ветра, и заканчивают его на дальности, равной или несколько большей дальности прицельной стрельбы. Конструктивное выполнение гранатомета обеспечивает реализацию способа стрельбы. Реализация группы изобретений позволяет обеспечить высокую точность стрельбы из простого и дешевого гранатомета, в том числе одноразового применения, за счет придания гранате способности автоматически компенсировать влияние ветра на ее полет и увеличить прицельную дальность стрельбы без увеличения дульной скорости гранаты. 2 н.п. ф-лы, 4 ил.
Изобретение относится к области военной техники, а именно к оружию для стрельбы, из которого используются гранаты (снаряды), полет которых стабилизирован на траектории хвостовым оперением.
Основную долю такого оружия составляют ручные противотанковые гранатометы, от которых требуется возможность их эффективного применения любым пехотинцем и высокие дальность и точность стрельбы при простоте подготовки исходных данных для нее, простоте эксплуатации, низкой цене, возможно меньших демаскирующих признаках на огневой позиции и возможности стрельбы из помещений ограниченного объема.
По мнению авторов и заявителя настоящего предлагаемого изобретения известные гранатометы этим требованиям в полной мере не удовлетворяют, в том числе из-за отсутствия в них точного учета влияния силы и направления ветра на полет гранаты, т.к. эти параметры ветра определяются на огневой позиции и там же вводятся в прицел оружия в виде соответствующего смещения точки прицеливания относительно центра цели. Однако на пересеченной местности, в горах и населенных пунктах (в местах наиболее вероятных боевых столкновений в современной войне) сила и направление ветра вдоль траектории полета гранаты изменяются, как правило, в широких пределах, поэтому учет ветра по его параметрам на огневой позиции приведет к неизбежному промаху по цели только из-за их несоответствия параметрам ветра вдоль всей траектории полета гранаты.
В известных гранатометах некоторое снижение влияния ветра в указанных условиях обеспечивают в основном увеличением скорости гранаты, т.е. уменьшением времени действия ветра на ее полет к цели.
Это достигается двумя путями, каждый из которых имеет свои достоинства и недостатки.
Например, в известном американском противотанковом гранатомете SMAW [Jane’s Defense Weekly, 21 May 2003, v.39, No.20, р.29; Jane’s Infantry Weapons, 2001-2002, pp.178-179; International Defense Review, 1995, No.28, pp.13-14], выбранном в качестве аналога, высокая дульная скорость гранате (средняя скорость 220 м/с на дальности максимальной стрельбы 500 м) сообщается скрепленным с ней мощным реактивным двигателем на достаточно большой длине ствола (1378 мм). Масса гранатомета в зависимости от типа гранаты составляет 13,45 и 13,9 кг и для удобства его переноски он разделен на две примерно равные по длине части: многоразовое ружье и одноразовый выстрел, что усложняет его эксплуатацию и снижает точность стрельбы.
В ружье гранатомета применяется пристрелочная винтовка калибра 9 мм с трассирующей пулей, с помощью которой определяют исходные данные для стрельбы (точку прицеливания) собственно гранатометным выстрелом. Однако пуля, стабилизированная вращением, не может полностью учесть поправку на ветер для оперенной гранаты, кроме того, стрельба пулей и гранатой производится последовательно, а сила и направление ветра вдоль траектории, как правило, изменяются во времени.
Выстрел из гранатомета из-за большой массы порохового заряда реактивного двигателя сопровождается большими начальными возмущениями, сильными вспышкой и шумом, большим облаком пыли и дыма на огневой позиции. По этой же причине гранатомет невозможно применять из помещений малого объема, а скорость его гранаты имеет большие разбросы, что снижает точность стрельбы. В силу отмеченного, гранатомет, имея высокую скорость гранаты, позволяет производить достаточно эффективную стрельбу по танку на дальность только до 250 м.
В другом известном германском противотанковом гранатомете Panzerfaust-3 [Jane’s Defense Weekly, 1996, v.26, No.2, р.46; Soldat und Technik, 1996, No.5, s.383-384; Military Technology, 1996, No.9, p.28] и его модификациях, выбранном в качестве прототипа, скорость гранате сообщается вышибным двигателем в стволе (163 м/с) и дополнительно реактивным двигателем на начальном участке траектории (до 243 м/с), поэтому суммарный разброс скорости у его гранаты будет не лучше, чем у аналога.
Гранатомет имеет длину 1200 мм, массу 12,9 кг и состоит из одноразового выстрела и устанавливаемого на него многоразового ружья, включающего пусковое устройство, рукоятку для удержания, плечевой упор и оптический прицел. Он позволяет вести эффективную стрельбу в условиях полигона, где параметры ветра относительно стабильны во времени и пространстве, по неподвижному танку на дальность до 400 м и по подвижному – на дальности до 300 м. Одна из модификаций гранатомета (ружья) имеет компьютеризированный прицел, увеличивающий дальность эффективной стрельбы по танку в условиях полигона до 600 м, однако стоимость такого прицела равна стоимости нескольких выстрелов, он достаточно громоздок и, по указанным ранее причинам, малоэффективен с точки зрения учета ветра на пересеченной местности, в горах и населенных пунктах.
Выстрел гранатомета состоит из ствола, гранаты с реактивным двигателем, на котором смонтировано стабилизирующее полет гранаты оперение, противомассы и небольшого порохового заряда между ними, что позволило, по сравнению с аналогом, существенно снизить начальные возмущения и уменьшить вспышку и шум при стрельбе, а также обеспечить стрельбу из помещений ограниченного объема. Однако демаскирующий признак в виде большого облака из мелких частей противомассы на огневой позиции при выстреле у него сохраняется.
Реактивный двигатель гранаты имеет короткое время работы и замедлитель его включения на траектории после вылета из ствола гранатомета.
Время замедления назначено из условия обеспечения с одной стороны безопасности гранатометчика, а с другой – полного демпфирования стабилизирующим оперением начальных возмущений на гранате.
Время работы реактивного двигателя и его тяга назначены из условия допустимого ухода под действием реактивной тяги гранаты на боковой ветер, вызванного тем, что граната, стабилизированная оперением, после вылета из ствола располагается своей осью по линии равнодействующей векторов дульной скорости и ветра [«Теория полета неуправляемых ракет», Ф.Р.Гантмахер, Л.М.Левин. М.: Государственное издательство физико-математической литературы, 1959 г., стр.254-276].
Из описания аналога и прототипа видно, что для их эксплуатации необходима хорошая подготовка гранатометчика, они имеют большую длину, достаточно большой разброс дульной скорости гранаты, не позволяют производить точный учет влияния ветра на точность стрельбы в горах, населенных пунктах и на пересеченной местности, имеют высокую стоимость и их ружье обременяет гранатометчиков после стрельбы, не позволяя использовать их как полноценных автоматчиков.
Технической задачей настоящего предлагаемого изобретения является устранение недостатков известных ручных противотанковых гранатометов, а именно обеспечение высокой точности стрельбы из простого и дешевого гранатомета, в том числе одноразового применения, за счет придания гранате способности автоматически компенсировать влияние ветра на ее полет и увеличение прицельной дальности стрельбы без увеличения дульной скорости гранаты.
Решение поставленной технической задачи достигается тем, что:
– в способе стрельбы оперенной гранатой, включающем ускорение гранаты вышибным двигателем в стволе гранатомета и реактивным двигателем на траектории, ускорение гранаты на траектории производят силой, равной аэродинамическому сопротивлению воздуха ее полету при отсутствии ветра, и заканчивают его на дальности, равной или несколько большей дальности прицельной стрельбы;
– в гранатомете, содержащем ствол-контейнер с прицельным и пусковым механизмами, гранату с реактивным двигателем и стабилизирующим оперением, вышибной двигатель, реактивный двигатель имеет тягу, равную силе аэродинамического сопротивления воздуха полету оперенной гранаты при отсутствии ветра, определенную расчетным или экспериментальным путем, и время работы, равное или несколько большее времени полета оперенной гранаты на дальность прицельной стрельбы гранатомета.
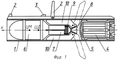
Суть изобретения поясняется графическими материалами, где на фиг.1 представлен гранатомет в разрезе, а на фиг.2, 3 и 4 показано движение его оперенной гранаты при действии бокового, встречного и попутного ветра, соответственно.
Гранатомет (фиг.1) состоит из:
– ствола-контейнера 1, на котором закреплены прицельный 2 и пусковой 3 механизмы;
– вышибного порохового двигателя 4, в переднем дне которого имеется осевое отверстие 5 для истечения пороховых газов в полость ствола-контейнера 1 при выстреле;
– гранаты 6, которая в свою очередь включает:
– жестко скрепленный с гранатой и соосный с ней реактивный двигатель 7 с реактивным соплом 8, расположенным соосно гранате и осевому отверстию 5 вышибного двигателя 4, и пороховым зарядом 9 в виде шашки, бронированной со всех сторон кроме торца, обращенного к реактивному соплу, и вклеенной в корпус реактивного двигателя;
– стабилизирующее гранату на траектории оперение, образованное пластинами 10 (штрих-пунктирными линиями они показаны в откинутом положении – в положении, которое займут после вылета гранаты из ствола-контейнера), шарнирно закрепленными вокруг реактивного сопла 8. На гранате показаны взаимное расположение ее центра масс (ЦМ) и центра давления (ЦД) при откинутых пластинах 10.
Следует отметить:
– если граната в дульный момент может получить значительные начальные возмущения, то в реактивном сопле целесообразно разместить замедлитель, который включит реактивный двигатель 7 (воспламенит его пороховой заряд 9) после демпфирования начальных возмущений пластинами 10 оперения;
– если может иметь место смещение центра масс (ЦМ) гранаты и(или) вектора тяги реактивного сопла 8 с линии осевой симметрии гранаты (продольной ее оси), то пластины 10 целесообразно установить под углом к оси гранаты, обеспечивающим ее проворот по крену на траектории набегающим потоком воздуха со скоростью 7…12 об/с, что позволяет осреднить отрицательное влияние указанных смещений на точность полета гранаты и в то же время не придает ей сколько-нибудь заметной гироскопической устойчивости.
Работа гранатомета состоит в следующем.
Гранатомет через прицел 2 наводится на цель без учета силы и направления ветра и, нажатием на пусковой механизм 3, производится выстрел, при этом:
– срабатывает вышибной двигатель 4 и его пороховые газы, истекающие через осевое отверстие 5, ускоряют гранату 6 на длине ствола-контейнера 1 до необходимой дульной скорости (Vд) и, проникая через реактивное сопло 8 в полость реактивного двигателя 7, воспламеняют пороховой заряд 9 с его открытого торца, а пороховые газы, истекающие в атмосферу, удерживают вышибной двигатель 4 от больших перемещений по стволу-контейнеру 1 в процессе выстрела. Одновременно пороховые газы вышибного двигателя 4 отсоединяют его и гранату друг от друга и ствола-контейнера (эти устройства на фиг.1 не показаны);
– после вылета из ствола-контейнера 1 полет гранаты 6 к цели сопровождается реактивной тягой (Rт), создаваемой соплом 8 реактивного двигателя 7, и она взаимодействует с атмосферой в зависимости от силы и направления ветра (вектор W) в соответствии с фиг.2, 3 и 4, а вышибной двигатель 4 вылетает из ствола-контейнера 1 вперед или назад в зависимости от начальной температуры порохового заряда вышибного двигателя.
Реактивная тяга Rт выбрана равной силе аэродинамического сопротивления воздуха (Ra) полету гранаты при полном отсутствии ветра по следующим соображениям:
– сила Rт единственная постоянная сила из всех сил, действующих на полет гранаты;
– сила Ra с высокой точностью может быть определена расчетным методом или продувкой в аэродинамической трубе и также с высокой точностью обеспечена технологией изготовления гранаты;
– между Rт и Ra существует твердая зависимость, согласно которой они практически одинаково увеличиваются и уменьшаются соответственно с увеличением и уменьшением температуры воздуха и матчасти, в том числе пороховых зарядов.
На фиг.2 показаны положение оси оперенной гранаты и силы, действующие на гранату на траектории полета, при наличии бокового ветра W. Согласно [“Теория полета неуправляемых ракет”, Ф.Р.Гантмахер, Л.М.Левин. М.: Государственное издательство физико-математической литературы, 1959 г., стр.254-276] скорость гранаты относительно воздуха Vr будет составлять:

Из фиг.2 следует, что Vr=Vcos +Wsin ,
где – угол между направлением движения центра масс гранаты (вектором скорости) и продольной осью гранаты (вектор скорости гранаты относительно воздуха).
Т.к. начальная скорость гранат современных гранатометов V 100 м/с, а при скорости ветра W 10 м/с прицельная стрельба, как правило, не ведется, то:
 W/V 0,1 рад 5,7°;
Vr V+W V(1+ 2).
Оперенная граната без реактивного двигателя будет:
– тормозиться аэродинамической силой
Rr=Cx Vr2 d2/8=kVr 2 kV2(1+ 2)2,
где k=Сх d2/8 – const;
Сх – коэффициент лобового сопротивления гранаты;
– плотность воздуха;
d – калибр гранаты;
– сноситься в направлении ветра силой, равной Rw=Rrsin или
Rw k V2(1+ 2)2.
Оперенная граната с реактивным двигателем, создающим тягу Rт=Ra, будет:
– тормозиться аэродинамической силой Rr=Rr-Ra, где Ra=kV2,
Rr=kVr2-kV2 kV2(2 2+ 4);
– сноситься в направлении ветра силой, равной Rw= Rrsin или
Rw k V2(2 2+ 4).
Сравнивая силу сноса под действием бокового ветра для оперенной гранаты, имеющей реактивную тягу, равную аэродинамическому сопротивлению воздуха полету оперенной гранаты при отсутствии ветра, с оперенной гранатой без реактивного двигателя получим:
Rw/Rw=(2 2+ 4)/(1+ 2)2.
Для =0,1 будем иметь:
Rw/Rw=(2·0,01+0,0001)/1,012=0,0197.
Таким образом, на активном участке траектории снос оперенной гранаты, имеющей реактивную тягу, равную аэродинамическому сопротивлению воздуха полету оперенной гранаты при отсутствии ветра, при скорости бокового ветра (компонента вектора скорости ветра, направленная перпендикулярно к плоскости бросания) в 10% от начальной скорости гранаты будет составлять примерно 2% от бокового сноса оперенной гранаты без реактивного двигателя.
На фиг.3 и 4 показано взаимодействие оперенной гранаты с атмосферой воздуха при встречном и попутном ветре W соответственно.
Из фиг.3 следует, что
VrВ=Vcos +Wcos( – ) V+W(cos + sin ),
где – угол возвышения,
Vsin =Wsin( – ),
 (Wsin /V)/(1+Wcos /V),
RrB=kVrB 2 k(V2+W2(cos2 + sin2 + 2sin2 )+2VW(cos + sin )),
RrB=RrB-Ra=k(VrВ 2-V2) или
RrB k(W2(cos2 + sin2 + 2sin2 )+2VW(cos + sin )),
RrB/RrB (1+((W/V)2(cos2 + sin2 + 2sin2 )+2(W/V)(cos + sin ))-1)-1.
Из фиг.4 следует, что
VrП=Vcos -Wcos( + ) V-W(cos – sin ),
Vsin =Wsin( + ),
 (Wsin /V)/(1-Wcos /V),
RrП=kVrП 2 k(V2+W2(cos2 – sin2 +a2sin2 )-2VW(cos – sin )),
RrП=RrП-Ra=k(VrП 2-V2) или
RrП k(W2(cos2 – sin2 + 2sin2 )-2VW(cos – sin )),
RrП/RrП (1+((W/V)2(cos2 – sin2 +a2sin2 )-2(W/V)(cos – sin ))-l)-l.
Таким образом, на активном участке траектории оперенная граната, имеющая реактивную тягу, равную аэродинамическому сопротивлению воздуха полету оперенной гранаты при отсутствии ветра, при продольном ветре (компонента вектора скорости ветра, направленная в плоскости бросания) со скоростью в 10% от начальной скорости гранаты по сравнению с оперенной гранатой без реактивного двигателя тормозится аэродинамической силой:
– при встречном ветре:
– угле возвышения =0 и соответствующем ему угле =0 RrB=0,17RrB, т.е. практически в 6 раз меньше;
– угле возвышения =45° и соответствующем ему угле =0,066 (3,8°) RrB=0,14RrB, т.е. практически в 7 раз меньше;
– при попутном ветре:
– угле возвышения =0 и соответствующем ему угле =0 RrП=-0,23RrП, т.е. практически в 4 раза меньше;
– угле возвышения =45° и соответствующем ему угле =0,076 (4,4°) RrП=-0,15RrП, т.е. практически в 7 раз меньше.
Следовательно, оперенная граната, имеющая реактивную тягу, равную аэродинамическому сопротивлению воздуха полету оперенной гранаты при отсутствии ветра, по сравнению с оперенной гранатой без реактивного двигателя при одинаковых с ней углах возвышения при стрельбе и одинаковых встречном и попутном ветре будет иметь большую дальность полета и, соответственно, за счет меньшей кривизны траектории большую дальность прицельного выстрела.
При этом смещение точки попадания по вертикали для гранаты, имеющей реактивную тягу, равную аэродинамическому сопротивлению воздуха полету оперенной гранаты при отсутствии ветра, будет меньше, чем у гранаты без реактивного двигателя во всех условиях действия ветра.
Увеличивать время работы реактивного двигателя значительно сверх полетного времени гранаты на дальность прицельной стрельбы нецелесообразно по следующим соображениям:
– ошибки наведения по дальности и направлению при отсутствии прицела будут больше влияния ветра;
– при большем времени работы реактивного двигателя в нем необходимо будет использовать теплозащиту корпуса и дорогостоящие материалы для изготовления реактивного сопла, что экономически нецелесообразно.
В соответствии с настоящим предлагаемым изобретением авторы и заявитель к штатному гранатомету одноразового применения, имеющему вышибной пороховой двигатель и оперенную гранату с дульной скоростью 125 м/с, спроектировали реактивный двигатель, включающийся в стволе гранатомета. Испытания гранатомета показали, что при уменьшении при этом дульной скорости гранаты до 120 м/с дальность эффективной стрельбы при переменном по направлению и порывистом ветре силой 3…12 м/с и без внесения поправки на него в прицел возросла по цели типа «окно дома» со 150 до 250 м и по цели типа «танк» – с 300 до 550 м.
Формула изобретения
1. Способ стрельбы оперенной гранатой, включающий ускорение гранаты вышибным двигателем в стволе гранатомета и реактивным двигателем на траектории, отличающийся тем, что ускорение гранаты на траектории производят силой, равной аэродинамическому сопротивлению воздуха ее полету при отсутствии ветра, и заканчивают его на дальности, равной или несколько большей дальности прицельной стрельбы гранатомета.
2. Ручной гранатомет, содержащий ствол-контейнер с прицельным и пусковым механизмами, гранату с реактивным двигателем и стабилизирующим оперением, вышибной двигатель, отличающийся тем, что реактивный двигатель имеет тягу, равную силе аэродинамического сопротивления воздуха полету оперенной гранаты при отсутствии ветра, определенную расчетным или экспериментальным путем, и время работы, равное или несколько большее времени полета оперенной гранаты на дальность прицельной стрельбы гранатомета.
РИСУНКИ
|
|