|
(21), (22) Заявка: 2005116605/06, 31.05.2005
(24) Дата начала отсчета срока действия патента:
31.05.2005
(43) Дата публикации заявки: 10.12.2006
(46) Опубликовано: 20.06.2007
(56) Список документов, цитированных в отчете о поиске:
RU 2141617 C1, 20.11.1999. RU 2182302 С1, 10.05.2002. RU 2000535 С, 07.09.1993. RU 2141616 С1, 20.11.1999. RU 2211424 С2, 27.08.2003. DE 4111451 A1, 15.10.1992.
Адрес для переписки:
453118, Республика Башкортостан, г. Стерлитамак, пр. Октября, 2, Филиал УГНТУ в г. Стерлитамаке
|
(72) Автор(ы):
Иванов Сергей Петрович (RU), Бикбулатов Игорь Хуснутович (RU), Шулаев Николай Сергеевич (RU), Боев Евгений Владимирович (RU), Рыжаков Герман Геннадиевич (RU), Даминев Рустем Рифович (RU), Иванов Петр Леонтьевич (RU)
(73) Патентообладатель(и):
УФИМСКИЙ ГОСУДАРСТВЕННЫЙ НЕФТЯНОЙ ТЕХНИЧЕСКИЙ УНИВЕРСИТЕТ (RU)
|
(54) ОРОСИТЕЛЬ ГРАДИРНИ
(57) Реферат:
Изобретение может быть использовано в промышленных градирнях для охлаждения оборотной воды. Ороситель градирни выполнен в виде модуля из слоев полимерных сетчатых оболочек, в котором оболочки выполнены цилиндрическими, размещенными во всех слоях параллельно друг другу и сварены по торцам модуля между собой в местах соприкосновения. Модуль в своем объеме дополнительно содержит аналогичный малый модуль из слоев полимерных сетчатых оболочек, размещенных во всех слоях параллельно друг другу, ориентированных под углом 90° к полимерным сетчатым оболочкам содержащего их модуля. Малый модуль может быть жестко закреплен в объеме содержащего его модуля посредством сварки. Изобретение позволяет повысить эффективность тепломассообменного процесса. 1 з.п. ф-лы, 2 ил.
Изобретение относится к энергетике и химической промышленности и может быть использовано как составная часть тепломассообменного оборудования при непосредственном контакте между газом и жидкостью, в частности в промышленных градирнях для охлаждения оборотной воды.
Известен ороситель градирни в виде модуля из слоев параллельных друг другу перфорированных труб из термопластичного материала, сваренных по торцам модуля между собой в местах соприкосновения, причем концевые участки труб выполнены без перфорации, и поперечное сечение концевого участка трубы выполнено уширенным относительно поперечного сечения перфорированного участка трубы [патент РФ №2141616, МПК F28F 25/00. ОРОСИТЕЛЬ ГРАДИРНИ / Самойлов Г.А. и др; заявлено 11.11.1997; опубл. 20.11.1999; бюл. №32].
Недостатком данного оросителя градирни является возможность свободного проскока капельного потока воды внутри перфорированных труб, что не обеспечит должного взаимодействия его с потоком воздуха.
Наиболее близким техническим решением к предлагаемому изобретению (прототипом) является ороситель градирни в виде модуля из слоев полимерных ячеистых труб, в котором трубы выполнены цилиндрическими, размещенными во всех слоях параллельно друг другу и сварены по торцам модуля между собой в местах соприкосновения. Трубы в смежных слоях размещены в шахматном порядке относительно друг друга [патент РФ №2141617, МПК F28F 25/08. / Быковец В.П. и др.; заявлено 18.08.97; опубликовано 20.11.99. Бюл. №32].
Основным недостатком конструкции также является возможность свободного проскока капельного потока воды, без его контакта с оросителем, при установке модуля в градирне с вертикальным размещением полимерных ячеистых труб. Указанный недостаток приводит к невозможности контакта воздушного потока с потоком воды непосредственно на поверхности оросителя, т.е. не приводит к образованию пленки на его поверхности и в результате чего снижается эффективность тепломассообменного процесса.
Изобретение решает задачу повышения эффективности тепломассообменного процесса.
Указанная задача решается за счет того, что ороситель градирни выполнен в виде модуля из слоев полимерных сетчатых оболочек, в котором оболочки выполнены цилиндрическими, размещенными во всех слоях параллельно друг другу и сварены по торцам модуля между собой в местах соприкосновения, причем модуль в своем объеме дополнительно содержит аналогичный малый модуль из слоев полимерных сетчатых оболочек, размещенных во всех слоях параллельно друг другу, ориентированных под углом 90° к полимерным сетчатым оболочкам содержащего их модуля. Также малый модуль может быть жестко закреплен в объеме содержащего его модуля посредством сварки.
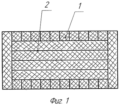
На фиг.1 показан продольный разрез оросителя градирни.
На фиг.2 показан поперечный разрез оросителя градирни.
Ороситель градирни выполнен в виде модуля из полимерных сетчатых оболочек 1. В своем объеме он содержит аналогичный малый модуль 2, который тоже выполнен из полимерных сетчатых оболочек, ориентированных под углом 90° к полимерным сетчатым оболочкам содержащего их модуля.
Ороситель градирни работает следующим образом.
Оборотная вода или другая жидкая среда подается на ороситель градирни и под действием массовых сил проходит сквозь него, стекая тонкой струйкой по полимерным ячеистым трубам. Малый модуль препятствует свободному проскоку капельного потока в трубном пространстве оросителя, дополнительно его турбулизирует, способствует увеличению времени контакта с потоком воздуха. В свою очередь сетчатые оболочки, обрамляющие малый модуль, благодаря своей высокой демпфирующей способности придают жесткость всей конструкции.
К основным преимуществам предлагаемой конструкции оросителя градирни относятся следующие:
– эффективность конструкции за счет исключения возможности свободного проскока капельного потока в трубном пространстве, без контакта с поверхностью оросителя;
– прочность конструкции благодаря высокой демпфирующей способности сетчатых оболочек, обрамляющих малый модуль.
Изобретение соответствует критерию “промышленная применимость” и может быть использовано в энергетике и химической промышленности как составная часть тепломассообменного оборудования при непосредственном контакте между газом и жидкостью, в частности в промышленных градирнях для охлаждения оборотной воды.
Формула изобретения
1. Ороситель градирни в виде модуля из слоев полимерных сетчатых оболочек, в котором оболочки выполнены цилиндрическими, размещенными во всех слоях параллельно друг другу и сварены по торцам модуля между собой в местах соприкосновения, отличающийся тем, что модуль в своем объеме дополнительно содержит аналогичный малый модуль из слоев полимерных сетчатых оболочек, размещенных во всех слоях параллельно друг другу, ориентированных под углом 90° к полимерным сетчатым оболочкам содержащего их модуля.
2. Ороситель градирни по п.1, отличающийся тем, что малый модуль может быть жестко закреплен в объеме содержащего его модуля посредством сварки.
РИСУНКИ
MM4A – Досрочное прекращение действия патента СССР или патента Российской Федерации на изобретение из-за неуплаты в установленный срок пошлины за поддержание патента в силе
Дата прекращения действия патента: 01.06.2008
Извещение опубликовано: 20.06.2010 БИ: 17/2010
|