|
|
(21), (22) Заявка: 2004126223/06, 29.01.2003
(24) Дата начала отсчета срока действия патента:
29.01.2003
(30) Конвенционный приоритет:
28.01.2003 (пп.1-14) US 10/352,441
(43) Дата публикации заявки: 27.04.2005
(46) Опубликовано: 20.06.2007
(56) Список документов, цитированных в отчете о поиске:
RU 2148761 C1, 10.05.2000. RU 2144649 C1, 20.01.2000. SU 1627097 A3, 07.02.1991. US 4970867 A, 20.11.1990. US 6016665 А, 25.01.2000.
(85) Дата перевода заявки PCT на национальную фазу:
30.08.2004
(86) Заявка PCT:
US 03/02497 (29.01.2003)
(87) Публикация PCT:
WO 03/064947 (07.08.2003)
Адрес для переписки:
129010, Москва, ул. Б.Спасская, 25, стр.3, ООО “Юридическая фирма Городисский и Партнеры”, пат.пов. С.А.Дорофееву
|
(72) Автор(ы):
ФЭННИНГ Роберт А. (US), ДЭВИС Кинис Э. (US), КАУЧЕР Джеймс Э. (US)
(73) Патентообладатель(и):
ЭКСОНМОБИЛ АПСТРИМ РИСЕРЧ КОМПАНИ (US)
|
(54) СПОСОБ И УСТАНОВКА ДЛЯ СЖИЖЕНИЯ ПРИРОДНОГО ГАЗА
(57) Реферат:
Способ для сжижения природного газа в установке, содержащей два или более зависимых агрегата из последовательных элементов, включает прохождение подаваемого газа через, по меньшей мере, один из зависимых агрегатов из последовательных элементов для первичного охлаждения подаваемого газа посредством теплообмена подаваемого газа с первым холодильным агентом и для дальнейшего охлаждения подаваемого газа до криогенной температуры посредством теплообмена первично охлажденного подаваемого газа со вторым холодильным агентом. Первый холодильный агент подают в зависимые агрегаты из последовательных элементов из общей первой секции сжатия, а второй холодильный агент подают в зависимые агрегаты из последовательных элементов из общей второй секции сжатия. Использование изобретения позволит снизить стоимость производства сжиженного природного газа. 2 н. и 12 з.п. ф-лы, 2 ил.
Настоящее изобретение относится к способу и установке для сжижения природного газа. В одном аспекте изобретение относится к такому способу и установке, в которых общая секция(и) сжатия используется(ются) для сжатия и рециркуляции холодильных агентов, используемых в множестве отдельных агрегатов из последовательных элементов, которые, в свою очередь, используются для сжижения природного газа.
В последующем описании применяются различные термины. Для удобства здесь предусмотрен Словарь терминов, непосредственно перед формулой изобретения.
Большие объемы природного газа (т.е. в основном метана) размещены в удаленных районах мира. Этот газ имеет значительную ценность, если его можно экономично транспортировать на рынок сбыта. Там, где запасы газа размещены в приемлемой близости к рынку, и расстояние между двумя местоположениями обеспечивает возможность, газ обычно производится и затем транспортируется на рынок через погруженные и/или размещенные на земле трубопроводы. Однако, когда газ производится в местах, где прокладка трубопровода невозможна, или ее стоимость экономически чрезмерно высока, другие технологии должны быть использованы для доставки этого газа на рынок.
Обычно используемые технологии для транспортирования газа без трубопроводов включают сжижение газа на участке добычи или вблизи него и затем транспортирование сжиженного природного газа на рынок в специально сконструированных резервуарах для хранения на борту транспортных судов. Природный газ охлаждается и конденсируется до жидкого состояния, чтобы получить сжиженный природный газ по существу при атмосферном давлении и температурах примерно -162°С (-260°F) («СПГ»), посредством этого значительно увеличивая количество газа, которое может храниться в особом резервуаре для хранения. Когда транспортное судно с СПГ достигает места его назначения, СПГ обычно отгружается в другие резервуары для хранения, из которых СПГ может затем повторно испаряться, если требуется, и транспортироваться как газ к конечным пользователям через трубопроводы или тому подобное.
Как будет ясно специалистам в этой области техники, установки, используемые для сжижения природного газа, обычно смонтированы в виде стадий, так как подача подаваемого газа, т.е. природного газа, и количество газа, на продажу которого заключены контракты, увеличиваются. Каждая стадия обычно состоит из отдельного автономного блока, обычно называемого агрегатом из последовательных элементов, который, в свою очередь, содержит все отдельные элементы, необходимые для сжижения потока подаваемого газа в СПГ и направления его на хранение. Как использовано здесь и далее, термин «автономный агрегат из последовательных элементов» означает агрегат, содержащий все отдельные элементы, необходимые для сжижения потока подаваемого газа в СПГ и направления его на хранение. Так как подача подаваемого газа на установку превышает производительность одного автономного агрегата из последовательных элементов, дополнительные автономные агрегаты из последовательных элементов устанавливают на установке, как требуется, чтобы переработать увеличенный выпуск СПГ.
В обычных установках СПГ каждый автономный агрегат из последовательных элементов включает по меньшей мере криогенную теплообменную установку для охлаждения газа до криогенной температуры, сепаратор (т.е. «резервуар для мгновенного испарения»), теплообменник «для отводимого газа» и компрессор для топливного газа. Как использовано здесь, «криогенная температура» включает любую температуру примерно -40°С (-40°F) и ниже. СПГ обычно хранится по существу при атмосферном давлении и температурах примерно -162°С (-260°F). Для того, чтобы уменьшить давление подаваемого газа в продолжение сжижения, он обычно проходит из криогенной теплообменной установки через дроссельный вентиль или гидравлическую турбину в автономный агрегат из последовательных элементов (т.е. «мгновенно испаряется») перед тем, как он проходит в сепаратор (т.е. резервуар для мгновенного испарения). Так как давление охлажденного подаваемого газа понижается для производства СПГ, часть газа мгновенно испаряется и становится паром. СПГ удаляется из резервуара для мгновенного испарения и прокачивается из его соответствующего автономного агрегата из последовательных элементов в резервуар для хранения для дальнейшей переработки.
Несколько более подробно, каждый автономный агрегат из последовательных элементов содержит криогенную теплообменную установку, в которой, в свою очередь, используются два или более контура холодильных агентов, действующих последовательно для охлаждения подаваемого газа до криогенной температуры, необходимой для сжижения. Обычно по первому контуру проходит первый холодильный агент (например, пропан), который сжимается посредством первой секции сжатия в автономном агрегате из последовательных элементов и циркулирует через ряд первичных теплообменников для теплообмена с подаваемым газом и его первоначального охлаждения. По второму контуру проходит второй холодильный агент, например смешанный холодильный агент «СХ» (например, азот, метан, этан и пропан), который сжимается посредством второй секции сжатия в автономном агрегате из последовательных элементов и циркулирует сначала через ряд теплообменников для пропана и затем через основной криогенный теплообменник для того, чтобы завершить охлаждение подаваемого газа для производства СПГ. В ряде случаев криогенная теплообменная установка использует каскадную холодильную установку, установку с двойным смешанным холодильным агентом или какую-нибудь другую холодильную установку, которая известна специалистам в этой области техники.
В ряде случаев экономические показатели установки СПГ могут быть улучшены посредством привода компрессоров как первой, так и второй секции сжатия посредством одного или более общих валов. Однако при этом не преодолеваются все недостатки, связанные с каждым автономным агрегатом из последовательных элементов в установке СПГ, для которых требуются собственные предназначенные секции сжатия. Например, полный автономный агрегат из последовательных элементов, включающий две или более секции сжатия, должен быть смонтирован на установке каждый раз, когда становится желательным увеличить производительность установки СПГ по выпуску продукции, что может значительно увеличить капитальные затраты и эксплуатационные расходы установки. Далее, если любой компрессор холодильного агента или его привод (например, газовая турбина) выходит из строя в конкретном автономном агрегате из последовательных элементов, поврежденный автономный агрегат из последовательных элементов должен быть отключен до тех пор, пока вышедший из строя компрессор и/или привод смогут быть отремонтированы. Производство СПГ на установке значительно понижается в течение простоя. Более того, в любое время автономный агрегат из последовательных элементов отключают в связи с выходом из строя секции сжатия, температура в основном криогенном теплообменнике этого автономного агрегата из последовательных элементов будет значительно повышаться, вследствие этого потребуется «повторное охлаждение» в основном теплообменнике до криогенной температуры перед тем, как агрегат из последовательных элементов может быть пущен обратно в производство.
Задачей настоящего изобретения является улучшение способа и установки для сжижения природного газа, чтобы понизить стоимость производства СПГ настолько, насколько это возможно, чтобы можно было продолжать поставлять СПГ на рынок по конкурентоспособной цене.
В одном варианте настоящее изобретение относится к установке для сжижения природного газа, которая содержит два или более зависимых агрегата из последовательных элементов, причем каждый из зависимых агрегатов содержит контур первого холодильного агента для первичного охлаждения подаваемого газа и контур второго холодильного агента для охлаждения первично охлажденного подаваемого газа до криогенной температуры, по меньшей мере одну общую первую секцию сжатия для циркуляции первого холодильного агента через контур первого холодильного агента каждого из зависимых агрегатов из последовательных элементов и по меньшей мере одну общую вторую секцию сжатия для циркуляции второго холодильного агента через контур второго холодильного агента каждого из зависимых агрегатов из последовательных элементов.
Установка для сжижения природного газа дополнительно содержит средство для понижения давления подаваемого газа при криогенной температуре до по существу атмосферного давления для производства сжиженного природного газа.
Каждый из зависимых агрегатов из последовательных элементов установки для сжижения природного газа содержит дополнительно впуск для подаваемого газа.
В установке для сжижения природного газа согласно изобретению первый холодильный агент представляет собой пропан или смешанный холодильный агент, содержащий по меньшей мере один холодильный агент, выбранный из группы, состоящей из азота, метана, этана и пропана, и второй холодильный агент представляет собой смешанный холодильный агент, содержащий по меньшей мере один холодильный агент, выбранный из группы, состоящей из азота, метана, этана, этилена и пропана.
Второй холодильный агент может представлять собой по существу холодильный агент из чистого компонента, выбранный из группы, состоящей из азота, метана, этана, этилена и пропана.
Предпочтительно в установке для сжижения природного газа по меньшей мере одна общая первая секция сжатия содержит две или более отдельных секций сжатия и систему разветвленных трубопроводов для соединения каждой из отдельных секций сжатия, посредством чего каждая из отдельных секций сжатия обеспечивает циркуляцию первого холодильного агента в любом из контуров первого холодильного агента в зависимых агрегатах из последовательных элементов, и по меньшей мере одна общая вторая секция сжатия содержит две или более отдельных секций сжатия и систему разветвленных трубопроводов для соединения каждой из отдельных секций сжатия, посредством чего каждая из отдельных секций сжатия обеспечивает циркуляцию второго холодильного агента в любом из контуров второго холодильного агента в зависимых агрегатах из последовательных элементов.
При этом первая секция сжатия содержит по меньшей мере один первый компрессор, вторая секция сжатия содержит по меньшей мере один второй компрессор, причем по меньшей мере один первый компрессор и по меньшей мере один второй компрессор приводятся посредством общего вала.
В другом варианте настоящее изобретение относится к способу для сжижения природного газа в установке, содержащей два или более зависимых агрегата из последовательных элементов, включающему прохождение подаваемого газа через по меньшей мере один из зависимых агрегатов из последовательных элементов для первичного охлаждения подаваемого газа посредством теплообмена подаваемого газа с первым холодильным агентом и для дальнейшего охлаждения подаваемого газа до криогенной температуры посредством теплообмена первично охлажденного подаваемого газа со вторым холодильным агентом, подавая первый холодильный агент в зависимые агрегаты из последовательных элементов из общей первой секции сжатия и подавая второй холодильный агент в зависимые агрегаты из последовательных элементов из общей второй секции сжатия.
Согласно способу для сжижения природного газа первый холодильный агент подают в зависимые агрегаты из последовательных элементов посредством множества общих первых секций сжатия, которые соединены по потоку текучей среды, посредством чего любая из множества общих первых секций сжатия обеспечивает подачу первого холодильного агента в любой из зависимых агрегатов из последовательных элементов, и второй холодильный агент подают в зависимые агрегаты из последовательных элементов посредством множества общих вторых секций сжатия, которые соединены по потоку текучей среды, посредством чего любая из множества общих вторых секций сжатия обеспечивает подачу второго холодильного агента в любой из зависимых агрегатов из последовательных элементов.
Это обеспечивает возможность заменять предназначенные секции сжатия, которые обычно находятся в каждом автономном агрегате из последовательных элементов установки СПГ с множеством агрегатов из последовательных элементов, общими секциями сжатия, которые, в свою очередь, подают холодильные агенты в более чем один зависимый агрегат из последовательных элементов на установке. Как использовано здесь и далее, термин «зависимый агрегат из последовательных элементов» включает любой агрегат в установке СПГ, в котором недостает своей собственной, предназначенной секции сжатия.
Каждый зависимый агрегат из последовательных элементов включает по меньшей мере контур первого холодильного агента и контур второго холодильного агента, расположенные последовательно, которые охлаждают подаваемый газ до криогенной температуры, требуемой для СПГ. Первый холодильный агент (например, пропан) проходит через ряд первичных теплообменников в контуре первого холодильного агента для начального охлаждения подаваемого газа. Второй холодильный агент (например, смешанный холодильный агент, содержащий азот, метан, этан и пропан) проходит через криогенную теплообменную установку, содержащую один или более отдельных теплообменников, в контуре второго холодильного агента для дальнейшего охлаждения газа и превращения его в СПГ. Это изобретение применимо к другим типам криогенных теплообменных установок, включая, без ограничения, такие, которые имеют каскадные холодильные установки, в которых используются две или более холодильные установки, такие, которые имеют установки с двойным смешанным холодильным агентом, или такие, которые имеют некоторые другие холодильные установки, известные специалистам в этой области техники. Например, без ограничения объема изобретения, это изобретение применимо к каскадным холодильным установкам с тремя холодильными контурами, в которых охлаждение из одной стадии используется для конденсации сжатого холодильного агента в следующей стадии.
В зависимых агрегатах из последовательных элементов согласно настоящему изобретению не требуется отдельных секций сжатия для циркуляции требуемых холодильных агентов через их соответствующие контуры. Вместо этого узел общих секций сжатия предусмотрен в настоящей установке для подачи холодильных агентов из общего источника в более чем один из зависимых агрегатов из последовательных элементов в установке СПГ.
Если более чем один узел общих секций сжатия требуется в связи с увеличивающимся размером установки СПГ (т.е. для работы ряда зависимых агрегатов из последовательных элементов), множество первых секций сжатия предусмотрено и соединено вместе разветвленными трубопроводами, так что сжатый первый холодильный агент из первых секций сжатия может быть направлен в различные зависимые агрегаты из последовательных элементов, как это требуется. Аналогично множество вторых секций сжатия может быть соединено вместе разветвленными трубопроводами, посредством чего второй холодильный агент из вторых секций сжатия может быть направлен в различные зависимые агрегаты из последовательных элементов, как это требуется.
Следует отметить, что путем обращения со всеми холодильными агентами в установке СПГ как со средствами обеспечения (т.е. подачи одного первого холодильного агента, подачи одного второго холодильного агента и т.п.) и путем использования общих секций сжатия для подачи холодильных агентов в соответствующие контуры холодильных агентов в множество зависимых агрегатов из последовательных элементов будет реализован значительный ряд преимуществ.
Преимущества настоящего изобретения будут лучше понятны из нижеследующего подробного описания и прилагаемых чертежей, на которых
фиг.1 (известный уровень техники) представляет собой упрощенную технологическую схему обычной установки для сжижения природного газа;
фиг.2 представляет собой упрощенную технологическую схему установки для сжижения природного газа в соответствии с настоящим изобретением.
В то время, как изобретение будет описано в связи с его предпочтительными конструктивными вариантами осуществления, необходимо понять, что изобретение не ограничено этим. Наоборот, изобретение предназначено для того, чтобы охватывать все альтернативы, модификации и эквиваленты, которые могут быть включены в сущность и объем настоящего изобретения, как определено в прилагаемых пунктах формулы изобретения.
На фиг.1 (известный уровень техники) схематически изображены установка и способ сжижения природного газа в обычной установке 10 СПГ. Как показано, установка 10 содержит множество автономных агрегатов из последовательных элементов А и В (показаны только два), которые в основном идентичны и независимы друг от друга. Как будет понятно в этой области техники, обычная установка 10 СПГ смонтирована в виде стадий (т.е. агрегатов из последовательных элементов), так что второй агрегат из последовательных элементов В будет установлен, когда производительность по переработке подаваемого газа превысит ту, которая требуется для существующего агрегата(ов) из последовательных элементов, причем удовлетворительные новые контракты на продажу СПГ будут заключены для оправдания сооружения дополнительного агрегата из последовательных элементов и т.д., как известно специалистам в этой области техники.
В основном, подаваемый газ входит в соответствующий автономный агрегат из последовательных элементов через трубопровод 11 впуска и проходит через один или более первичных теплообменников в контуре R1 первого холодильного агента, где подаваемый газ вначале охлаждается путем теплообмена с первым холодильным агентом, например пропаном, первый холодильный агент циркулирует через контур R1 первого холодильного агента посредством первой секции сжатия С1, которая включает компрессор(ы) 37, который приводится посредством газовых турбин или тому подобного (не показаны). Охлажденный подаваемый газ проходит через криогенную теплообменную установку, содержащую один или более отдельных теплообменников, в контуре R2 второго холодильного агента, где он охлаждается до криогенной температуры СПГ, обычно примерно -162°С (-260°F), путем теплообмена со вторым холодильным агентом, например смешанным холодильным агентом «СХ» (например, азотом, метаном, этаном и пропаном). Второй холодильный агент циркулирует через контур второго холодильного агента посредством второй предназначенной секции сжатия С2, которая включает компрессор(ы) 23, который приводится посредством газовых турбин или тому подобного (не показаны). Когда давление охлажденного таким образом подаваемого газа уменьшается до примерно атмосферного давления, например, посредством прохода через дроссельный вентиль или гидравлическую турбину (не показаны) и резервуар для мгновенного испарения (не показан), для отделения СПГ от несжиженного газа, полученный СПГ выходит из автономных агрегатов из последовательных элементов А и В через выпуск 45. Поскольку подробности работы обычных автономных агрегатов из последовательных элементов А и В в установке 10 СПГ хорошо известны специалистам в этой области техники, подробное описание не предусмотрено.
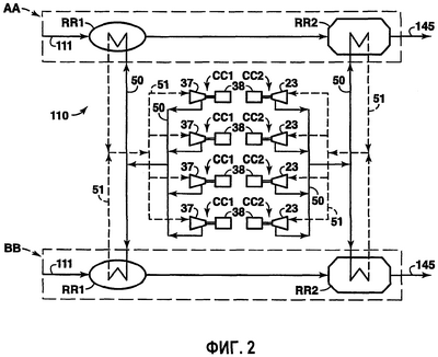
На фиг.2 схематически показаны установка и способ сжижения природного газа согласно настоящему изобретению. В основном показанная установка содержит множество отдельных зависимых агрегатов из последовательных элементов (показаны только два, АА и ВВ), размещенных в установке 110 СПГ. Агрегаты из последовательных элементов АА и ВВ отличаются от обычных СПГ агрегатов из последовательных элементов А и В на фиг.1 тем, что каждый агрегат из последовательных элементов АА и ВВ не включает элементов для сжатия, предпочтительно каждый состоит в основном из контура RR1 первого холодильного агента и контура RR2 второго холодильного агента, которые, в свою очередь, состоят по существу из теплообменных элементов для понижения температуры подаваемого газа до примерно -162°С (-260°F), причем эти теплообменные элементы хорошо известны специалистам в этой области техники. Зависимый агрегат из последовательных элементов может содержать два или более контура холодильного агента.
В настоящем изобретении подаваемый газ (т.е. природный газ) входит в соответствующий агрегат из последовательных элементов через трубопровод 111 впуска и проходит через ряд предварительных теплообменников (не показанны) в контуре RR1 первого холодильного агента. Любое подходящее расположение первичного теплообменника может быть использовано в контуре RR1 первого холодильного агента, как известно специалистам в этой области техники. В этом конструктивном исполнении первый холодильный агент циркулирует через первичные теплообменники для того, чтобы осуществить начальное охлаждение подаваемого газа таким же образом, как описано выше. Например, без ограничения этого изобретения, пропан может быть использован как первый холодильный агент. Охлажденный подаваемый газ продолжает проходить через контур RR2 второго холодильного агента, где он проходит через криогенную теплообменную установку, содержащую один или более отдельных теплообменников. Любое подходящее расположение первичного теплообменника может быть использовано в контуре RR2 второго холодильного агента, как известно специалистам в этой области техники. Подаваемый газ охлаждается в криогенной теплообменной установке, содержащей один или более отдельных теплообменников, посредством второго холодильного агента, чтобы охладить подаваемый газ до криогенной температуры, обычно примерно -162°С (-260°F). Например, без ограничения этого изобретения, смешанный холодильный агент «СХ» (например, азот, метан, этан и пропан) может быть использован как второй холодильный агент. Когда давление охлажденного таким образом подаваемого газа уменьшается до примерно атмосферного давления, например, посредством прохода через дроссельный вентиль или гидравлическую турбину (не показаны), полученный СПГ выходит из зависимых агрегатов из последовательных элементов АА и ВВ через выпуск(и) 145.
В этом конструктивном исполнении первая секция сжатия СС1 размещена в одном и том же месте внутри установки 110, где она может обеспечить сжатие и циркуляцию первого холодильного агента, например пропана, через соответствующие контуры RR1 первого холодильного агента множества агрегатов из последовательных элементов, таких как АА и ВВ на фиг.2. Первая секция сжатия СС1 включает компрессор(ы) 37, приводимый посредством соответствующих приводов 38, таких как газовые и/или паровые турбины, и/или электродвигатели, и/или тому подобные, как известно специалистам в этой области техники. Вторая секция сжатия СС2 также размещена в одном и том же месте внутри установки 110, где она может производить сжатие и циркуляцию второго холодильного агента, например СХ, через соответствующие контуры RR2 второго холодильного агента множества агрегатов из последовательных элементов, таких как АА и ВВ. Вторая секция сжатия СС2 включает компрессор(ы) 23, приводимый посредством соответствующих приводов 38, таких, как газовые и/или паровые турбины, и/или электродвигатели, и/или тому подобные, как известно специалистам в этой области техники. В определенных конструктивных вариантах осуществления этого изобретения один или более агрегатов из последовательных элементов может включать одну или более секций сжатия, как требуется. Не требуется, чтобы каждый агрегат из последовательных элементов работал посредством общих секций сжатия, т.е. установка 110 может также включать несколько независимых агрегатов из последовательных элементов.
Первая секция сжатия СС1 может содержать один компрессор, или она может содержать один или более одноступенчатых или многоступенчатых компрессоров, как известно специалистам в этой области техники. Вторая секция сжатия СС2 также может содержать один компрессор, или она может содержать один или более одноступенчатых или многоступенчатых компрессоров. Узел, содержащий первый компрессор и второй компрессор, может приводиться посредством общего вала или может приводиться посредством отдельных основных двигателей, например газовых турбин, как диктуют обстоятельства, и как известно специалистам в этой области техники.
Один узел из первого и второго компрессоров может быть использован для циркуляции соответствующих холодильных агентов через контуры холодильных агентов всех агрегатов из последовательных элементов. Если требуется больше чем один узел общих компрессоров, на фиг.2 можно увидеть, что множество первых секций сжатия СС1 (показаны четыре) соединены вместе посредством системы разветвленных трубопроводов так, чтобы первый холодильный агент мог быть направлен из любой из этих первых секций сжатия СС1 через контур первого холодильного агента любого или всего множества агрегатов из последовательных элементов (например, либо из одного, либо из обоих агрегатов из последовательных элементов АА и ВВ на фиг.2) посредством выборочной манипуляции соответствующими вентилями (не показаны) в трубопроводах подачи и возврата 50, 51.
То же справедливо для множества вторых секций сжатия СС2, которые соединены вместе посредством системы вторых разветвленных трубопроводов, которые обеспечивают возможность любой из вторых секций сжатия выполнять циркуляцию второго холодильного агента через один или более контуров второго холодильного агента в любом из агрегатов из последовательных элементов в установке 110. Как видно на фиг.2, выпуск из соответствующих секций компрессоров проходит через трубопроводы подачи (например, сплошные линии 50), и возврат проходит обратно в соответствующие секции сжатия через трубопроводы возврата (например, пунктирные линии 51).
Путем обращения с холодильными агентами на установке 110 как со средствами обеспечения (т.е. подачи одного первого холодильного агента и подачи одного второго холодильного агента) и путем использования независимых общих секций сжатия для подачи этих соответствующих холодильных агентов в контуры холодильных агентов в множестве агрегатов из последовательных элементов реализуется значительный ряд преимуществ, некоторые из которых являются следующими: (1) требуется значительно меньше оборудования, посредством этого уменьшаются капитальные затраты на установке СПГ; (2) одна дополнительная секция сжатия может быть установлена, чтобы резервировать любые из других общих секций сжатия, используемых для подачи холодильного агента в различные агрегаты из последовательных элементов в установке СПГ; (3) если выходит из строя одна секция сжатия во время циркуляции холодильного агента в определенный агрегат из последовательных элементов, поврежденный агрегат из последовательных элементов может быть немедленно переключен на резервную секцию сжатия без существенной остановки производства СПГ через этот агрегат из последовательных элементов; и (4) путем переключения на резервную вторую секцию сжатия криогенная теплообменная установка, содержащая один или более отдельных теплообменников, может сохраняться охлажденной в продолжение ремонта компрессора(ов), который обеспечивал подачу СХ в теплообменную установку поврежденного агрегата из последовательных элементов.
В то время, как настоящее изобретение описано посредством одного или более предпочтительных конструктивных вариантов осуществления, необходимо понять, что другие модификации могут быть выполнены, не выходя за рамки объема изобретения, который изложен в пунктах формулы изобретения, приведенных ниже. Например, могут быть использованы другие холодильные агенты, чем те, которые описаны здесь, и т.д.
Формула изобретения
1. Установка для сжижения природного газа, содержащая
(A) два или более зависимых агрегата из последовательных элементов, причем каждый из зависимых агрегатов содержит
(i) контур первого холодильного агента для первичного охлаждения подаваемого газа и
(ii) контур второго холодильного агента для охлаждения первично охлажденного подаваемого газа до криогенной температуры,
(B) по меньшей мере, одну общую первую секцию сжатия для циркуляции первого холодильного агента через контур первого холодильного агента каждого из зависимых агрегатов из последовательных элементов и,
(C) по меньшей мере, одну общую вторую секцию сжатия для циркуляции второго холодильного агента через контур второго холодильного агента каждого из зависимых агрегатов из последовательных элементов.
2. Установка для сжижения природного газа по п.1, дополнительно содержащая
(D) средство для понижения давления подаваемого газа при криогенной температуре до по существу атмосферного давления для производства сжиженного природного газа.
3. Установка для сжижения природного газа по п.1, в которой каждый из зависимых агрегатов из последовательных элементов дополнительно содержит (iii) впуск для подаваемого газа.
4. Установка для сжижения природного газа по п.1, в которой первый холодильный агент представляет собой пропан или смешанный холодильный агент, содержащий, по меньшей мере, один холодильный агент, выбранный из группы, состоящей из (i) азота, (ii) метана, (iii) этана и (iv) пропана, и второй холодильный агент представляет собой смешанный холодильный агент, содержащий, по меньшей мере, один холодильный агент, выбранный из группы, состоящей из (i) азота, (ii) метана, (iii) этана, (iv) этилена и (v) пропана.
5. Установка для сжижения природного газа по п.1, в которой первый холодильный агент представляет собой пропан или смешанный холодильный агент, содержащий, по меньшей мере, один холодильный агент, выбранный из группы, состоящей из (i) азота, (ii) метана, (iii) этана и (iv) пропана, и второй холодильный агент представляет собой по существу холодильный агент из чистого компонента, выбранный из группы, состоящей из (i) азота, (ii) метана, (iii) этана, (iv) этилена и (v) пропана.
6. Установка для сжижения природного газа по п.1, в которой, по меньшей мере, одна общая первая секция сжатия содержит две или более отдельных секций сжатия и систему разветвленных трубопроводов для соединения каждой из отдельных секций сжатия, посредством чего каждая из отдельных секций сжатия обеспечивает циркуляцию первого холодильного агента в любом из контуров первого холодильного агента в зависимых агрегатах из последовательных элементов.
7. Установка для сжижения природного газа по п.1, в которой, по меньшей мере, одна общая вторая секция сжатия содержит две или более отдельных секций сжатия и систему разветвленных трубопроводов для соединения каждой из отдельных секций сжатия, посредством чего каждая из отдельных секций сжатия обеспечивает циркуляцию второго холодильного агента в любом из контуров второго холодильного агента в зависимых агрегатах из последовательных элементов.
8. Установка для сжижения природного газа по п.1, в которой первая секция сжатия содержит, по меньшей мере, один первый компрессор, вторая секция сжатия содержит, по меньшей мере, один второй компрессор, при этом, по меньшей мере, один первый компрессор и, по меньшей мере, один второй компрессор приводятся посредством общего вала.
9. Способ для сжижения природного газа в установке, содержащей два или более зависимых агрегата из последовательных элементов, включающий прохождение подаваемого газа через, по меньшей мере, один из зависимых агрегатов из последовательных элементов для первичного охлаждения подаваемого газа посредством теплообмена подаваемого газа с первым холодильным агентом и для дальнейшего охлаждения подаваемого газа до криогенной температуры посредством теплообмена первично охлажденного подаваемого газа со вторым холодильным агентом, подавая первый холодильный агент в зависимые агрегаты из последовательных элементов из общей первой секции сжатия и подавая второй холодильный агент в зависимые агрегаты из последовательных элементов из общей второй секции сжатия.
10. Способ по п.9, в котором первый холодильный агент представляет собой пропан или смешанный холодильный агент, содержащий, по меньшей мере, один холодильный агент, выбранный из группы, состоящей из (i) азота, (ii) метана, (iii) этана и (iv) пропана, и второй холодильный агент представляет собой смешанный холодильный агент, содержащий, по меньшей мере, один холодильный агент, выбранный из группы, состоящей из (i) азота, (ii) метана, (iii) этана, (iv) этилена и (v) пропана.
11. Способ по п.9, в котором первый холодильный агент представляет собой пропан или смешанный холодильный агент, содержащий, по меньшей мере, один холодильный агент, выбранный из группы, состоящей из (i) азота, (ii) метана, (iii) этана и (iv) пропана, и второй холодильный агент представляет собой по существу холодильный агент из чистого компонента, выбранный из группы, состоящей из (i) азота, (ii) метана, (iii) этана, (iv) этилена и (v) пропана.
12. Способ по п.9, в котором общая первая секция сжатия содержит, по меньшей мере, один первый компрессор, и общая вторая секция сжатия содержит, по меньшей мере, один второй компрессор, включающий приведение, по меньшей мере, одного первого компрессора и, по меньшей мере, одного второго компрессора посредством общего вала.
13. Способ по п.9, в котором первый холодильный агент подают в зависимые агрегаты из последовательных элементов посредством множества общих первых секций сжатия, которые соединены по потоку текучей среды, посредством чего любая из множества общих первых секций сжатия обеспечивает подачу первого холодильного агента в любой из зависимых агрегатов из последовательных элементов.
14. Способ по п.9, в котором второй холодильный агент подают в зависимые агрегаты из последовательных элементов посредством множества общих вторых секций сжатия, которые соединены по потоку текучей среды, посредством чего любая из множества общих вторых секций сжатия обеспечивает подачу второго холодильного агента в любой из зависимых агрегатов из последовательных элементов.
РИСУНКИ
|
|